Export Control
EAR Export Classification: Not subject to the EAR per 15 C.F.R. Chapter 1, Part 734.3(b)(3), except for the following Service Bulletins which are currently published as EAR Export Classification 9E991: SBE70-0992, SBE72-0483, SBE72-0580, SBE72-0588, SBE72-0640, SBE73-0209, SBE80-0024 and SBE80-0025.Copyright
© IAE International Aero Engines AG (2001, 2014 - 2021) The information contained in this document is the property of © IAE International Aero Engines AG and may not be copied or used for any purpose other than that for which it is supplied without the express written authority of © IAE International Aero Engines AG. (This does not preclude use by engine and aircraft operators for normal instructional, maintenance or overhaul purposes.).Applicability
All
Common Information
TASK 72-41-32-200-002-A00 HPC Stage 3 Variable Stator Vane - Examine, Inspection-002
Effectivity
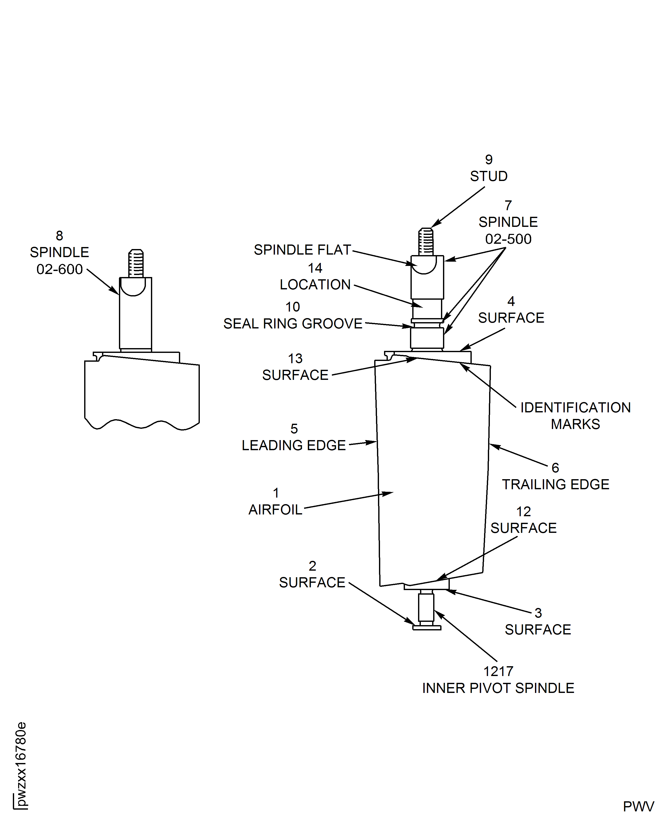
FIG/ITEM | PART NO. |
|---|---|
02-500 | 6A3813 |
02-500 | 6A3883 |
02-500 | 6A4401 |
02-500 | 6A5677 |
02-500 | 6A7476 |
02-500 | 6A7729 |
02-500 | 6A8063 |
02-500 | 6A8068 |
02-600 | 6A3815 |
02-600 | 6A3884 |
02-600 | 6A4402 |
02-600 | 6A5678 |
02-600 | 6A7477 |
02-600 | 6A7730 |
02-600 | 6A8062 |
02-600 | 6A8067 |
General
This TASK gives the procedure for the inspection of the stage 3 variable stator vanes.
Nicks and dents 0.005 in. (0.13 mm) or less are acceptable without limit to the airfoil and gas washed surfaces of the platforms.
Fig/item numbers in parentheses in the procedure agree with those used in the IPC. Only the primary Fig/item numbers are used. For the service bulletin alpha variant refer to the IPC.
The policy that is necessary for inspection is given in SPM TASK 70-20-01-200-501.
All the parts must be cleaned before any part is examined.
All the parts must be visually examined for damage, corrosion and wear. Any defects that are not identified in the procedure must be referred to IAE.
The procedure for the parts which must have a crack test is given in Step. Do the crack test before a part is visually examined.
Do not discard any part until you are sure there are no repairs available. Refer to the instructions in Repair before a discarded part is used again or oversize parts are installed.
Parts which should be discarded can be held although no repair is available. The repair of a discarded part can be shown to be necessary at a subsequent date.
All the parts must be examined to make sure that all the repairs have been completed satisfactorily.
The practices and processes referred to in the procedure by the TASK/SUBTASK number are in SPM.
References
Refer to SPM for data on these items.
Definition of Damage, SPM TASK 70-02-02-350-501,
Inspection of Parts, SPM TASK 70-20-01-200-501.
Some data on these items is contained in this TASK. For more data on these items refer to SPM.
Methods of Testing for Crack Indications,
Chemical Processes,
Surface Protection.
Preliminary Requirements
Pre-Conditions
NONESupport Equipment
NONEConsumables, Materials and Expendables
NONESpares
NONESafety Requirements
NONEProcedure
Clean the parts. Refer to TASK 72-41-32-100-000 (CLEANING-000).
SUBTASK 72-41-32-230-052 Examine the Stage 3 Variable Stator Vanes for Cracks
Refer to Figure.
Reject.
More than in Step.
Nicked.
Reject.
More than in Step.
Dented.
Repair, VRS6034 TASK 72-41-32-300-003 (REPAIR-003).
Up to 0.005 in. (0.13 mm) in depth.
Scratched.
Repair, VRS6034 TASK 72-41-32-300-003 (REPAIR-003).
Heavy pitting up to 0.005 in. (0.13 mm) in depth.
Pitted.
SUBTASK 72-41-32-220-061 Examine the Stage 3 Variable Stator Vanes Airfoil at Location 1, (02-500 and 02-600)
Refer to Figure.
More than Step.
Scored/Scratched.
SUBTASK 72-41-32-220-062-001 Examine the Stage 3 Variable Stator Vanes Surfaces at Locations 2, 3 and 4, (02-500 and 02-600, 6A3813, 6A3883, 6A4401, 6A5677, 6A7476, 6A3815, 6A3884, 6A4402, 6A5678 and 6A7477) (Pre SBE 72-0410)
Refer to Figure.
More than Step.
Scored/Scratched.
SUBTASK 72-41-32-220-062-002 Examine the Stage 3 Variable Stator Vanes Surfaces at Locations 3 and 4, (02-500 and 02-600, 6A7729, 6A8068, 6A8063, 6A7730, 6A8067 and 6A8062) (SBE 72-0410 and SBE 72-0422)
Refer to Figure.
Reject.
More than in Step.
Nicked.
Reject.
More than in Step.
Dented.
Repair, VRS6034 TASK 72-41-32-300-003 (REPAIR-003).
Up to 0.005 in. (0.13 mm) in depth.
Scored/Scratched.
SUBTASK 72-41-32-220-063 Examine the Stage 3 Variable Stator Vanes Leading and Trailing Edges at Locations 5 and 6, (02-500 and 02-600)
Refer to Figure.
Repair, VRS6076 TASK 72-41-32-300-004 (REPAIR-004).
More than Step.
NOTE
A Tallysurf measuring instrument must not be used.Measure the surface finish of the vanes. Use 10 percent of the vanes that have been removed.
SUBTASK 72-41-32-220-064-001 Examine the Stage 3 Variable Stator Vanes Airfoil Surface Finish at Location 1, (02-500 and 02-600, 6A3813, 6A3883, 6A4401, 6A5677, 6A7729, 6A8068, 6A8063, 6A3815, 6A3884, 6A4402, 6A5678, 6A7730, 6A8067 and 6A8062) (Pre SBE 70-0714, SBE 70-0726, SBE 72-0410 and SBE 72-0422)
Refer to Figure.
Roughness more than in Step.
Surface finish.
SUBTASK 72-41-32-220-064-002 Examine the Stage 3 Variable Stator Vanes Airfoil Surface Finish at Location 1, (02-500 and 02-600, 6A7476 and 6A7477) (SBE 70-0714)
Refer to Figure.
Repair, VRS6182 TASK 72-41-32-300-013 (REPAIR-013) or VRS9129 TASK 72-41-32-300-022(REPAIR-022).
More than Step.
Scored/Scratched.
Repair, VRS6182 TASK 72-41-32-300-013 (REPAIR-013).
If the diameter of the spindle is between 0.6160 in. to 0.6260 in. (15.646 mm to 15.900 mm).
Repair, VRS9129 TASK 72-41-32-300-022(REPAIR-022).
If the diameter of the spindle is less than 0.6160 in. (15.646 mm).
Wear.
SUBTASK 72-41-32-220-065 Examine the Stage 3 Variable Stator Vanes Spindle at Location 7, (02-500)
Refer to Figure.
Repair, VRS6182 TASK 72-41-32-300-013 (REPAIR-013) or VRS9129 TASK 72-41-32-300-022(REPAIR-022).
More than Step.
Scored/Scratched.
Repair, VRS6182 TASK 72-41-32-300-013 (REPAIR-013).
If the diameter of the spindle is between 0.6160 in. to 0.6260 in. (15.646 mm to 15.900 mm).
Repair, VRS9129 TASK 72-41-32-300-022(REPAIR-022).
If the diameter of the spindle is less than 0.6160 in. (15.646 mm).
Wear.
SUBTASK 72-41-32-220-066 Examine the Stage 3 Variable Stator Vanes Spindles at Location 8, (02-600)
Refer to Figure.
SUBTASK 72-41-32-220-067 Examine the Stage 3 Variable Stator Vanes Stud at Location 9
Refer to Figure.
Repair, VRS6182 TASK 72-41-32-300-013 (REPAIR-013) or VRS9129 TASK 72-41-32-300-022(REPAIR-022).
More than Step.
Scored/Scratched.
Repair, VRS6182 TASK 72-41-32-300-013 (REPAIR-013).
If the diameter of the spindle is between 0.2609 in. to 0.2710 in. (6.627 mm to 6.883 mm).
Repair, VRS9129 TASK 72-41-32-300-022(REPAIR-022).
If the diameter of the spindle is less than 0.2609 in. (6.627 mm).
Wear.
SUBTASK 72-41-32-220-068 Examine the Stage 3 Variable Stator Vanes Inner Pivot Spindle at Location 1217, (02-500 and 02-600)
Refer to Figure.
SUBTASK 72-41-32-220-069 Examine the Stage 3 Variable Stator Vanes Seal Ring Groove at Location 10
Refer to Figure.
Reject.
More than in Step.
Nicked.
Reject.
More than in Step.
Dented.
More than Step.
Surface finish.
SUBTASK 72-41-32-220-170 Examine the Stage 3 Variable Stator Vanes Annulus Surfaces at Locations 12 and 13, (02-500 and 02-600, 6A7476 and 6A7477) (SBE 70-0714)
Figure: Stage 3 Variable Stator Vanes - Inspection Locations
Stage 3 Variable Stator Vanes - Inspection Locations

