Export Control
EAR Export Classification: Not subject to the EAR per 15 C.F.R. Chapter 1, Part 734.3(b)(3), except for the following Service Bulletins which are currently published as EAR Export Classification 9E991: SBE70-0992, SBE72-0483, SBE72-0580, SBE72-0588, SBE72-0640, SBE73-0209, SBE80-0024 and SBE80-0025.Copyright
© IAE International Aero Engines AG (2001, 2014 - 2021) The information contained in this document is the property of © IAE International Aero Engines AG and may not be copied or used for any purpose other than that for which it is supplied without the express written authority of © IAE International Aero Engines AG. (This does not preclude use by engine and aircraft operators for normal instructional, maintenance or overhaul purposes.).Applicability
All
Common Information
TASK 72-44-50-300-016 HPT Stage 1 Cooling (TOBI) Duct - Duct Crack Weld Repair, Repair-016 (VRS3660)
Effectivity
FIG/ITEM | PART NO. |
|---|---|
01-010 | 2A3180-01 |
01-010 | 2A2141-01 |
01-010 | 2A3487-01 |
01-010 | 2A3487-001 |
01-010 | 2A3914-01 |
01-010 | 2A3914-001 |
01-010 | 2A1997-003 |
01-010 | 2A3491-01 |
01-010 | 2A4086 |
General
Price and availability - none
NOTE
NOTE
Preliminary Requirements
Pre-Conditions
NONESupport Equipment
NONEConsumables, Materials and Expendables
| Name | Manufacturer | Part Number / Identification | Quantity | Remark |
|---|---|---|---|---|
| CoMat 03-284 WELDING FILLER WIRE, NiBASE | LOCAL | CoMat 03-284 |
Spares
NONESafety Requirements
NONEProcedure
Refer to the SPM TASK 70-31-13-310-501 or SPM TASK 70-31-02-310-501-001.
Weld build-up/repair indications (cracks, porosity, surface/dimensional wear) with CoMat 03-284 WELDING FILLER WIRE, NiBASE filler material.
SUBTASK 72-44-50-310-055 Weld Repair
Refer to Figure.
NOTE
This may be done before or after heat treat but must be done before fluorescent penetrant inspection.Machine/blend the repaired area.
SUBTASK 72-44-50-320-076 Machine Repaired Area
Refer to the SPM TASK 70-23-01-230-501.
NOTE
This fluorescent penetrant inspection is optional.Do a fluorescent penetrant inspection of the repaired area. No cracks permitted.
SUBTASK 72-44-50-220-104 Examine the Repaired Area
Refer to the SPM TASK 70-37-29-370-501 or SPM TASK 70-37-01-370-501.
Heat treat the repaired area.
SUBTASK 72-44-50-370-056 Heat Treat the Repaired Area
Refer to the SPM TASK 70-23-01-230-501.
Do a fluorescent penetrant inspection of the repaired area. No cracks permitted.
SUBTASK 72-44-50-230-062 Examine the Repaired Area
Refer to TASK 72-44-50-200-000 (INSPECTION-000).
Examine the part.
SUBTASK 72-44-50-220-105 Examine the Part
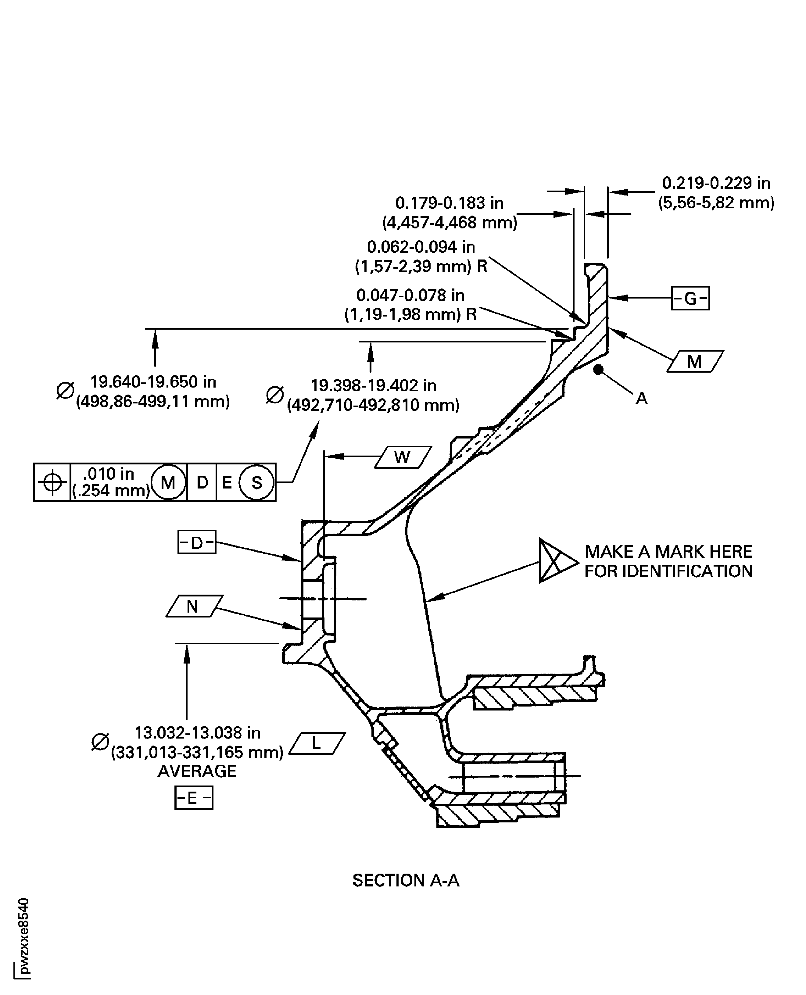
Figure: Repair Details and Dimensions
Repair Details and Dimensions

Figure: Repair Details and Dimensions
Sheet 1

Figure: Repair Details and Dimensions
Sheet 2

