Export Control
EAR Export Classification: Not subject to the EAR per 15 C.F.R. Chapter 1, Part 734.3(b)(3), except for the following Service Bulletins which are currently published as EAR Export Classification 9E991: SBE70-0992, SBE72-0483, SBE72-0580, SBE72-0588, SBE72-0640, SBE73-0209, SBE80-0024 and SBE80-0025.Copyright
© IAE International Aero Engines AG (2001, 2014 - 2021) The information contained in this document is the property of © IAE International Aero Engines AG and may not be copied or used for any purpose other than that for which it is supplied without the express written authority of © IAE International Aero Engines AG. (This does not preclude use by engine and aircraft operators for normal instructional, maintenance or overhaul purposes.).Applicability
All
Common Information
TASK 72-45-11-200-003 HPT Stage 1 Hub - Eddy Current Inspect The Blade Slot Pressure Face (Dimensional), Inspection-003
Effectivity
FIG/ITEM PART NO. | |
|---|---|
01-010 | 2A1121 |
01-010 | 2A2021 |
01-010 | 2A2221 |
01-011 | 2A1101 |
01-011 | 2A1801 |
01-011 | 2A1901 |
01-011 | 2A2201 |
01-011 | 2A2801 |
01-011 | 2A5001 |
General
This TASK gives the procedure for the inspection of the stage 1 turbine hub blade slot pressure face contact surfaces.
Fig/item numbers in parentheses in the procedure agree with those used in the IPC.
The policy that is necessary for inspection is given in SPM TASK 70-20-00-200-501.
All the parts must be cleaned before you examine the parts. Refer to the SPM TASK 70-10-00-100-501.
Do not discard part until you are sure there are no repairs available. Refer to the instructions in Repair before you use a discarded part again or oversize parts are installed.
References
Refer to the SPM for data on these items.
Record and Control of the Lives of Parts, SPM TASK 70-05-00-220-501
Marking of parts, SPM TASK 70-09-00-400-501
Inspection of Parts, SPM TASK 70-20-01-200-501
Wipe with Solvent, SPM TASK 70-11-26-300-503
UniWest US-454A Eddy Current Instrument User Manual.
Qualifications
Only qualified operators specially designated, trained and approved can do this inspection. Inspectors must be fully trained NDI (Non-Destructive Inspection) specialists who can examine the indications correctly and make decisions on whether parts are serviceable, or must be rejected. Qualification of personnel must obey with one of the standards that follow:
ATA 105
MIL-STD-410
NAS 410/DIN EN4179
SNT-TC-1A
Operators must be able to calibrate the equipment, do the inspection and interpret the results before they accept or reject a part.
Preliminary Requirements
Pre-Conditions
NONESupport Equipment
| Name | Manufacturer | Part Number / Identification | Quantity | Remark |
|---|---|---|---|---|
| IAE 2P16593 UniWest US-454A digital eddy current instrument | 0AM53 | IAE 2P16593 | ||
| IAE 2P16592 US-MPX-32 Multiplexer | 0AM53 | IAE 2P16592 | ||
| IAE 2P16594 Dell Optiplex desktop computer system | 0AM53 | IAE 2P16594 | ||
| IAE 2P16585 Dimensional eddy current probe | 0AM53 | IAE 2P16585 | ||
| IAE 2P16595 Pneumatic Controller, UniWest PN 99790 | 0AM53 | IAE 2P16595 | ||
| IAE 2P16588 Plastic Shims | 0AM53 | IAE 2P16588 | ||
| IAE 2P16586 Calibration standard | 0AM53 | IAE 2P16586 |
Consumables, Materials and Expendables
| Name | Manufacturer | Part Number / Identification | Quantity | Remark |
|---|---|---|---|---|
| CoMat 05-125 ABRASIVE PAD, SILICON CARBIDE, ULTRA-FINE | LOCAL | CoMat 05-125 | ||
| CoMat 05-126 ABRASIVE PAD, ALUMINUM OXIDE, VERY FINE | LOCAL | CoMat 05-126 |
Spares
NONESafety Requirements
NONEProcedure
Refer to TASK 72-45-10-040-001-A00 (DISASSEMBLY-001, CONFIG-001) or TASK 72-45-10-040-001-C00 (DISASSEMBLY-001, CONFIG-003)
Make sure the part is disassembled
Refer to TASK 72-45-11-100-001 (CLEANING-001)
Make sure the part is fully cleaned
Refer to the SPM TASK 70-09-00-400-501
NOTE
You can find the serial number on one of the front or rear hub blade slot faces.Use a temporary marker to mark the blade slot directly to the right of the serial number on the front side of the hub blade slot face as Blade Slot Number 1. Continue in a counterclockwise direction and mark each blade slot that remains
SUBTASK 72-45-11-350-070 Prepare the Stage 1 Turbine Hub
NOTE
It is recommended that this inspection be conducted in a temperature controlled environment, with temperature ranging between 65 and 85 degrees Fahrenheit (18.3 and 29.4 degrees Celsius). Failure will cause unwanted effect in the inspection results due to the necessary accuracy of the measurements and inspection equipment.NOTE
Warm up is recommended due to the accuracy of measurement needed during this inspection.Turn on the power for the IAE 2P16593 UniWest US-454A digital eddy current instrument US-454A eddy current instrument, IAE 2P16592 US-MPX-32 Multiplexer multiplexer and IAE 2P16594 Dell Optiplex desktop computer system computer. Let the instrument warm up for a minimum of ten minutes.
SUBTASK 72-45-11-250-001 Prepare the Eddy Current Tools
Refer to Figure, Index 1
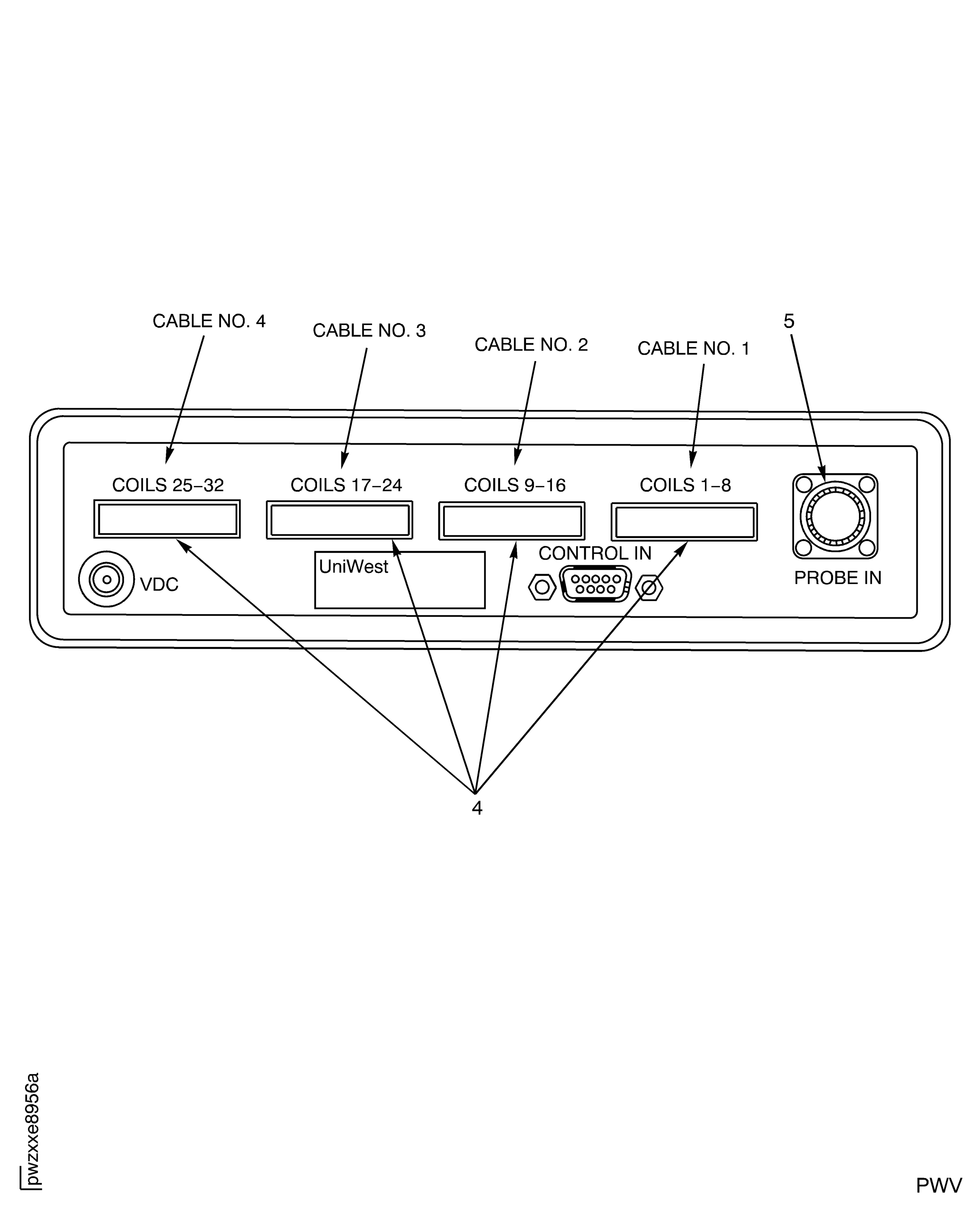
Connect the Ethernet cable from the computer to the IAE 2P16593 UniWest US-454A digital eddy current instrument US-454A eddy current instrument Ethernet input
Connect the IAE 2P16592 US-MPX-32 Multiplexer Multiplexer to the IAE 2P16593 UniWest US-454A digital eddy current instrument US-454A AUX I/O input with Cable 71141
Refer to Figure, Index 4
Plug the proper connector into the multiplexer input
NOTE
The four cable connectors from the probe are labeled with the correct sensor input numbers (1-4).Connect the IAE 2P16585 Dimensional eddy current probe to the multiplexer.
Connect the air tube from the IAE 2P16595 Pneumatic Controller, UniWest PN 99790 to the input on the probe.
Refer to Figure
Use the dial regulator to set the pressure on the gauge display to 80 psi (551.6 kPa). Pull the knob outwards to adjust
SUBTASK 72-45-11-250-002 Assemble the Eddy Current Equipment

CAUTION
IT IS NOT PERMITTED TO BE MORE THAN 80 PSI (551,6 KPA) WHEN YOU ARE ACTUATING THE PROBE. TOO MUCH PRESSURE CAN CAUSE DAMAGE TO THE PROBE, DAMAGE TO THE PART OR INSPECTION RESULTS WILL NOT BE ACCURATE.Refer to Figure.
NOTE
Each IAE 2P16585 Dimensional eddy current probe has a unique software CD. You must use the correct CD with the proper probe during inspection. If you do not use this unique CD then inspection results will not be accurate.Load the applicable probe software CD into the disk drive for the correct Serial Number probe.
Refer to Figure
The main menu will appear
Open the program named "ECI Dimensional 2012".
SUBTASK 72-45-11-250-003 Prepare the Eddy Current Software
Display screen will show inspection options for the number of blade slots that will be examined. Refer to Figure.
Only 16 of the 64 blade slots on the hub will be examined.
Refer to Figure
On the display screen, pick the "Probe Setup" option on the display screen
Refer to Figure.
On the display screen, pick "Part setup" from the main menu.
Refer to Figure
Pick the correct part number from the current part number drop down box.
Refer to Figure.
On the display screen, pick the "Inspect" option from the main menu.
NOTE
Two IAE 2P16588 Plastic Shims that you use during the pre-inspection and post-inspection calibration of the IAE 2P16585 Dimensional eddy current probe surfaces. The shims are made in matched pairs. Refer to Figure.You can use shims for a total of one full inspection and then discard them. Shim thickness values and serial numbers are printed on a sticker attached to the top of each shim surface.Input the inspector ID, the serial number of the inspected part, the number of cycles on the part, and the thickness of the two IAE 2P16588 Plastic Shims that you use.
NOTE
Display screen will show inspection options for the number of blade slots that will be examined. Refer to Figure.Only 16 of the 64 blade slots on the hub will be examined.Refer to Figure.
On the display screen, pick the "Next >" option
Pick the following blade slots. Refer to Figure.
Blade Slot No. 1, 5, 9, 13, 17, 21, 25, 29, 33, 37, 41, 45, 49, 53, 57, 61.
Make sure the IAE 2P16595 Pneumatic Controller, UniWest PN 99790 is initially switched to the "UNLOCKED" position.
NOTE
The blade slots of the IAE 2P16586 Calibration standard calibration standard are numbered corresponding to the probe inspection Surface to be calibrated.
You can use Blade slot No. 1 to calibrate the inboard pressure face group 1 surfaces (Surfaces 1 and 5).
You can use Blade slot No. 2 to calibrate the second pressure face group 2 surfaces (Surfaces 2 and 6).
You can use Blade slot No. 3 to calibrate the third pressure face group 3 surfaces (Surfaces 3 and 7).
You can use Blade slot No. 4 to calibrate the outboard pressure face group 4 surfaces (Surfaces 4 and 8).
Make sure the probe can be easily inserted into the blade slots of the IAE 2P16586 Calibration standard calibration standard. Refer to Figure.
On the display screen, pick the "Start" option. Refer to Figure.
NOTE
Data will be sent from the probe to the eddy current instrument to null the group 1 sensors.On the display screen, pick the "Acquire" option. Refer to Figure.
Pick the correct matched pair of the IAE 2P16588 Plastic Shims.
NOTE
The plastic shims must be inserted so that the shims are above and below the eddy current probe.
Insert the probe into the blade slot No. 1 of the calibration standard. Refer to Figure.
NOTE
This will actuate the pneumatic cylinder and lock the probe into position in the calibration blade slot.Group 1 sensors will be calibrated. Gain and phase values will be set automatically on the US-454A instrument for each sensor.
If an error is made during calibration of Surface, picking the "Repeat" option from the display screen will return the inspector to the previous steps.
The software will request a secondary null of the group 1 sensors.
On the display screen, pick the "Acquire" option. Refer to Figure.
Flip the actuator switch on the pneumatic controller to the "LOCKED" position, to lock probe into the position in calibration Blade Slot No. 1.
NOTE
Insert the probe in Blade Slot No. 2 of the calibration standard. Refer to Figure.
Insert the probe in the Blade Slot No. 3 of the calibration standard. Refer to Figure.
Insert the probe in the Blade Slot No. 4 of the calibration standard. Refer to Figure.
SUBTASK 72-45-11-250-004 Pre-Inspection Calibration of the Eddy Current Equipment
NOTE
Insert the IAE 2P16585 Dimensional eddy current probe probe into Blade Slot No. 1. Refer to Figure.
Flip the switch on the IAE 2P16595 Pneumatic Controller, UniWest PN 99790 Pneumatic Controller to the "LOCKED" position to actuate the probe. Refer to Figure.
On the display screen, pick the "Start" option. Refer to Figure.
NOTE
Group 1 will remain in the group box during the inspection.On the display screen, pick the "Acquire" option. Refer to Figure.
SUBTASK 72-45-11-250-005 Examine the Stage 1 Turbine Hub Blade Slot
Insert the IAE 2P16585 Dimensional eddy current probe into the blade slot No. 1 on the IAE 2P16586 Calibration standard calibration standard.
Insert the IAE 2P16588 Plastic Shims that you use during pre-inspection calibration between the calibration standard pressure face, and group 1 sensors on the probe.
Flip the actuator switch on the IAE 2P16595 Pneumatic Controller, UniWest PN 99790 to the "LOCKED" position.
On the display screen, pick the "Start" option. Refer to Figure.
NOTE
If post calibration is out of tolerance an error message will be displayed on the screen. Make sure that you use the correct blade slot for the correct probe surface, the shims are in position and not damaged, or that there is no dirt or debris on the face of the probe or calibration standard. The operator will have three attempts to register an acceptable post calibration of each probe Surface. After three attempts, if post calibration is not done successfully, the software will return the operator to the main menu and the inspection must be done again.On the display screen, pick the "Acquire" action. Refer to Figure.
NOTE
A printable version of the inspection report is located in the directory folder "C:/Pratt and Whitney/".
SUBTASK 72-45-11-250-006 Post-Inspection Calibration of the Eddy Current Equipment
Use CoMat 05-126 ABRASIVE PAD, ALUMINUM OXIDE, VERY FINE or CoMats 05-125 ultra fine scrub pads. Refer to the SPM TASK 70-10-00-100-501.
Scrub the blade slots
Refer to the SPM TASK 70-11-26-300-503.
NOTE
You can use a new pair of IAE 2P16588 Plastic Shims during the inspection again on the defective blade slots.
Wipe the blade slots
For blade slots that fail inspection:
SUBTASK 72-45-11-250-008 Examine the Defective Stage 1 Turbine Hub Blade Slots for False Positive
Figure: Inspection Equipment
Inspection Equipment

Figure: IAE 2P16585 Eddy Current Probe
IAE 2P16585 Eddy Current Probe

Figure: IAE 2P16586 Calibration Standard
IAE 2P16586 Calibration Standard

Figure: IAE 2P16593 US-454A Connections to IAE 2P16594 Computer and IAE 2P16592 Multiplexer
IAE 2P16593 US-454A Connections to IAE 2P16594 Computer and IAE 2P16592 Multiplexer

Figure: IAE 2P16592 Multiplexer Connection to IAE 2P16593 US-454A
IAE 2P16592 Multiplexer Connection to IAE 2P16593 US-454A

Figure: IAE 2P16585 Probe Connections and IAE 2P16593 US-454A Connections to IAE 2P16592 Multiplexer
IAE 2P16585 Probe Connections and IAE 2P16593 US-454A Connections to IAE 2P16592 Multiplexer

Figure: IAE 2P16593 PUS-454A Connection to IAE 2P16592 Multiplexer
IAE 2P16593 PUS-454A Connection to IAE 2P16592 Multiplexer

Figure: IAE 2P16595 Pneumatic Controller Set to 80 psi (551,6 kPa) and in the "UNLOCKED" Position
IAE 2P16595 Pneumatic Controller Set to 80 psi (551,6 kPa) and in the "UNLOCKED" Position

Figure: Main Display Screen for Inspection Software
Main Display Screen for Inspection Software

Figure: Probe Setup Window
Probe Setup Window

Figure: Part Setup Window
Part Setup Window

Figure: Hub Inspection Information Window
Hub Inspection Information Window

Figure: Blade Slots Selected to be Examined
Blade Slots Selected to be Examined

Figure: Group Numbers Assigned for Each Probe
Group Numbers Assigned for Each Probe

Figure: Display for Start-up of Inspection Pre-Calibration
Display for Start-up of Inspection Pre-Calibration

Figure: Display for NULL Operation of Surface No. 1 and No. 5
Display for NULL Operation of Surface No. 1 and No. 5

Figure: IAE 2P16588 Plastic Shims Inserted for Surface Calibration
IAE 2P16588 Plastic Shims Inserted for Surface Calibration

Figure: Display for 10 mil Lift-off Calibration
Display for 10 mil Lift-off Calibration

Figure: Probe Inserted in Blade Slot to be Examined
Probe Inserted in Blade Slot to be Examined

Figure: Probe Actuated in Blade Slot
Probe Actuated in Blade Slot

Figure: Start-up Screen for Inspection
Start-up Screen for Inspection

Figure: Inspection Screen on the Software
Inspection Screen on the Software

Figure: Example of Inspection Report for Failed Part Inspection
Example of Inspection Report for Failed Part Inspection

Figure: Example of Inspection Report for Acceptable Part Inspection
Example of Inspection Report for Acceptable Part Inspection

Figure: Start-up Screen for Post-Calibration
Start-up Screen for Post-Calibration

Figure: Display for 10 Mil Lift-off Post-Calibration
Display for 10 Mil Lift-off Post-Calibration

