Export Control
EAR Export Classification: Not subject to the EAR per 15 C.F.R. Chapter 1, Part 734.3(b)(3), except for the following Service Bulletins which are currently published as EAR Export Classification 9E991: SBE70-0992, SBE72-0483, SBE72-0580, SBE72-0588, SBE72-0640, SBE73-0209, SBE80-0024 and SBE80-0025.Copyright
© IAE International Aero Engines AG (2001, 2014 - 2021) The information contained in this document is the property of © IAE International Aero Engines AG and may not be copied or used for any purpose other than that for which it is supplied without the express written authority of © IAE International Aero Engines AG. (This does not preclude use by engine and aircraft operators for normal instructional, maintenance or overhaul purposes.).Applicability
All
Common Information
TASK 72-60-27-200-001 Starter Idler Gear - Examine, Inspection-001
General
This TASK gives the procedure for the inspection of the idler gear. For the other parts of the starter idler gear assembly, refer to TASK 72-60-27-200-000 (INSPECTION-000).
Fig/item numbers in parentheses in the procedure agree with those used in the IPC.
The policy that is necessary for inspection is given in the SPM TASK 70-20-01-200-501.
All the parts must be cleaned before any part is examined. Refer to the SPM TASK 70-11-03-300-503
All parts must be visually examined for damage, corrosion and wear. Any defects that are not identified in the procedure must be referred to IAE.
The procedure for those parts which must have a crack test is given in the SPM TASK 70-23-00-230-501. Do the test before the part is visually examined. Limits for cracks are given in the SUBTASK for each part.
Do not discard any part until you are sure there are no repairs available. Refer to the instructions in repair before a discarded part is used again or oversize parts are installed.
Parts which should be discarded can be held although no repair is available. The repair of a discarded part could be shown to be necessary at a later date.
All parts must be examined to make sure that all the repairs have been completed satisfactorily.
The practices and processes referred to in the procedure by the TASK numbers are in the SPM.
References
Refer to the SPM for data on these items:
Definitions of Damage, SPM TASK 70-02-02-350-501, Record and Control of the Lives of Parts, SPM TASK 70-05-00-220-501, Inspection of Parts, SPM TASK 70-20-00-200-501.
Some data on these items are contained in this TASK. For more data on these items refer to the SPM:
Method of Testing for Crack Indications,
Chemical Processes,
Surface Protection.
Preliminary Requirements
Pre-Conditions
NONESupport Equipment
| Name | Manufacturer | Part Number / Identification | Quantity | Remark |
|---|---|---|---|---|
| Workshop inspection equipment | LOCAL | Workshop inspection equipment | ||
| Magnetizing unit | LOCAL | Magnetizing unit | ||
| Demagnetizing unit | LOCAL | Demagnetizing unit | ||
| Hardness tester | LOCAL | Hardness tester |
Consumables, Materials and Expendables
NONESpares
NONESafety Requirements
NONEProcedure
Clean the parts. Refer to the TASK 72-60-27-100-000.
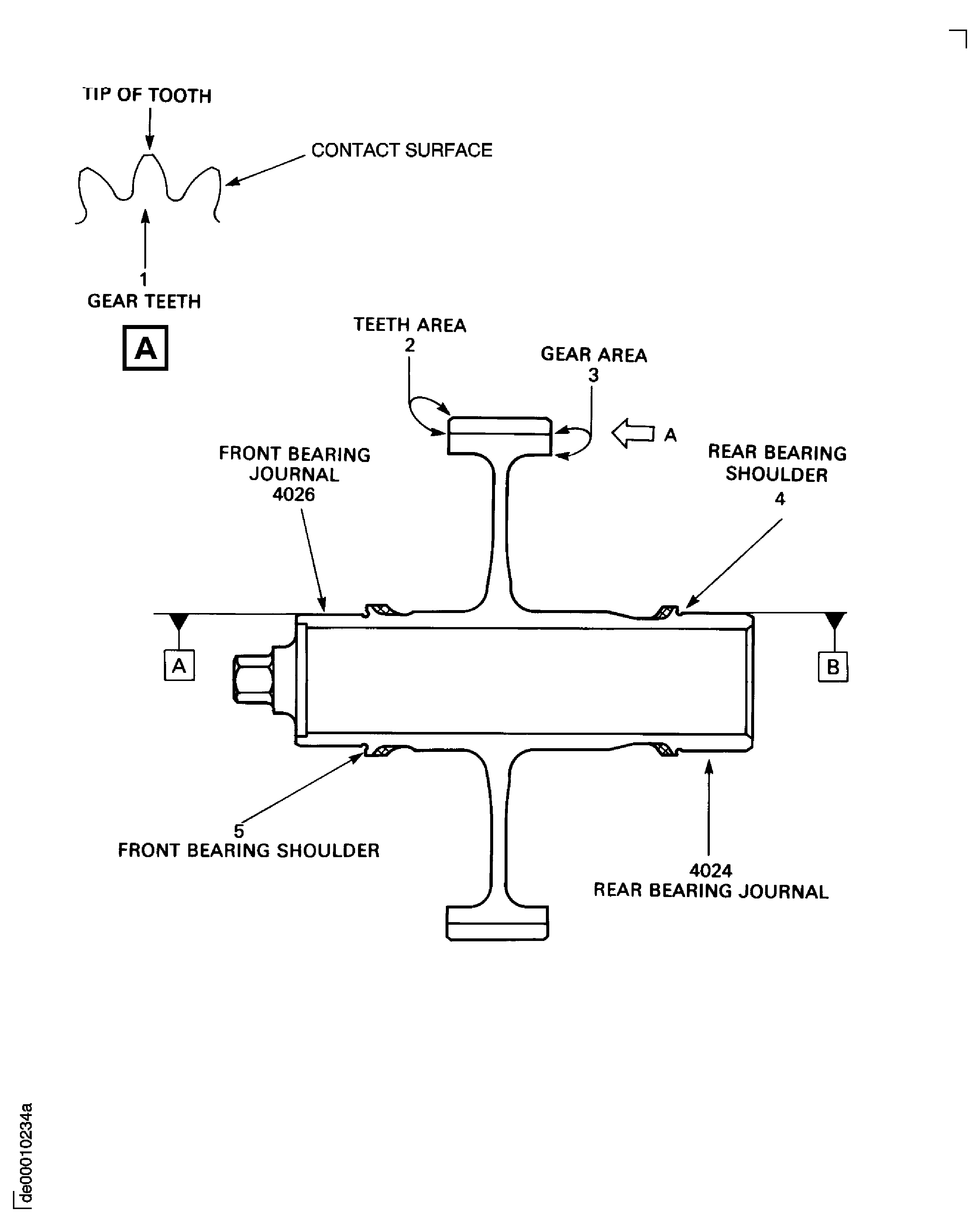
SUBTASK 72-60-27-240-051 Do a Crack Test on the Idler Gear (01-040) (Magnetic)
Refer to Figure.
Repair, VRS5156 TASK 72-60-27-300-001 (REPAIR-001).
More than Step.
Nicks on the tip of tooth.
Repair, VRS5156 TASK 72-60-27-300-001 ( REPAIR-001).
Superficial damages.
Damage on the contact surface.
SUBTASK 72-60-27-220-051 Examine the Idler Gear (01-140) Gear Teeth at Location 1
Refer to Figure.
Repair, VRS5160 TASK 72-60-27-300-005 (REPAIR-005).
More than Step.
Runout.
SUBTASK 72-60-27-220-052 Examine the Idler Gear (01-140) Rear Bearing Shoulder at Location 4
Refer to Figure.
Repair, VRS5156 TASK 72-60-27-300-001 (REPAIR-001).
Scratches not more than 0.008 in. (0.20 mm) in depth.
Repair, VRS5158 TASK 72-60-27-300-003 (REPAIR-003) and Repair, VRS5159 TASK 72-60-27-300-004 (REPAIR-004).
Scratches more than 0.008 in. (0.20 mm) in depth.
Damage on the surface.
SUBTASK 72-60-27-220-053 Examine the Idler Gear (01-140) Rear and Front Bearing Journals at Location 4024 and 4026
Refer to Figure.
Repair, VRS5159 TASK 72-60-27-300-004 (REPAIR-004).
Less than 1.5765 in. (40.043 mm).
Diameter.
Repair, VRS5159 TASK 72-60-27-300-004 (REPAIR-004).
More than Step.
Runout.
SUBTASK 72-60-27-220-054 Examine the Idler Gear (01-140) Rear Journal at Location 4024
Refer to Figure.
Repair, VRS5157 TASK 72-60-27-300-002 (REPAIR-002).
More than Step.
Runout.
SUBTASK 72-60-27-220-055 Examine the Idler Gear (01-140) Front Bearing Shoulder at Location 5
Refer to Figure.
Repair, VRS5158 TASK 72-60-27-300-003 (REPAIR-003).
Less than 1.5765 in. (40.043 mm).
Diameter.
Repair, VRS5158 TASK 72-60-27-300-003 (REPAIR-003).
More than Step.
Runout.
SUBTASK 72-60-27-220-056 Examine the Idler Gear (01-140) Front Bearing Journal at Location 4026
Figure: Locations - Idler Gear
Locations - Idler Gear

