Export Control
EAR Export Classification: Not subject to the EAR per 15 C.F.R. Chapter 1, Part 734.3(b)(3), except for the following Service Bulletins which are currently published as EAR Export Classification 9E991: SBE70-0992, SBE72-0483, SBE72-0580, SBE72-0588, SBE72-0640, SBE73-0209, SBE80-0024 and SBE80-0025.Copyright
© IAE International Aero Engines AG (2001, 2014 - 2021) The information contained in this document is the property of © IAE International Aero Engines AG and may not be copied or used for any purpose other than that for which it is supplied without the express written authority of © IAE International Aero Engines AG. (This does not preclude use by engine and aircraft operators for normal instructional, maintenance or overhaul purposes.).Applicability
All
Common Information
TASK 73-22-49-200-101 Fuel System Sensing Air Tubes - Examine The EEC P4.9 Air Tube, Inspection-001
Effectivity
FIG./ITEM | PART NO. |
01-100 | 5A8749 |
01-100 | 5A8793 |
01-500 | 5A9060 |
02-100 | 5A9059 |
02-100 | 6A6008 |
02-100 | 6A6201 |
02-500 | 5A8737 |
02-500 | 6A6209 |
03-100 | 5A9096 |
03-500 | 5A9364 |
General
This TASK gives the procedure for the inspection of the EEC to P4.9 air tube assembly. For the other fuel system air tubes and parts, refer to Inspection-000 TASK 73-22-49-200-100 and the Component Maintenance Manual - Miscellaneous Mechanical Components (CMM-MECH-V2500-1IA) Inspection-000 TASK 73-22-49-200-400.
Fig./item numbers in parentheses in the procedure agree with those used in the IPC. Only the primary Fig./item numbers are used. For the service bulletin alpha variants refer to the IPC.
The policy that is necessary for Inspection is given in the SPM TASK 70-20-01-200-501.
All the parts must be cleaned before they are examined. Refer to Cleaning-000 TASK 73-22-49-100-100.
All the parts must be visually examined for damage, corrosion and wear. Any defects that are not identified in the procedure must be referred to IAE.
The procedure for those parts which must have a crack test is given in the relevant SUBTASK. Do the crack test before the part is visually examined.
A ** following a repair referenced in this inspection indicates that the repair is not yet published in the current revision of the manual and the part must be rejected. Contact IAE for additional information concerning FAA approved repair date.
Do not discard a part until you are sure there are no repairs available. Refer to the instructions in Repair before a discarded part is used again or oversize parts are installed.
Parts which must be discarded can be held although no repair is available. The repair of a discarded part could be shown to be necessary at a subsequent date.
All parts must be examined to make sure that all the repairs are completed satisfactorily.
Practices and processes referred to in the procedure by the TASK/SUBTASK number are in the SPM.
NOTE
References
Refer to the SPM for data on these items:
Definitions of Damage - Specified Types of Damage, SPM TASK 70-02-02-350-501.
Inspection Policy and Inspection of Parts, SPM TASK 70-20-01-200-501.
Some data on these items is contained in this TASK. For more data on these items refer to the SPM:
Methods of Testing for Crack Indications
Chemical Processes
Surface Protection
Preliminary Requirements
Pre-Conditions
NONESupport Equipment
NONEConsumables, Materials and Expendables
NONESpares
NONESafety Requirements
NONEProcedure
Clean the part. Refer to Cleaning-000 TASK 73-22-49-100-100.
SPM, VRS7001 (Repair-001) TASK 70-35-24-300-501.
Cracked
Do the crack test on the parts that are given below. Use the applicable penetrant inspection procedure.
PART
TASK/SUBASK
EEC to P4.9 air tube assembly (01-100), (01-500), (02-100), (02-500), (03-100) and (03-500)
SUBTASK 73-22-49-230-055 Examine the EEC to P4.9 Air Tube Assembly for Cracks
Refer to Figure.
Repair, VRS7001 (Repair-001) SPM TASK 70-35-24-300-501.
Pitted
Repair, VRS7001 (Repair-001) SPM TASK 70-35-24-300-501.
Not more than 0.500 in. (12.70 mm) from fittings or bends.
Accept
In areas other than in Step: Of large smooth area if the maximum diameter is 10 times the depth and bore is not decreased by more than 10 percent at any one point.
Accept
In areas other than in Step: Of small smooth area not more than 0.125 sq in. (80.0 sq mm) if depth is not more than 0.025 in. (0.64 mm).
SPM, VRS7001 (Repair-001) TASK 70-35-24-300-501.
Dented
Repair, VRS1620 (Repair-001) TASK 73-22-49-300-001.
On the outer surface of a bend with rounded bottom and not more than 0.003 in. (0.076mm) in depth.
Repair, VRS1620 (Repair-001) TASK 73-22-49-300-001.
In areas other than in Step with rounded bottom and not more than 0.003 in. (0.076 mm) in depth.
SPM, VRS7001 (Repair-001) TASK 70-35-24-300-501.
Nicked
Repair, VRS1620 (Repair-001) TASK 73-22-49-300-001.
On the outer surface of a bend not more than 0.003 in. (0.076 mm) in depth.
Repair, VRS1620 (Repair-001) TASK 73-22-49-300-001.
In areas other than in Step not more than 0.003 in. (0.076mm) in depth.
Repair, VRS7001 (Repair-001) SPM TASK 70-35-24-300-501.
Galled
Repair, VRS1620 (Repair-001) TASK 73-22-49-300-001.
On the outer surface of a bend not more than 0.003 in. (0.076 mm) in depth.
Repair, VRS1620 (Repair-001) TASK 73-22-49-300-001.
In areas other than Step not more than 0.003 in. (0.076 mm) in depth.
Repair, VRS7001 (Repair-001) SPM TASK 70-35-24-300-501.
Repair, VRS7001 (Repair-001) SPM TASK 70-35-24-300-501.
Limits more than Step.
Scratched or scored.
Repair, VRS7001 (Repair-001) SPM TASK 70-35-24-300-501.
More than in Step.
Wrinkled
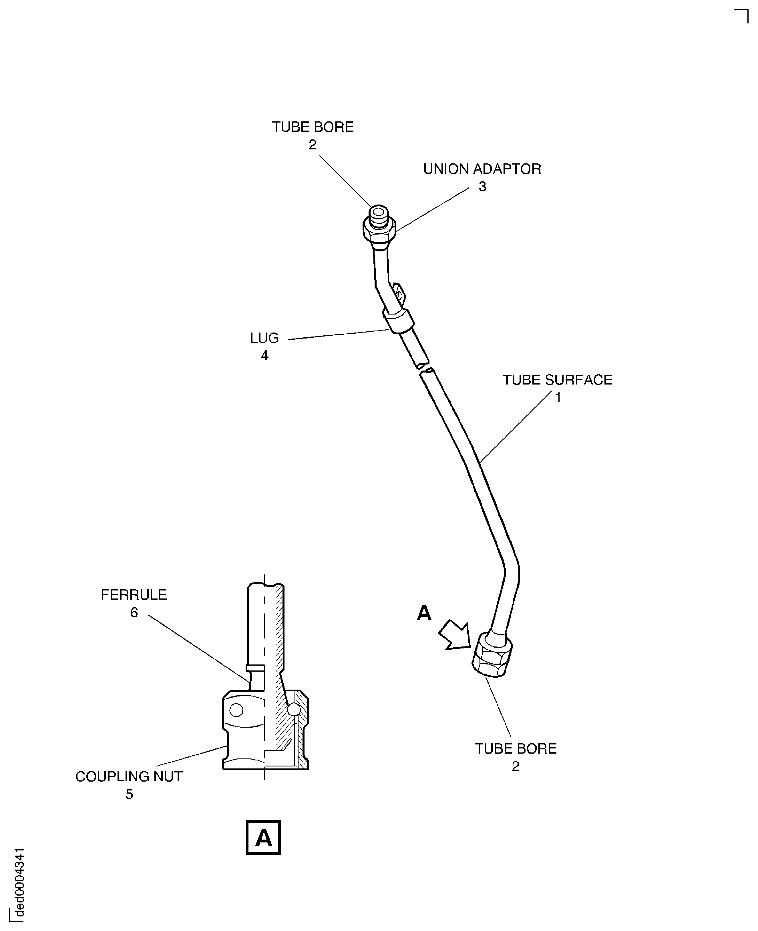
Examine the tube surface at location 1.
SUBTASK 73-22-49-220-061 Examine the EEC to P4.9 Air Tube Assembly Tube Surface
Refer to Figure.
Clear with dry air blast.
Plugged.
Examine the tube bore at location 2.
SUBTASK 73-22-49-220-062 Examine the EEC to P4.9 Air Tube Assembly Tube Bore
Refer to Figure.
Repair, VRS1620 (Repair-001) TASK 73-22-49-300-001.
Pick-up.
SPM, VRS7001 (Repair-001) TASK 70-35-24-300-501.
Crossed or stripped.
Threads.
Repair, VRS1620 (Repair-001) TASK 73-22-49-300-001.
Galled.
Sealing face.
SPM, VRS7001 (Repair-001) TASK 70-35-24-300-501.
Damaged.
Lockwire holes.
Examine the union adaptor at location 3.
SUBTASK 73-22-49-220-063 Examine the EEC to P4.9 Air Tube Assembly (01-500), (02-100), (02-500), (03-100) and (03-500) Union Adaptor
Refer to Figure.
Repair, VRS7001 (Repair-001) SPM TASK 70-35-24-300-501.
Cracked
Repair, VRS1620 (Repair-001) TASK 73-22-49-300-001.
Distorted, small distortion can be removed if cracks are not caused.
Examine the lug at location 4.
SUBTASK 73-22-49-220-064 Examine the EEC to P4.9 Air Tube Assembly (01-100), (02-100), (02-500) and (03-500) Lug
Refer to Figure.
Repair, VRS1620 (Repair-001) TASK 73-22-49-300-001.
Pick-up.
SPM, VRS7001 (Repair-001) TASK 70-35-24-300-501.
Crossed or stripped.
Threads.
Repair, VRS1620 (Repair-001) TASK 73-22-49-300-001 or Repair, VRS7001 (Repair-001) SPM TASK 70-35-24-300-501.
Damaged.
Lockwire holes.
Examine the coupling nut at location 5.
SUBTASK 73-22-49-220-065 Examine the EEC to P4.9 Air Tube Assembly (01-100), (01-500), (02-100), (02-500) and (03-100) Coupling Nut
Refer to Figure.
Repair, VRS1620 (Repair-001) TASK 73-22-49-300-001 or Repair, VRS7001 (Repair-001) SPM TASK 70-35-24-300-501.
Galled.
Sealing face.
Examine the ferrule at location 6.
SUBTASK 73-22-49-220-066 Examine the EEC to P4.9 Air Tube Assembly (01-100), (01-500), (02-100), (02-500) and (03-100) Ferrule
SUBTASK 73-22-49-220-120 Examine the EEC to P4.9 Air Hose Assembly (04-100) and (08-500) - Deleted
NOTE
Procedure transferred to Inspection-000 TASK 73-22-49-200-108.
Figure: Locations On The Eec To P4.9 Air Tube Assembly
Locations On The Eec To P4.9 Air Tube Assembly

