Export Control
EAR Export Classification: Not subject to the EAR per 15 C.F.R. Chapter 1, Part 734.3(b)(3), except for the following Service Bulletins which are currently published as EAR Export Classification 9E991: SBE70-0992, SBE72-0483, SBE72-0580, SBE72-0588, SBE72-0640, SBE73-0209, SBE80-0024 and SBE80-0025.Copyright
© IAE International Aero Engines AG (2001, 2014 - 2021) The information contained in this document is the property of © IAE International Aero Engines AG and may not be copied or used for any purpose other than that for which it is supplied without the express written authority of © IAE International Aero Engines AG. (This does not preclude use by engine and aircraft operators for normal instructional, maintenance or overhaul purposes.).Applicability
V2500-A5
Common Information
TASK 72-00-40-020-001-B00 HP System Module - Remove The Components, Electrical Harnesses, And Tubes From The HPT, Removal-001
General
This TASK gives the procedure to remove the components, electrical harnesses, tubes and brackets from the HP turbine module. Refer to the TASKs which follow for other related procedures.
TASK 72-00-40-020-002-B00 Remove and disconnect the components, the electrical harnesses and the tubes from the front of the HP compressor case.
TASK 72-00-40-020-003-B00 Remove the components, the ducts, the electrical harness and the tubes from the HP compressor case vertical splitline.
TASK 72-00-40-020-004 Remove the remaining HP system module components, the tubes and the air off-take ducts.
Fig/item numbers in parentheses in the procedure agree with those used in the IPC. Only the primary Fig/item numbers are used. For the service bulletin alpha variants refer to the IPC.
For all parts identified in a different Chapter/Section/Subject, the applicable Chapter/Section/Subject comes before the Fig/item number.
Apply approved CoMat 10-058 PENETRATING OIL before the removal of threaded parts. Let the parts soak before removal.
Remove and discard the lockwire before the tube or connector is disconnected.
When electrical connections are disconnected special plastic caps must be installed.
All the electrical harnesses removed in this procedure must have their maintenance completed as given in the Component Maintenance Manual (CMM-EHC-V2500-1IA).
All the tubes, hoses and ducts removed in this procedure must have their maintenance completed as given in the Component Maintenance Manual (CMM-THD-V2500-1IA).
Seal all openings to prevent contamination from unwanted materials.
Discard all rubber seal rings and cotter pins removed in this procedure.
NOTE
Preliminary Requirements
Pre-Conditions
NONESupport Equipment
| Name | Manufacturer | Part Number / Identification | Quantity | Remark |
|---|---|---|---|---|
| IAE 1J13504 Puller | 0AM53 | IAE 1J13504 | 1 |
Consumables, Materials and Expendables
| Name | Manufacturer | Part Number / Identification | Quantity | Remark |
|---|---|---|---|---|
| CoMat 10-058 PENETRATING OIL | 0AM53 | CoMat 10-058 |
Spares
NONESafety Requirements
NONEProcedure
Remove the ACC HPT valve link AIR-ACTIVE CLEARANCE CONTROL VALVE (75-24-51, 02-100).
Use the IAE 1J13504 Puller 1 off to remove the bolt, the nut and the bushes that attach the ACC HPT valve link to the bracket on flange FM.
Remove the ACC HPT valve link AIR-ACTIVE CLEARANCE CONTROL VALVE (75-24-51, 02-250).
Remove the five bolts that attach the ACC housing Active Clearance Control (ACC) Valve (75-24-51, 01-275) to the HPT/LPT ACC air valve.
Use the IAE 1J13504 Puller 1 off to remove the cotter pin, the nut, the bolt and the two bushes that attach the stator rod to the ACC valve rod bracket HPC Module - Attaching Parts (72-40-00, 01-790).
Remove the ACC valve, the front duct and the rear duct assembly.
SUBTASK 72-00-40-020-072 Remove the Active Clearance Control (ACC) Valve, the Front Duct and the Rear Duct
Pre SBE 79-0088: Disconnect the electrical receptacle from the bracket HPC Assembly (72-41-00, 03-350).
SBE 79-0088: Disconnect the electrical receptacle from the bracket Engine Air Off-Take Air Ducts (75-00-49, 01-680).
Pre SBE 72-0189 and Pre SBE 79-0088: Remove the bolt, the washer, the clipnut and the clip at the clip position 5553.
SBE 72-0189 and SBE 79-0088: Remove the bolt, the spacer, the clipnut and the clip at the clip position 5553.
SBE 72-0189: Remove the clips, the clipnuts and the bolts at the clip positions 6085 and 6086.
SBE 79-0088: Remove the clip, the clipnut, the washer and the bolt at the clip position 6085.
SBE 79-0088: Remove the clip, the clipnut, the washer, the spacer and the bolt at the clip position 6086.
Pre SBE 72-0189 and Pre SBE 79-0088: Remove the nut, the bolt, the washer and the clip at the clip position 5781.
Pre SBE 75-0049 and Pre SBE 79-0088: Remove the nut, the bolt, the washer and the clip at the clip position 5529.
SBE 75-0049 and SBE 79-0088: Remove the nut, the bolt, the spacer and the clip at clip position 5529.
SUBTASK 72-00-40-020-178 Remove the Core EGT Harness (SBE 72-0189, Pre SBE 79-0088 and SBE 79-0088)
Refer to Figure.
SUBTASK 72-00-40-020-179 Remove the P4.9/EEC Tube (19), the Oil Weep Tube (18) and the No.5 Oil Feed Tube (17)
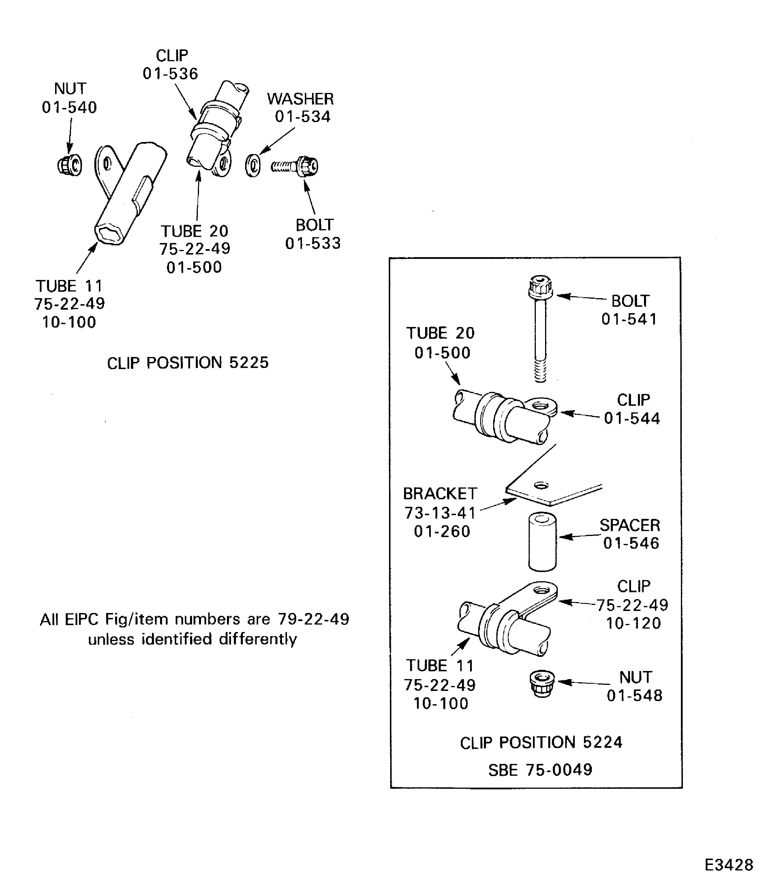
SBE 75-0049: Remove the bolt, the spacer, the nut and the two clips from the clip position 5224.
Refer to Figure.
Remove the tube 11.
SUBTASK 72-00-40-020-180 Remove the Cold Buffer Air Tubes
Figure: Remove the ACC valve, the front duct and the rear duct
Remove the ACC valve, the front duct and the rear duct

Figure: Remove the ACC valve, the front duct and the rear duct
Remove the ACC valve, the front duct and the rear duct

Figure: Pre SBE 72-0189 and Pre SBE 79-0088: Remove the Core EGT Harness
Sheet 1

Figure: SBE 72-0189 and SBE 79-0088: Remove the Core EGT Harness
Sheet 2

Figure: SBE 72-0189 and SBE 79-0088: Remove the Core EGT Harness
Sheet 3

Figure: Pre SBE 79-0088: Remove the Core EGT Harness
Sheet 4

Figure: SBE 79-0088: Remove the Core EGT Harness
Sheet 5

Figure: Remove the Core EGT Harness
Sheet 6

Figure: Remove the Core EGT Harness
Sheet 7

Figure: Remove the tubes 17, 18 and 19
Remove the tubes 17, 18 and 19

Figure: Remove the cold buffer air tubes
Remove the cold buffer air tubes

Figure: Remove the cold buffer air tubes
Remove the cold buffer air tubes

Figure: Remove the cold buffer air tubes
Remove the cold buffer air tubes

Figure: Remove the cold buffer air tubes
Remove the cold buffer air tubes

