Export Control
EAR Export Classification: Not subject to the EAR per 15 C.F.R. Chapter 1, Part 734.3(b)(3), except for the following Service Bulletins which are currently published as EAR Export Classification 9E991: SBE70-0992, SBE72-0483, SBE72-0580, SBE72-0588, SBE72-0640, SBE73-0209, SBE80-0024 and SBE80-0025.Copyright
© IAE International Aero Engines AG (2001, 2014 - 2021) The information contained in this document is the property of © IAE International Aero Engines AG and may not be copied or used for any purpose other than that for which it is supplied without the express written authority of © IAE International Aero Engines AG. (This does not preclude use by engine and aircraft operators for normal instructional, maintenance or overhaul purposes.).Applicability
All
Common Information
TASK 72-32-76-200-001-C00 LPC Stage 2.5 Stator - Examine, Inspection-001
General
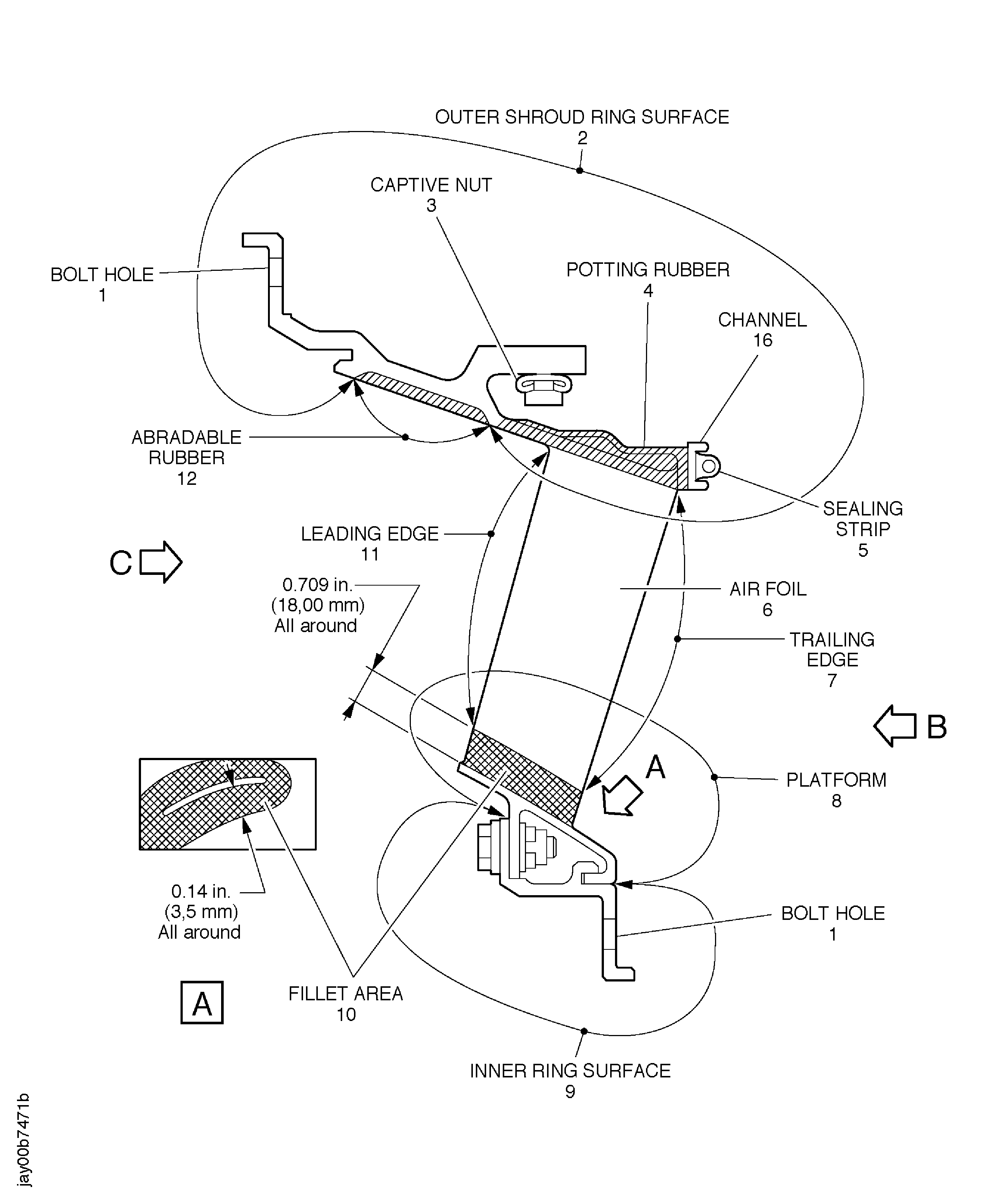
This TASK gives the procedure for the inspection of the LP compressor stage 2.5 vanes.
Fig/item numbers in parentheses in the procedure agree with those used in the IPC.
The policy that is necessary for inspection is given in the SPM TASK 70-20-00-200-501.
All parts must be cleaned before any part is examined. Refer to TASK 72-32-76-100-000 (CLEANING-000).
All parts must be visually examined for damage, corrosion and wear. Any defects that are not identified in the procedure must be referred to IAE.
The procedure for those parts which must have a crack test is given in Step. Do the test before the part is visually examined. Limits for cracks are given in the SUBTASK for each part.
Do not discard any part until you are sure there are no repairs available. Refer to the instructions in Repair before a discarded part is used again or oversize parts are installed.
Parts which should be discarded can be held although no repair is available. The repair of a discarded part could be shown to be necessary at a later date.
All parts must be examined to make sure that all repairs have been completed satisfactorily.
The practices and processes referred to in the procedure by the TASK numbers are in the SPM.
References
Refer to the SPM for the data on these items.
Definitions of damage, SPM TASK 70-02-02-350-501
Inspection of parts, SPM TASK 70-20-00-200-501
Some data on these items is contained in this TASK. For more data on these items refer to the SPM.
Methods of Testing for Crack Indications
Chemical Processes
Surface Protection
Preliminary Requirements
Pre-Conditions
NONESupport Equipment
| Name | Manufacturer | Part Number / Identification | Quantity | Remark |
|---|---|---|---|---|
| Fluorescent Penetrant Inspection Equipment | LOCAL | Fluorescent penetrant inspection equipment |
Consumables, Materials and Expendables
NONESpares
NONESafety Requirements
NONEProcedure
Clean the parts. Refer to TASK 72-32-76-100-000 (CLEANING-000).
Repair, VRS1860 TASK 72-32-76-300-013 (REPAIR-013)
Cracked
Vanes.
Do the test for cracks on the parts that are given below.
PART IDENT
TASK/SUBTASK
LP Compressor Stage 2.5 Vanes
SUBTASK 72-32-76-230-055 Examine the LP Compressor Stage 2.5 Vanes (01-400) for Cracks
Refer to Figure.
Repair, VRS1859 TASK 72-32-76-300-012 (REPAIR-012)
Less than 0.045 in. (1.14 mm)
Repair, VRS1860 TASK 72-32-76-300-013 (REPAIR-013)
More than Step
Nicked or dented.
Examine the airfoil leading edge at location 11.
Repair, VRS1859 TASK 72-32-76-300-012 (REPAIR-012)
Less than 0.045 in. (1.14 mm)
Repair, VRS1860 TASK 72-32-76-300-013 (REPAIR-013)
More than Step
Nicked or dented.
Examine the airfoil trailing edge at location 7.
Repair, VRS1859 TASK 72-32-76-300-012 (REPAIR-012)
Less than 0.004 in. (0.10 mm)
Repair, VRS1860 TASK 72-32-76-300-013 (REPAIR-013)
More than Step
Nicked or dented.
Examine the airfoil surface other than leading or trailing edge at location 6.
SUBTASK 72-32-76-220-087 Examine the LP Compressor Stage 2.5 Vanes (01-400) Airfoil
Refer to Figure.
Repair, VRS1858 TASK 72-32-76-300-014 (REPAIR-014)
Less than 0.005 in. (0.12 mm) in depth
Repair, VRS1860 TASK 72-32-76-300-013 (REPAIR-013)
More than Step
Nicked or dented.
Examine the vane platform at location 8.
SUBTASK 72-32-76-220-088 Examine the LP Compressor Stage 2.5 Vanes (01-400) Vane Platform
Refer to Figure.
Repair, VRS1858 TASK 72-32-76-300-014 (REPAIR-014)
Nicked
Repair, VRS1858 TASK 72-32-76-300-014 (REPAIR-014)
Scored
Examine the outer shroud surface at location 2.
SUBTASK 72-32-76-220-089 Examine the LP Compressor Stage 2.5 Vanes (01-400) Outer Shroud Ring Surface
Refer to Figure.
Repair, VRS1858 TASK 72-32-76-300-014 (REPAIR-014)
Less than 0.005 in. (0.12 mm) in depth
More than in Step
Nicked or dented.
Examine the inner ring surface at location 9.
SUBTASK 72-32-76-220-089 Examine the LP Compressor Stage 2.5 Vanes (01-400) Inner Ring Surface
Refer to Figure.
Repair, VRS1858 TASK 72-32-76-300-014 (REPAIR-014)
Scored
Examine the bolt hole at location 1.
SUBTASK 72-32-76-220-090 Examine the LP Compressor Stage 2.5 Vanes (01-400) Bolt Hole
Refer to Figure.
Repair, VRS1873 TASK 72-32-76-300-015 (REPAIR-015)
More than Step
Worn or eroded.
Repair, VRS1873 TASK 72-32-76-300-015 (REPAIR-015)
Missing, deteriorated or unbonded
Examine the abradable rubber at location 12.
SUBTASK 72-32-76-220-091 Examine the LP Compressor Stage 2.5 Vanes (01-400) Abradable Rubber
Refer to Figure.
Repair, VRS1874 TASK 72-32-76-300-016 (REPAIR-016)
Missing or deteriorated
Examine the potting rubber at location 4.
SUBTASK 72-32-76-220-092 Examine the LP Compressor Stage 2.5 Vanes (01-400) Potting Rubber
Refer to Figure.
Repair, VRS1876 TASK 72-32-76-300-017 (REPAIR-017).
Missing, tear the material or unbonded.
Repair, VRS1876 TASK 72-32-76-300-017 (REPAIR-017).
Less than Step.
Deformation or worn at the seal surface.
Examine the sealing strip at location 5.
SUBTASK 72-32-76-220-093 Examine the LP Compressor Stage 2.5 Vanes (01-400) Sealing Strip
Refer to Figure.
Repair, VRS1875 TASK 72-32-76-300-018 (REPAIR-018)
Missing or loose
Examine the captive nut at location 3.
SUBTASK 72-32-76-220-094 Examine the LP Compressor Stage 2.5 Vanes (01-400) Captive Nut
Refer to Figure.
Repair, VRS1860 TASK 72-32-76-300-013 (REPAIR-013)
Nicked, scored or dented
Examine the airfoil and platform fillet area at location 10.
SUBTASK 72-32-76-220-095 Examine the LP Compressor Stage 2.5 Vanes (01-400) Airfoil and Platform Fillet Area
Repair, VRS1353 TASK 72-32-76-300-019 (REPAIR-019)
Missing or loose
Examine the nuts at location 13 and 14.
SUBTASK 72-32-76-220-100 Examine the LP Compressor Stage 2.5 Vanes (01-400) Nuts
Refer to Figure.
Repair, VRS1944 TASK 72-32-76-300-021 (REPAIR-021)
Loose and missing
Repair, VRS1944 TASK 72-32-76-300-021 (REPAIR-021)
More than in Step
Worn, nicked or dented
Examine the pin at location 15.
SUBTASK 72-32-76-220-136 Examine the LP Compressor Stage 2.5 Vanes (01-400) Pin
Repair, VRS1858 TASK 72-32-76-300-014 (REPAIR-014)
Dented or gouged (missing material)
Repair, VRS1362 TASK 72-32-76-300-022 (REPAIR-022)
Missing the silicone compound
Examine the channel at location 16.
SUBTASK 72-32-76-220-143 Examine the LP Compressor Stage 2.5 Vanes (01-400) Channel
Figure: Location on the LP compressor stage 2.5 vanes
Location on the LP compressor stage 2.5 vanes

Figure: Location on the LP compressor stage 2.5 vanes
Location on the LP compressor stage 2.5 vanes

Figure: Location on the LP compressor stage 2.5 vanes
Location on the LP compressor stage 2.5 vanes

