Export Control
EAR Export Classification: Not subject to the EAR per 15 C.F.R. Chapter 1, Part 734.3(b)(3), except for the following Service Bulletins which are currently published as EAR Export Classification 9E991: SBE70-0992, SBE72-0483, SBE72-0580, SBE72-0588, SBE72-0640, SBE73-0209, SBE80-0024 and SBE80-0025.Copyright
© IAE International Aero Engines AG (2001, 2014 - 2021) The information contained in this document is the property of © IAE International Aero Engines AG and may not be copied or used for any purpose other than that for which it is supplied without the express written authority of © IAE International Aero Engines AG. (This does not preclude use by engine and aircraft operators for normal instructional, maintenance or overhaul purposes.).Applicability
All
Common Information
TASK 72-32-88-200-001-C00 Fan Exit Guide Vane - Examine, Inspection-001
Effectivity
FIG/ITEM | PART NO. |
|---|---|
06-100 | 5A1513 |
06-300 | 5A1513 |
06-500 | 5A1513 |
06-700 | 5A1513 |
07-100 | 5A1513 |
07-300 | 5A1513 |
07-500 | 5A1513 |
07-700 | 5A1513 |
08-100 | 5A1513 |
08-300 | 5A1513 |
08-500 | 5A1513 |
08-700 | 5A1513 |
09-100 | 5A1513 |
09-300 | 5A1513 |
09-500 | 5A1513 |
09-700 | 5A1513 |
10-100 | 5A1513 |
10-300 | 5A1513 |
10-500 | 5A1513 |
10-700 | 5A1513 |
General
This TASK gives the procedure for the inspection of the fan exit guide vanes.
The policy that is necessary for inspection is given in the SPM TASK 70-20-01-200-501.
All the parts must be cleaned before any part is examined. Refer to TASK 72-32-88-100-000 (CLEANING-000).
All parts must be visually examined for damage, corrosion and wear. Any defects that are not identified in the procedure must be referred to IAE.
The procedure for those parts which must have a crack test is given in Step. Do the test before the part is visually examined. Limits for cracks are given in the SUBTASK for each part.
Do not discard any part until you are sure there are no repairs available. Refer to the instructions in the repair before a discarded part is used again or oversize parts are installed.
Parts which should be discarded can be held although no repair is available. The repair of a discarded part could be shown to be necessary at a later date.
All parts must be examined to make sure that all the repairs hae been completed satisfactorily.
The practices and processes referred to in the procedure by the TASK/SUBTASK numbers are in the SPM.
Reference
Refer to the SPM for data on these items
Definitions of Damage, SPM TASK 70-02-02-350-501
Inspection of Parts, SPM TASK 70-20-01-200-501
Some data on these items is contained in this TASK, For more data on these items refer to the SPM
Method of Testing for Crack Indications
Chemical Processes
Surface Protection
Preliminary Requirements
Pre-Conditions
NONESupport Equipment
NONEConsumables, Materials and Expendables
NONESpares
NONESafety Requirements
NONEProcedure
Clean the parts. Refer to TASK 72-32-88-100-000 (CLEANING-000).
SUBTASK 72-32-88-230-058 Examine the Fan Exit Guide Vanes for Cracks
Refer to Figure.
Unbond greater then Step is allowed on the (1) vane for each vane assembly
NOTE
Use VRS1771 if the damage can not be removed by VRS1770.Repair, VRS1771 TASK 72-32-88-300-006 (REPAIR-006)
Cracked or unbonded at joint between vane and resin.
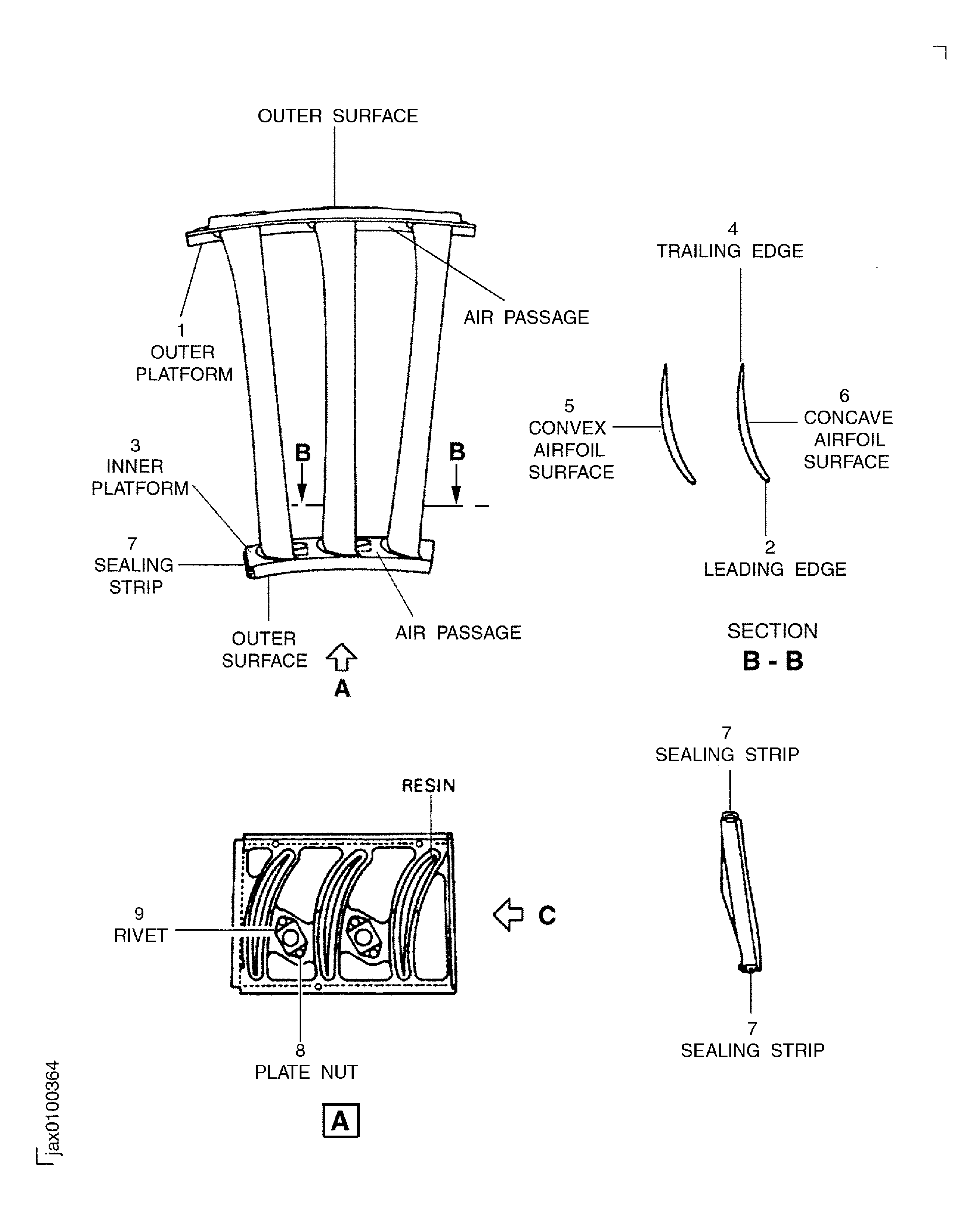
Examine the outer platform at location 1.
Repair, VRS1771 TASK 72-32-88-300-006 (REPAIR-006)
Cracked
NOTE
Use VRS1771 if the damage can not be removed by VRS1770.Repair, VRS1770 TASK 72-32-88-300-005 (REPAIR-005), or Repair, VRS1771 TASK 72-32-88-300-006 (REPAIR-006)
Scored
Bolt holes.
Repair, VRS1771 TASK 72-32-88-300-006 (REPAIR-006)
Cracked
NOTE
Use VRS1771 if the damage can not be removed by VRS1770.Repair, VRS1770 TASK 72-32-88-300-005 (REPAIR-005) or Repair, VRS1771 TASK 72-32-8-300-006 (REPAIR-006)
Nicked, dented or pitted
Air passage.
Repair, VRS1771 TASK 72-32-88-300-006 (REPAIR-006)
Cracked
NOTE
Use VRS1771 if the damage can not be removed by VRS1770.Repair, VRS1770 TASK 72-32-88-300-005, (REPAIR-005), or Repair, VRS1771 TASK 72-32-88-300-006 (REPAIR-006)
Nicked, dented, worn or pitted on outer surface
Outer surface.
Repair, VRS1771 TASK 72-32-88-300-006 (REPAIR-006)
Cracked
Repair, VRS1770 TASK 72-32-88-300-005 (REPAIR-005), or Repair, VRS1771 TASK 72-32-88-300-006 (REPAIR-006)
Nicked, dented, worn or pitted
All other surface.
Repair, VRS1771 TASK 72-32-88-300-006 (REPAIR-006)
Loose or missing
Bush.
SUBTASK 72-32-88-220-087 Examine the Fan Exit Guide Vanes Outer Platform
Refer to Figure.
Repair, VRS1770 TASK 72-32-88-300-005 (REPAIR-005)
Up to 0.140 in (3.55 mm) in depth
Repair, VRS1771 TASK 72-32-88-300-006 (REPAIR-006)
More than in Step
Nicked or dented.
Repair, VRS1770 TASK 72-32-88-300-005 (REPAIR-005)
Eroded
Examine the leading edges at location 2.
SUBTASK 72-32-88-220-088 Examine the Fan Exit Guide Vanes Leading Edges
Refer to Figure.
Unbonded greater than Step is allowed on one (1) vane for each vane assembly
Repair, VRS1771 TASK 72-32-88-300-006 (REPAIR-006)
Cracked or unbonded at the joint between the vane and the resin.
Examine the inner platform at location 3.
Repair, VRS1770 TASK 72-32-88-300-005 (REPAIR-005)
Scored
Bolt holes.
Repair, VRS1770 TASK 72-32-88-300-005 (REPAIR-005)
Nicked, dented or corrosion pitted
Air passage.
Repair, VRS1770 TASK 72-32-88-300-005 (REPAIR-005)
Nicked, dented or corrosion pitted
Outer surface.
Repair, VRS1770 TASK 72-32-88-300-005 (REPAIR-005)
Nicked, dented or corrosion pitted
All other surface.
SUBTASK 72-32-88-220-089 Examine the Fan Exit Guide Vanes Inner Platform
Refer to Figure.
Repair VRS1770 TASK 72-32-88-300-005 (REPAIR-005)
Up to 0.140 in (3.55 mm) in depth
Repair, VRS1771 TASK 72-32-88-300-006 (REPAIR-006)
More than in Step
Nicked or dented.
Examine the trailing edges at location 4.
SUBTASK 72-32-88-220-090 Examine the Fan Exit Guide Vanes Trailing Edges
Refer to: Figure
Repair VRS1770 TASK 72-32-88-300-005 (REPAIR-005)
Up to 0.017 in (0.43 mm) in depth
Repair, VRS1771 TASK 72-32-88-300-006 (REPAIR-006)
More than in Step
Nicked, dented or corrosion pitted.
Examine the convex airfoil surface at location 5.
SUBTASK 72-32-88-220-091 Examine the Fan Exit Guide Vanes Convex Airfoil Surface
Refer to Figure.
Repair, VRS1770 TASK 72-32-88-300-005 (REPAIR-005)
Up to 0.017 in (0.43 mm) in depth
Repair, VRS1771 TASK 72-32-88-300-006 (REPAIR-006)
More than in Step
Nicked, dented or corrosion pitted.
Examine the concave airfoil surface at location 6.
SUBTASK 72-32-88-220-092 Examine the Fan Exit Guide Vanes Concave Airfoil Surface
Refer to Figure.
Repair, VRS1772 TASK 72-32-88-300-007 (REPAIR-007)
Cracked or peeled
Examine the sealing strip at location 7.
SUBTASK 72-32-88-220-093 Examine the Fan Exit Guide Vanes Sealing Strip
Refer to Figure.
Repair, VRS1782 TASK 72-32-88-300-008 (REPAIR-008)
Thread crossed, stripped or loose
Examine the plate nuts at location 8.
SUBTASK 72-32-88-220-094 Examine the Fan Exit Guide Vanes Plate Nuts
Refer to Figure.
Repair, VRS1782 TASK 72-32-88-300-008 (REPAIR-008)
Loose
Examine the rivets at location 9.
SUBTASK 72-32-88-220-095 Examine the Fan Exit Guide Vanes Rivets
Figure: Locations on the outlet guide vane
Locations on the outlet guide vane

