Export Control
EAR Export Classification: Not subject to the EAR per 15 C.F.R. Chapter 1, Part 734.3(b)(3), except for the following Service Bulletins which are currently published as EAR Export Classification 9E991: SBE70-0992, SBE72-0483, SBE72-0580, SBE72-0588, SBE72-0640, SBE73-0209, SBE80-0024 and SBE80-0025.Copyright
© IAE International Aero Engines AG (2001, 2014 - 2021) The information contained in this document is the property of © IAE International Aero Engines AG and may not be copied or used for any purpose other than that for which it is supplied without the express written authority of © IAE International Aero Engines AG. (This does not preclude use by engine and aircraft operators for normal instructional, maintenance or overhaul purposes.).Applicability
All
Common Information
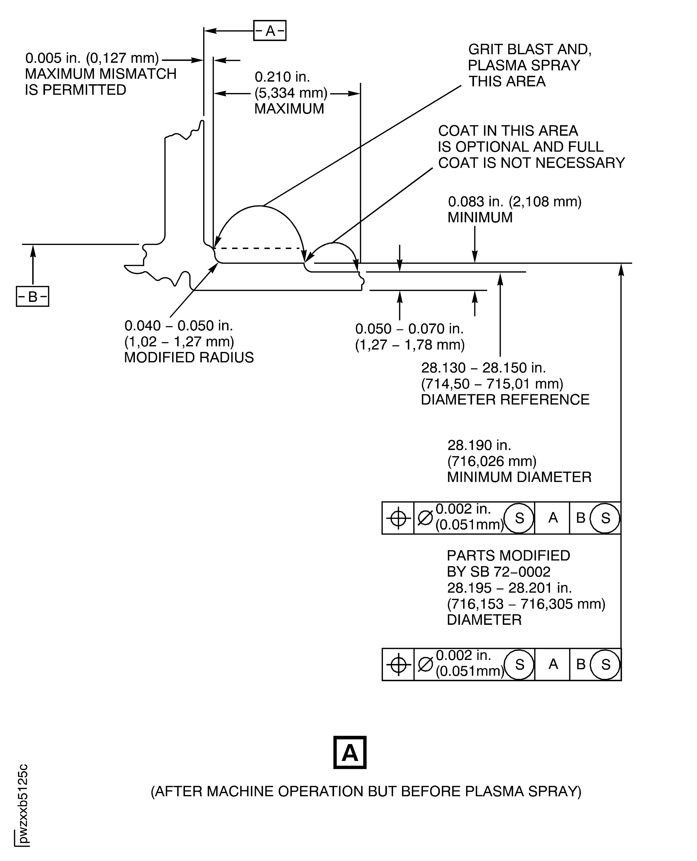
TASK 72-44-10-300-007 HPT Stage 1 Support Assembly - Plasma Spray Repair The Outside Diameter Bolt Flange Rear Snap Diameter, Repair-007 (VRS3129)
Effectivity
FIG/ITEM PART NO. | |
|---|---|
01-010 | 2A1358 |
01-010 | 2A1664 |
01-010 | 2A2703 |
01-010 | 2A3360 |
01-010 | 2A3367 |
01-010 | 2A3896 |
01-010 | 2A4027 |
01-010 | 2A4085 |
General
Price and availability - Refer to IAE
The practices and processes referred to in the procedure by the TASK number are in the SPM.
NOTE
NOTE
This repair is not applicable to Stage 1 HPT Support Assembly, PN 2A1292. PN 2A1292 must be modified by the instructions in SB 72-0002/Rework-001 and re-identified as PN 2A1358 before you do this repair.
Remove the stage 1 HPT seal from the stage 1 HPT support assembly before you do this repair. Refer to TASK 72-44-10-040-001 (DISASSEMBLY).
If VRS3129 and VRS3270 must be done on the same part, find the temporary location features on the Stage 1 HPT Support that will not change during the repair procedure before you remove all the plasma coat.
Preliminary Requirements
Pre-Conditions
NONESupport Equipment
| Name | Manufacturer | Part Number / Identification | Quantity | Remark |
|---|---|---|---|---|
| Grinding or turning equipment | LOCAL | Grinding or turning equipment | ||
| Grit blast equipment | LOCAL | Grit blast equipment | ||
| Non metallic hand scraper | LOCAL | Non metallic hand scraper | ||
| Plasma spray equipment | LOCAL | Plasma spray equipment | ||
| Workshop inspection equipment | LOCAL | Workshop inspection equipment |
Consumables, Materials and Expendables
| Name | Manufacturer | Part Number / Identification | Quantity | Remark |
|---|---|---|---|---|
| CoMat 03-080 METAL SPRAYING POWDER,Co BASE ALLOY | IE426 | CoMat 03-080 | ||
| CoMat 03-089 METAL SPRAYING POWDER Ni/Al (95/5) | 00741 | CoMat 03-089 | ||
| CoMat 03-090 METAL SPRAYING POWDER Ni/Al (95/5) | 0AM53 | CoMat 03-090 |
Spares
NONESafety Requirements
Procedure
Refer to the SPM TASK 70-15-01-160-501.
Remove all the coat by water jet strip procedure.
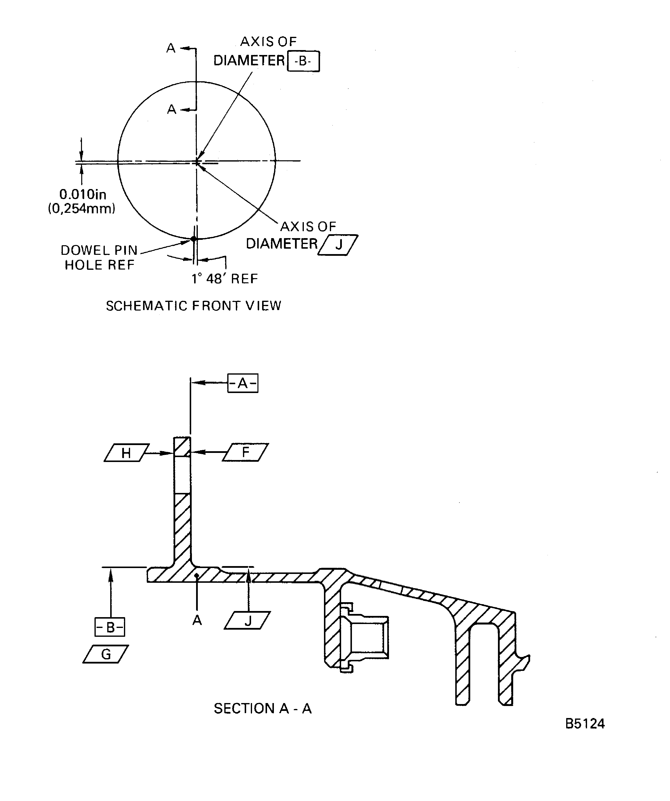
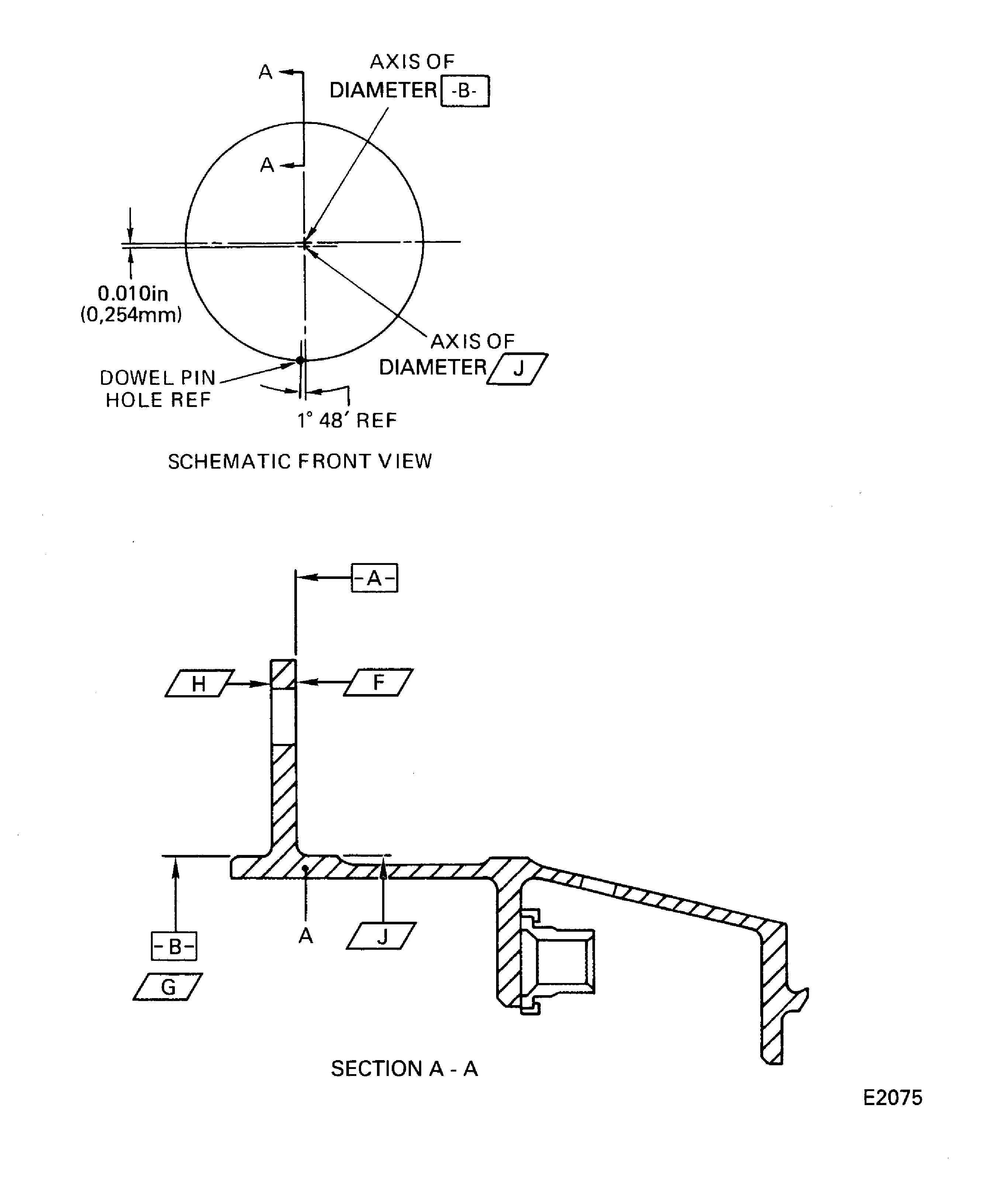
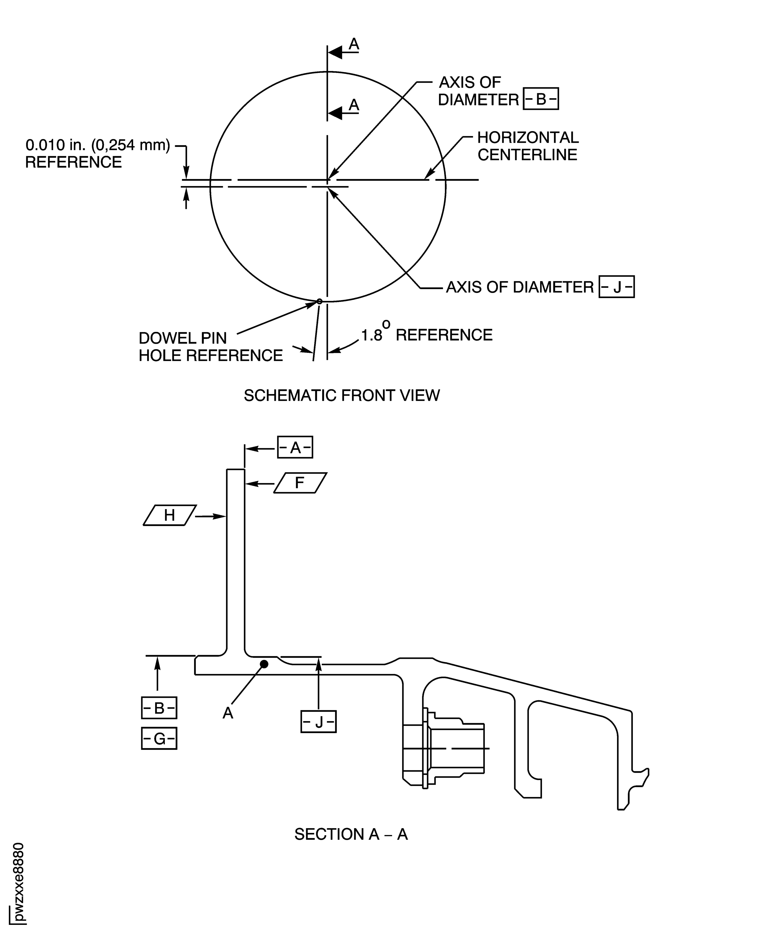
Refer to the SPM TASK 70-32-07-100-501. Refer to Figure. Hold to minimum diameter.
NOTE
If the measured dimension in a free condition is not satisfactory, a held condition is permitted. All dimensions are applicable when Surface F is flat by 0.005 in. (0.13 mm) and Diameter G keeps a clearance envelope of 28.242 in. (717.35 mm) diameter in a free or held condition. In a free condition, Surface F must be flat by 0.010 in. (0.25 mm) and Diameter G must be 28.210 to 28.266 in. (716.53 to 717.96 mm). Hold the duct only on Surfaces F and H and Diameter G.
Do a machine or grind operation of the rear snap diameter to remove all wear or coat.
SUBTASK 72-44-10-350-075 Remove the Damage or Wear and all the Coat from the Outer Diameter Bolt Flange Rear Snap Diameter by one or more of the Procedures that follow
Refer to the SPM TASK 70-11-03-300-503.
Clean the Stage 1 HPT Support.
Refer to the SPM TASK 70-23-03-230-501 or SPM TASK 70-23-08-230-501.
If you did a grind operation, do a fluorescent penetrant inspect the rear snap diameter.
SUBTASK 72-44-10-230-057 Examine the Stage 1 HPT Support
Refer to the SPM TASK 70-34-18-380-501.
Grit blast out of repair area shown is not permitted. If necessary, apply a mask or maskants.
Grit blast the rear snap diameter.
Refer to the SPM TASK 70-34-03-340-501.
Use CoMat 03-080 METAL SPRAYING POWDER,Co BASE ALLOY, CoMat 03-089 METAL SPRAYING POWDER Ni/Al (95/5) or CoMat 03-090 METAL SPRAYING POWDER Ni/Al (95/5).
Coat to a sufficient thickness for finish machine operation.
Plasma spray the rear snap diameter.
SUBTASK 72-44-10-340-054 Plasma Spray the Rear Snap Diameter
Refer to the SPM TASK 70-32-07-100-501.
Finish coat thickness must be 0.003 to 0.025 in. (0.08 to 0.64 mm).
Do a finish machine operation of the rear snap diameter after plasma spray.
Refer to the SPM TASK 70-11-03-300-503.
NOTE
If the measured dimension in a free condition is not satisfactory, a held condition is permitted. All dimensions apply when Surface F is flat by 0.005 in. (0.13 mm) and Diameter G maintains a clearance envelope of 28.242 in. (717.35 mm) diameter in a free or held condition. In a free condition, Surface F must be flat by 0.010 in. (0.25 mm) and Diameter G must be 28.210 to 28.266 in. (716.53 to 717.96 mm). Hold the support only on Surfaces F and H and Diameter G.
Clean the Stage 1 HPT Support.
SUBTASK 72-44-10-320-057 Finish the Rear Snap Diameter after Plasma Spray
Refer to the SPM TASK 70-34-03-340-501.
Do a visual inspection on the plasma spray area.
Refer to the SPM TASK 70-34-03-340-501 and TASK 72-44-10-200-001 (INSPECTION/CHECK-001).
Do a dimensional inspection on the part.
SUBTASK 72-44-10-220-099 Examine the Repair
Make a permanent mark by the procedure given in the SPM TASK 70-09-00-400-501.
Use the vibration peen method.
Mark VRS3129 adjacent to the part number.
SUBTASK 72-44-10-350-058 Identify the Repair
Refer to TASK 72-44-10-440-001 (ASSEMBLY).
Re-install the Stage 1 HPT Seal on the Stage 1 HPT Support Assembly.
SUBTASK 72-44-10-350-076 Re-Install the Stage 1 HPT Seal
Figure: Repair Details and Dimensions (PN 2A1358 and 2A1664 Only)
sheet 1

Figure: Repair Details and Dimensions (PN 2A2703, 2A3360, 2A3367, 2A3896 and 2A4027 Only)
Sheet 2

Figure: Repair Details and Dimensions
Sheet 3

Figure: Repair Details and Dimensions
Sheet 4

Figure: Repair Details and Dimensions (PN 2A4085 Only)
Sheet 5

