Export Control
EAR Export Classification: Not subject to the EAR per 15 C.F.R. Chapter 1, Part 734.3(b)(3), except for the following Service Bulletins which are currently published as EAR Export Classification 9E991: SBE70-0992, SBE72-0483, SBE72-0580, SBE72-0588, SBE72-0640, SBE73-0209, SBE80-0024 and SBE80-0025.Copyright
© IAE International Aero Engines AG (2001, 2014 - 2021) The information contained in this document is the property of © IAE International Aero Engines AG and may not be copied or used for any purpose other than that for which it is supplied without the express written authority of © IAE International Aero Engines AG. (This does not preclude use by engine and aircraft operators for normal instructional, maintenance or overhaul purposes.).Applicability
All
Common Information
TASK 72-50-31-200-002-A00 LPT Stage 6 Disk - Examine, Inspection-002
General
This TASK gives the procedure for the inspection of the stage 6 turbine disk. For the other LP turbine disk parts, refer to TASK 72-50-31-200-000 (INSPECTION-000).
Fig/item numbers in parentheses in the procedure agree with those used in the IPC.
The policy that is necessary for inspection is given in the SPM TASK 70-20-01-200-501.
All parts must be cleaned before any part is examined. Refer to the TASK 72-50-00-100-000 (CLEANING).
All parts must be visually examined for damage, corrosion, and wear. Any defects that are not identified in the procedure must be referred to IAE.
The procedure for those parts which must have a crack test is given in Step (SUBTASK 72-50-31-230-052). Do the crack test before the part is visually examined.
Do not discard any part until you are sure there are no repairs available. Refer to the instructions in Repair before a discarded part is used again or oversize parts are installed.
Parts which should be discarded can be held although no repair is available. The repair of a discarded part could be shown to be necessary at a later date.
All parts must be examined to make sure that all the repairs have been completed satisfactorily.
The practices and processes referred to in the procedure by the TASK numbers are in the SPM.
References
Refer to the SPM for data on these items.
Definitions of Damage, SPM TASK 70-02-02-350-501
Record and Control of the Lives of Parts, SPM TASK 70-05-00-220-501
Inspection of Parts, SPM TASK 70-20-01-200-501
Some data on these items are contained in this TASK. For more data on these items refer to the SPM.
Method of Testing for Crack Indications
Chemical Processes
Surface Protection
Preliminary Requirements
Pre-Conditions
NONESupport Equipment
| Name | Manufacturer | Part Number / Identification | Quantity | Remark |
|---|---|---|---|---|
| Dial gage | LOCAL | Dial gage | ||
| Dial indicator with needle insert | LOCAL | Dial indicator with needle insert | ||
| Horizontal rotating table | LOCAL | Horizontal rotating table | ||
| Vickers hardness tester | LOCAL | Vickers hardness tester |
Consumables, Materials and Expendables
NONESpares
NONESafety Requirements
NONEProcedure
SUBTASK 72-50-31-220-062 General Instructions for the Inspection of the Stage 6 Turbine Disk
NOTE
Examine the disk. If there are signs of overheating or the LPT module was reported for overheating do the hardness check. Refer to SUBTASK 72-50-31-220-065.
Dimensions are given at temperature of 68 deg F (20 deg C).
Clean the parts. Refer to TASK 72-50-00-100-000 (CLEANING).
SUBTASK 72-50-31-230-052 Examine the Stage 6 Turbine Disk for Cracks
Repair-041, VRS4545 TASK 72-50-31-300-041
Corrosion pitting
Examine the surface for corrosion pitting.
SUBTASK 72-50-31-220-063 Examine the Stage 6 Turbine Disk for Corrosion
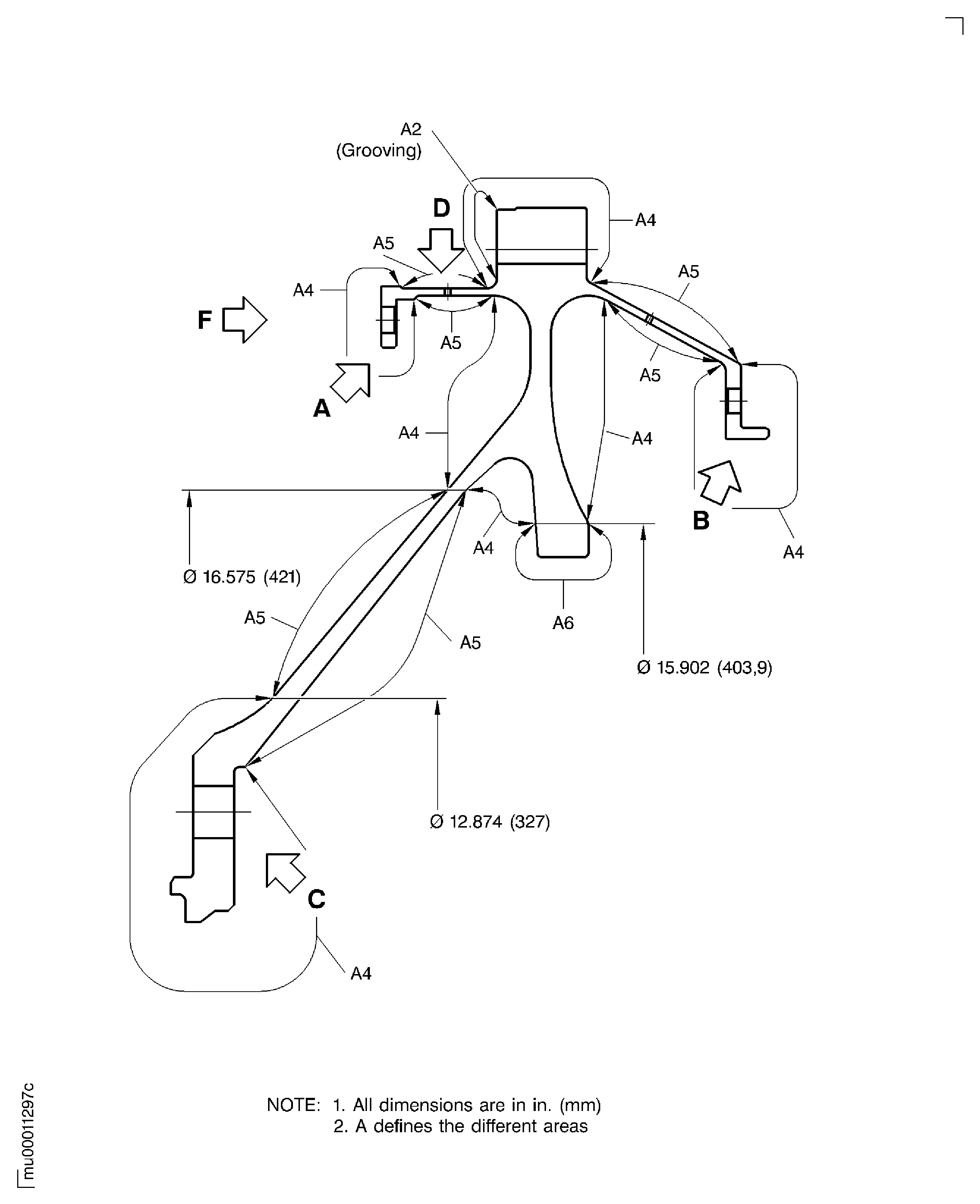
Refer to Figure.
Repair-004, VRS4157 TASK 72-50-31-300-004
More than in Step and not more than 0.006 in. (0.15 mm) maximum depth
Grooved (due to seal ring contact)
Examine the surface in area A2 for grooves. Use Dial gage, Dial indicator with needle insert, and Horizontal rotating table.
SUBTASK 72-50-31-220-064 Examine the Stage 6 Turbine Disk for Damage
Refer to Figure.
SUBTASK 72-50-31-220-065 Examine the Stage 6 Turbine Disk for Hardness
Refer to Figure.
Repair-004, VRS4157 TASK 72-50-31-300-004
More than in Step
Nicked, dented
Repair-004, VRS4157 TASK 72-50-31-300-004
More than in Step
Scratched
Examine the surface in area A4.
SUBTASK 72-50-31-220-066 Examine the Stage 6 Turbine Disk for Surface Damage
Refer to Figure.
Repair-004, VRS4157 TASK 72-50-31-300-004
More than in Step
Nicked
Repair-004, VRS4157 TASK 72-50-31-300-004
More than in Step
Dented
Repair-004, VRS4157 TASK 72-50-31-300-004
More than in Step
Scratched
Examine the surface in area A5.
SUBTASK 72-50-31-220-166 Examine the Stage 6 Turbine Disk for Surface Damage
Refer to Figure.
Repair-004, VRS4157 TASK 72-50-31-300-004
More than in Step and not more than 0.0022 in. (0.055 mm) maximum depth
Nicked, dented
Repair-004, VRS4157 TASK 72-50-31-300-004
More than in Step and not more than 0.0022 in. (0.055 mm) maximum depth
Scratched
Examine the surface in area A6.
SUBTASK 72-50-31-220-167 Examine the Stage 6 Turbine Disk for Surface Damage
Refer to Figure.
More than in Step
Fretted
Repair-004, VRS4157 TASK 72-50-31-300-004
Other than in Step
Nicked, dented, scratched
Examine the surface in area A7.
SUBTASK 72-50-31-220-067 Examine the Stage 6 Turbine Disk for Surface Damage
Refer to Figure.
SUBTASK 72-50-31-220-068 Examine the Stage 6 Turbine Disk for Surface Damage
Refer to Figure.
More than in Step
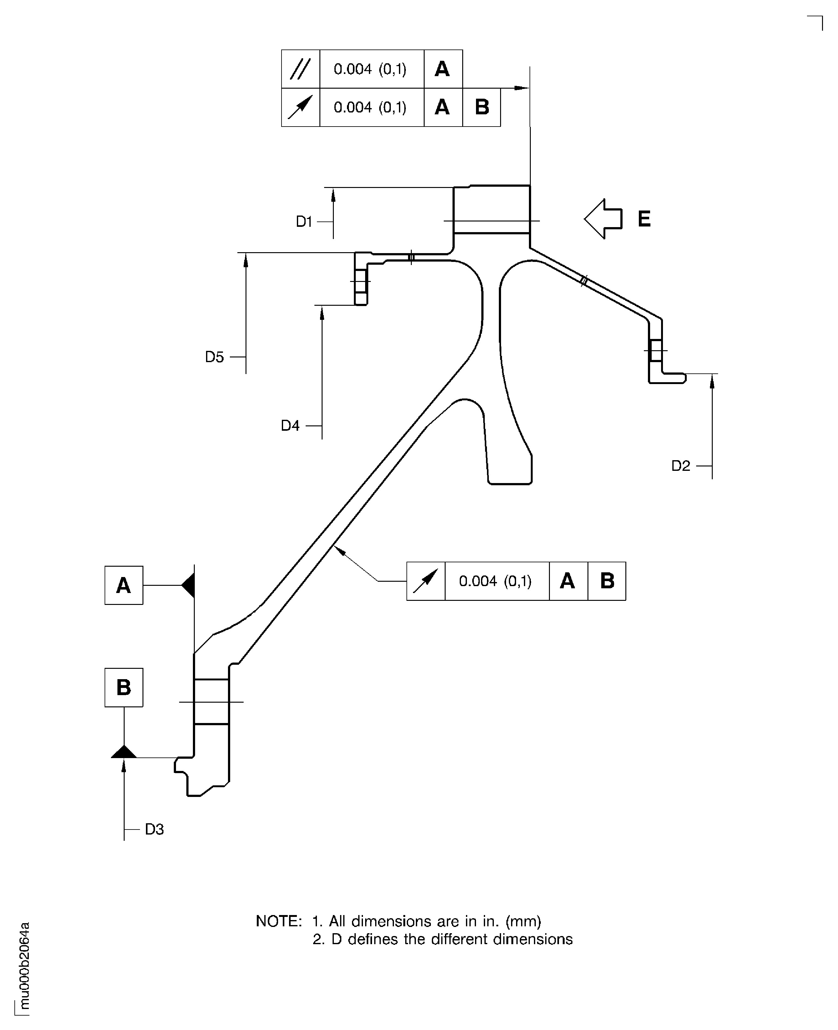
Measure the diameter D1 for growth at 120, 240, and 360 degrees. Get an average dimension.
More than in Step
Measure the diameter D1 for shrinkage at 120, 240, and 360 degrees. Get an average dimension.
SUBTASK 72-50-31-220-070 Examine the Stage 6 Turbine Disk Outer Diameter D1
Refer to Figure.
More than in Step
Do the check run-out of the outer flange to plane A and diameter B. Use Dial gage and Horizontal rotating table.
More than in Step
Do a check parallelism of the outer flange to plane A. Use Dial gage and Horizontal rotating table.
More than in Step
Do the check run-out of the inner web to plane A and diameter B. Use Dial gage and Horizontal rotating table.
SUBTASK 72-50-31-220-072 Examine the Stage 6 Turbine Disk for Excessive Deflection
Refer to Figure.
Repair-007, VRS4160 TASK 72-50-31-300-007
Less than in Step
Measure the diameter D2 for wear at 120, 240, and 360 degrees. Get an average dimension.
Accept the part for selected fit only.
NOTE
This part can be used only if the mating part has a diameter that will result in a fit of reference 3365 or 3665 or 3765. Refer to TASK 72-50-10-430-010.
Between 17.707 in. and 17.697 in. (449.75 mm and 449.50 mm)
Measure the diameter D2 for shrinkage and growth at 120, 240, and 360 degrees. Get an average dimension.
SUBTASK 72-50-31-220-073 Examine the Stage 6 Turbine Disk Snap Diameter D2
Refer to Figure.
Repair-008, VRS4162 TASK 72-50-31-300-008
Less than in Step
Measure the diameter D3 for wear at 120, 240, and 360 degrees. Get an average dimension.
Accept the part for selected fit only.
NOTE
This part can be used only if the mating part has a diameter that will result in a fit of reference 3392 or 3402 or 3782 or 3802. Refer to TASK 72-50-00-430-001.
Between 8.981 in. and 8.976 in. (228.10 mm and 228.00 mm)
Measure the diameter D3 for shrinkage and growth at 120, 240, and 360 degrees. Get an average dimension.
SUBTASK 72-50-31-220-349 Examine the Stage 6 Turbine Disk Snap Diameter D3
Refer to Figure.
Repair-005, VRS4158 TASK 72-50-31-300-005
More than in Step
Measure the diameter D4 for wear at 120, 240, and 360 degrees. Get an average dimension.
Accept the part for selected fit only.
NOTE
This part can be used only if the mating part has a diameter that will result in a fit of reference 3359 or 3659 or 3759. Refer to TASK 72-50-10-430-008.
Between 19.297 in. and 19.287 in. (490.15 mm and 489.90 mm)
Measure the diameter D4 for shrinkage and growth at 120, 240, and 360 degrees. Get an average dimension.
SUBTASK 72-50-31-220-350 Examine the Stage 6 Turbine Disk Snap Diameter D4
Refer to Figure.
Repair-005, VRS4158 TASK 72-50-31-300-005
Less than in Step
Measure the diameter D5 for wear at 120, 240, and 360 degrees. Get an average dimension.
Accept the part for selected fit only.
NOTE
This part can be used only if the mating part has a diameter that will result in a fit of reference 3358 or 3658 or 3758. Refer to TASK 72-50-30-440-004.
Between 20.494 in. and 20.484 in. (520.55 mm and 520.30 mm)
Measure the diameter D5 for shrinkage and growth at 120, 240, and 360 degrees. Get an average dimension.
SUBTASK 72-50-31-220-351 Examine the Stage 6 Turbine Disk Snap Diameter D5
Figure: Examine the Stage 6 Turbine Disk
Examine the Stage 6 Turbine Disk

Figure: Examine the Stage 6 Turbine Disk
Examine the Stage 6 Turbine Disk

Figure: Examine the Stage 6 Turbine Disk
Examine the Stage 6 Turbine Disk

