Export Control
EAR Export Classification: Not subject to the EAR per 15 C.F.R. Chapter 1, Part 734.3(b)(3), except for the following Service Bulletins which are currently published as EAR Export Classification 9E991: SBE70-0992, SBE72-0483, SBE72-0580, SBE72-0588, SBE72-0640, SBE73-0209, SBE80-0024 and SBE80-0025.Copyright
© IAE International Aero Engines AG (2001, 2014 - 2021) The information contained in this document is the property of © IAE International Aero Engines AG and may not be copied or used for any purpose other than that for which it is supplied without the express written authority of © IAE International Aero Engines AG. (This does not preclude use by engine and aircraft operators for normal instructional, maintenance or overhaul purposes.).Applicability
All
Common Information
TASK 72-50-53-200-102 No. 5 Bearing Pressure Oil Tube - Examine, Inspection-002
General
This TASK gives the procedure for the inspection of the No.5 bearing pressure tube. For other parts of the exhaust case and fittings, refer to Inspection-000 TASK 72-50-53-200-100.
Fig/item numbers in parentheses in the procedure agree with those used in the IPC.
The policy that is necessary for inspection is given in SPM TASK 70-20-01-200-501.
All the parts must be cleaned before any part is examined. Refer to SPM TASK 70-10-00-100-501 or TASK 70-11-55-110-501.
The procedure for those parts which must have a crack test is given in SPM TASK 70-23-00-230-501. Do the test before the part is visually examined.
Do not discard any part until you are sure there are no repairs available. Refer to the instructions in Repair before a discarded part is used again or oversize parts are installed.
Parts which should be discarded can be held although no repair is available. The repair of a discarded part could be shown to be necessary at a later date.
All parts must be examined to make sure that all the repairs have been completed satisfactorily.
The practices and processes referred to in the procedure by the TASK numbers are in the SPM.
References
Refer to the SPM for data on these items.
Definitions of Damage, SPM TASK 70-02-02-350-501.
Inspection of Parts, SPM TASK 70-20-01-200-501.
Some data on these items is contained in this TASK. For more data on these items refer to the SPM.
Method of Testing for Crack Indications.
Chemical Processes.
Surface Protection.
Preliminary Requirements
Pre-Conditions
NONESupport Equipment
| Name | Manufacturer | Part Number / Identification | Quantity | Remark |
|---|---|---|---|---|
| Flexible video borescope | LOCAL | Flexible video borescope | (4 mm or 6 mm) |
Consumables, Materials and Expendables
NONESpares
NONESafety Requirements
NONEProcedure
Clean the part. Refer to Cleaning - 000 TASK 72-50-53-100-100.
For PN 2A3091-01: Repair, VRS3758 (Repair - 047) TASK 72-50-53-300-047. For PN 2A2168-01: Repair, VRS3757 (Repair - 046) TASK 72-50-53-300-046.
Cracked
No. 5 bearing pressure tube, Refer to SPM TASK 70-23-01-230-501.
Do the test for cracks on the part that is given below. Use the applicable penetrant inspection procedure.
SUBTASK 72-50-53-230-064-001 Examine the No. 5 Bearing Pressure Tube (20-176) for Cracks
Clean the part. Refer to Cleaning - 000 TASK 72-50-53-100-100.
For PN 2A3091-01: Repair, VRS3758 (Repair - 047) TASK 72-50-53-300-047. For PN 2A2168-01: Repair, VRS3757 (Repair - 046) TASK 72-50-53-300-046.
Cracked
No.5 bearing pressure tube, Refer to SPM TASK 70-23-02-230-501.
Do the test for cracks on the part that is given below. Use the applicable penetrant inspection procedure.
SUBTASK 72-50-53-230-064-002 Examine the No. 5 Bearing Pressure Tube (20-176) for Cracks
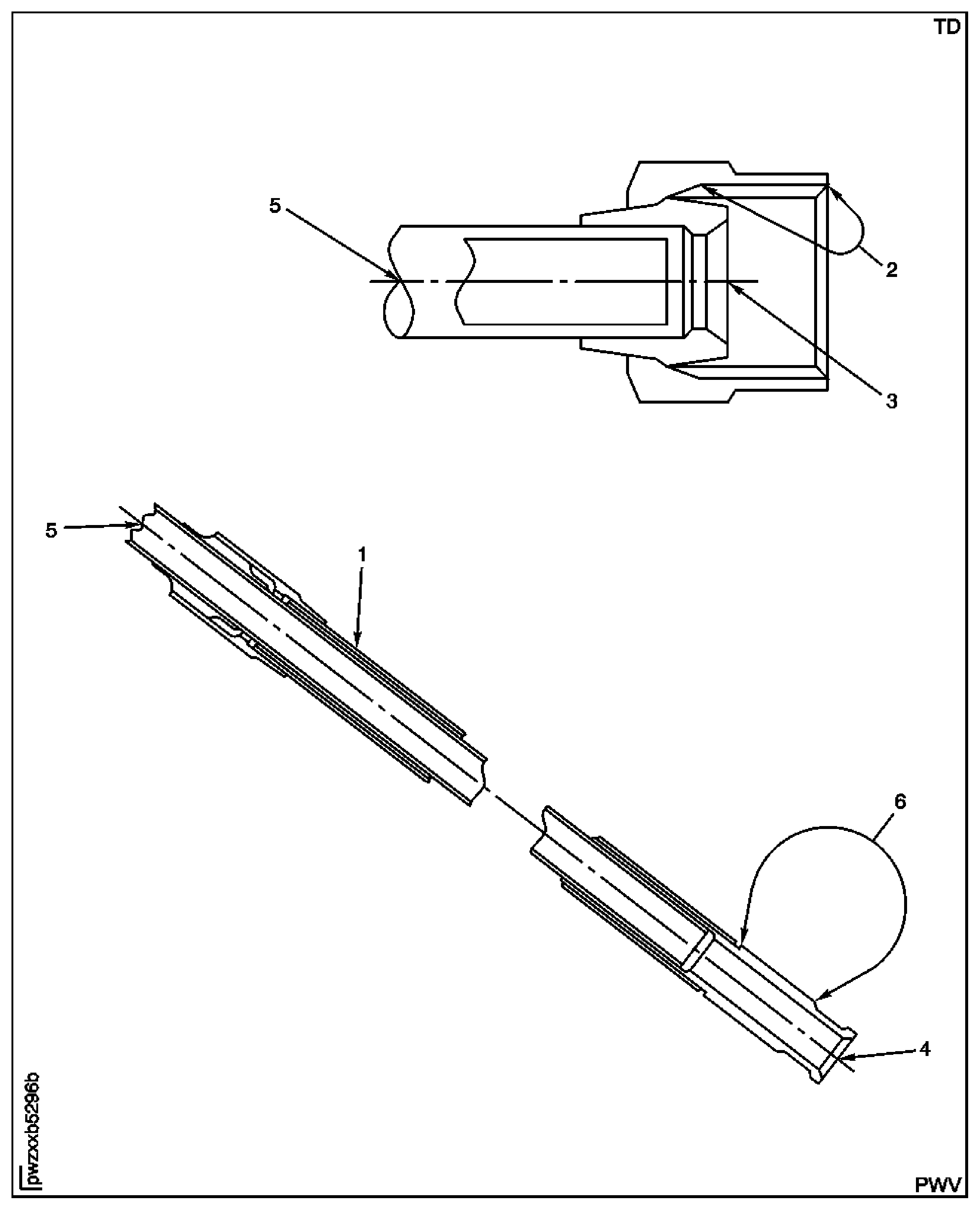
Refer to Figure.
For PN 2A3091-01: Repair, VRS3758 (Repair - 047) TASK 72-50-53-300-047. For PN 2A2168-01: Repair, VRS3757 (Repair - 046) TASK 72-50-53-300-046.
Other than Step.
Examine the tube heat shield at location 1 for looseness.
For PN 2A3091-01: Repair, VRS3758 (Repair - 047) TASK 72-50-53-300-047. For PN 2A2168-01: Repair, VRS3757 (Repair - 046) TASK 72-50-53-300-046.
Other than Step.
Examine the tube heat shield at location 1 for dents.
SUBTASK 72-50-53-220-113 Examine the No. 5 Bearing Pressure Tube (20-176) Heat Shield for Looseness and Dents
Refer to Figure.
Repair, VRS3258 (Repair - 041) TASK 72-50-53-300-041, or For PN 2A3091-01: Repair, VRS3758 (Repair - 047) TASK 72-50-53-300-047. For PN 2A2168-01: Repair, VRS3757 (Repair - 046) TASK 72-50-53-300-046.
Other than Step.
Examine the tube at location 2 for damage to the tube nut threads.
SUBTASK 72-50-53-220-114 Examine the No. 5 Bearing Pressure Tube (20-176) for Damage to the Tube Nut Threads
Refer to Figure.
Repair, VRS3258 (Repair - 041) TASK 72-50-53-300-041, or For PN 2A3091-01: Repair, VRS3758 (Repair - 047) TASK 72-50-53-300-047. For PN 2A2168-01: Repair, VRS3757 (Repair - 046) TASK 72-50-53-300-046.
Other than Step.
Dents
Repair, VRS3258 (Repair - 041) TASK 72-50-53-300-041, or For PN 2A3091-01: Repair, VRS3758 (Repair - 047) TASK 72-50-53-300-047. For PN 2A2168-01: Repair, VRS3757 (Repair - 046) TASK 72-50-53-300-046.
Other than Step.
Nicks and scratches.
Examine the tube for dents, nicks and scratches.
SUBTASK 72-50-53-220-115 Examine the No. 5 Bearing Pressure Tube (20-176) for Damage
For PN 2A3091-01: Repair, VRS3758 (Repair - 047) TASK 72-50-53-300-047. For PN 2A2168-01: Repair, VRS3757 (Repair - 046) TASK 72-50-53-300-046.
Leaks at 140 to 160 psig (965.3 to 1103.2 kPa).
Examine the tube for leaks by a pressure test with oil.
SUBTASK 72-50-53-220-116 Examine the No. 5 Bearing Pressure Tube (20-176) for Leaks
Refer to Figure.
Accept
No coke, carbon or loose particles.
Clean. Refer to Cleaning - 002 TASK 72-50-53-100-102.
Carbon or coke.
Examine the internal surfaces of the tube (using a flexible borescope) for coking or carbon at location 5, Refer to Figure.
SUBTASK 72-50-53-220-230 Examine the Internal Surfaces of the Tube at Location 5 for Coking or Carbon
Refer to Figure.
Repair, VRS3756 (Repair - 045) TASK 72-50-53-300-045.
If the wear is not more than 0.005 in. (0.13 mm) in depth and/or over more than 25 percent of the surface.
For PN 2A3091-01: Repair, VRS3758 (Repair - 047) TASK 72-50-53-300-047. For PN 2A2168-01: Repair, VRS3757 (Repair - 046) TASK 72-50-53-300-046.
Examine the tube for wear to the ferrule outer diameter at Location 6.
SUBTASK 72-50-53-220-252 Examine the No. 5 Bearing Presssure Tube (20-176) for Wear to the Tube Ferrule
Figure: No. 5 Bearing Pressure Tube Inspection Locations
No. 5 Bearing Pressure Tube Inspection Locations

