Export Control
EAR Export Classification: Not subject to the EAR per 15 C.F.R. Chapter 1, Part 734.3(b)(3), except for the following Service Bulletins which are currently published as EAR Export Classification 9E991: SBE70-0992, SBE72-0483, SBE72-0580, SBE72-0588, SBE72-0640, SBE73-0209, SBE80-0024 and SBE80-0025.Copyright
© IAE International Aero Engines AG (2001, 2014 - 2021) The information contained in this document is the property of © IAE International Aero Engines AG and may not be copied or used for any purpose other than that for which it is supplied without the express written authority of © IAE International Aero Engines AG. (This does not preclude use by engine and aircraft operators for normal instructional, maintenance or overhaul purposes.).Applicability
All
Common Information
TASK 72-60-25-200-002-B00 Fuel Pump Drive Gear - Examine, Inspection-002
General
This TASK gives the procedure for the inspection of the fuel pump drive gear. For the other parts of the fuel pump dive gear assembly, refer to TASK 72-60-25-200-000 (INSPECTION-000).
Fig/item numbers in parentheses in the procedure to agree with those used in the IPC.
The policy that is necessary for inspection is given in SPM TASK 70-20-01-200-501.
All the parts must be cleaned before any part is examined. Refer to SPM TASK 70-11-03-300-503.
All parts must be visually examined for damage, corrosion and wear. Any defects that are not identified in the procedure must be referred to IAE.
The procedure for those parts which must have a crack test is given in SPM TASK 70-23-00-230-501. Do the test before the part is visually examined. Limits for crack are given in the SUBTASK for each part.
Do not discard any part until you are sure there are no repairs available. Refer to the instructions in repair before a discarded part is used again or oversize parts are installed.
Parts which should be discarded can be held although no repair is available. The repair of a discarded part could be shown to be necessary at a later date.
All parts must be examined to make sure that all the repairs have been completed satisfactorily.
The practices and processes referred to in the procedure by the TASK numbers are in SPM.
References
Refer to SPM for data on these items:
Definitions of Damage, SPM TASK 70-02-02-350-501.
Record and Control of the Lives of Parts, SPM TASK 70-05-00-220-501.
Inspection of Parts, SPM TASK 70-20-00-200-501.
Some data on these items is contained in this TASK. For more data on these items refer to SPM:
Method of Testing for Crack Indications,
Chemical Processes,
Surface Protection.
Preliminary Requirements
Pre-Conditions
NONESupport Equipment
| Name | Manufacturer | Part Number / Identification | Quantity | Remark |
|---|---|---|---|---|
| Demagnetizing unit | LOCAL | |||
| Hardness Tester | LOCAL | Hardness Tester | ||
| Magnetizing unit | LOCAL | |||
| Workshop inspection equipment | LOCAL | Workshop inspection equipment |
Consumables, Materials and Expendables
NONESpares
NONESafety Requirements
NONEProcedure
Clean the parts. Refer to the TASK 72-60-25-100-000 (CLEANING-000).
SUBTASK 72-60-25-240-057 Do a Crack Test on the Fuel Pump Drive Gear (01-200) (Magnetic)
Refer to Figure.
Repair VRS5145, TASK 72-60-25-300-013 (REPAIR-013).
More than Step
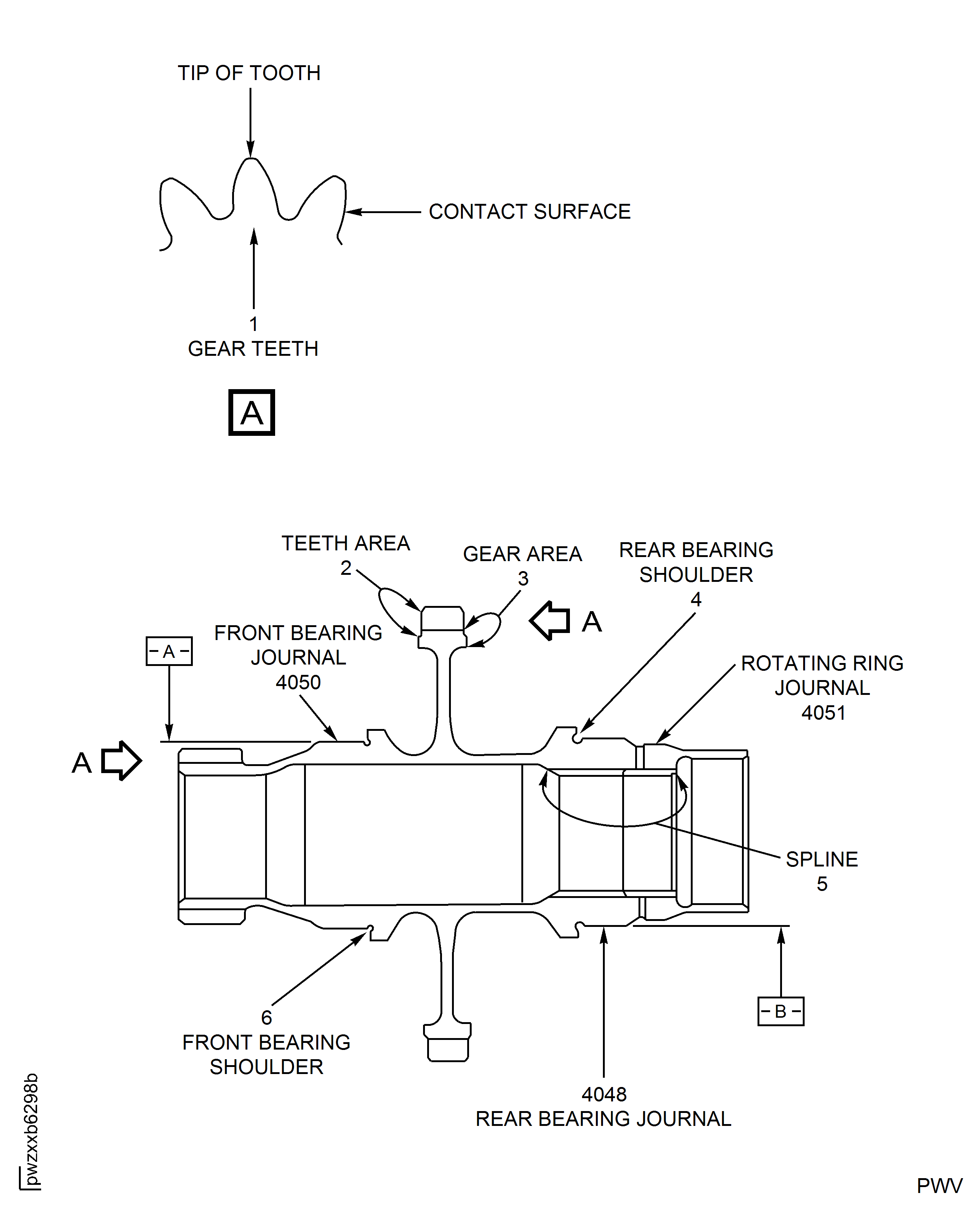
Nicks on the tip of tooth.
Repair VRS5145, TASK 72-60-25-300-013 (REPAIR-013)
Superficial damages
Damage on the contact surface.
SUBTASK 72-60-25-220-091 Examine the Fuel Pump Drive Gear (01-200) Gear Teeth at Location 1
Refer to Figure.
Repair VRS5150, TASK 72-60-25-300-018 (REPAIR-018)
More than Step
Runout.
SUBTASK 72-60-25-220-092 Examine the Fuel Pump Drive Gear (01-200) Rear Bearing Shoulder at Location 4
Refer to Figure.
Repair VRS5149, TASK 72-60-25-300-017 (REPAIR-017)
Less than 1.6526 in. (41.975 mm)
Diameter.
Repair VRS5149, TASK 72-60-25-300-017 (REPAIR-017)
More than Step
Runout.
SUBTASK 72-60-25-220-093 Examine the Fuel Pump Drive Gear (01-200) Rotating Ring Journal at Location 4051
Refer to Figure.
Repair VRS5145, TASK 72-60-25-300-013 (REPAIR-013)
Superficial damage
Spline teeth.
SUBTASK 72-60-25-220-094 Examine the Fuel Pump Drive Gear (01-200) Spline at Location 5
Refer to Figure.
Repair VRS5145, TASK 72-60-25-300-013 (REPAIR-013)
Scratches not more than 0.008 in. (0.20 mm) in depth
Repair VRS5147, TASK 72-60-25-400-015 (REPAIR-015) Repair, VRS5148 TASK 72-60-25-300-016 (REPAIR-016)
Scratches more than 0.008 in. (0.20 mm) in depth
Damage on the surface.
SUBTASK 72-60-25-220-095 Examine the Fuel Pump Drive Gear (01-200) Rear and Front Bearing Journals at Location 4048 and 4050
Refer to Figure.
Repair VRS5148, TASK 72-60-25-300-016 (REPAIR-016)
Less than 1.7727 in. (45.026 mm)
Diameter.
Repair VRS5148, TASK 72-60-25-300-016 (REPAIR-016)
More than Step
Runout.
SUBTASK 72-60-25-220-096 Examine the Fuel Pump Drive Gear (01-200) Rear Bearing Journal at Location 4048
Refer to Figure.
Repair VRS5146, TASK 72-60-25-300-014 (REPAIR-014).
More than Step.
Runout.
SUBTASK 72-60-25-220-097 Examine the Fuel Pump Drive Gear (01-200) Front Bearing Shoulder at Location 6
Refer to Figure.
Repair VRS5147, TASK 72-60-25-300-015 (REPAIR-015).
Less than 1.7727 in. (45.026 mm).
Diameter.
Repair VRS5147, TASK 72-60-25-300-015 (REPAIR-015).
More than Step.
Runout.
SUBTASK 72-60-25-220-098 Examine the Fuel Pump Drive Gear (01-200) Front Bearing Journal at Location 4050
Figure: Locations - Fuel Pump Drive Gear
Locations - Fuel Pump Drive Gear

