Export Control
EAR Export Classification: Not subject to the EAR per 15 C.F.R. Chapter 1, Part 734.3(b)(3), except for the following Service Bulletins which are currently published as EAR Export Classification 9E991: SBE70-0992, SBE72-0483, SBE72-0580, SBE72-0588, SBE72-0640, SBE73-0209, SBE80-0024 and SBE80-0025.Copyright
© IAE International Aero Engines AG (2001, 2014 - 2021) The information contained in this document is the property of © IAE International Aero Engines AG and may not be copied or used for any purpose other than that for which it is supplied without the express written authority of © IAE International Aero Engines AG. (This does not preclude use by engine and aircraft operators for normal instructional, maintenance or overhaul purposes.).Applicability
All
Common Information
TASK 73-22-35-200-401 EEC Data Entry Plug - Related Parts - Examine The Data Entry Plug Assembly (Without The Backshell Installed), Inspection-001
General
This TASK gives the procedure for the inspection of the data entry plug assembly (without the backshell installed).
Fig/item numbers in parentheses in the procedure agree with those used in the IPC.
The policy that is necessary for inspection is given in the SPM TASK 70-20-00-200-501.
All the parts must be cleaned before any part is examined. Refer to the SPM TASK 70-10-00-100-501.
All parts must be visually examined for damage, corrosion and wear. Any defects that are not identified in the procedure must be referred to IAE.
Do not discard any part until you are sure there are no repairs available. Refer to the instructions in Repair before a discarded part is used again or oversize parts are installed.
Parts which should be discarded can be held although no repair is available. The repair of a discarded part could be shown to be necessary at a later date.
All parts must be examined to make sure that all the repairs have been completed satisfactorily.
The practices and processes referred to in the procedure by the TASK numbers are in the SPM.
Reference
Reference
Refer to the SPM for data on these items.
Definitions of Damage, SPM TASK 70-02-02-350-501.
Inspection of Parts, SPM TASK 70-20-01-200-501.
Some data on these items is contained in this TASK. For more data on these items refer to the SPM.
Method of Testing for Crack Indications
Chemical Processes
Surface Protection
Preliminary Requirements
Pre-Conditions
NONESupport Equipment
NONEConsumables, Materials and Expendables
NONESpares
NONESafety Requirements
NONEProcedure
Refer to Figure.
Repair, VRS3500 (Repair-001) TASK 73-22-35-300-001.
Damage
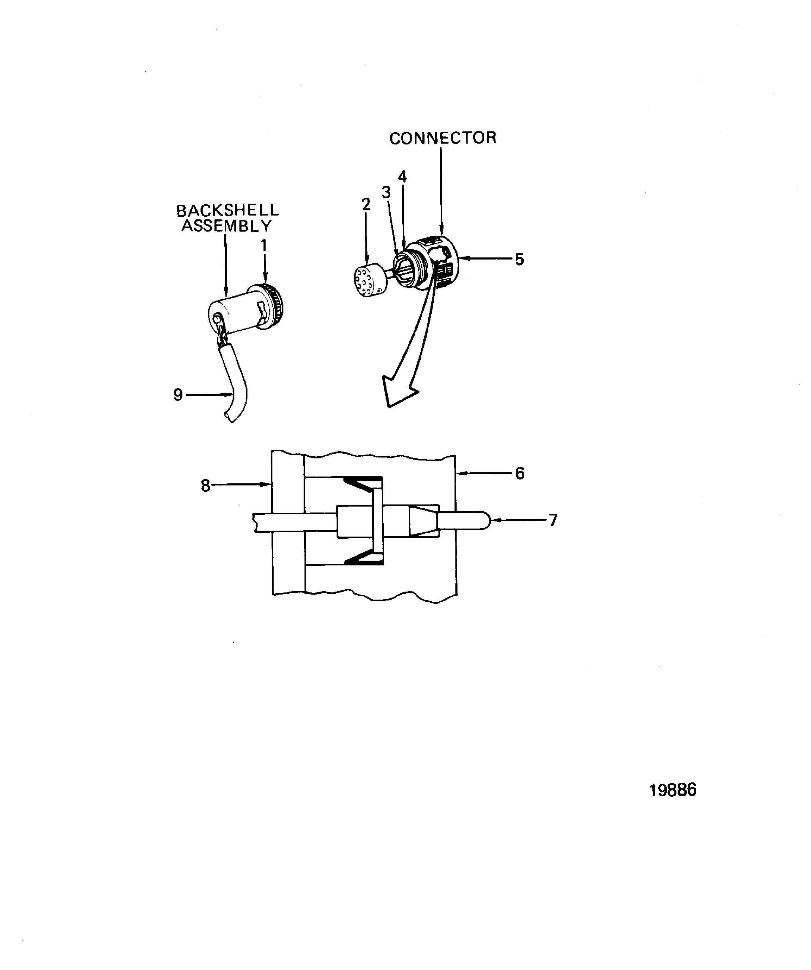
Examine the connector main key at location 5 for damage.
SUBTASK 73-22-35-220-051 Examine the Data Entry Plug (01-100) for Damage on the Connector Main Key
Refer to Figure.
Repair, VRS3500 (Repair-001) TASK 73-22-35-300-001.
Damage
Examine the connector rubber grommet at locations 6 and 8 for damage.
SUBTASK 73-22-35-220-052 Examine the Data Entry Plug (01-100) for Damage on the Connector Rubber Grommet
Refer to Figure.
Repair, VRS3500 (Repair-001) TASK 73-22-35-300-001.
Corrosion
Examine the connector contacts at location 7 for corrosion.
SUBTASK 73-22-35-220-053 Examine the Data Entry Plug (01-100) for Corrosion on the Connector Contacts
Refer to Figure.
Repair, VRS3501 (Repair-002) TASK 73-22-35-300-002.
Contacts that are bent 15 degrees or less
Repair, VRS3500 (Repair-001) TASK 73-22-35-300-001.
Contacts that are bent more than 15 degrees
Examine the connector for contacts that are bent at location 7.
SUBTASK 73-22-35-220-054 Examine the Data Entry Plug (01-100) for Bent Contacts on the Connector
Refer to Figure.
Repair, VRS3500 (Repair-001) TASK 73-22-35-300-001.
Damage
Examine the connector threads at location 4 for damage.
SUBTASK 73-22-35-220-055 Examine the Data Entry Plug (01-100) for Damage to the Connector Threads
Refer to Figure.
Repair, VRS3503 (Repair-004)TASK 73-22-35-300-004.
Damage
Examine the backshell nut threads at location 1 for damage.
SUBTASK 73-22-35-220-056 Examine the Data Entry Plug (01-100) for Damage on the Backshell Nut Threads
Refer to Figure.
Repair, VRS3500 (Repair-001) TASK 73-22-35-300-001.
Other than Step.
Examine the connector nut ratchet at location 5 for damage.
NOTE
This inspection is easier if the backshell nut is threaded onto the connector. Use your hand to turn the nut.
SUBTASK 73-22-35-220-057 Examine the Data Entry Plug (01-100) for Damage on the Connector Nut Ratchet
Refer to Figure.
Repair, VRS3503 (Repair-004)TASK 73-22-35-300-004.
Damage or not attached correctly
Examine the connecting chain/cable for damage and that the chain/cable is correctly attached to the backshell at location 9.
SUBTASK 73-22-35-220-058 Examine the Data Entry Plug (01-100) for Damage to the Connecting Chain/Cable and that the Chain/Cable is Attached Correctly to the Backshell
Refer to Figure.
Repair, VRS3502 (Repair-003)TASK 73-22-35-300-003.
Moisture
Examine the connector for moisture.
SUBTASK 73-22-35-220-059 Examine the Data Entry Plug (01-100) for Moisture in the Connector
Refer to Figure.
Reject
Damage
Examine the anti-vibration rubber at location 2 for damage.
SUBTASK 73-22-35-220-060 Examine the Data Entry Plug (01-100) for Damage on the Anti-Vibration Rubber
Refer to Figure.
Repair, VRS3503 (Repair-004)TASK 73-22-35-300-004.
Damage
Examine the backshell assembly for damage
SUBTASK 73-22-35-220-061 Examine the Data Entry Plug (01-100) for Damage on the Backshell Assembly
Refer to Figure.
Repair, VRS3500 (Repair-001) TASK 73-22-35-300-001.
Damage
Examine the jumper wires at location 3 for damage.
SUBTASK 73-22-35-220-062 Examine the Data Entry Plug (01-100) for Damage on the Jumper Wires
Figure: Data Entry Plug Assembly Inspection Locations
Data Entry Plug Assembly Inspection Locations

