Export Control
EAR Export Classification: Not subject to the EAR per 15 C.F.R. Chapter 1, Part 734.3(b)(3), except for the following Service Bulletins which are currently published as EAR Export Classification 9E991: SBE70-0992, SBE72-0483, SBE72-0580, SBE72-0588, SBE72-0640, SBE73-0209, SBE80-0024 and SBE80-0025.Copyright
© IAE International Aero Engines AG (2001, 2014 - 2021) The information contained in this document is the property of © IAE International Aero Engines AG and may not be copied or used for any purpose other than that for which it is supplied without the express written authority of © IAE International Aero Engines AG. (This does not preclude use by engine and aircraft operators for normal instructional, maintenance or overhaul purposes.).Applicability
All
Common Information
TASK 79-11-41-200-404 Oil Tank - Related Parts - Examine The Oil Tank Assembly, Inspection-004
General
This TASK gives the procedure for the inspection of the oil tank assembly. For the other parts of the oil tank assembly, refer to (Inspection-000) TASK 79-11-41-200-400.
The policy that is necessary for inspection is given in SPM TASK 70-20-01-200-501.
All parts must be visually examined for damage, corrosion and wear. Any defects that are not identified in the procedure must be referred to IAE.
Do not discard any part until you are sure there are no repairs available. Refer to the instructions in repair before a discarded part is used again or oversize parts are installed.
Parts which should be discarded can be held although no repair is available. The repair of a discarded part could be shown to be necessary at a later date.
All parts must be examined to make sure that all the repairs have been completed satisfactorily.
The practice and processes referred to in the procedure by the TASK/SUBTASK numbers are in the SPM.
References
Refer to the SPM for data on these items.
Definitions of Damage SPM TASK 70-02-02-350-501
Inspection of Parts, SPM TASK 70-20-01-200-501
Some data on these items is contained in this TASK. For more data on these items refer to the SPM.
Method of Testing for Crack Indications.
Chemical Processes.
Surface Protection.
Preliminary Requirements
Pre-Conditions
NONESupport Equipment
NONEConsumables, Materials and Expendables
NONESpares
NONESafety Requirements
NONEProcedure
Clean the parts. Refer to Cleaning-000 TASK 79-11-41-100-400.
Reject
Cracked
Reject
Trough porosity.
Refer to SPM TASK 70-23-01-230-501.
Oil tank Assembly.
Do the test for cracks on the parts that are given below.
SUBTASK 79-11-41-230-054 Do a Crack Test on the Oil Tank Assembly (Fluorescent Penetrant)
Reject
Evident cracks.
SUBTASK 79-11-41-220-077 Examine the Oil Tank Assembly, All Areas
Repair, VRS5224 TASK 79-11-41-300-005 (Repair-005).
More than Step.
Nicked, scored, dented or scratched.
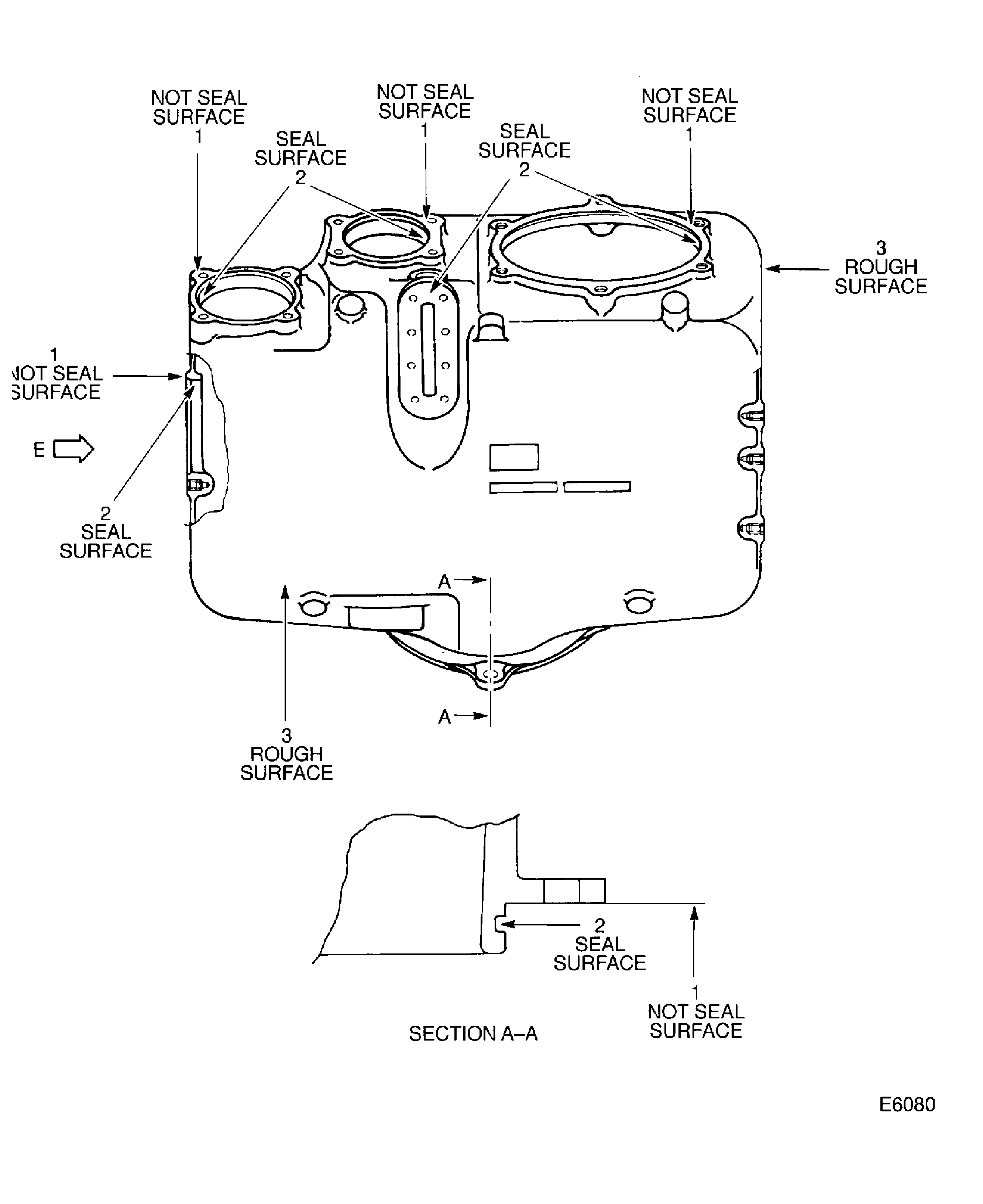
SUBTASK 79-11-41-220-078 Examine the Oil Tank Assembly Machined Surfaces at Location 1
Repair, VRS5224 TASK 79-11-41-300-005 (Repair-005).
More than Step.
Nicked, scored, dented or scratched.
SUBTASK 79-11-41-220-079 Examine the Oil Tank Assembly Machined Seal Surfaces at Location 2
Repair, VRS5224 TASK 79-11-41-300-005 (Repair-005).
More than Step.
Nicked, scored, dented or scratched.
SUBTASK 79-11-41-220-080 Examine the Oil Tank Assembly Rough Surfaces at Location 3
Repair, VRS5225 TASK 79-11-41-300-006 (Repair-006).
Light corrosion or pitting
SUBTASK 79-11-41-220-081 Examine the Oil Tank Assembly Protective Finish
Repair, VRS5226 TASK 79-11-41-300-021 (Repair-021).
Loose, missing or internal thread damage.
SUBTASK 79-11-41-220-082 Examine the Oil Tank Assembly Wire Thread Inserts
Accept
Between 7.0862 in. and 7.0823 in. (179.99 mm and 179.89 mm).
Repair, VRS5235 TASK 79-11-41-300-030 (Repair-030).
Less than 7.0823 in. (179.89 mm).
Diameter.
Accept
Not more than 0.0295 in. (0.75 mm) in relation to planes A, B, C.
True position.
SUBTASK 79-11-41-220-083 Examine the Oil Tank Assembly Piloting Diameter at Location 4
Repair, VRS5236 TASK 79-11-41-300-031 (Repair-031).
More than Step.
Perpendicularity.
SUBTASK 79-11-41-220-084 Examine the Oil Tank Assembly Mounting Face at Location 5
Accept
Between 2.7756 in. and 2.7803 in. (70.50 mm and 70.62 mm).
Repair, VRS5229 TASK 79-11-41-300-024 (Repair-024).
More than 2.7803 in. (70.62 mm).
Diameter.
Repair, VRS5229 TASK 79-11-41-300-024 (Repair-024).
More than Step.
True position.
SUBTASK 79-11-41-220-085 Examine the Oil Tank Assembly Oil Level Indicator Seat at Location 6
Accept
Between 6.50 in. and 6.502 in. (165.1 mm and 165.15 mm).
Repair, VRS5227 TASK 79-11-41-300-022 (Repair-022).
More than 6.502 in. (165.15 mm).
Diameter.
Repair, VRS5227 TASK 79-11-41-300-022 (Repair-022).
More than Step.
True position.
SUBTASK 79-11-41-220-087 Examine the Oil Tank Assembly Static Deaerator Seat at Location 7
Accept
Between 2.994 in. and 2.998 in. (76.048 mm and 76.149 mm).
Repair, VRS5231 TASK 79-11-41-300-026 (Repair-026).
More than 2.998 in. (76.149 mm).
Diameter.
Repair, VRS5231 TASK 79-11-41-300-026 (Repair-026).
More than Step.
True position.
SUBTASK 79-11-41-220-089 Examine the Oil Tank Assembly Cover Seat at Location 8
Accept
Between 2.994 in. and 2.998 in. (76.048 mm and 76.149 mm).
Repair, VRS5233 TASK 79-11-41-300-028 (Repair-028).
More than 2.998 in. (76.149 mm).
Diameter.
Repair, VRS5233 TASK 79-11-41-300-028 (Repair-028).
More than Step.
True position.
SUBTASK 79-11-41-220-092 Examine the Oil Tank Assembly Filler Neck Seat at Location 9
Figure: Locations On The Oil Tank Assembly (P/N 4B7030)
Locations On The Oil Tank Assembly (P/N 4B7030)

Locations On The Oil Tank Assembly (P/N 4B7030)

Locations On The Oil Tank Assembly (P/N 4B7030)

Figure: Locations On The Oil Tank Assembly (P/N 4B7195 and 4B7244)
Locations On The Oil Tank Assembly (P/N 4B7195 and 4B7244)

Locations On The Oil Tank Assembly (P/N 4B7195 and 4B7244)

Locations On The Oil Tank Assembly (P/N 4B7195 and 4B7244)

