Export Control
EAR Export Classification: Not subject to the EAR per 15 C.F.R. Chapter 1, Part 734.3(b)(3), except for the following Service Bulletins which are currently published as EAR Export Classification 9E991: SBE70-0992, SBE72-0483, SBE72-0580, SBE72-0588, SBE72-0640, SBE73-0209, SBE80-0024 and SBE80-0025.Copyright
© IAE International Aero Engines AG (2001, 2014 - 2021) The information contained in this document is the property of © IAE International Aero Engines AG and may not be copied or used for any purpose other than that for which it is supplied without the express written authority of © IAE International Aero Engines AG. (This does not preclude use by engine and aircraft operators for normal instructional, maintenance or overhaul purposes.).Applicability
All
Common Information
TASK 72-32-86-200-001-C00 Intermediate Structure Rear Fairing - Examine, Inspection-001
General
This TASK gives the procedure for the inspection of the rear fairing assembly.
The policy that is necessary for inspection is given in the SPM TASK 70-20-01-200-501.
All the parts must be cleaned before any part is examined. Refer to TASK 72-32-86-100-000 (CLEANING-000).
All the parts must be visually examined for damage, corrosion and wear. Any defects that are not identified in the procedure must be referred to IAE.
Do not discard any part until you are sure there are no repairs available. Refer to the instructions in repair before a discarded part is used again or oversize parts are installed.
Parts which should be discarded can be held although no repair is available. The repair of a discarded part could be shown to be necessary at a later date.
All the parts must be examined to make sure that all the repairs have been completed satisfactorily.
A**following repair referenced in this inspection indicates that the repair is not yet published in the current revision of the manual and the part must be rejected. Contact IAE for additional information concerning FAA approved repair date.
The practices and processes referred to in the procedure by the TASK numbers are in the SPM.
References
Refer to the SPM for data on these items:
Definition of Damages, SPM TASK 70-02-02-350-501,
Inspection of Parts, SPM TASK 70-20-01-200-501.
Some data on these items are contained in this TASK. For more data on these items refer to the SPM:
Method of Testing for Crack Indications,
Chemical Processes,
Surface Protection.
Preliminary Requirements
Pre-Conditions
NONESupport Equipment
NONEConsumables, Materials and Expendables
NONESpares
NONESafety Requirements
NONEProcedure
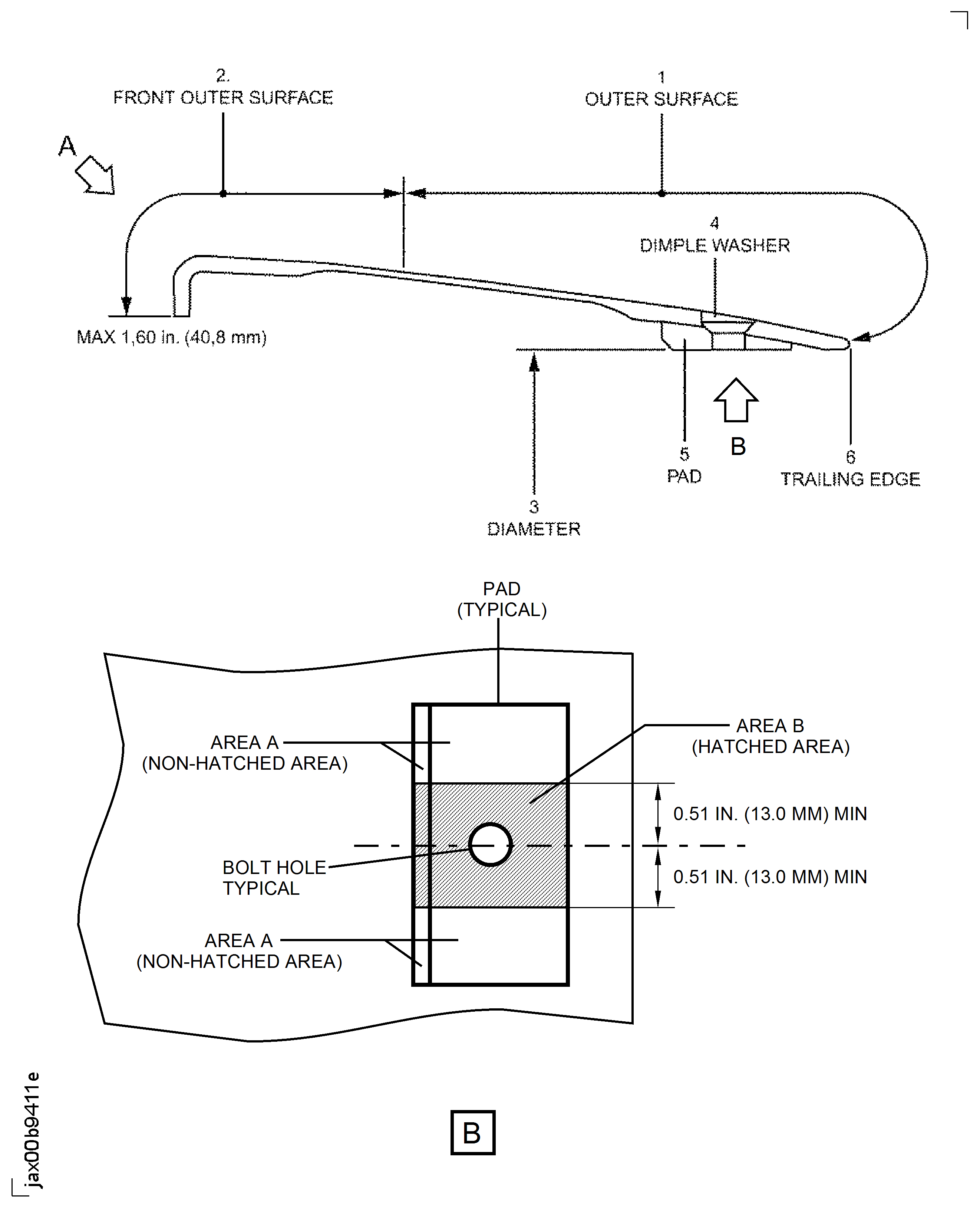
Refer to Figure.
SUBTASK 72-32-86-220-061 Examine the Rear Fairing Assembly (01-100) Outer Surface
Refer to Figure.
Repair VRS1938, TASK 72-32-86-300-006 (REPAIR-006)
Gouged or chipped
Examine the trailing edge at location 6.
SUBTASK 72-32-86-220-088 Examine the Rear Fairing Assembly (01-100) Trailing Edge
More than in Step
Galled.
Repair VRS1939, TASK 72-32-86-300-007 (REPAIR-007)
More than in Step
Cracked, missing material or delaminated.
Examine the front outer surface at location 2.
SUBTASK 72-32-86-220-062 Examine the Rear Fairing Assembly (01-100) Front Outer Surface
Refer to Figure.
Repair VRS1983, TASK 72-32-86-300-009 (REPAIR-009)
More than in Step
Worn and galled.
Examine the diameter at location 3.
SUBTASK 72-32-86-220-063 Examine the Rear Fairing Assembly (01-100) Diameter
Refer to Figure.
Repair VRS1784, TASK 72-32-86-300-003 (REPAIR-003)
Missing or loose
SUBTASK 72-32-86-220-064 Examine the Rear Fairing Assembly (01-100) Dimple Washer
Refer to Figure.
Repair, VRS1425 TASK 72-32-86-300-005 (REPAIR-005) or Repair, VRS1983 TASK 72-32-86-300-009 (REPAIR-009).
Area B.
Chipped or disbonded.
Repair, VRS1425 TASK 72-32-86-300-005 (REPAIR-005) or Repair, VRS1983 TASK 72-32-86-300-009 (REPAIR-009).
Delaminated at Area A or Area B.
Repair, VRS1425 TASK 72-32-86-300-005 (REPAIR-005) or Repair, VRS1982 TASK 72-32-86-300-008 (REPAIR-008).
One crack not starting at the edge of the bolt hole.
Repair, VRS1425 TASK 72-32-86-300-005 (REPAIR-005) or Repair, VRS1982 TASK 72-32-86-300-008 (REPAIR-008).
Multiple cracks not starting at the edge of the bolt hole.
Repair, VRS1982 TASK 72-32-86-300-008 (REPAIR-008).
One crack starting at the edge of the bolt hole.
Cracked at Area A or Area B.
Repair, VRS1983 TASK 72-32-86-300-009 (REPAIR-009).
Repair, VRS1983 TASK 72-32-86-300-009 (REPAIR-009).
Missing at Area A and/or Area B.
NOTE
It is recommended that all pads on the rear fairing assembly are examined prior to any repair.Examine the pad at Location 5.
SUBTASK 72-32-86-220-079 Examine the Rear Fairing Assembly (01-100) Pad
Figure: Locations On The Rear Fairing Assembly
Locations On The Rear Fairing Assembly

Figure: Repairable Limits of Location 2 for Crack and Missing Material
Repairable Limits of Location 2 for Crack and Missing Material

