Export Control
EAR Export Classification: Not subject to the EAR per 15 C.F.R. Chapter 1, Part 734.3(b)(3), except for the following Service Bulletins which are currently published as EAR Export Classification 9E991: SBE70-0992, SBE72-0483, SBE72-0580, SBE72-0588, SBE72-0640, SBE73-0209, SBE80-0024 and SBE80-0025.Copyright
© IAE International Aero Engines AG (2001, 2014 - 2021) The information contained in this document is the property of © IAE International Aero Engines AG and may not be copied or used for any purpose other than that for which it is supplied without the express written authority of © IAE International Aero Engines AG. (This does not preclude use by engine and aircraft operators for normal instructional, maintenance or overhaul purposes.).Applicability
All
Common Information
TASK 72-41-15-200-004-A00 HPC Stage 6 Rotor Blade - Examine, Inspection-004
Effectivity
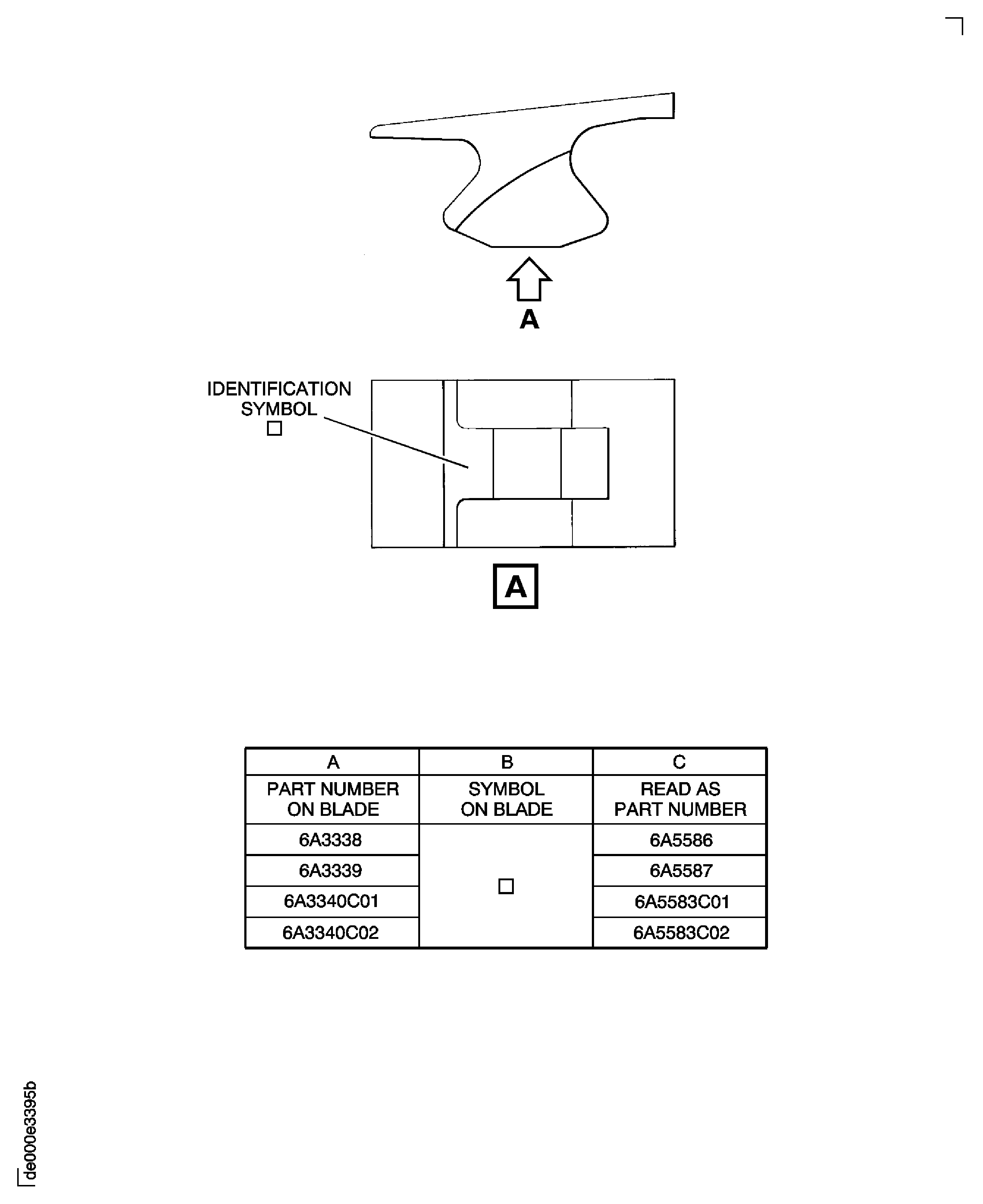
FIG/ITEM | PART NO. |
|---|---|
02-170 | 6A3338 |
02-170 | 6A5586 |
02-170 | 6A8463 |
02-185 | 6A3339 |
02-185 | 6A5587 |
02-185 | 6A8464 |
02-200 | 6A3340C01 |
02-200 | 6A5583C01 |
02-200 | 6A8461 |
02-215 | 6A3340C01 |
02-215 | 6A5583C01 |
02-215 | 6A8461 |
02-217 | 6A3340C02 |
02-217 | 6A5583C02 |
02-217 | 6A8462 |
General
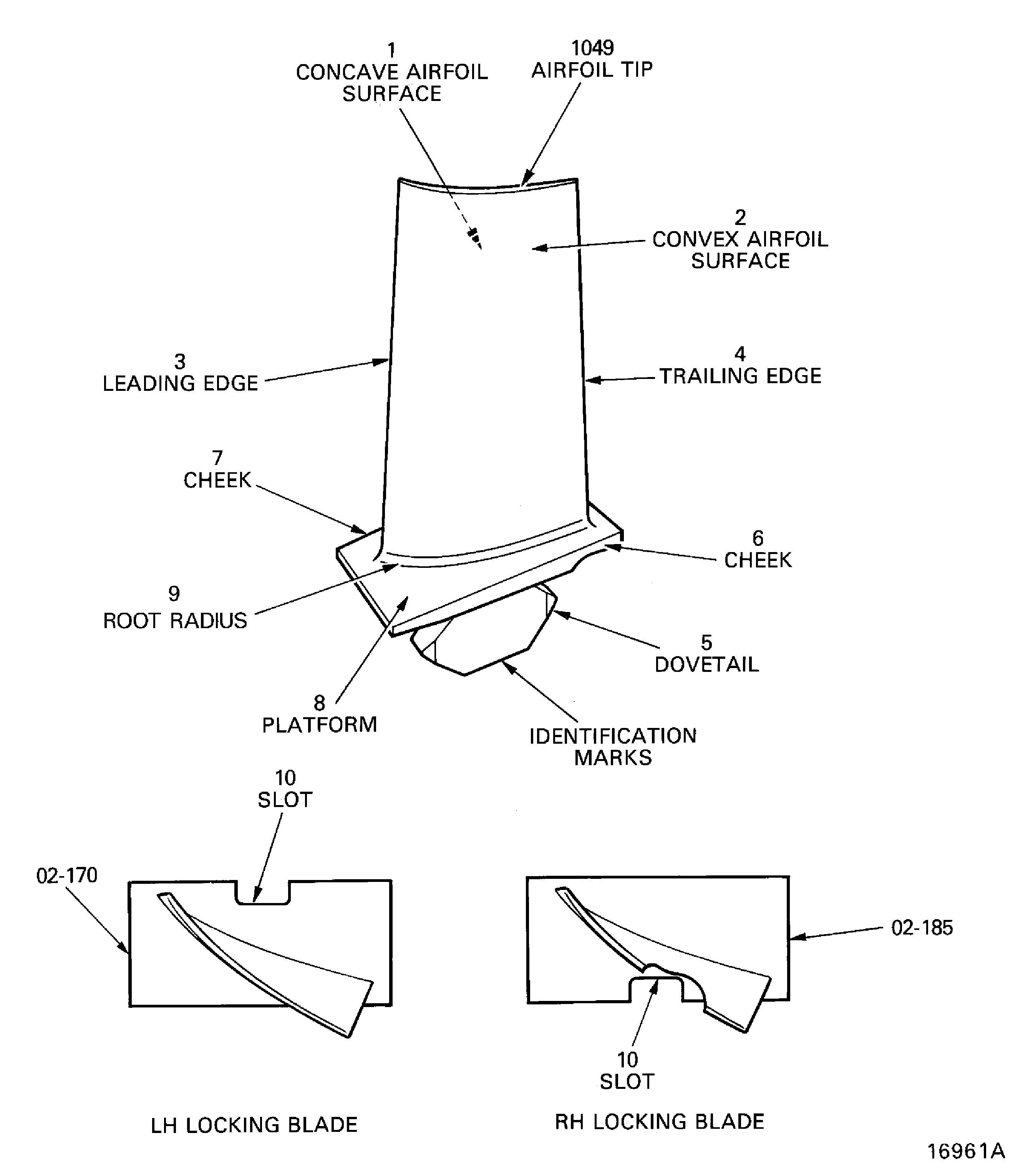
This TASK gives the procedure for the inspection of the HP compressor stage 6 rotor blades.
Nicks and dents 0.005 in. (0.13 mm) or less are acceptable without limit to the airfoil and gas washed surface of the platforms.
Fig/item numbers in parentheses in the procedure agree with those given in the IPC. Only the primary Fig/item numbers are used. For the service bulletin alpha variants refer to the IPC.
The policy that is necessary for inspection is given in the SPM TASK 70-20-01-200-501.
All the parts must be cleaned before any part is examined.
All the parts must be visually examined for damage, corrosion and wear. Any defects that are not identified in the procedure must be referred to IAE.
A ** following repair referenced in this inspection indicates that the repair is not yet published in the current revision of the manual and the part must be rejected. Contact IAE for additional information concerning FAA approved repair date.
The procedure for those parts which must have a crack test is given in SUBTASK 72-41-15-230-054. Do the crack test before the part is visually examined.
Do not discard any part until you are sure there are no repairs available. Refer to the instructions in Repair before a discarded part is used again or oversize parts are installed.
Parts which should be discarded can be held although no repair is available. The repair of a discarded part can be shown to be necessary at a subsequent date.
All the parts must be examined to make sure that all the repairs have been completed satisfactorily.
The practices and processes referred to in the procedure by the TASK/SUBTASK number are in the SPM.
References
Refer to the SPM for data on these items.
Definition of Damage, SPM TASK 70-02-02-350-501
Inspection of Parts, SPM TASK 70-20-01-200-501
Some data on these items is contained in this TASK. For more data on these items refer to the SPM.
Method of Testing for Crack Indications
Chemical Processes
Surface Protection
Preliminary Requirements
Pre-Conditions
NONESupport Equipment
NONEConsumables, Materials and Expendables
NONESpares
NONESafety Requirements
NONEProcedure
Refer to Figure.
Refer to the table in Figure, if the part number on the blade is shown in A and has the symbol shown in B, then the part number should be read as that shown in C.
Examine the part number and the symbol on the base of the blade.
SUBTASK 72-41-15-280-051 Identify the Stage 6 Rotor Blades
Clean the parts. Refer to TASK 72-41-15-100-000 (CLEANING-000).
SUBTASK 72-41-15-230-054-001 Examine the Stage 6 Rotor Blades for Cracks
Refer to Figure.
Repair, VRS6012 TASK 72-41-15-300-004 (REPAIR-004)
Eroded
Repair, VRS6012 TASK 72-41-15-300-004 (REPAIR-004)
More than in Step
Nicks or dents
SUBTASK 72-41-15-220-074 Examine the Stage 6 Rotor Blades Concave and Convex Airfoil Surfaces at Locations 1 and 2
Refer to Figure.
Accept.
Mean surface finish of 16 microinches (0.40 micrometers) or less.
Repair, VRS6150 TASK 72-41-15-300-040 (REPAIR-040).
Mean surface finish greater than 16 microinches (0.40 micrometers).
Examine the surface finish of the rotor blades.
If any blade has a mean surface finish in excess of 16 microinches (0.40 micrometers) then all of the blades must be examined.
Examine the surface finish of the rotor blades. Use 10 percent of the rotor blades that have been removed.
SUBTASK 72-41-15-220-199 Examine the Stage 6 Rotor Blades Concave and Convex Airfoil Surface Finish at Locations 1 and 2, Platform at Location 8 and Root Radius at Location 9
Refer to Figure.
Repair, VRS6012 TASK 72-41-15-300-004 (REPAIR-004)
Cracked or eroded
Repair, VRS6012 TASK 72-41-15-300-004 (REPAIR-004)
More than in Step
Nicks or dents
SUBTASK 72-41-15-220-137 Examine the Stage 6 Rotor Blades Leading Edge at Location 3
Refer to Figure.
Repair, VRS6012 TASK 72-41-15-300-004 (REPAIR-004)
Cracked or eroded
Repair, VRS6012 TASK 72-41-15-300-004 (REPAIR-004)
More than in Step
Nicks or dents
SUBTASK 72-41-15-220-075 Examine the Stage 6 Rotor Blades Trailing Edge at Location 4
Refer to Figure.
Repair, VRS6052 TASK 72-41-15-300-014 (REPAIR-014)
Cracked
Within the limits in TASK 72-41-10-040-001-A00 (DISASSEMBLY, CONFIG-001)
Repair, VRS6052 TASK 72-41-15-300-014 (REPAIR-014)
Identified as too short in TASK 72-41-10-040-001-A00 (DISASSEMBLY, CONFIG-001)
Rubbed or worn
SUBTASK 72-41-15-220-138 Examine the Stage 6 Rotor Blades Tips at Location 1049
Refer to Figure.
SUBTASK 72-41-15-220-155 Examine the Stage 6 Rotor Blades Chordal Checks
NOTE
This is an alternative to measurments taken on the High Speed Grinding Machine to determine blade length acceptance limits.Refer to: Figure
Repair, VRS6052 TASK 72-41-15-300-014 (REPAIR-014).
Between 2.298 and 2.328 (58.369 and 59.131 mm.)
Less than the minimum repair limit given in Repair, VRS6052 TASK 72-41-15-300-014 (REPAIR-014).
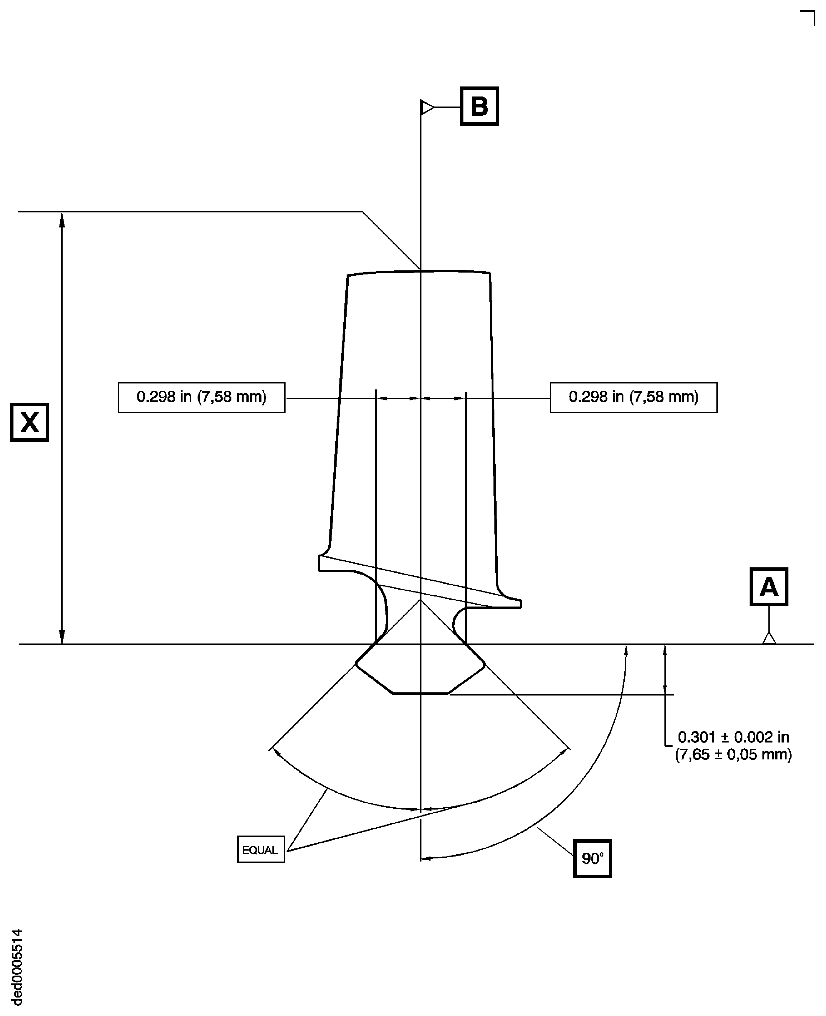
SUBTASK 72-41-15-220-448 Examine the Stage 6 Rotor Blades, Length Checks
Repair, VRS6495 TASK 72-41-15-300-049 (REPAIR-049)
Apply the dry film lubricant to the blade dovetail
SUBTASK 72-41-15-380-103 Replace the Dry Film Lubricant
Figure: Stage 6 rotor blades - inspection locations
Stage 6 rotor blades - inspection locations

Figure: Identify the Stage 6 Rotor Blades
Identify the Stage 6 Rotor Blades

Figure: Stage 6 rotor blades - chordal checks
Stage 6 rotor blades - chordal checks

Figure: Stage 6 rotor blades - measure length "X"
Stage 6 rotor blades - measure length "X"

