Export Control
EAR Export Classification: Not subject to the EAR per 15 C.F.R. Chapter 1, Part 734.3(b)(3), except for the following Service Bulletins which are currently published as EAR Export Classification 9E991: SBE70-0992, SBE72-0483, SBE72-0580, SBE72-0588, SBE72-0640, SBE73-0209, SBE80-0024 and SBE80-0025.Copyright
© IAE International Aero Engines AG (2001, 2014 - 2021) The information contained in this document is the property of © IAE International Aero Engines AG and may not be copied or used for any purpose other than that for which it is supplied without the express written authority of © IAE International Aero Engines AG. (This does not preclude use by engine and aircraft operators for normal instructional, maintenance or overhaul purposes.).Applicability
All
Common Information
TASK 72-41-20-440-001-B00 HPC Rear Cases And Vanes Assembly - Assemble The HPC Stage 7 Case And Stator Vanes, Assembly-001
General
Fig/item numbers in parentheses in the procedure agree with those used in the IPC. Only the primary Fig/item numbers are used. For the service bulletin alpha variants refer to the IPC.
For all parts identified in a different Chapter/Section/Subject the applicable Chapter/Section/Subject comes before the Fig/item number.
For standard torque data and procedures refer to the SPM TASK 70-41-00-400-501, SPM TASK 70-41-01-400-501 and SPM TASK 70-41-02-410-501.
Special torque data and assembly tolerances are included in the procedure.
Lubricate all threads and abutment faces of nuts and bolts with CoMat 10-077A APPROVED ENGINE OIL unless other lubricants are referred to in the procedure.
After assembly apply CoMat 07-038 AIR DRYING ENAMEL to any damaged surface protection, joint flanges and parts used to attach. Use the correct color of the air drying enamel. Refer to the SPM TASK 70-63-02-380-501.
The number for each radial location must be identified in a clockwise direction. These start at the engine top position when you look from the rear of the engine, unless stated differently in the procedure.
Refer to Figure for a sectional view of the HP compressor rear cases and vanes.
Make sure all the flange faces and tool faces that touch are very clean.
The Fits and Clearances, NEW PART DIMENSIONS AND REJECT IF MORE THAN columns will be used by most operators. This permits the full use of the maximum wear allowance and a reduction in the number of parts which are rejected, is possible.
The column WORN PART DIMENSIONS (Non-select) is included for operators who want to have full interchangeability. If this column is used an increase in the number of parts which are rejected is possible.
After the part has been in service for some time the REJECT IF MORE THAN and WORN PART DIMENSIONS could be changed. The operator must tell IAE and if agreed the manual will be changed.
The abbreviation Intf shows an interference or tight fit. This causes REJECT IF MORE THAN to become REJECT IF LESS THAN.
The abbreviation clear shows a clearance fit.
This TASK gives the procedure to assemble the HP compressor stage 7 case, the vanes, the liners and the stator vane stops. The subsequent TASKS give the procedures to assemble the remaining HP compressor rear cases and stator vanes.
Assemble the HP Compressor Stage 8 Case and Stator Vanes by TASK 72-41-20-440-002-B00 (ASSEMBLY-002).
Assemble the HP Compressor Stage 9 Case and Stator Vanes by TASK 72-41-20-440-003-B00 (ASSEMBLY-003).
Assemble the HP Compressor Stage 10 Case and Stator Vanes by TASK 72-41-20-440-004-B00 (ASSEMBLY-004).
Assemble the HP Compressor Stage 11 Case and Stator Vanes by TASK 72-41-20-440-005-B00 (ASSEMBLY-005).
Machine the Stator Vane Tips and the Rotor Path Ring Liners by TASK 72-41-20-440-006-B00 (ASSEMBLY-006).
Disassemble the HP Compressor Rear Cases and Vanes by TASK 72-41-20-440-007-B00 (ASSEMBLY-007).
NOTE
NOTE
NOTE
Preliminary Requirements
Pre-Conditions
NONESupport Equipment
| Name | Manufacturer | Part Number / Identification | Quantity | Remark |
|---|---|---|---|---|
| Heating blanket | LOCAL | Heating blanket | ||
| Gloves | LOCAL | Gloves | Heat resistant | |
| IAE 1R18501 Stop alignment tool | 0AM53 | IAE 1R18501 | 1 | |
| Extractor | LOCAL | IAE R18684 | ||
| Case Extractor | LOCAL | IAE 1R18434 | ||
| IAE 1R18684 Case extractor | 0AM53 | IAE 1R18684 | 1 | |
| IAE 1R18434 Case extractor | 0AM53 | IAE 1R18434 | 3 | |
| IAE 1R18706 Assembly tool | 0AM53 | IAE 1R18706 | 1 | |
| IAE 1R19685 Assembly tool | 0AM53 | IAE 1R19685 | 1 | |
| IAE 1R19686 Assembly tool | 0AM53 | IAE 1R19686 | 1 |
Consumables, Materials and Expendables
| Name | Manufacturer | Part Number / Identification | Quantity | Remark |
|---|---|---|---|---|
| CoMat 07-038 AIR DRYING ENAMEL | 00BB6 | CoMat 07-038 | ||
| CoMat 10-077A APPROVED ENGINE OIL | X333X | CoMat 10-077A |
Spares
| Name | Manufacturer | Part Number / Identification | Quantity | Remark |
|---|---|---|---|---|
| LINER - 7TH STAGE, FRONT | 0AM53 | 6A4267 | 1 | 72-41-21, 03-440 |
| LINER - 7TH STAGE, REAR | 0AM53 | 6A4268 | 1 | 72-41-21, 03-490 |
Safety Requirements
NONEProcedure
Refer to Figure.
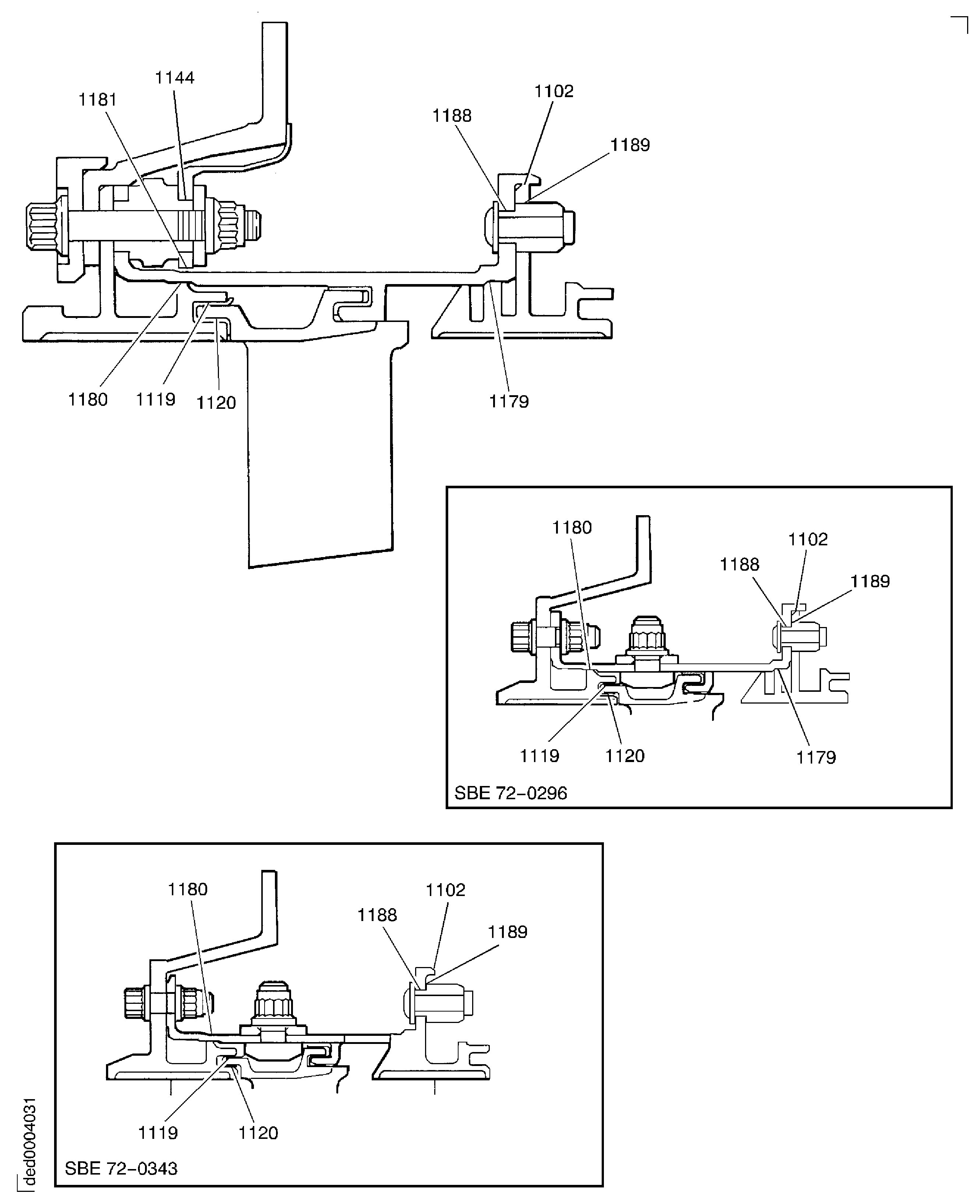
Reference dimensions at location 1147. If required use the data written as a Note in TASK 72-41-21-200-000.
Table 1. Fits and Clearances (all dimensions are in inches) NEW PART
WORN PART
DIMENSIONS
DIMENSIONS
PART IDENT
Size
Clearance
(Non-select)
REJECT IF
MORE THAN
LOCATION 1147
Stage 7 stator vane stop HPC Ring Cases And Related Parts (72-41-21,03-480)
Location in the stage 7 case HPC Ring Cases And Related Parts (72-41-21,03-500)
Stage 7 stator vane stop shank dia
0.2474
0.2494
0.0010
Stage 7 case stop location bore
0.2504
0.0061
0.2535
Table 2. Fits and Clearances (all dimensions are in millimeters) NEW PART
WORN PART
DIMENSIONS
DIMENSIONS
PART IDENT
Size
Clearance
(Non-select)
REJECT IF
MORE THAN
LOCATION 1147
Stage 7 stator vane stop HPC Ring Cases And Related Parts (72-41-21,03-480)
Location in the stage 7 case HPC Ring Cases And Related Parts (72-41-21,03-500)
Stage 7 stator vane stop shank dia
6.285
6.335
0.025
Stage 7 case stop location bore
6.360
0.155
6.440
SUBTASK 72-41-20-220-166 Reference Fits and Clearances of the HP Compressor Rear Cases and Vanes at Location 1147. (Pre SBE 72-0296, Pre SBE 72-0343, SBE 72-0296 and SBE 72-0343)
Refer to Figure.
Reference dimensions at location 1100. If required use the data written as a Note in TASK 72-41-21-200-000.
Table 3. Fits and Clearances (all dimensions are in inches) NEW PART
WORN PART
DIMENSIONS
DIMENSIONS
PART IDENT
Size
Clearance
(Non-select)
REJECT IF
MORE THAN
LOCATION 1100
Stage 7 rotor path ring (72-41-21, 03-450)
Location in the front support cone HPC Ring Cases And Related Parts (72-41-21, 03-300)
Stage 7 rotor path ring outer dia
22.500
22.524
0.011
Front support cone inner flange bore
22.535
0.04
22.540
Table 4. Fits and Clearances (all dimensions are in millimeters) NEW PART
WORN PART
DIMENSIONS
DIMENSIONS
PART IDENT
Size
Clearance
(Non-select)
REJECT IF
MORE THAN
LOCATION 1100
Stage 7 rotor path ring (72-41-21, 03-450)
Location in the front support cone HPC Ring Cases And Related Parts (72-41-21,03-300)
Stage 7 rotor path ring outer dia
571.50
572.10
0.3
Front support cone inner flange bore
572.40
1.02
572.52
SUBTASK 72-41-20-220-167 Reference Fits and Clearances of the HP Compressor Rear Cases and Vanes at Location 1100. (Pre SBE 72-0296 and Pre SBE 72-0343)
Refer to Figure.
Reference dimensions at location 1145. If required use the data written as a Note in TASK 72-41-21-200-000.
Table 5. Fits and Clearances (all dimensions are in inches) NEW PART
WORN PART
DIMENSIONS
DIMENSIONS
PART IDENT
Size
Clearance
(Non-select)
REJECT IF
MORE THAN
LOCATION 1145
Front support cone (72-41-21, 03-300)
Location in the support cone stiffening ring HPC Ring Cases And Related Parts (72-41-21,03-350)
Front support cone front flange dia
22.728
22.732
0.007
Support cone stiffening ring bore
22.725
0.00
22.728
Table 6. Fits and Clearances (all dimensions are in millimeters) NEW PART
WORN PART
DIMENSIONS
DIMENSIONS
PART IDENT
Size
Clearance
(Non-select)
REJECT IF
MORE THAN
LOCATION 1145
Front support cone (72-41-21, 03-300)
Location in the support cone stiffening ring HPC Ring Cases And Related Parts (72-41-21,03-350)
Front support cone front flange dia
577.28
577.40
0.18
Support cone stiffening ring bore
577.22
0.02
577.30
SUBTASK 72-41-20-220-168 Reference Fits and Clearances of the HP Compressor Rear Cases and Vanes at Location 1145. (Pre SBE 72-0296 and Pre SBE 72-0343)
Refer to Figure.
Reference dimensions at location 1101. If required use the data written as a Note in TASK 72-41-21-200-000.
Table 7. Fits and Clearances (all dimensions are in inches) NEW PART
WORN PART
DIMENSIONS
DIMENSIONS
PART IDENT
Size
Clearance
(Non-select)
REJECT IF
MORE THAN
LOCATION 1101
Stage 7 case HPC Ring Cases And Related Parts (72-41-21,03-500)
Location in the front support cone HPC Ring Cases And Related Parts (72-41-21,03-300)
Stage 7 case outer dia
22.539
22.543
0.008
Front support cone inner flange bore
22.535
0.001
22.540
Table 8. Fits and Clearances (all dimensions are in millimeters) NEW PART
WORN PART
DIMENSIONS
DIMENSIONS
PART IDENT
Size
Clearance
(Non-select)
REJECT IF
MORE THAN
LOCATION 1101
Stage 7 case HPC Ring Cases And Related Parts (72-41-21,03-500)
Location in the front support cone HPC Ring Cases And Related Parts (72-41-21,03-300)
Stage 7 case outer dia
572.50
572.58
0.18
Front support cone inner flange bore
572.40
0.02
572.52
SUBTASK 72-41-20-220-169 Reference Fits and Clearances of the HP Compressor Rear Cases and Vanes at Location 1101. (Pre SBE 72-0296, Pre SBE 72-0343, SBE 72-0296 and SBE 72-0343)
Refer to Figure.
Reference dimensions at location 1187. If required use the data written as a Note in TASK 72-41-21-200-000.
Table 9. Fits and Clearances (all dimensions in inches) NEW PART
WORN PART
DIMENSIONS
DIMENSIONS
PART IDENT
Size
Clearance
(Non-select)
REJECT IF
MORE THAN
LOCATION 1187
Stage 7 case HPC Ring Cases And Related Parts (72-41-21,03-500)
Location with the front support cone location dowel (72-41-21, 03-325)
Stage 7 Case location dowel hole bore
0.315
0.316
0.010
Location dowel dia
0.303
0.013
0.305
Table 10. Fits and Clearances (all dimensions in millimetres) NEW PART
WORN PART
DIMENSIONS
DIMENSIONS
PART IDENT
Size
Clearance
(Non-select)
REJECT IF
MORE THAN
LOCATION 1187
Stage 7 case HPC Ring Cases And Related Parts (72-41-21,03-500)
Location with the front support cone location dowel HPC Ring Cases And Related Parts (72-41-21,03-325)
Stage 7 case location dowel hole bore
8.000
8.022
0.250
Location dowel dia
7.700
0.322
7.750
SUBTASK 72-41-20-220-174 Reference Fits and Clearances of the HP Compressor Rear Cases and Vanes at Location 1187. (Pre SBE 72-0296, Pre SBE 72-0343, SBE 72-0296 and SBE 72-0343)
Refer to Figure.
Reference dimensions at location 1186. If required use the data written as a Note in TASK 72-41-21-200-000.
Table 11. Fits and Clearances (all dimensions in inches) NEW PART
WORN PART
DIMENSIONS
DIMENSIONS
PART IDENT
Size
Clearance
(Non-select)
REJECT IF
MORE THAN
LOCATION 1186
Stage 7 rotor path ring HPC Ring Cases And Related Parts (72-41-21,03-450)
Location with the front support cone location dowel (72-41-21, 03-235)
Stage 7 rotor path ring location dowel hole bore
0.315
0.329
0.010
Location dowel dia
0.303
0.026
0.305
Table 12. Fits and Clearances (all dimensions in millimetres) NEW PART
WORN PART
DIMENSIONS
DIMENSIONS
PART IDENT
Size
Clearance
(Non-select)
REJECT IF
MORE THAN
LOCATION 1186
Stage 7 rotor path ring HPC Ring Cases And Related Parts (72-41-21,03-450)
Location with the front support cone location dowel HPC Ring Cases And Related Parts (72-41-21,03-325)
Stage 7 rotor path ring location dowel hole bore
8.00
8.36
0.25
Location dowel dia
7.70
0.66
7.75
SUBTASK 72-41-20-220-175 Reference Fits and Clearances of the HP Compressor Rear Cases and Vanes at Location 1186. (Pre SBE 72-0296 and Pre SBE 72-0343)
Refer to Figure.
Reference dimensions at location 1180. If required use the data written as a Note in TASK 72-41-21-200-000.
Table 13. Fits and Clearances (all dimensions in inches) NEW PART
WORN PART
DIMENSIONS
DIMENSIONS
PART IDENT
Size
Clearance
(Non-select)
REJECT IF
MORE THAN
LOCATION 1180
Stage 7 case HPC Ring Cases And Related Parts (72-41-21,03-500)
Location on the stage 7 rotor path ring HPC Ring Cases And Related Parts (72-41-21,03-450)
Stage 7 case inner front bore
21.3445
Intf
21.3476
0.0039
Stage 7 rotor path ring rear flange dia
21.3516
0.0100
21.3547
Table 14. Fits and Clearances (all dimensions in millimetres) NEW PART
WORN PART
DIMENSIONS
DIMENSIONS
PART IDENT
Size
Clearance
(Non-select)
REJECT IF
MORE THAN
LOCATION 1180
Stage 7 case HPC Ring Cases And Related Parts (72-41-21,03-500)
Location on the stage 7 rotor path ring HPC Ring Cases And Related Parts (72-41-21,03-450)
Stage 7 case inner front bore
542.15
Intf
542.23
0.10
Stage 7 rotor path ring rear flange dia
542.33
0.26
542.41
SUBTASK 72-41-20-220-176 Reference Fits and Clearances of the HP Compressor Rear Cases and Vanes at Location 1180. (Pre SBE 72-0296, Pre SBE 72-0343, SBE 72-0296 and SBE 72-0343)
Refer to Figure.
Reference dimensions at location 1144. If required use the data written as a Note in TASK 72-41-21-200-000.
Table 15. Fits and Clearances (all dimensions in inches) NEW PART
WORN PART
DIMENSIONS
DIMENSIONS
PART IDENT
Size
Clearance
(Non-select)
REJECT IF
MORE THAN
LOCATION 1144
Stage 7 case front spacer HPC Ring Cases And Related Parts (72-41-21,03-513)
Location in the stage 7 front heatshield (72-41-21-03-180)
Spacer rear outer dia
0.3161
0.3164
0.0005
Stage 7 front heatshield location holes bore
0.3169
0.0031
0.3192
Table 16. Fits and Clearances (all dimensions in millimetres) NEW PART
WORN PART
DIMENSIONS
DIMENSIONS
PART IDENT
Size
Clearance
(Non-select)
REJECT IF
MORE THAN
LOCATION 1144
Stage 7 case front spacer HPC Ring Cases And Related Parts (72-41-21,03-513)
Location in the stage 7 front heatshield HPC Ring Cases And Related Parts (72-41-21,03-180)
Spacer rear outer dia
8.028
8.037
0.013
Stage 7 front heatshield location holes bore
8.050
0.080
8.108
SUBTASK 72-41-20-220-178 Reference Fits and Clearances of the HP Compressor Rear Cases and Vanes at location 1144. (Pre SBE 72-0296 and Pre SBE 72-0343)
Use IAE 1R19685 Assembly tool 1 off to install the stage 7 front liner. Make sure the liner touches the stage 7 rotor path ring rear face at location A. Refer to Figure.
Install the new HPC Ring Cases And Related Parts (72-41-21, 03-440) stage 7 front liner 1 off in to the slot in the rear of the stage 7 rotor path ring HPC Ring Cases And Related Parts (72-41-21, 03-450).
Use IAE 1R19686 Assembly tool 1 off to install the stage 7 rear liner. Make sure the liner touches the stage 7 case at location B. Refer to Figure.
Install the new HPC Ring Cases And Related Parts (72-41-21, 03-490) stage 7 rear liner 1 off in to the slot in the stage 7 case HPC Ring Cases And Related Parts (72-41-21, 03-500).
SUBTASK 72-41-20-440-140 Install the Stage 7 Front and Rear Liners (Pre SBE 72-0343 and SBE 72-0343)
Refer to Figure.
Use the IAE 1R18501 Stop alignment tool 1 off and align the stage 7 stator vane stop in the stage 7 case.
Install a washer HPC Ring Cases And Related Parts (72-41-21, 03-479) and a nut HPC Ring Cases And Related Parts (72-41-21, 03-478) on to the stage 7 stator vane stop.
Install the stage 7 stator vane stops HPC Ring Cases And Related Parts (72-41-21, 03-480) in the stage 7 case HPC Ring Cases And Related Parts (72-41-21, 03-500).
SUBTASK 72-41-20-440-141 Install the Stator Vane Stops in the Stage 7 Case (Pre SBE 72-0343)
SBE 72-0343: Engine - HP Compressor ring cases - Introduction of integral HP Compressor cases and rotor paths.
Refer to Figure.
Use the IAE 1R18501 Stop alignment tool 1 off and align the stage 7 stator vane stop in the stage 8 rotor path case assembly.
Install a washer HPC Ring Cases And Related Parts (72-41-21, 03-479) and a nut HPC Ring Cases And Related Parts (72-41-21, 03-478) on to the stage 7 stator vane stop.
Torque the nut to 85 lbfin to 105 lbfin (10.00 Nm to 12.00 Nm).
Install the stage 7 stator vane stops HPC Ring Cases And Related Parts (72-41-21, 03-480) in the stage 8 rotor path case assembly HPC Ring Cases And Related Parts (72-41-21, 03-500).
SUBTASK 72-41-20-440-284 Install the Stator Vane Stops in the Stage 8 Rotor Path Case Assembly (SBE 72-0343)
Put the front support cone HPC Ring Cases And Related Parts (72-41-21, 03-300) rear flange down on a clean work bench.

WARNING
YOU MUST PUT ON THE CORRECT PROTECTIVE GLOVES BEFORE YOU TOUCH THE FRONT SUPPORT CONE.Lift the front support cone on to the stage 7 rotor path ring HPC Ring Cases And Related Parts (72-41-21, 03-450). Align the dowel in the front flange of the support cone with the location holes in the stage 7 rotor path ring.
SUBTASK 72-41-20-440-142 Install the Front Support Cone on to the Stage 7 Rotor Path Ring. (Pre SBE 72-0296 and Pre SBE 72-0343)
Install the heating blanket on to the support cone stiffening ring HPC Ring Cases And Related Parts (72-41-21, 03-350).

WARNING
YOU MUST PUT ON THE CORRECT PROTECTIVE GLOVES BEFORE YOU TOUCH THE SUPPORT CONE STIFFENING RING.Lift the support cone stiffening ring HPC Ring Cases And Related Parts (72-41-21, 03-350) on to the front support cone. Align the location dowel hole in the support cone stiffening ring with the location dowel in the front flange of the front support cone.
SUBTASK 72-41-20-440-143 Install the Support Cone Stiffening Ring. (Pre SBE 72-0296 and Pre SBE 72-0343)
Install the four stage 7 stop vanes in to the stage 7 case HPC Ring Cases And Related Parts (72-41-21, 03-500) at the stage 7 stator vane stops HPC Ring Cases And Related Parts (72-41-21, 03-480). Engage the vanes in the stage 7 rear liner HPC Ring Cases And Related Parts (72-41-21, 03-490). Make sure the stage 7 stator vane stops are engaged in the slots in the stage 7 stop vane platforms.
Install the stage 7 stop vanes HPC Stator Vanes (72-41-22, 02-350).
Install the vanes in a counter-clockwise direction. Engage each of the vanes in the stage 7 rear liner. Make sure the platform of the first vane that is installed touches the platform of the stage 7 stop vane. Push each subsequent vane counter-clockwise as it is installed, until the vane platforms touch.
Install three stage 7 stator vanes HPC Stator Vanes (72-41-22, 02-400).
Install one stage 7 undersize stator vanes HPC Stator Vanes (72-41-22, 02-450).
Install one stage 7 stator vane HPC Stator Vanes (72-41-22, 02-400).
Install one stage 7 stator vane HPC Stator Vanes (72-41-22, 02-448).
Install one stage 7 stator vane HPC Stator Vanes (72-41-22, 02-400).
Install one stage 7 stator vane HPC Stator Vanes (72-41-22, 02-448).
Install one stage 7 stator vane HPC Stator Vanes (72-41-22, 02-400).
Install one stage 7 stator vane HPC Stator Vanes (72-41-22, 02-448).
Install two stage 7 stator vanes HPC Stator Vanes (72-41-22, 02-400).
Install one stage 7 undersize stator vane HPC Stator Vanes (72-41-22, 02-450).
Install three stage 7 stator vanes HPC Stator Vanes (72-41-22, 02-400).
Install one stage 7 undersize stator vane HPC Stator Vanes (72-41-22, 02-450).
Install the stage 7 stator vanes in the subsequent sequence.
Install the stage 7 stator vanes (72-41-22, 02,150 (Pre SBE 72-0441), 02-400, 02-448 and 02-450). between the stage 7 stop vanes at the 10 and 1 o'clock positions.
Install the stage 7 stator vanes (72-41-22, 02-150 (Pre SBE 72-0441), 02-400, 02-448 and 02-450) between the stage 7 stop vanes in the remaining three segments. Use the sequence given in steps (3).
SUBTASK 72-41-20-440-144 Install the Stage 7 Stator Vanes (Pre SBE 72-0441 and SBE 72-0441)
Install the heating blanket on to the stage 7 case HPC Ring Cases And Related Parts (72-41-21, 03-500) front flange.

WARNING
YOU MUST PUT ON THE CORRECT PROTECTIVE GLOVES BEFORE YOU TOUCH THE STAGE 7 CASE.Align the location dowel in the stage 7 rotor path ring HPC Ring Cases And Related Parts (72-41-21, 03-600) with the location dowel hole in the stage 7 case front flange.
Install the 37 bolts HPC Assembly (72-41-00, 01-552) and nuts HPC Assembly (72-41-00,01-550) to attach the stage 7 case to the stage 7 rotor path ring, support cone and support cone stiffening ring. Install the bolts from the front of the support cone stiffening ring. Refer to detail A on Figure for the position of the bolts.
SUBTASK 72-41-20-440-145 Install the Stage 7 Rotor Path Ring, Front Support Cone and Support Cone Stiffening Ring. (Pre SBE 72-0296 and Pre SBE 72-0343)
Install the heating blanket on to the stage 7 case HPC Ring Cases And Related Parts (72-41-21, 03-500) front flange.

WARNING
YOU MUST PUT ON THE CORRECT PROTECTIVE GLOVES BEFORE YOU TOUCH THE STAGE 7 CASE.Align the location dowel in the stage 7 cone and rotor path assembly HPC Ring Cases And Related Parts (72-41-21, 03-300) with the location dowel hole in the stage 7 case front flange.
Install the 47 bolts HPC Assembly (72-41-00, 01-552) and nuts HPC Assembly (72-41-00,01-550) to attach the stage 7 case to the stage 7 cone and rotor path assembly. Install the bolts from the front of the stage 7 cone and rotor path assembly. Refer to detail A and B on Figure for the position of the bolts.
SUBTASK 72-41-20-440-189 Install the Stage 7 Cone and Rotor path Assembly (SBE 72-0296)
Refer to Figure.
Install the heating blanket on to the stage 8 rotor path case assembly HPC Ring Cases And Related Parts (72-41-21, 03-500) front flange.

WARNING
YOU MUST PUT ON THE CORRECT PROTECTIVE GLOVES BEFORE YOU TOUCH THE STAGE 8 ROTOR PATH CASE ASSEMBLY.Align the location dowel in the stage 7 cone and rotor path assembly HPC Ring Cases And Related Parts (72-41-21, 03-300) with the location dowel hole in the stage 8 rotor path case assembly front flange.
Install the 47 bolts HPC Assembly (72-41-00, 01-552) and nuts HPC Assembly (72-41-00, 01-550) to attach the stage 8 rotor path case assembly to the stage 7 cone and rotor path assembly. Install the bolts from the front of the stage 7 cone and rotor path assembly. Refer to detail A and B on Figure for the position of the bolts.
SUBTASK 72-41-20-440-190 Install the Stage 7 Cone and Rotor path Assembly to the Stage 8 Rotor path Case Assembly (SBE 72-0343)
Refer to Figure.
Measure and write down a record of the clearance between the stop vane and the stator vane platforms. This must be 0.042 in. to 0.058 in. (1.07 mm to 1.47 mm).
NOTE
If the interplatform clearances are correct, continue with SUBTASK 72-41-20-440-148.If the interplatform clearances are not correct, continue with SUBTASK 72-41-20-440-147.
Measure and write down a record of the interplatform clearances at the stage 7 stop vanes. Measure all four clearances at the same time.
SUBTASK 72-41-20-440-146 Measure the Interplatform Clearances.
NOTE
To get the specified interplatform clearance at the four stage 7 stop vanes HPC Stator Vanes (72-41-22, 02-350), use the stage 7 undersize stator vanes HPC Stator Vanes (72-41-22, 02-450) or stage 7 stator vanes HPC Stator Vanes (72-41-22, 02-448) as necessary.A maximum of six undersize vanes can be used between the two adjacent stop vanes. These must be set at equal distances between the stop vanes.Pre SBE 72-0296: Remove the 37 nuts and bolts which attach the stage 7 rotor path ring HPC Ring Cases And Related Parts (72-41-21, 03-450) to the stage 7 case HPC Ring Cases And Related Parts (72-41-21, 03-500).
SBE 72-0296: Remove the 47 nuts and bolts which attach the stage 7 cone and rotor path assembly HPC Ring Cases And Related Parts (72-41-21, 03-300) to the stage 7 case HPC Ring Cases And Related Parts (72-41-21, 03-500).

WARNING
YOU MUST PUT ON HEAT RESISTANT GLOVES BEFORE YOU TOUCH THE STAGE 7 ROTOR PATH RING.Install IAE 1R18434 Case extractor 3 off to equal positions round the case. Refer to Figure and Figure.
Pre SBE 72-0296: Remove the stage 7 rotor path ring.

CAUTION
UNDERSIZE VANES MUST NOT BE INSTALLED ADJACENT TO THE STOP VANES, THE BORESCOPE POSITION OR OTHER UNDERSIZE VANES.Remove the stage 7 stator vanes HPC Stator Vanes (72-41-22, 02-448 or HPC Stator Vanes 02-450) and install the stage 7 undersize vanes as necessary. One stage 7 undersize stator vane will give an increase or decrease in the interplatform clearance of 0.016 in. (0.40 mm).

WARNING
YOU MUST PUT ON HEAT RESISTANT GLOVES BEFORE YOU TOUCH THE STAGE 7 ROTOR PATH RING.Install Extractor, 1 off or Case Extractor 3 off , equally spaced. Refer to Figure or Figure.
SBE 72-0296: Remove the stage 7 cone and rotor path assembly.

CAUTION
UNDERSIZE VANES MUST NOT BE INSTALLED ADJACENT TO THE STOP VANES, THE BORESCOPE POSITION OR OTHER UNDERSIZE VANES.Remove the stage 7 stator vanes HPC Stator Vanes (72-41-22, 02-448 or HPC Stator Vanes02-450) and install the stage 7 undersize vanes as necessary. One stage 7 undersize stator vane will give an increase or decrease in the interplatform clearance of 0.016 in. (0.40 mm).
Install the stage 7 cone and rotor path assembly as given in Step.
Measure and write a record of the interplatform clearances at the stage 7 stop vanes as given in Step.
SUBTASK 72-41-20-440-147 Install the Stage 7 Undersize Vanes.
Put one half of the stage 7 front heatshield in to position on the stage 7 case HPC Ring Cases And Related Parts (72-41-21, 03-500). Locate the heatshield on the spacers and make sure the heatshield joints are in the correct positions.
Install the 10 bolts HPC Assembly (72-41-00, 01-544) and nuts HPC Assembly (72-41-00, 01-540) to attach the stage 7 front heatshield to the stage 7 case. Refer to the detail identified at B.
Install the stage 7 front heatshield HPC Ring Cases And Related Parts (72-41-21, 03-180).
Measure and write down a record of the clearance at location 1181. This must be 0.004 in. to 0.024 in. (0.10 mm to 0.60 mm). Refer to Figure.
SUBTASK 72-41-20-440-148 Install the Stage 7 Front Heatshields. (Pre SBE 72-0296 and Pre SBE 72-0343)
Figure: Pre SBE 72-0296: and SBE 72-0343: View through the HP compressor rear cases and vanes
Sheet 1

Figure: SBE 72-0296: and SBE 72-0343: View through the HP compressor rear cases and vanes
Sheet 2

Figure: The locations for the fits and clearances
Sheet 1

Figure: The locations for the fits and clearances
Sheet 2

Figure: Install the stage 7 liners
Sheet 1

Figure: Install the stage 7 front and rear liners
Sheet 2

Figure: Install the stage 7 stator vane stops
Install the stage 7 stator vane stops

Figure: Assemble the front support cone and the stage 7 rotor path ring and case
Sheet 1

Figure: Assemble the front support cone, and the stage 7 rotor path ring and case
Sheet 2

Figure: Install the stage 7 stator vanes
Sheet 1

Figure: Install the stage 7 stator vanes
Sheet 2

Figure: Measure the stator vane interplatform clearances
Measure the stator vane interplatform clearances

Figure: Remove the stage 7 rotor path ring
Remove the stage 7 rotor path ring

Figure: Case Extractor tool IAE 1R18434 to remove rotor path rings and cases
Case Extractor tool IAE 1R18434 to remove rotor path rings and cases

