Export Control
EAR Export Classification: Not subject to the EAR per 15 C.F.R. Chapter 1, Part 734.3(b)(3), except for the following Service Bulletins which are currently published as EAR Export Classification 9E991: SBE70-0992, SBE72-0483, SBE72-0580, SBE72-0588, SBE72-0640, SBE73-0209, SBE80-0024 and SBE80-0025.Copyright
© IAE International Aero Engines AG (2001, 2014 - 2021) The information contained in this document is the property of © IAE International Aero Engines AG and may not be copied or used for any purpose other than that for which it is supplied without the express written authority of © IAE International Aero Engines AG. (This does not preclude use by engine and aircraft operators for normal instructional, maintenance or overhaul purposes.).Applicability
V2500-A5
Common Information
TASK 72-41-20-440-002-B00 HPC Rear Cases And Vanes Assembly - Assemble The HPC Stage 8 Stator Vanes To The Cases, Assembly-002
General
Fig/item numbers in parentheses in the procedure agree with those used in the IPC. Only the primary Fig/item numbers are used. For the Service Bulletin alpha variants refer to the IPC.
For all parts identified in a different Chapter/Section/Subject, the applicable Chapter/Section/Subject comes before the Fig/item number.
For standard torque data and procedures refer to SPM TASK 70-41-00-400-501, SPM TASK 70-41-01-400-501 and SPM TASK 70-41-02-410-501.
Special torque data and assembly tolerances are included in the procedure.
Lubricate all threads and abutment faces of nuts and bolts with CoMat 10-077A APPROVED ENGINE OIL approved engine oil unless other lubricants are referred to in the procedure.
After assembly apply CoMat 07-038 AIR DRYING ENAMEL to any damaged surface protection, joint flanges and parts used to attach. Use the correct color of the air drying enamel. Refer to SPM TASK 70-63-02-380-501.
The number for each radial location must be identified in a clockwise direction. These start at the engine top position when you look from the rear of the engine, unless stated differently in the procedure.
Refer to Figure for a sectional view of the HP compressor rear cases and vanes.
Make sure all the flange faces and tool faces that touch are very clean.
The Fits and Clearances, NEW PART DIMENSIONS and REJECT IF MORE THAN columns will be used by most operators. This permits the full use of the maximum wear allowance and a reduction in the number of parts which are rejected, is possible.
The column WORN PART DIMENSION (Non-select) is included for operators who want to have full interchangeability. If this column is used an increase in the number of parts which are rejected is possible.
After the part has been in service for some time the REJECT IF MORE THAN and WORN PART DIMENSIONS could be changed. The operator must tell IAE and if agreed the manual will be changed.
The abbreviation Intf shows an interference or tight fit. This causes REJECT IF MORE THAN to become REJECT IF LESS THAN.
The abbreviation clear shows a clearance fit.
This TASK gives the procedure to assemble the HP compressor stage 8 cases, the vanes, the liners and the stator vane stops. The subsequent TASK give the procedures to assembly the remaining HP compressor rear cases and vanes.
Assemble the HP Compressor Stage 7 Cases and Stator Vanes TASK 72-41-20-440-001-B00 (ASSEMBLY-001).
Assemble the HP Compressor Stage 9 Stator Vanes TASK 72-41-20-440-003-B00 (ASSEMBLY-003).
Assemble the HP Compressor Stage 10 Stator Vanes TASK 72-41-20-440-004-B00 (ASSEMBLY-004).
Assembly the HP Compressor Stage 11 Stator Vanes TASK 72-41-20-440-005-B00 (ASSEMBLY-005).
Machine the Stator Vane Tips and the Rotor Path Ring Liners TASK 72-41-20-440-006-B01 (ASSEMBLY-006).
Disassemble the HP Compressor Rear Cases and Vanes TASK 72-41-20-440-007-B01 (ASSEMBLY-007).
NOTE
NOTE
Preliminary Requirements
Pre-Conditions
NONESupport Equipment
| Name | Manufacturer | Part Number / Identification | Quantity | Remark |
|---|---|---|---|---|
| Heating blanket | LOCAL | Heating blanket | ||
| IAE 1R18213 Alignment checking pin | 0AM53 | IAE 1R18213 | 1 | |
| IAE 1R18240 Extractor | 0AM53 | IAE 1R18240 | 1 | |
| IAE 1R18501 Stop alignment tool | 0AM53 | IAE 1R18501 | 1 | |
| IAE 1R19687 Assembly tool | 0AM53 | IAE 1R19687 | 1 | |
| IAE 1R19688 Assembly tool | 0AM53 | IAE 1R19688 | 1 | |
| IAE 1R19689 Assembly tool | 0AM53 | IAE 1R19689 | 1 |
Consumables, Materials and Expendables
| Name | Manufacturer | Part Number / Identification | Quantity | Remark |
|---|---|---|---|---|
| CoMat 07-038 AIR DRYING ENAMEL | 00BB6 | CoMat 07-038 | ||
| CoMat 10-077A APPROVED ENGINE OIL | X333X | CoMat 10-077A |
Spares
| Name | Manufacturer | Part Number / Identification | Quantity | Remark |
|---|---|---|---|---|
| LINER - 8TH STAGE, FRONT | 0AM53 | 6A4269 | 1 | 72-41-21, 03-590 |
| LINER - 8TH STAGE, REAR | 0AM53 | 6A4270 | 1 | 72-41-21, 03-730 |
| LINER - 9TH STAGE, FRONT | 0AM53 | 6A4271 | 1 | 72-41-21, 03-740 |
Safety Requirements
NONEProcedure
Refer to Figure.
Reference dimensions at Location 1102. If required use the data writted as a Note in TASK 72-41-21-200-000.
Table 1. Fits and Clearances (all dimensions are in inches) NEW PART
WORN PART
DIMENSIONS
DIMENSIONS
PART IDENT
Size
Clearance
(Non-select)
REJECT IF
MORE THAN
LOCATION 1102
Stage 8 rotor path ring HPC Ring Cases And Related Parts (72-41-21, 03-600)
Location in the stage 7 case HPC Ring Cases And Related Parts (72-41-21, 03-500)
Stage 8 rotor path ring outer dia
22.535
22.543
0.018
22.561
0.034
Stage 7 case rear flange bore
22.569
Table 2. Fits and Clearances (all dimensions are in millimeters) NEW PART
WORN PART
DIMENSIONS
DIMENSIONS
PART IDENT
Size
Clearance
(Non-select)
REJECT IF
MORE THAN
LOCATION 1102
Stage 8 rotor path ring HPC Ring Cases And Related Parts (72-41-21, 03-600)
Location in the stage 7 case HPC Ring Cases And Related Parts (72-41-21, 03-500)
Stage 8 rotor path ring outer dia
572.40
572.60
0.45
Stage 7 case rear flange bore
573.05
0.85
573.25
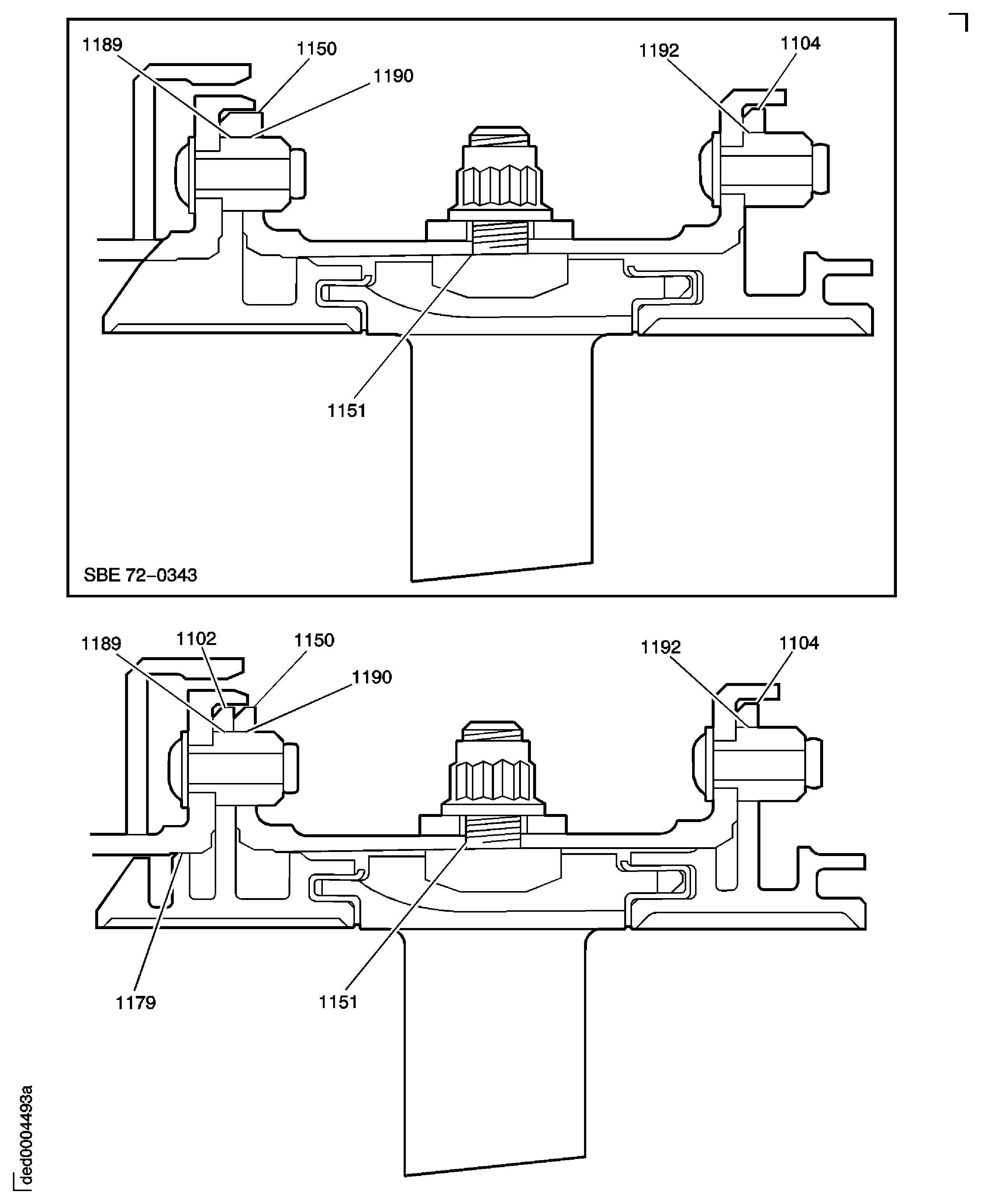
SUBTASK 72-41-20-220-180 Reference Fits and Clearances of the HP Compressor Rear Case and Vanes at Location 1102 (Pre SBE 72-0343)
Refer to Figure.
Reference dimensions at Location 1189. If required use the data written as a Note in TASK 72-41-21-200-000.
Table 3. Fits and Clearances (all dimensions are in inches) NEW PART
WORN PART
DIMENSIONS
DIMENSIONS
PART IDENT
Size
Clearance
(Non-select)
REJECT IF
MORE THAN
LOCATION 1189
Stage 8 rotor path ring HPC Ring Cases And Related Parts (72-41-21, 03-600)
Location with the stage 7 case location dowel HPC Ring Cases And Related Parts (72-41-21, 03-525)
Stage 8 rotor path ring location dowel hole bore
0.315
0.329
0.010
Location dowel dia
0.303
0.026
0.305
Table 4. Fits and Clearances (all dimensions are in inches) NEW PART
WORN PART
DIMENSIONS
DIMENSIONS
PART IDENT
Size
Clearance
(Non-select)
REJECT IF
MORE THAN
LOCATION 1189
Stage 8 rotor path ring HPC Ring Cases And Related Parts (72-41-21, 03-600)
Location with the stage 7 case location dowel HPC Ring Cases And Related Parts (72-41-21, 03-525)
Stage 8 rotor path ring location dowel hole bore
8.00
8.36
0.25
Location dowel dia
7.70
0.66
7.75
SUBTASK 72-41-20-220-181-A00 Reference Fits and Clearances of the HP Compressor Rear Case and Vanes at Location 1189 (Pre SBE 72-0343)
Refer to Figure.
SBE 72-0343: Engine - HP Compressor ring cases - Introduction of integral HP Compressor cases and rotor paths.
Reference dimensions at Location 1189. If required use the data written as a Note in TASK 72-41-21-200-000.
Table 5. Fits and Clearances (all dimensions are in inches) NEW PART
WORN PART
DIMENSIONS
DIMENSIONS
PART IDENT
Size
Clearance
(Non-select)
REJECT IF
MORE THAN
LOCATION 1189
Stage 8 rotor path case assembly HPC Ring Cases And Related Parts (72-41-21, 03-500)
Location with the stage 8 rotor path case assembly location dowel HPC Ring Cases And Related Parts (72-41-21, 03-525)
Stage 8 rotor path case assembly location dowel hole bore
0.315
0.329
0.010
Location dowel dia
0.303
0.026
0.305
Table 6. Fits and Clearances (all dimensions are in inches) NEW PART
WORN PART
DIMENSIONS
DIMENSIONS
PART IDENT
Size
Clearance
(Non-select)
REJECT IF
MORE THAN
LOCATION 1189
Stage 8 rotor path case assembly HPC Ring Cases And Related Parts (72-41-21, 03-500)
Location with the stage 8 rotor path case assembly location dowel HPC Ring Cases And Related Parts (72-41-21, 03-525)
Stage 8 rotor path case assembly location dowel hole bore
8.00
8.36
0.25
Location dowel dia
7.70
0.66
7.75
SUBTASK 72-41-20-220-181-B00 Reference Fits and Clearances of the HP Compressor Rear Case and Vanes at Location 1189 (SBE 72-0343)
Refer to Figure.
Reference dimensions at Location 1179. If required use the data written as a Note in TASK 72-41-21-200-000.
Table 7. Fits and Clearances (all dimensions are in inches) NEW PART
WORN PART
DIMENSIONS
DIMENSIONS
PART IDENT
Size
Clearance
(Non-select)
REJECT IF
MORE THAN
LOCATION 1179
Stage 7 case HPC Ring Cases And Related Parts (72-41-21, 03-500)
Location on the stage 8 rotor path ring HPC Ring Cases And Related Parts (72-41-21, 03-600)
Stage 7 case inner rear bore
21.344
Intf
21.348
0.003
Stage 8 rotor path ring front flange dia
21.351
0.010
21.354
Table 8. Fits and Clearances (all dimensions are in millimeters) NEW PART
WORN PART
DIMENSIONS
DIMENSIONS
PART IDENT
Size
Clearance
(Non-select)
REJECT IF
MORE THAN
LOCATION 1179
Stage 7 case HPC Ring Cases And Related Parts (72-41-21, 03-500)
Location on the stage 8 rotor path ring HPC Ring Cases And Related Parts (72-41-21, 03-600)
Stage 7 case inner rear bore
542.13
Intf
542.25
0.07
Stage 8 rotor path ring front flange dia
542.32
0.27
542.40
SUBTASK 72-41-20-220-182 Reference Fits and Clearances of the HP Compressor Rear Cases and Vanes at Location 1179 (Pre SBE 72-0343)
Refer to Figure.
Reference dimensions at Location 1151. If required use the data written as a Note in TASK 72-41-21-200-000.
Table 9. Fits and Clearances (all dimensions are in inches) NEW PART
WORN PART
DIMENSIONS
DIMENSIONS
PART IDENT
Size
Clearance
(Non-select)
REJECT IF
MORE THAN
LOCATION 1151
Stage 8 stator vane stop HPC Ring Cases And Related Parts (72-41-21, 03-640)
Locations in the stage 8 case (72-41-21, 03-650)
Stage 8 stator vane stop shank dia
0.2474
0.2494
0.0010
Stage 8 case stop location bore
0.2504
0.0061
0.2535
Table 10. Fits and Clearances (all dimensions are in millimeters) NEW PART
WORN PART
DIMENSIONS
DIMENSIONS
PART IDENT
Size
Clearance
(Non-select)
REJECT IF
MORE THAN
LOCATION 1151
Stage 8 stator vane stop HPC Ring Cases And Related Parts (72-41-21,03-640)
Locations in the stage 8 case (72-41-21, 03-650)
Stage 8 stator vane stop shank dia
6.285
6.335
0.025
Stage 8 case stop location bore
6.360
0.155
6.440
SUBTASK 72-41-20-220-183-A00 Reference Fits and Clearances of the HP Compressor Rear Cases and Vanes at Location 1151 (Pre SBE 72-0343)
Refer to Figure.
SBE 72-0343: Engine - HP Compressor ring cases - Introduction of integral HP Compressor cases and rotor paths.
Reference dimensions at Location 1151. If required use the data written as a Note in TASK 72-41-21-200-000.
Table 11. Fits and Clearances (all dimensions are in inches) NEW PART
WORN PART
DIMENSIONS
DIMENSIONS
PART IDENT
Size
Clearance
(Non-select)
REJECT IF
MORE THAN
LOCATION 1151
Stage 8 stator vane stop HPC Ring Cases And Related Parts (72-41-21, 03-640)
Locations in the stage 9 rotor path case assembly HPC Ring Cases And Related Parts (72-41-21, 03-650)
Stage 8 stator vane stop shank dia
0.2474
0.2494
0.0010
Stage 9 rotor path case assembly stop location bore
0.2504
0.0061
0.2535
Table 12. Fits and Clearances (all dimensions are in millimeters) NEW PART
WORN PART
DIMENSIONS
DIMENSIONS
PART IDENT
Size
Clearance
(Non-select)
REJECT IF
MORE THAN
LOCATION 1151
Stage 8 stator vane stop HPC Ring Cases And Related Parts (72-41-21, 03-640)
Locations in the stage 9 rotor path case assembly HPC Ring Cases And Related Parts (72-41-21, 03-650)
Stage 8 stator vane stop shank dia
6.285
6.335
0.025
Stage 9 rotor path case assembly stop location bore
6.360
0.155
6.440
SUBTASK 72-41-20-220-183-B00 Reference Fits and Clearances of the HP Compressor Rear Cases and Vanes at Location 1151 (SBE 72-0343)
Refer to Figure.
SBE 72-0343: Engine - HP Compressor ring cases - Introduction of integral HP Compressor cases and rotor paths.
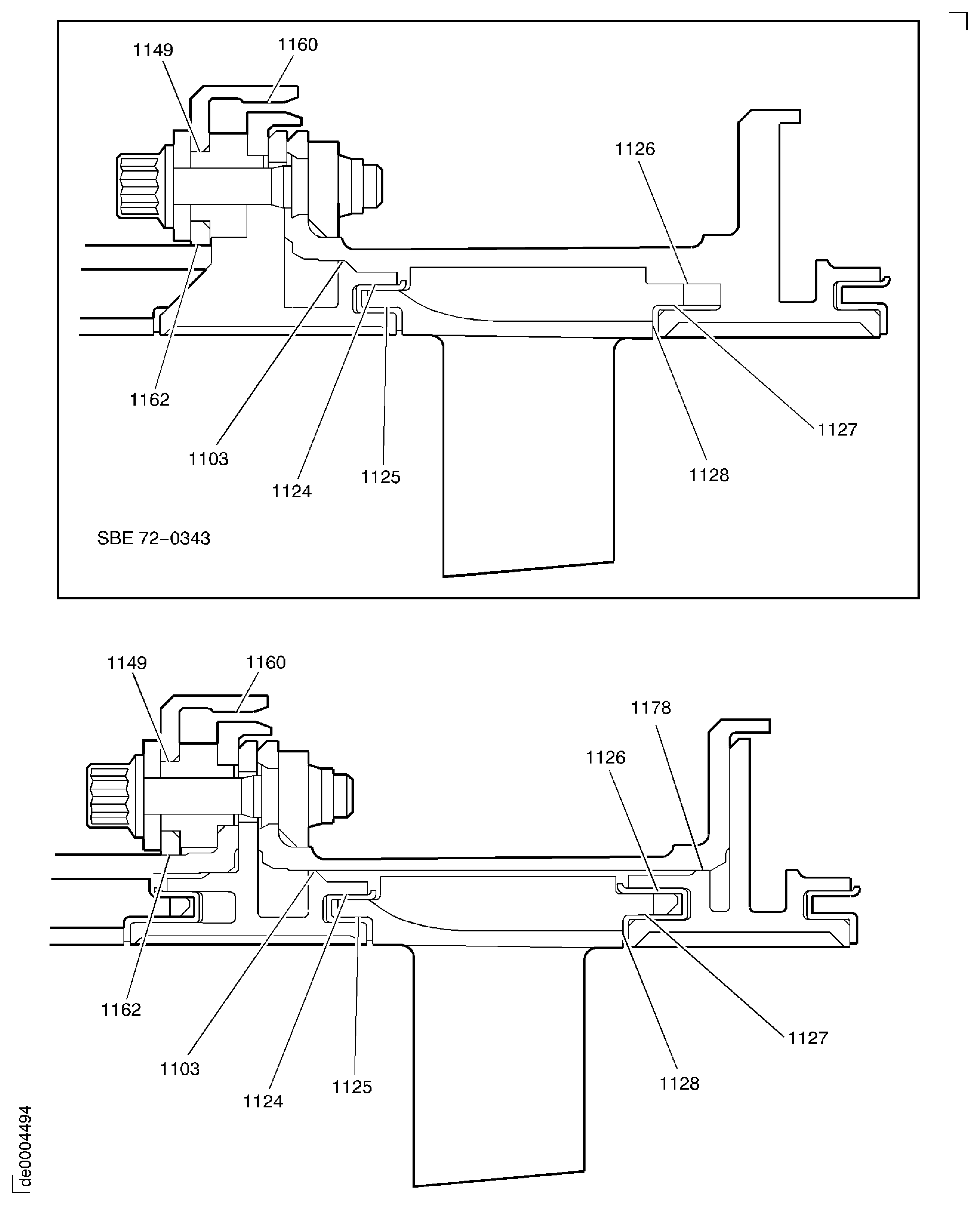
Reference dimensions at Location 1125. If required use the data written as a note in TASK 72-41-22-200-000 and TASK 72-41-21-200-000.
Table 13. Fits and Clearances (all dimensions are in inches) NEW PART
WORN PART
DIMENSIONS
DIMENSIONS
PART IDENT
Size
Clearance
(Non-select)
REJECT IF
MORE THAN
LOCATION 1125
Stage 8 front liner HPC Ring Cases And Related Parts (72-41-21,03-590)
Location with the stage 8 stator vanes
Stage 8 front liner inner width
0.0807
0.0878
0.0020
Stage 8 stator vane front platform thickness
0.0755
0.0123
0.0787
Table 14. Fits and Clearances (all dimensions are in millimeters) NEW PART
WORN PART
DIMENSIONS
DIMENSIONS
PART IDENT
Size
Clearance
(Non-select)
REJECT IF
MORE THAN
LOCATION 1125
Stage 8 front liner HPC Ring Cases And Related Parts (72-41-21, 03-590)
Location with the stage 8 stator vanes
Stage 8 front liner inner width
2.05
2.23
0.05
Stage 8 stator vane front platform thickness
1.92
0.31
2.00
SUBTASK 72-41-20-220-184 Reference Fits and Clearances of the HP Compressor Rear Cases and Vanes at Location 1125 (Pre SBE 72-0343 and SBE 72-0343)
Refer to Figure.
SBE 72-0343: Engine - HP Compressor ring cases - Introduction of integral HP Compressor cases and rotor paths.
Reference dimensions at Location 1127. If required use the data written as a Note in TASK 72-41-22-200-000 and TASK 72-41-21-200-000.
Table 15. Fits and Clearances (all dimensions are in inches) NEW PART
WORN PART
DIMENSIONS
DIMENSIONS
PART IDENT
Size
Clearance
(Non-select)
REJECT IF
MORE THAN
LOCATION 1127
Stage 8 rear liner (72-41-21, 03-730)
Location with the stage 8 stator vanes
Stage 8 rear liner inner width
0.1004
0.1075
0.0020
Stage 8 stator vane rear platform thickness
0.0952
0.0123
0.0984
Table 16. Fits and Clearances (all dimensions are in millimeters) NEW PART
WORN PART
DIMENSIONS
DIMENSIONS
PART IDENT
Size
Clearance
(Non-select)
REJECT IF
MORE THAN
LOCATION 1127
Stage 8 rear liner (72-41-21, 03-730)
Location with the stage 8 stator vanes
Stage 8 rear liner inner width
2.55
2.73
0.05
Stage 8 stator vane rear platform thickness
2.42
0.31
2.50
SUBTASK 72-41-20-220-185 Reference Fits and Clearances of the HP Compressor Rear Cases and Vanes at Location 1127 (Pre SBE 72-0343 and SBE 72-0343)
Refer to Figure.
SBE 72-0343: Engine - HP Compressor ring cases - Introduction of integral HP Compressor cases and rotor paths.
Reference dimensions at Location 1128. If required use the data written as a Note in TASKS TASK 72-41-22-200-000 and TASK 72-41-21-200-000.
Table 17. Fits and Clearances (all dimensions are in inches) NEW PART
WORN PART
DIMENSIONS
DIMENSIONS
PART IDENT
Size
Clearance
(Non-select)
REJECT IF
MORE THAN
LOCATION 1128
Stage 8 rear liner (72-41-21, 03-730)
Axial clearance with the stage 8 stator vanes
Stage 8 rear liner front face dimension
2.1137
2.1256
0.0130
Stage 8 stator vane platform rear face dimension
2.1386
0.0288
2.1425
Table 18. Fits and Clearances (all dimensions are in millimeters) NEW PART
WORN PART
DIMENSIONS
DIMENSIONS
PART IDENT
Size
Clearance
(Non-select)
REJECT IF
MORE THAN
LOCATION 1128
Stage 8 rear liner (72-41-21, 03-730)
Axial clearance with the stage 8 stator vanes
Stage 8 rear liner front face dimension
53.689
53.989
0.331
Stage 8 stator vane platform rear face dimensions
54.320
0.731
54.420
SUBTASK 72-41-20-220-186 Reference Fits and Clearances of the HP Compressor Rear Cases and Vanes at Location 1128 (Pre SBE 72-0343 and SBE 72-0343)
Refer to Figure.
Reference dimensions at Location 1104. If required use the data written as a Note in TASK 72-41-21-200-000.
Table 19. Fits and Clearances (all dimensions are in inches) NEW PART
WORN PART
DIMENSIONS
DIMENSIONS
PART IDENT
Size
Clearance
(Non-select)
REJECT IF
MORE THAN
LOCATION 1104
Stage 9 rotor path ring (72-41-21, 03-750)
Location in the stage 8 case HPC Ring Cases And Related Parts (72-41-21, 03-650)
Stage 9 rotor path ring outer dia
22.5354
22.5433
0.0177
Stage 8 case rear flange inner bore
22.5610
0.0335
22.5689
Table 20. Fits and Clearances (all dimensions are in millimeters) NEW PART
WORN PART
DIMENSIONS
DIMENSIONS
PART IDENT
Size
Clearance
(Non-select)
REJECT IF
MORE THAN
LOCATION 1104
Stage 9 rotor path ring (72-41-21, 03-750)
Location in the stage 8 case HPC Ring Cases And Related Parts (72-41-21, 03-650)
Stage 9 rotor path ring outer dia
572.400
572.600
0.45
Stage 8 case rear flange inner bore
573.05
0.850
573.250
SUBTASK 72-41-20-220-187-A00 Reference Fits and Clearances of the HP Compressor Rear Cases and Vanes at Location 1104 (Pre SBE 72-0343)
Refer to Figure.
Reference dimensions at Location 1150. If required use the data written as a note in TASK 72-41-21-200-000.
Table 21. Fits and Clearances (all dimensions are in inches) NEW PART
WORN PART
DIMENSIONS
DIMENSIONS
PART IDENT
Size
Clearance
(Non-select)
REJECT IF
MORE THAN
LOCATION 1150
Stage 9 rotor path case
assembly HPC Ring Cases And Related Parts (72-41-21, 03-650)
Location in the stage 8 rotor path case assembly HPC Ring Cases And Related Parts (72-41-21, 03-500)
Stage 9 rotor path case assembly outer dia
22.5354
22.5433
0.0177
Stage 8 rotor path case assembly rear flange inner bore
22.561
0.0335
22.5689
Table 22. Fits and Clearances (all dimensions are in millimeters) NEW PART
WORN PART
DIMENSIONS
DIMENSIONS
PART IDENT
Size
Clearance
(Non-select)
REJECT IF
MORE THAN
LOCATION 1150
Stage 9 rotor path case assembly HPC Ring Cases And Related Parts (72-41-21, 03-650)
Location in the stage 8 rotor path case assembly HPC Ring Cases And Related Parts (72-41-21, 03-500)
Stage 9 rotor path case assembly outer dia
572.400
572.600
0.45
Stage 8 rotor path case assembly rear flange inner bore
573.05
0.850
573.250
SUBTASK 72-41-20-220-187-B00 Reference Fits and Clearances of the HP Compressor Rear Cases and Vanes at Location 1150 (SBE 72-0343)
Refer to Figure.
Reference dimensions at Location 1190. If required use the data written as a Note in TASK 72-41-21-200-000.
Table 23. Fits and Clearances (all dimensions are in millimeters) NEW PART
WORN PART
DIMENSIONS
DIMENSIONS
PART IDENT
Size
Clearance
(Non-select)
REJECT IF
MORE THAN
LOCATION 1190
Stage 8 case HPC Ring Cases And Related Parts (72-41-21, 03-650)
Location with the stage 7 case location dowel HPC Ring Cases And Related Parts (72-41-21, 03-525)
Stage 8 case location hole bore
0.315
0.316
0.010
Stage 7 case location dowel dia
0.303
0.013
0.305
Table 24. Fits and Clearances (all dimensions are in millimeters) NEW PART
WORN PART
DIMENSIONS
DIMENSIONS
PART IDENT
Size
Clearance
(Non-select)
REJECT IF
MORE THAN
LOCATION 1190
Stage 8 case HPC Ring Cases And Related Parts (72-41-21, 03-650)
Location with the stage 7 case location dowel HPC Ring Cases And Related Parts (72-41-21, 03-525)
Stage 8 case location hole bore
8.000
8.022
0.250
Stage 7 case location dowel dia
7.700
0.322
7.750
SUBTASK 72-41-20-220-188-A00 Reference Fits and Clearances of the HP Compressor Rear Cases and Vanes at Location 1190 (Pre SBE 72-0343)
Refer to Figure.
SBE 72-0343: Engine - HP Compressor ring cases - Introduction of integral HP Compressor cases and rotor paths.
Reference dimensions at Location 1190. If required use the data written as a Note in TASK 72-41-21-200-000.
Table 25. Fits and Clearances (all dimensions are in millimeters) NEW PART
WORN PART
DIMENSIONS
DIMENSIONS
PART IDENT
Size
Clearance
(Non-select)
REJECT IF
MORE THAN
LOCATION 1190
Stage 9 rotor path case assembly HPC Ring Cases And Related Parts (72-41-21, 03-650)
Location with the stage 8 rotor path case assembly location dowel (72-41-21, 03-525)
Stage 8 rotor path case assembly location hole bore
0.315
0.316
0.010
Stage 8 rotor path case assembly location dowel dia
0.303
0.013
0.305
Table 26. Fits and Clearances (all dimensions are in millimeters) NEW PART
WORN PART
DIMENSIONS
DIMENSIONS
PART IDENT
Size
Clearance
(Non-select)
REJECT IF
MORE THAN
LOCATION 1190
Stage 9 rotor path case assembly HPC Ring Cases And Related Parts (72-41-21, 03-650)
Location with the stage 8 rotor path case assembly location dowel HPC Ring Cases And Related Parts (72-41-21, 03-525)
Stage 9 rotor path case assembly location hole bore
8.000
8.022
0.250
Stage 8 rotor path case assembly location dowel dia
7.700
0.322
7.750
SUBTASK 72-41-20-220-188-B00 Reference Fits and Clearances of the HP Compressor Rear Cases and Vanes at Location 1190 (SBE 72-0343)
Refer to Figure.
Reference dimensions at Location 1103. If required use the data written as a Note in TASK 72-41-21-200-000.
Table 27. Fits and Clearances (all dimensions are in inches) NEW PART
WORN PART
DIMENSIONS
DIMENSIONS
PART IDENT
Size
Clearance
(Non-select)
REJECT IF
MORE THAN
LOCATION 1103
Stage 8 rotor path ring HPC Ring Cases And Related Parts (72-41-21, 03-600)
Location with the stage 8 case (72-41-21, 03-650)
Stage 8 rotor path ring rear flange outer dia
21.351
Intf
21.354
0.010
Stage 8 case front inner bore
21.344
0.003
21.348
Table 28. Fits and Clearances (all dimensions are in millimeters) NEW PART
WORN PART
DIMENSIONS
DIMENSIONS
PART IDENT
Size
Clearance
(Non-select)
REJECT IF
MORE THAN
LOCATION 1103
Stage 8 rotor path ring HPC Ring Cases And Related Parts (72-41-21, 03-600)
Location with the stage 8 case (72-41-21, 03-650)
Stage 8 rotor path ring rear flange outer dia
542.32
Intf
542.40
0.27
Stage 8 case front inner bore
542.130
0.07
542.25
SUBTASK 72-41-20-220-189-A00 Reference Fits and Clearances of the HP Compressor Rear Cases and Vanes at Location 1103 (Pre SBE 72-0343)
Refer to Figure.
SBE 72-0343: Engine - HP Compressor ring cases - Introduction of integral HP Compressor cases and rotor paths.
Reference dimensions at Location 1103. If required use the data written as a Note in TASK 72-41-21-200-000.
Table 29. Fits and Clearances (all dimensions are in inches) NEW PART
WORN PART
DIMENSIONS
DIMENSIONS
PART IDENT
Size
Clearance
(Non-select)
REJECT IF
MORE THAN
LOCATION 1103
Stage 8 rotor path case assembly HPC Ring Cases And Related Parts (72-41-21, 03-500)
Location with the stage 9 rotor path case assembly (72-41-21, 03-650)
Stage 8 rotor path case assembly rear flange outer dia
21.3511
Intf
21.3543
0.0106
Stage 9 rotor path case assembly front inner bore
21.3437
0.0027
21.3484
Table 30. Fits and Clearances (all dimensions are in millimeters) NEW PART
WORN PART
DIMENSIONS
DIMENSIONS
PART IDENT
Size
Clearance
(Non-select)
REJECT IF
MORE THAN
LOCATION 1103
Stage 8 rotor path case assembly HPC Ring Cases And Related Parts (72-41-21, 03-500)
Location with the stage 9 rotor path case assembly (72-41-21, 03-650)
Stage 8 rotor path case assembly rear flange outer dia
542.32
Intf
542.40
0.27
Stage 9 rotor path case assembly front inner bore
542.13
0.07
542.25
SUBTASK 72-41-20-220-189-B00 Reference Fits and Clearances of the HP Compressor Rear Cases and Vanes at Location 1103 (SBE 72-0343)
Refer to Figure.
Reference dimensions at Location 1150. If required use the data written as a Note in TASK 72-41-21-200-000.
Table 31. Fits and Clearances (all dimensions are in millimeters) NEW PART
WORN PART
DIMENSIONS
DIMENSIONS
PART IDENT
Size
Clearance
(Non-select)
REJECT IF
MORE THAN
LOCATION 1150
Stage 7 case HPC Ring Cases And Related Parts (72-41-21, 03-500)
Location with the stage 8 case HPC Ring Cases And Related Parts (72-41-21, 03-650)
Stage 7 case rear flange inner bore
22.5610
22.5689
0.0177
Stage 8 case front flange outer dia
22.5354
0.0335
22.5433
Table 32. Fits and Clearances (all dimensions are in millimeters) NEW PART
WORN PART
DIMENSIONS
DIMENSIONS
PART IDENT
Size
Clearance
(Non-select)
REJECT IF
MORE THAN
LOCATION 1150
Stage 7 case HPC Ring Cases And Related Parts (72-41-21, 03-500)
Location with the stage 8 case HPC Ring Cases And Related Parts (72-41-21, 03-650)
Stage 7 case rear flange inner bore
573.05
573.25
0.45
Stage 8 case front flange outer dia
572.40
0.85
572.60
SUBTASK 72-41-20-220-190-A00 Reference Fits and Clearances of the HP Compressor Rear Cases and Vanes at Location 1150 (Pre SBE 72-0343)
Refer to Figure.
SBE 72-0343: Engine - HP Compressor ring cases - Introduction of integral HP Compressor cases and rotor paths.
Reference dimensions at Location 1150. If required use the data written as a Note in TASK 72-41-21-200-000.
Table 33. Fits and Clearances (all dimensions are in inches) NEW PART
WORN PART
DIMENSIONS
DIMENSIONS
PART IDENT
Size
Clearance
(Non-select)
REJECT IF
MORE THAN
LOCATION 1150
Stage 8 rotor path case assembly HPC Ring Cases And Related Parts (72-41-21, 03-500)
Location with the stage 9 rotor path case assembly HPC Ring Cases And Related Parts (72-41-21, 03-650)
Stage 8 rotor path case assembly rear flange inner bore
22.5610
22.5689
0.0177
Stage 9 rotor path case assembly front flange outer dia
22.5354
0.0335
22.5433
Table 34. Fits and Clearances (all dimensions are in millimeters) NEW PART
WORN PART
DIMENSIONS
DIMENSIONS
PART IDENT
Size
Clearance
(Non-select)
REJECT IF
MORE THAN
LOCATION 1150
Stage 8 rotor path case assembly HPC Ring Cases And Related Parts (72-41-21, 03-500)
Location with the stage 9 rotor path case assembly HPC Ring Cases And Related Parts (72-41-21, 03-650)
Stage 8 rotor path case assembly rear flange inner bore
573.05
573.25
0.45
Stage 9 rotor path case assembly front flange outer dia
572.40
0.85
572.60
SUBTASK 72-41-20-220-190-B00 Reference Fits and Clearances of the HP Compressor Rear Cases and Vanes at Location 1150 (SBE 72-0343)
Refer to Figure.
Reference dimensions at Location 1192. If required use the data written as a Note in TASK 72-41-21-200-000.
Table 35. Fits and Clearances (all dimensions are in millimeters) NEW PART
WORN PART
DIMENSIONS
DIMENSIONS
PART IDENT
Size
Clearance
(Non-select)
REJECT IF
MORE THAN
LOCATION 1192
Stage 9 rotor path ring HPC Ring Cases And Related Parts (72-41-21, 03-730)
Location with the stage 8 case location dowel HPC Ring Cases And Related Parts (72-41-21, 03-675)
Stage 9 rotor path ring location hole bore
0.315
0.329
0.010
Stage 8 case location dowel outer dia
0.303
0.026
0.305
Table 36. Fits and Clearances (all dimensions are in millimeters) NEW PART
WORN PART
DIMENSIONS
DIMENSIONS
PART IDENT
Size
Clearance
(Non-select)
REJECT IF
MORE THAN
LOCATION 1192
Stage 9 rotor path ring HPC Ring Cases And Related Parts (72-41-21, 03-730)
Location with the stage 8 case location dowel HPC Ring Cases And Related Parts (72-41-21, 03-675)
Stage 9 rotor path ring location hole bore
8.00
8.36
0.25
Stage 8 case location dowel outer dia
7.70
0.66
7.75
SUBTASK 72-41-20-220-191-A00 Reference Fits and Clearances of the HP Compressor Rear Cases and Vanes at Location 1192 (Pre SBE 72-0343)
Refer to Figure.
SBE 72-0343: Engine - HP Compressor ring cases - Introduction of integral HP Compressor cases and rotor paths.
Reference dimensions at Location 1192. If required use the data written as a Note in TASK 72-41-21-200-000.
Table 37. Fits and Clearances (all dimensions are in millimeters) NEW PART
WORN PART
DIMENSIONS
DIMENSIONS
PART IDENT
Size
Clearance
(Non-select)
REJECT IF
MORE THAN
LOCATION 1192
Stage 9 rotor path case assembly HPC Ring Cases And Related Parts (72-41-21, 03-650)
Location with the stage 9 rotor path case assembly location dowel HPC Ring Cases And Related Parts (72-41-21, 03-675)
Stage 9 rotor path case assembly location hole bore
0.315
0.329
0.010
Stage 9 rotor path case assembly location dowel outer dia
0.303
0.026
0.305
Table 38. Fits and Clearances (all dimensions are in millimeters) NEW PART
DIMENSIONS
WORN PART
DIMENSIONS
PART IDENT
Size
Clearance
(Non-select)
REJECT IF
MORE THAN
LOCATION 1192
Stage 9 rotor path case assembly HPC Ring Cases And Related Parts (72-41-21, 03-730)
Location with the stage 9 rotor path case assembly location dowel HPC Ring Cases And Related Parts (72-41-21, 03-675)
Stage 9 rotor path case assembly location hole bore
8.00
8.36
0.25
Stage 9 rotor path case assembly location dowel outer diameter
7.70
0.66
7.75
SUBTASK 72-41-20-220-191-B00 Reference Fits and Clearances of the HP Compressor Rear Cases and Vanes at Location 1192 (SBE 72-0343)
Refer to Figure.
Reference dimensions at Location 1178. If required use the data written as a Note in TASK 72-41-21-200-000.
Table 39. Fits and Clearances (all dimensions are in inches) NEW PART
WORN PART
DIMENSIONS
DIMENSIONS
PART IDENT
Size
Clearance
(Non-select)
REJECT IF
MORE THAN
LOCATION 1178
Stage 8 case HPC Ring Cases And Related Parts (72-41-21, 03-650)
Location with the stage 9 rotor path ring HPC Ring Cases And Related Parts (72-41-21, 03-750)
Stage 8 case rear inner bore
21.344
Intf
21.348
0.003
Stage 9 rotor path ring front flange outer dia
21.351
0.01
21.354
Table 40. Fits and Clearances (all dimensions are in millimeters) NEW PART
WORN PART
DIMENSIONS
DIMENSIONS
PART IDENT
Size
Clearance
(Non-select)
REJECT IF
MORE THAN
LOCATION 1178
Stage 8 case HPC Ring Cases And Related Parts (72-41-21, 03-650)
Location with the stage 9 rotor path ring HPC Ring Cases And Related Parts (72-41-21, 03-750)
Stage 8 case rear inner bore
542.130
Intf
542.25
0.07
Stage 9 rotor path ring front flange outer dia
542.32
0.27
542.40
SUBTASK 72-41-20-220-192 Reference Fits and Clearances of the HP Compressor Rear Cases and Vanes at Location 1178 (Pre SBE 72-0343)
Use IAE 1R19687 Assembly tool assembly tool 1 off to install the stage 8 front liner. Make sure the liner touches the stage 8 rotor path ring rear face.
Install the new HPC Ring Cases And Related Parts (72-41-21, 03-590) stage 8 front liner1 off, in to the slot in the rear of the stage 8 rotor path ring.
Use IAE 1R19688 Assembly tool 1 off to install the stage 8 rear liner. Make sure the liner touches the stage 9 rotor path ring front flange.
Install the new HPC Ring Cases And Related Parts (72-41-21, 03-730) stage 8 rear liner1 off, in to the slot in the front of the stage 9 rotor path ring HPC Ring Cases And Related Parts (72-41-21, 03-750).
Use IAE 1R19689 Assembly tool 1 off to install the stage 9 front liner. Make sure the liner touches the stage 9 rotor path ring rear flange.
Install the new HPC Ring Cases And Related Parts (72-41-21, 03-740) stage 9 front liner 1 off, in to the slot in the rear of the stage 9 rotor path ring.
SUBTASK 72-41-20-440-149 Install the Stage 8 Stator Vane Front and Rear Liners and the Stage 9 Stator Vane Front Liner (Pre SBE 72-0343 and SBE 72-0343)
Refer to Figure.
Install the heating blanket on to the stage 7 case HPC Ring Cases And Related Parts (72-41-21, 03-500) rear flange.
Align the location dowel hole in the stage 8 rotor path ring HPC Ring Cases And Related Parts (72-41-21, 03-600) with the location dowel in the stage 7 case rear flange.
SUBTASK 72-41-20-440-150 Install the Stage 8 Rotor Path Ring (Pre SBE 72-0343)
Refer to Figure.
Use the IAE 1R18501 Stop alignment tool 1 off and align the stage 8 stator vane stop in the stage 8 case.
Install a washer HPC Ring Cases And Related Parts (72-41-21, 03-639) and a nut HPC Ring Cases And Related Parts (72-41-21, 03-638) on to the stage 8 stator vane stop.
Install the stage 8 stator vane stops HPC Ring Cases And Related Parts (72-41-21, 03-640) in the stage 8 case HPC Ring Cases And Related Parts (72-41-21, 03-650).
SUBTASK 72-41-20-440-151 Install the Stator Vane Stops in the Stage 8 Case (Pre SBE 72-0343)
SBE 72-0343: Engine - HP Compressor ring cases - Introduction of integral HP Compressor cases and rotor paths.
Refer to Figure.
Use the IAE 1R18501 Stop alignment tool 1 off and align the stage 8 stator vane stop in the stage 9 rotor path case assembly.
Install a washer HPC Ring Cases And Related Parts (72-41-21, 03-639) and a nut HPC Ring Cases And Related Parts (72-41-21, 03-638) on to the stage 8 stator vane stop.
Torque the nut to 85 lbfin to 105 lbfin (10.00 Nm to 12.00 Nm).
Install the stage 8 stator vane stops HPC Ring Cases And Related Parts (72-41-21, 03-640) in the stage 9 rotor path case assembly HPC Ring Cases And Related Parts (72-41-21, 03-650).
SUBTASK 72-41-20-440-285 Install the Stator Vane Stops in the Stage 9 Rotor Path Case Assembly (SBE 72-0343)
Refer to Figure.
SBE 72-0343: Engine - HP Compressor ring cases - Introduction of integral HP Compressor cases and rotor paths.
Remove the eight slave nuts and bolts from the stage 8 rotor path ring HPC Ring Cases And Related Parts (72-41-21, 03-600) to stage 7 case HPC Ring Cases And Related Parts (72-41-21, 03-500) flange.
Put the stage 8 case HPC Ring Cases And Related Parts (72-41-21, 03-650) front flange down on to a clean work surface.
SUBTASK 72-41-20-440-152 Install the Stage 8 Case (Pre SBE 72-0343)
SBE 72-0441: Deletion of retaining vanes.
Pre SBE 72-0343: Install the four stage 8 stop vanes in to the stage 8 rotor path ring HPC Ring Cases And Related Parts (72-41-21, 03-600), at the stage 8 stator vane stops HPC Ring Cases And Related Parts (72-41-21, 03-640). Engage the vanes in the stage 8 front liner HPC Ring Cases And Related Parts (72-41-21, 03-590). Make sure the stage 8 stator vane stops are engaged in the slots in the stage 8 stop vane platforms.
SBE 72-0343: Install the four stage 8 stop vanes in to the stage 8 rotor path case assembly HPC Ring Cases And Related Parts (72-41-21, 03-500), at the stage 8 stator vane stops HPC Ring Cases And Related Parts (72-41-21, 03-640). Engage the vanes in the stage 8 front liner HPC Ring Cases And Related Parts (72-41-21, 03-590). Make sure the stage 8 stator vane stops are engaged in the slots in the stage 8 stop vane platforms.
Install the stage 8 stop vanes HPC Stator Vanes (72-41-22, 03-350).
Install one stage 8 stator vane HPC Stator Vanes (72-41-22, 03-400).
Install one stage 8 stator vane HPC Stator Vanes (72-41-22, 03-448).
Install one stage 8 stator vane HPC Stator Vanes (72-41-22, 03-400).
Install one stage 8 undersize stator vane HPC Stator Vanes (72-41-22, 03-450).
Install three stage 8 stator vanes HPC Stator Vanes (72-41-22, 03-400).
Install one stage 8 stator vane HPC Stator Vanes (72-41-22, 03-448).
Install one stage 8 stator vane HPC Stator Vanes (72-41-22, 03-400).
Install one stage 8 undersize stator vane HPC Stator Vanes (72-41-22, 03-450).
Install three stage 8 stator vanes HPC Stator Vanes (72-41-22, 03-400).
Install one stage 8 stator vane HPC Stator Vanes (72-41-22, 03-448).
Install three stage 8 stator vanes HPC Stator Vanes (72-41-22, 03-400).
Install one stage 8 undersize stator vane HPC Stator Vanes (72-41-22, 03-450).
Install one stage 8 stator vane HPC Stator Vanes (72-41-22, 03-400).
Install one stage 8 stator vane HPC Stator Vanes (72-41-22, 03-448).
Install the stage 8 stator vanes between the two stage 8 stop vanes at the 12 and 3 o'clock positions. Refer to the detail C on Figure. Use the subsequent sequence.
Install the stage 8 stator vanes between the two stage 8 stop vanes at the 6 and 9 o'clock positions, and between the two stage 8 stop vanes at the 9 and 12 o'clock positions. Refer to the detail C on Figure. Use the sequence given in step (3).
Install two stage 8 stator vanes HPC Stator Vanes (72-41-22, 03-400).
NOTE
Make sure the borescope access hole in the stage 8 case and intrascope vanes hole are aligned.Install RH and LH stage 8 intrascope vanes HPC Stator Vanes (72-41-22, 03-250 and HPC Stator Vanes03-200).
Install one stage 8 stator vane HPC Stator Vanes (72-41-22, 03-400).
Install one stage 8 stator vane HPC Stator Vanes (72-41-22, 03-448).
Install one stage 8 undersize stator vane HPC Stator Vanes (72-41-22, 03-450).
Install two stage 8 stator vanes HPC Stator Vanes (72-41-22, 03-400).
Install one stage 8 stator vane HPC Stator Vanes (72-41-22, 03-448).
Install two stage 8 stator vanes HPC Stator Vanes (72-41-22, 03-400).
Install one stage 8 undersize stator vane HPC Stator Vanes (72-41-22, 03-450).
Install one stage 8 stator vane HPC Stator Vanes (72-41-22, 03-400).
Install one stage 8 stator vane HPC Stator Vanes (72-41-22, 03-448).
Install two stage 8 stator vanes HPC Stator Vanes (72-41-22, 03-400).
Install one stage 8 undersize stator vane HPC Stator Vanes (72-41-22, 03-450).
Install one stage 8 stator vane HPC Stator Vanes (72-41-22, 03-400).
Install one stage 8 stator vane HPC Stator Vanes (72-41-22, 03-448).
Install the stage 8 stator vanes between the two stage 8 stop vanes at the 3 and 6 o'clock positions. Refer to detail D on Figure. Use the subsequent sequence.
Install IAE 1R18213 Alignment checking pin 1 off through the stage 8 case borescope hole. Make sure the alignment checking pin easily goes in to the intrascope vanes hole.
Install the stage 8 stator vanes.
SUBTASK 72-41-20-440-153 Install the Stage 8 Stator Vanes (Pre SBE 72-0441 and SBE 72-0441)
Refer to Figure.
Put the stage 9 rotor path case assembly HPC Ring Cases And Related Parts HPC Ring Cases And Related Parts (72-41-21, 03-650) front flange down on to a clean work surface.
Install the stage 9 rotor path case assembly on to the stage 8 rotor path case assembly. Engage the stage 8 stator vanes rear platform in the liner in the stage 9 rotor path case assembly. Align the dowel hole in the stage 9 rotor path case assembly front flange with the location dowel in the stage 8 rotor path case assembly.
Measure and write down a record of the clearance at Location 1128. The clearance must be 0.0130 in. to 0.0288 in. (0.331 mm to 0.731 mm). Refer to Figure.
SUBTASK 72-41-20-440-191 Install the Stage 8 Rotor Path Case Assembly to the Stage 9 Rotor Path Case Assembly (SBE 72-0343)
Install the heating blanket on to the stage 8 case HPC Ring Cases And Related Parts (72-41-21, 03-650).
Align the location dowel hole in the stage 9 rotor path ring HPC Ring Cases And Related Parts (72-41-21, 03-750) with the location dowel in the stage 8 case.
Measure and write down a record of the clearance at Location 1128. The clearance must be 0.0130 in. to 0.0288 in. (0.331 mm to 0.731 mm). Refer to Figure.
SUBTASK 72-41-20-440-154 Install the Stage 9 Rotor Path Ring (Pre SBE 72-0343)
Refer to Figure.
SUBTASK 72-41-20-440-155 Measure the Interplatform Clearances
Pre SBE 72-0343:Remove the eight slave nuts and bolts which attach the stage 9 rotor path ring HPC Ring Cases And Related Parts (72-41-21, 03-750) to the stage 8 case HPC Ring Cases And Related Parts (72-41-21, 03-650).
SBE 72-0343:Remove the eight slave nuts and bolts which attach the stage 9 rotor path case assembly HPC Ring Cases And Related Parts (72-41-21, 03-650) to the stage 8 rotor path case assembly HPC Ring Cases And Related Parts (72-41-21, 03-500).

WARNING
YOU MUST PUT ON THE CORRECT PROTECTIVE GLOVES BEFORE YOU TOUCH THE STAGE 9 ROTOR PATH RING.Install the pins of the IAE 1R18240 Extractor 3 off in the extraction holes in the rear flange of the stage 8 case. Refer to extractor detail on C on Figure.
Pre SBE 72-0343: Remove the stage 9 rotor path ring.

WARNING
YOU MUST PUT ON THE CORRECT PROTECTIVE GLOVES BEFORE YOU TOUCH THE STAGE 9 ROTOR PATH CASE ASSEMBLY.Install the pins of the IAE 1R18240 Extractor 3 off in the extraction holes in the rear flange of the stage 8 rotor path case assembly. Refer to extractor detail on C on Figure.
SBE 72-0343: Remove the stage 9 rotor path case assembly.

CAUTION
UNDERSIZE VANES MUST NOT BE INSTALLED ADJACENT TO THE STOP VANES, THE RETAINING VANES, THE INTRASCOPE VANES OR OTHER UNDERSIZE VANES.
CAUTION
UNDERSIZE VANES MUST NOT BE INSTALLED BETWEEN THE STAGE 8 INTRASCOPE VANES HPC Stator Vanes (72-41-22, 03-200 AND HPC Stator Vanes03-250) AND THE STAGE 8 STOP VANE AT THE 6 O'CLOCK POSITION.Remove the stage 8 stator vanes HPC Stator Vanes (72-41-22, 03-448) and install the stage 8 vanes as necessary. One stage 8 undersize vanes will give an increase or decrease in the interplatform clearance of 0.016 in. (0.40 mm).
Pre SBE 72-0343: Install the stage 9 rotor path ring as given in Step.
SBE 72-0343: Install the stage 9 rotor path case assembly as given in Step.
Measure and write down a record of the interplatform clearances at the stage 8 stop vanes as given in Step.
SUBTASK 72-41-20-440-156 Install the Stage 8 Undersize Vanesand
NOTE
To get the specified interplatform clearance at the four stage 8 stop vanes HPC Stator Vanes (72-41-22, 03-350), use the stage 8 undersize vanes HPC Stator Vanes (72-41-22, 03-450) or stage 8 stator vanes HPC Stator Vanes (72-41-22, 03-448) as necessary.A maximum of seven undersize vanes can be used between the two adjacent stop vanes. These must be set at equal distances between the stop vanes.Refer to Figure.
Pre SBE 72-0343: Install the 28 flange D-headed bolts HPC Assembly (72-41-00, 01-572) and nuts HPC Assembly (72-41-00, 01-570). Install the bolts from the stage 7 case HPC Ring Cases And Related Parts (72-41-21, 03-500) rear flange at the position A on Figure. Torque the nuts in the correct sequence to 36 lbfin to 45 lbfin (4.00 Nm to 5.00 Nm).
SBE 72-0343: Install the 28 flange D-headed bolts HPC Assembly (72-41-00, 01-572) and nuts HPC Assembly (72-41-00, 01-570). Install the bolts from the stage 8 rotor path case assembly HPC Ring Cases And Related Parts (72-41-21, 03-500) rear flange at the position A on Figure. Torque the nuts in the correct sequence to 36 lbfin to 45 lbfin (4.00 Nm to 5.00 Nm).
Pre SBE 72-0343: Install the 10 bolts HPC Assembly (72-41-00, 01-564) to attach the stage 7 rear heatshield to the stage 7 case.
SBE 72-0343: Install the 10 bolts HPC Assembly (72-41-00, 01-564) to attach the stage 7 rear heatshield to the stage 8 rotor path case assembly.
Install the stage 7 rear heatshield HPC Ring Cases And Related Parts (72-41-21, 03-880).
Measure and write down a record of the clearance at Location 1162. This must be 0.004 in. to 0.024 in. (0.10 mm to 0.60 mm). Refer to Figure.
SUBTASK 72-41-20-440-157 Install the Stage 7 Rear Heatshield
Figure: Pre SBE 72-0343: View Through the HP Compressor Rear Cases and Vanes
Sheet 1

Figure: SBE 72-0343: View Through the HP Compressor Rear Cases and Vanes
Sheet 2

Figure: The Locations for the Fits and Clearances
Sheet 1

Figure: Locations for the Fits and Clearances
Sheet 2

Figure: Install the Stage 8 Stator Vane Front and Rear Liners and the Stage 9 Stator Vane Front Liner
Sheet 1

Figure: Install the Stage 8 Stator Vane Front And Rear Liners and the Stage 9 Stator Vane Liner
Sheet 2

Figure: Install the Stage 8 Stator Vane Stops
Install the Stage 8 Stator Vane Stops

Figure: Install the Stage 8 Stator Vanes
Sheet 1

Figure: Install the Stage 8 Stator Vanes
Sheet 2

Figure: Install the Stage 8 Stator Vanes
Sheet 3

Figure: Measure the Stator Vane Interplatform Clearances
Measure the Stator Vane Interplatform Clearances

Figure: Remove the Stage 9 Rotor Path Ring
Remove the Stage 9 Rotor Path Ring

Figure: Install the Stage 7 Rear Heatshield
Install the Stage 7 Rear Heatshield

