Export Control
EAR Export Classification: Not subject to the EAR per 15 C.F.R. Chapter 1, Part 734.3(b)(3), except for the following Service Bulletins which are currently published as EAR Export Classification 9E991: SBE70-0992, SBE72-0483, SBE72-0580, SBE72-0588, SBE72-0640, SBE73-0209, SBE80-0024 and SBE80-0025.Copyright
© IAE International Aero Engines AG (2001, 2014 - 2021) The information contained in this document is the property of © IAE International Aero Engines AG and may not be copied or used for any purpose other than that for which it is supplied without the express written authority of © IAE International Aero Engines AG. (This does not preclude use by engine and aircraft operators for normal instructional, maintenance or overhaul purposes.).Applicability
V2500-A5
Common Information
TASK 72-41-20-440-004-B00 HPC Rear Cases And Vanes Assembly - Assemble The HPC Stage 10 Stator Vanes To The Cases, Assembly-004
General
Fig./item numbers in parentheses in the procedure agree with those used in the IPC. Only the primary Fig./item numbers are used. For the Service Bulletin alpha variants refer to the IPC.
For all parts identified in a different Chapter/Section/Subject the applicable Chapter/Section/Subject comes before the Fig./item number.
For standard torque data and procedures refer to the SPM TASK 70-41-00-400-501, SPM TASK 70-41-01-400-501, and SPM TASK 70-41-02-410-501.
Special torque data and assembly tolerances are included in the procedure.
Lubricate all threads and abutment faces of nuts and bolts with CoMat 10-077A APPROVED ENGINE OIL unless other lubricants are referred to in the procedure.
After assembly apply CoMat 07-038 AIR DRYING ENAMEL to any damaged surface protection, joint flanges and parts used to attach. Use the correct color of the air drying enamel. Refer to the SPM TASK 70-63-02-380-501.
The number for each radial location must be identified in a clockwise direction. These start at the engine top position when you look from the rear of the engine, unless stated differently in the procedure.
Make sure all the flange faces and tool faces that touch are very clean.
The Fits and Clearances, NEW PART DIMENSIONS and REJECT IF MORE THAN columns will be used by most operators. This permits the full use of the maximum wear allowance and a reduction in the number of parts which are rejected, is possible.
The column WORN PART DIMENSIONS (Non-select) is included for operators who want to have full interchangeability. If this column is used an increase in the number of parts which are rejected is possible.
After the part has been in service for some time the REJECT IF MORE THAN and WORN PART DIMENSIONS could be changed. The operator must tell IAE and if agreed the manual will be changed.
The abbreviation Intf shows an interference or tight fit. This causes REJECT IF MORE THAN to become REJECT IF LESS THAN.
The abbreviation clear shows a clearance fit.
This TASK gives the procedures to assemble the HP compressor stage 10 case, the vanes, the liners and the stator vane stops. The subsequent TASKs give the procedures to assemble the remaining HP compressor rear cases and vanes:
TASK 72-41-20-440-001-B00 (ASSEMBLY-001, CONFIG-002) Assemble the HP Compressor Stage 7 Cases and Stator Vanes,
TASK 72-41-20-440-002-B00 (ASSEMBLY-002, CONFIG-002) Assemble the HP Compressor Stage 8 Stator Vanes,
TASK 72-41-20-440-003-B00 (ASSEMBLY-003, CONFIG-002) Assemble the HP Compressor Stage 9 Stator Vanes,
TASK 72-41-20-440-005-B00 (ASSEMBLY-005, CONFIG-002) Assemble the HP Compressor Stage 11 Stator Vanes,
TASK 72-41-20-440-006-B00 (ASSEMBLY-006, CONFIG-002) Machine the Stator Vane Tips and the Rotor Path Ring Liners,
TASK 72-41-20-440-007-B00 (ASSEMBLY-007, CONFIG-002) Disassemble the HP Compressor Rear Cases and Vanes.
NOTE
NOTE
Preliminary Requirements
Pre-Conditions
NONESupport Equipment
| Name | Manufacturer | Part Number / Identification | Quantity | Remark |
|---|---|---|---|---|
| Heating blanket | LOCAL | Heating blanket | ||
| IAE 1R18635 Spanner wrench | 0AM53 | IAE 1R18635 | 1 | |
| IAE 1R18636 Spanner Wrench | 0AM53 | IAE 1R18636 | 1 | |
| IAE 1R18637 Spanner Wrench | 0AM53 | IAE 1R18637 | 1 | |
| IAE 1R18827 Extractor | 0AM53 | IAE 1R18827 | 1 | |
| IAE 1R18864 Stop aligning tool | 0AM53 | IAE 1R18864 | 1 | |
| IAE 1R19692 Assembly tool | 0AM53 | IAE 1R19692 | 1 |
Consumables, Materials and Expendables
| Name | Manufacturer | Part Number / Identification | Quantity | Remark |
|---|---|---|---|---|
| CoMat 07-038 AIR DRYING ENAMEL | k3504 | CoMat 07-038 | ||
| CoMat 10-077A APPROVED ENGINE OIL | LOCAL | CoMat 10-077A |
Safety Requirements
NONEProcedure
Refer to Figure.
Reference dimensions at Location 1159. If required use the data written as a Note in TASK 72-41-21-200-000.
Table 1. Fits and Clearances (all dimensions are in inches) NEW PART
WORN PART
DIMENSIONS
DIMENSIONS
PART IDENT
Size
Clearance
(Non-select)
REJECT IF
MORE THAN
LOCATION 1159
Stage 10 Stator Vane Stop HPC Ring Cases And Related Parts (72-41-21, 04-330)
Location In The Stage 10 Case HPC Ring Cases And Related Parts (72-41-21, 04-350)
Stage 10 Stator Vane Stop Shank Diameter
0.1872
0.1892
0.0067
Stage 10 Case Stop Location Bore
0.1959
0.0126
0.1998
Table 2. Fits and Clearances (all dimensions are in millimeters) NEW PART
WORN PART
DIMENSIONS
DIMENSIONS
PART IDENT
Size
Clearance
(Non-select)
REJECT IF
MORE THAN
LOCATION 1159
Stage 10 Stator Vane Stop HPC Ring Cases And Related Parts (72-41-21, 04-330)
Location In The Stage 10 Case HPC Ring Cases And Related Parts (72-41-21, 04-350)
Stage 10 Stator Vane Stop Shank Diameter
4.755
4.805
0.170
Stage 10 Case Stop Location Bore
4.975
0.320
5.075
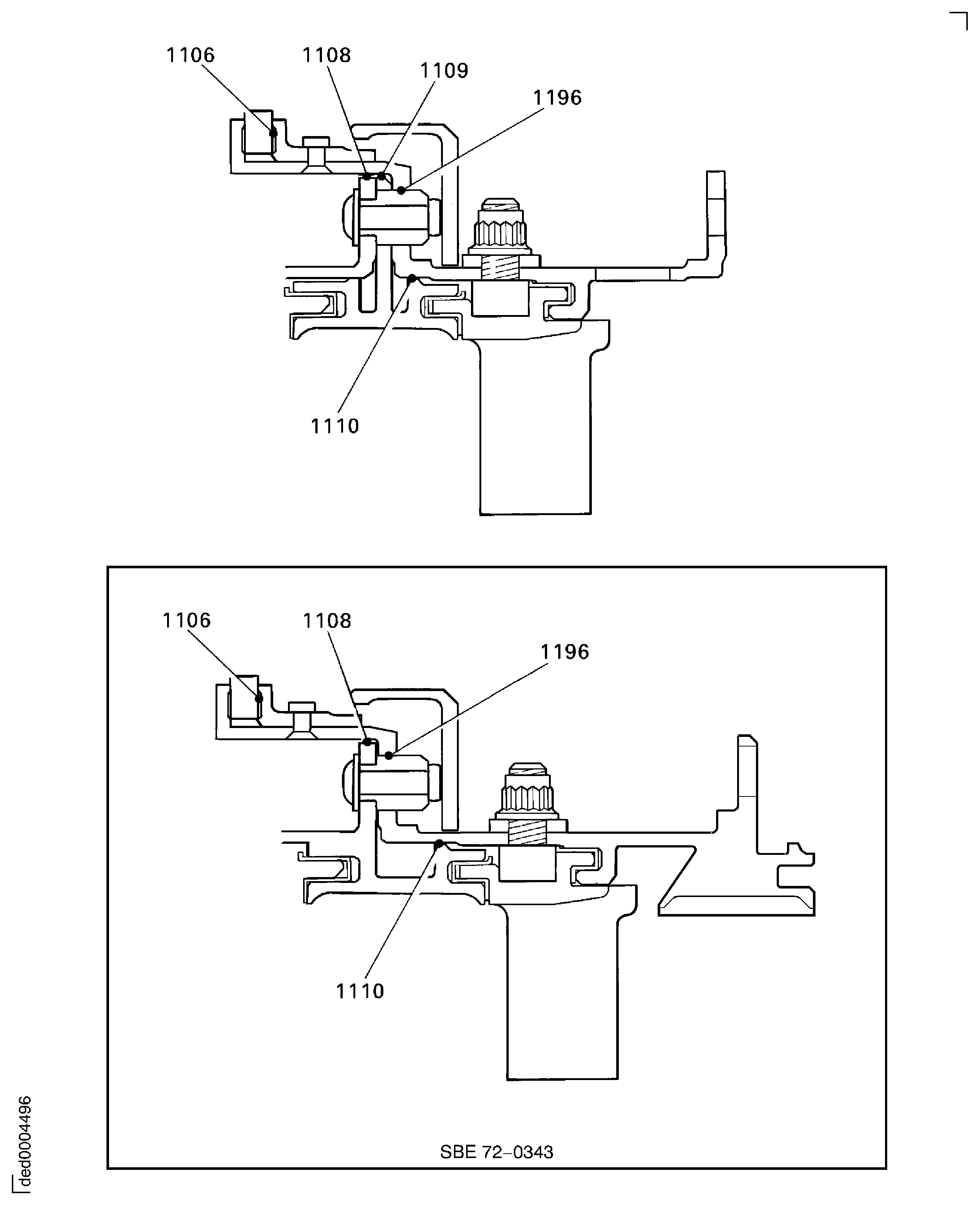
SUBTASK 72-41-20-220-193 Reference Fits and Clearances of the HP Compressor Rear Cases and Vanes at Location 1159
Refer to Figure
Reference dimensions at Location 1108. If required use the data written as a Note in TASK 72-41-21-200-000.
Table 3. Fits and Clearances (all dimensions are in inches) NEW PART
WORN PART
DIMENSIONS
DIMENSIONS
PART IDENT
Size
Clearance
(Non-select)
REJECT IF
MORE THAN
LOCATION 1108
Stage 9 Case HPC Ring Cases And Related Parts (72-41-21, 03-800)
Location With The Stage 10 Case HPC Ring Cases And Related Parts (72-41-21, 04-350)
Stage 9 Case Outer Diameter
22.476
22.481
0.02
Stage 10 Case Flange Location Bore
22.501
0.034
22.510
Table 4. Fits and Clearances (all dimensions are in millimeters) NEW PART
WORN PART
DIMENSIONS
DIMENSIONS
PART IDENT
Size
Clearance
(Non-select)
REJECT IF
MORE THAN
LOCATION 1108
Stage 9 Case HPC Ring Cases And Related Parts (72-41-21, 03-800)
Location With The Stage 10 Case HPC Ring Cases And Related Parts (72-41-21, 04-350)
Stage 9 Case Outer Diameter
570.9
571.01
0.540
Stage 10 Case Flange Location Bore
571.55
0.85
571.75
SUBTASK 72-41-20-220-194-A00 References Fits and Clearances of the HP Compressor Rear Cases and Vanes at Location 1108 (Pre SBE 72-0343)
Refer to Figure
SBE 72-0343: Engine - HP Compressor ring cases - Introduction of integral HP Compressor cases and rotor paths.
Reference dimensions at Location 1108. If required use the data written as a Note in TASK 72-41-21-200-000.
Table 5. Fits and Clearances (all dimensions are in inches) NEW PART
WORN PART
DIMENSIONS
DIMENSIONS
PART IDENT
Size
Clearance
(Non-select)
REJECT IF
MORE THAN
LOCATION 1108
Stage 10 Rotor Path Case Assembly HPC Ring Cases And Related Parts (72-41-21, 03-800)
Location With The Stage 11 Rotor Path Case Assembly HPC Ring Cases And Related Parts (72-41-21, 04-350)
Stage 10 Rotor Path Case Assembly Outer Diameter
22.4764
22.4843
0.0472
Stage 11 Rotor Path Case Assembly Flange Location Bore
22.5236
0.0315
22.5157
Table 6. Fits and Clearances (all dimensions are in millimeters) NEW PART
WORN PART
DIMENSIONS
DIMENSIONS
PART IDENT
Size
Clearance
(Non-select)
REJECT IF
MORE THAN
LOCATION 1108
Stage 10 Rotor Path Case Assembly HPC Ring Cases And Related Parts (72-41-21, 03-800)
Location with the stage 11 rotor path case assembly HPC Ring Cases And Related Parts (72-41-21, 04-350)
Stage 10 Rotor Path Case Assembly Outer Diameter
570.90
571.10
1.20
Stage 11 Rotor Path Case Assembly Flange Location Bore
572.10
0.80
571.90
SUBTASK 72-41-20-220-194-B00 References Fits and Clearances of the HP Compressor Rear Cases and Vanes at Location 1108 (SBE 72-0343)
Refer to Figure
Reference dimensions at Location 1109. If required use the data written as a Note in TASK 72-41-21-200-000.
Table 7. Fits and Clearances (all dimensions are in inches) NEW PART
WORN PART
DIMENSIONS
DIMENSIONS
PART IDENT
Size
Clearance
(Non-select)
REJECT IF
MORE THAN
LOCATION 1109
Stage 10 Rotor Path Ring HPC Ring Cases And Related Parts (72-41-21, 04-300)
Location With The Stage 10 Case HPC Ring Cases And Related Parts (72-41-21, 04-350)
Stage 10 Rotor Path Ring Outer Diameter
22.480
22.481
0.035
Stage 10 Case Front Bore
22.516
0.044
22.524
Table 8. Fits and Clearances (all dimensions are in millimeters) NEW PART
WORN PART
DIMENSIONS
DIMENSIONS
PART IDENT
Size
Clearance
(Non-select)
REJECT IF
MORE THAN
LOCATION 1109
Stage 10 Rotor Path Ring HPC Ring Cases And Related Parts (72-41-21, 04-300)
Location With The Stage 10 Case HPC Ring Cases And Related Parts (72-41-21, 04-350)
Stage 10 Rotor Path Ring Outer Diameter
570.99
571.01
0.89
Stage 10 Case Front Bore
571.9
1.11
572.1
SUBTASK 72-41-20-220-195 Reference Fits and Clearances of the HP Compressor Rear Cases and Vanes at Location 1109 (Pre SBE 72-0343)
Refer to Figure.
Reference dimensions at Location 1110. If required use the data written as a Note in TASK 72-41-21-200-000.
Table 9. Fits and Clearances (all dimensions are in inches) NEW PART
WORN PART
DIMENSIONS
DIMENSIONS
PART IDENT
Size
Clearance
(Non-select)
REJECT IF
MORE THAN
LOCATION 1110
Stage 10 Rotor Path Ring HPC Ring Cases And Related Parts (72-41-21, 04-300)
Location With The Stage 10 Case HPC Ring Cases And Related Parts (72-41-21, 04-350)
Stage 10 Rotor Path Ring Rear Flange Outer Diameter
21.350
Intf
21.355
0.010
Stage 10 Case Front Bore
21.345
0.002
21.348
Table 10. Fits and Clearances (all dimensions are in millimeters) NEW PART
WORN PART
DIMENSIONS
DIMENSIONS
PART IDENT
Size
Clearance
(Non-select)
REJECT IF
MORE THAN
LOCATION 1110
Stage 10 Rotor Path Ring HPC Ring Cases And Related Parts (72-41-21, 04-300)
Location With The Stage 10 Case HPC Ring Cases And Related Parts (72-41-21, 04-350)
Stage 10 Rotor Path Ring Rear Flange Outer Diameter
542.29
Intf
542.42
0.26
Stage 10 Case Front Bore
542.16
0.05
542.24
SUBTASK 72-41-20-220-196-A00 Reference Fits and Clearances of the HP Compressor Rear Cases and Vanes at Location 1110 (Pre SBE 72-0343)
SBE 72-0343: Engine - HP Compressor ring cases - Introduction of integral HP Compressor cases and rotor paths.
Refer to Figure.
Reference dimensions at Location 1110. If required use the data written as a Note in TASK 72-41-21-200-000.
Table 11. Fits and Clearances (all dimensions are in inches) NEW PART
WORN PART
DIMENSIONS
DIMENSIONS
PART IDENT
Size
Clearance
(Non-select)
REJECT IF
MORE THAN
LOCATION 1110
Stage 10 Rotor Path Case Assembly HPC Ring Cases And Related Parts (72-41-21, 03-800)
Location With The Stage 11 Rotor Path Case Assembly HPC Ring Cases And Related Parts (72-41-21, 04-350)
Stage 10 Rotor Path Case Assembly Rear Flange Outer Diameter
21.350
Intf
21.355
0.010
Stage 11 Rotor Path Case Assembly Front Bore
21.345
0.002
21.348
Table 12. Fits and Clearances (all dimensions are in millimeters) NEW PART
WORN PART
DIMENSIONS
DIMENSIONS
PART IDENT
Size
Clearance
(Non-select)
REJECT IF
MORE THAN
LOCATION 1110
Stage 10 Rotor Path Case Assembly HPC Ring Cases And Related Parts (72-41-21, 03-800)
Location With The Stage 11 Rotor Path Case Assembly HPC Ring Cases And Related Parts (72-41-21, 04-350)
Stage 11 Rotor Path Case Assembly Rear Flange Outer Diameter
542.29
Intf
542.42
0.26
Stage 11 Rotor Path Case Assembly Front Bore
542.16
0.05
542.24
SUBTASK 72-41-20-220-196-B00 Reference Fits and Clearances of the HP Compressor Rear Cases and Vanes at Location 1110 (SBE 72-0343)
Refer to Figure.
Reference dimensions at Location 1196. If required use the data written as a Note in TASK 72-41-21-200-000.
Table 13. Fits and Clearances (all dimensions are in inches) NEW PART
WORN PART
DIMENSIONS
DIMENSIONS
PART IDENT
Size
Clearance
(Non-select)
REJECT IF
MORE THAN
LOCATION 1196
Stage 10 Case HPC Ring Cases And Related Parts (72-41-21, 04-350)
Location With The Stage 9 Case Location Dowel HPC Ring Cases And Related Parts (72-41-21, 03-825)
Stage 10 Case Location Dowel Hole Bore
0.315
0.316
0.010
Stage 9 Case Location Dowel Outer Diameter
0.303
0.013
0.305
Table 14. Fits and Clearances (all dimensions are in millimeters) NEW PART
WORN PART
DIMENSIONS
DIMENSIONS
PART IDENT
Size
Clearance
(Non-select)
REJECT IF
MORE THAN
LOCATION 1196
Stage 10 Case HPC Ring Cases And Related Parts (72-41-21, 04-350)
Location With The Stage 9 Case Location Dowel HPC Ring Cases And Related Parts (72-41-21, 03-825)
Stage 10 Case Location Dowel Hole Bore
8.000
8.022
0.250
Stage 9 Case Location Dowel Outer Diameter
7.700
0.322
7.750
SUBTASK 72-41-20-220-197-A00 Reference Fits and Clearances of the HP Compressor Rear Cases and Vanes at Location 1196 (Pre SBE 72-0343)
SBE 72-0343: Engine - HP Compressor ring cases - Introduction of integral HP Compressor cases and rotor paths.
Refer to Figure.
Reference dimensions at Location 1196. If required use the data written as a Note in TASK 72-41-21-200-000.
Table 15. Fits and Clearances (all dimensions are in inches) NEW PART
WORN PART
DIMENSIONS
DIMENSIONS
PART IDENT
Size
Clearance
(Non-select)
REJECT IF
MORE THAN
LOCATION 1196
Stage 11 Rotor Path Case Assembly HPC Ring Cases And Related Parts (72-41-21, 04-350)
Location With The Stage 10 Rotor Path Case Assembly Location Dowel HPC Ring Cases And Related Parts (72-41-21, 03-825)
Stage 11 Rotor Path Case Assembly Location Dowel Hole Bore
0.315
0.316
0.010
Stage 10 Rotor Path Case Assembly Location Dowel Outer Diameter
0.303
0.013
0.305
Table 16. Fits and Clearances (all dimensions are in millimeters) NEW PART
WORN PART
DIMENSIONS
DIMENSIONS
PART IDENT
Size
Clearance
(Non-select)
REJECT IF
MORE THAN
LOCATION 1196
Stage 11 Rotor Path Case Assembly HPC Ring Cases And Related Parts (72-41-21, 04-350)
Location With The Stage 10 Rotor Path Case Assembly Location Dowel HPC Ring Cases And Related Parts (72-41-21, 03-825)
Stage 11 Rotor Path Case
Assembly Location Dowel Hole Bore
8.000
8.022
0.250
Stage 10 Rotor Path Case Assembly Location Dowel Outer Diameter
7.700
0.322
7.750
SUBTASK 72-41-20-220-197-B00 Reference Fits and Clearances of the HP Compressor Rear Cases and Vanes at Location 1196 (SBE 72-0343)
Refer to Figure.
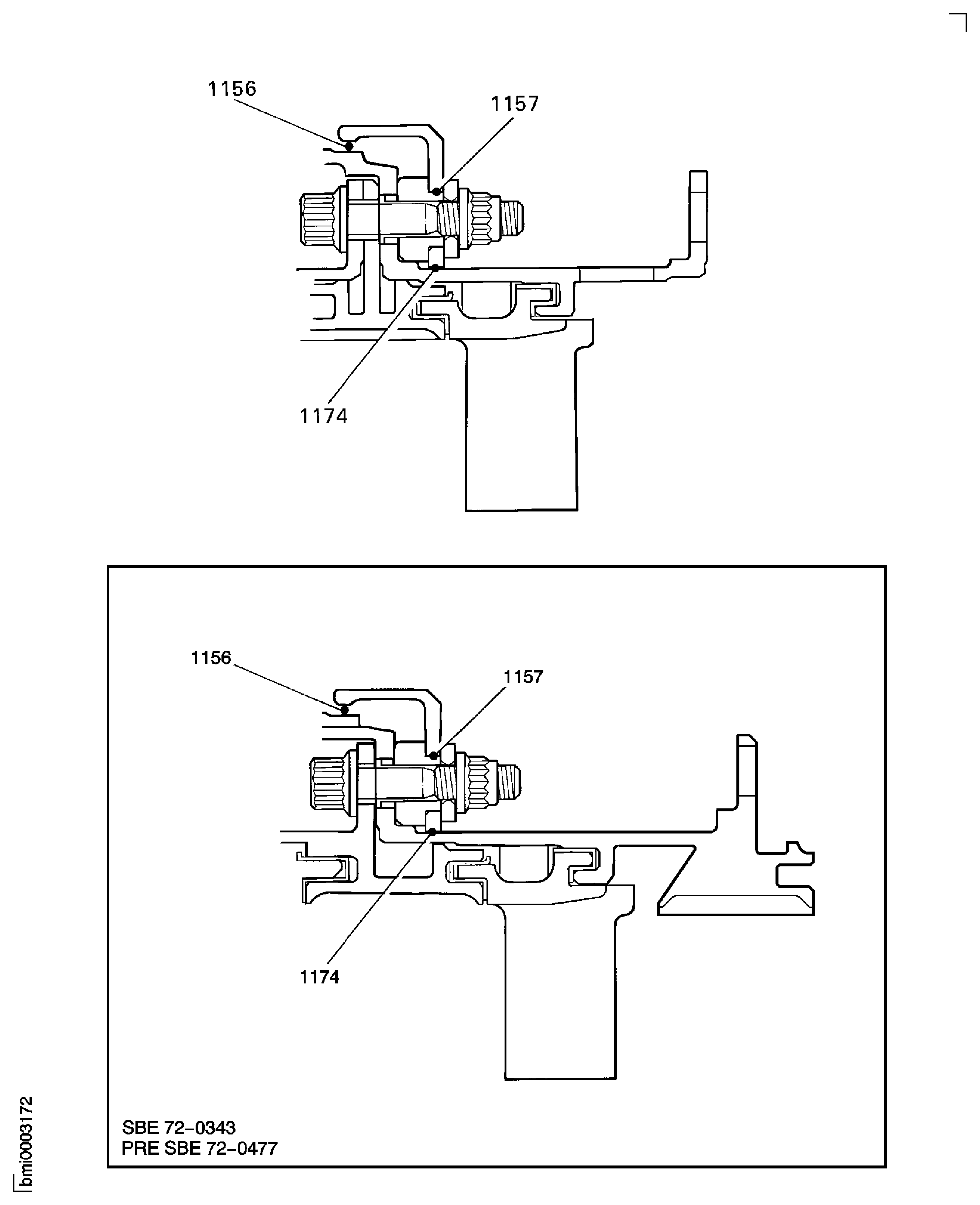
Reference dimensions at Location 1156. If required use the data written as a Note in TASK 72-41-21-200-000.
Table 17. Fits and Clearances (all dimensions are in inches) NEW PART
WORN PART
DIMENSIONS
DIMENSIONS
PART IDENT
Size
Clearance
(Non-select)
REJECT IF
MORE THAN
LOCATION 1156
Stage 10 Case HPC Ring Cases And Related Parts (72-41-21, 04-350)
Location With The Stage 10 Front Heatshield HPC Ring Cases And Related Parts (72-41-21, 04-500)
Stage 10 Case Outer Diameter
22.784
22.807
0.004
Stage 10 Front Heatshield Bore When Assembled
22.811
0.051
22.835
Table 18. Fits and Clearances (all dimensions are in millimeters) NEW PART
WORN PART
DIMENSIONS
DIMENSIONS
PART IDENT
Size
Clearance
(Non-select)
REJECT IF
MORE THAN
LOCATION 1156
Stage 10 Case HPC Ring Cases And Related Parts (72-41-21, 04-350)
Location With The Stage 10 Front Heatshield HPC Ring Cases And Related Parts (72-41-21, 04-500)
Stage 10 Case Outer Diameter
578.70
579.30
0.10
Stage 10 Front Heatshield Bore When Assembled
579.40
1.30
580.00
SUBTASK 72-41-20-220-198-A00 Reference Fits and Clearances of the HP Compressor Rear Cases and Vanes at Location 1156 (Pre SBE 72-0343 and Pre SBE 72-0477)
SBE 72-0343: Engine - HP compressor ring cases - Introduction of integral HP compressor cases and rotor paths.
Refer to Figure.
Reference dimensions at Location 1156. If required use the data written as a Note in TASK 72-41-21-200-000.
Table 19. Fits and Clearances (all dimensions are in inches) NEW PART
WORN PART
DIMENSIONS
DIMENSIONS
PART IDENT
Size
Clearance
(Non-select)
REJECT IF
MORE THAN
LOCATION 1156
Stage 11 Rotor Path Case Assembly HPC Ring Cases And Related Parts (72-41-21, 04-350)
Location With The Stage 10 Front Heatshield HPC Ring Cases And Related Parts (72-41-21, 04-500)
Stage 11 Rotor Path Case Assembly Outer Diameter
22.784
22.807
0.004
Stage 10 Front Heatshield Bore When Assembled
22.811
0.051
22.835
Table 20. Fits and Clearances (all dimensions are in millimeters) NEW PART
WORN PART
DIMENSIONS
DIMENSIONS
PART IDENT
Size
Clearance
(Non-select)
REJECT IF
MORE THAN
LOCATION 1156
Stage 11 Rotor Path Case Assembly HPC Ring Cases And Related Parts (72-41-21, 04-350)
Location With The Stage 10 Front Heatshield HPC Ring Cases And Related Parts (72-41-21, 04-500)
Stage 11 Rotor Path Case Assembly Outer Diameter
578.70
579.30
0.10
Stage 10 Front Heatshield Bore When Assembled
579.40
1.30
580.00
SUBTASK 72-41-20-220-198-B00 Reference Fits and Clearances of the HP Compressor Rear Cases and Vanes at Location 1156 (SBE 72-0343 and Pre SBE 72-0477)
Refer to Figure.
Reference dimensions at Location 1157. If required use the data written as a Note in TASK 72-41-21-200-000.
Table 21. Fits and Clearances (all dimensions are in inches) NEW PART
WORN PART
DIMENSIONS
DIMENSIONS
PART IDENT
Size
Clearance
(Non-select)
REJECT IF
MORE THAN
LOCATION 1157
Stage 10 Case Bush HPC Ring Cases And Related Parts (72-41-21, 03-514)
Location In The Stage 10 Front Heatshield HPC Ring Cases And Related Parts (72-41-21, 04-500)
Stage 10 Case Bush Diameter
0.3161
0.3164
0.0005
Stage 10 Front Heatshield Hole Bore
0.3169
0.0031
0.3192
Table 22. Fits and Clearances (all dimensions are in millimeters) NEW PART
WORN PART
DIMENSIONS
DIMENSIONS
PART IDENT
Size
Clearance
(Non-select)
REJECT IF
MORE THAN
LOCATION 1157
Stage 10 Case Bush HPC Ring Cases And Related Parts (72-41-21, 03-514)
Location In The Stage 10 Front Heatshield HPC Ring Cases And Related Parts (72-41-21, 04-500)
Stage 10 Case Bush Diameter
8.028
8.037
0.013
Stage 10 Front Heatshield Hole Bore
8.050
0.080
8.108
SUBTASK 72-41-20-220-199-A00 Reference Fits and Clearances of the HP Compressor Rear Cases and Vanes at Location 1157 (Pre SBE 72-0343 and Pre SBE 72-0477)
Refer to Figure.
Reference dimensions at Location 1157. If required use the data written as a Note in TASK 72-41-21-200-000.
Table 23. Fits and Clearances (all dimensions are in inches) NEW PART
WORN PART
DIMENSIONS
DIMENSIONS
PART IDENT
Size
Clearance
(Non-select)
REJECT IF
MORE THAN
LOCATION 1157
Stage 11 Rotor Path Case Assembly Bush HPC Ring Cases And Related Parts (72-41-21, 03-514)
Location In The Stage 10 Front Heatshield HPC Ring Cases And Related Parts (72-41-21, 04-500)
Stage 11 Rotor Path Case Assembly Bush Diameter
0.3161
0.3164
0.0005
Stage 10 Front Heatshield Hole Bore
0.3169
0.0031
0.3192
Table 24. Fits and Clearances (all dimensions are in millimeters) NEW PART
WORN PART
DIMENSIONS
DIMENSIONS
PART IDENT
Size
Clearance
(Non-select)
REJECT IF
MORE THAN
LOCATION 1157
Stage 11 Rotor Path Case Assembly Bush HPC Ring Cases And Related Parts (72-41-21, 03-514)
Location In The Stage 10 Front Heatshield HPC Ring Cases And Related Parts (72-41-21, 04-500)
Stage 11 Rotor Path Case Assembly Bush Diameter
8.028
8.037
0.013
Stage 10 Front Heatshield Hole Bore
8.050
0.080
8.108
SUBTASK 72-41-20-220-199-B00 Reference Fits and Clearances of the HP Compressor Rear Cases and Vanes at Location 1157 (SBE 72-0343 and Pre SBE 72-0477)
SBE 72-0343: Engine - HP compressor ring cases - Introduction of integral HP compressor cases and rotor paths.
Refer to Figure.
Reference dimensions at Location 1174. If required use the data written as a Note in TASK 72-41-21-200-000.
Table 25. Fits and Clearances (all dimensions are in inches) NEW PART
WORN PART
DIMENSIONS
DIMENSIONS
PART IDENT
Size
Clearance
(Non-select)
REJECT IF
MORE THAN
LOCATION 1174
Stage 10 Front Heatshield HPC Ring Cases And Related Parts (72-41-21, 04-500)
Location With The Stage 10 Case HPC Ring Cases And Related Parts (72-41-21, 04-350)
Stage 10 Front Heatshield Bore
21.4764
21.4882
0.0059
Stage 10 Case Diameter
21.4626
0.0256
21.4705
Table 26. Fits and Clearances (all dimensions are in millimeters) NEW PART
WORN PART
DIMENSIONS
DIMENSIONS
PART IDENT
Size
Clearance
(Non-select)
REJECT IF
MORE THAN
LOCATION 1174
Stage 10 Front Heatshield HPC Ring Cases And Related Parts (72-41-21, 04-500)
Location With The Stage 10 Case HPC Ring Cases And Related Parts (72-41-21, 04-350)
Stage 10 Front Heatshield Bore
545.50
545.80
0.15
Stage 10 Case Diameter
545.15
0.65
545.35
SUBTASK 72-41-20-220-200-A00 Reference Fits and Clearances of the HP Compressor Rear Cases and Vanes at Location 1174 (Pre SBE 72-0343 and Pre SBE 72-0477)
Refer to Figure.
Reference dimensions at Location 1174. If required use the data written as a Note in TASK 72-41-21-200-000.
Table 27. Fits and Clearances (all dimensions are in inches) NEW PART
WORN PART
DIMENSIONS
DIMENSIONS
PART IDENT
Size
Clearance
(Non-select)
REJECT IF
MORE THAN
LOCATION 1174
Stage 10 Front Heatshield HPC Ring Cases And Related Parts (72-41-21, 04-500)
Location With The Stage 11 Rotor Path Case Assembly HPC Ring Cases And Related Parts (72-41-21, 04-350)
Stage 10 Front Heatshield Bore
21.4764
21.4882
0.0059
Stage 11 Rotor Path Case
Assembly Diameter
21.4626
0.0256
21.4705
Table 28. Fits and Clearances (all dimensions are in millimeters) NEW PART
WORN PART
DIMENSIONS
DIMENSIONS
PART IDENT
Size
Clearance
(Non-select)
REJECT IF
MORE THAN
LOCATION 1174
Stage 10 Front Heatshield HPC Ring Cases And Related Parts (72-41-21, 04-500)
Location With The Stage 11 Rotor Path Case Assembly HPC Ring Cases And Related Parts (72-41-21, 04-350)
Stage 10 Front Heatshield Bore
545.50
545.80
0.15
Stage 11 Rotor Path Case Assembly Diameter
545.15
0.65
545.35
SUBTASK 72-41-20-220-200-B00 Reference Fits and Clearances of the HP Compressor Rear Cases and Vanes at Location 1174 (SBE 72-0343 and Pre SBE 72-0477)
SBE 72-0343: Engine - HP compressor ring cases - Introduction of integral HP compressor cases and rotor paths.
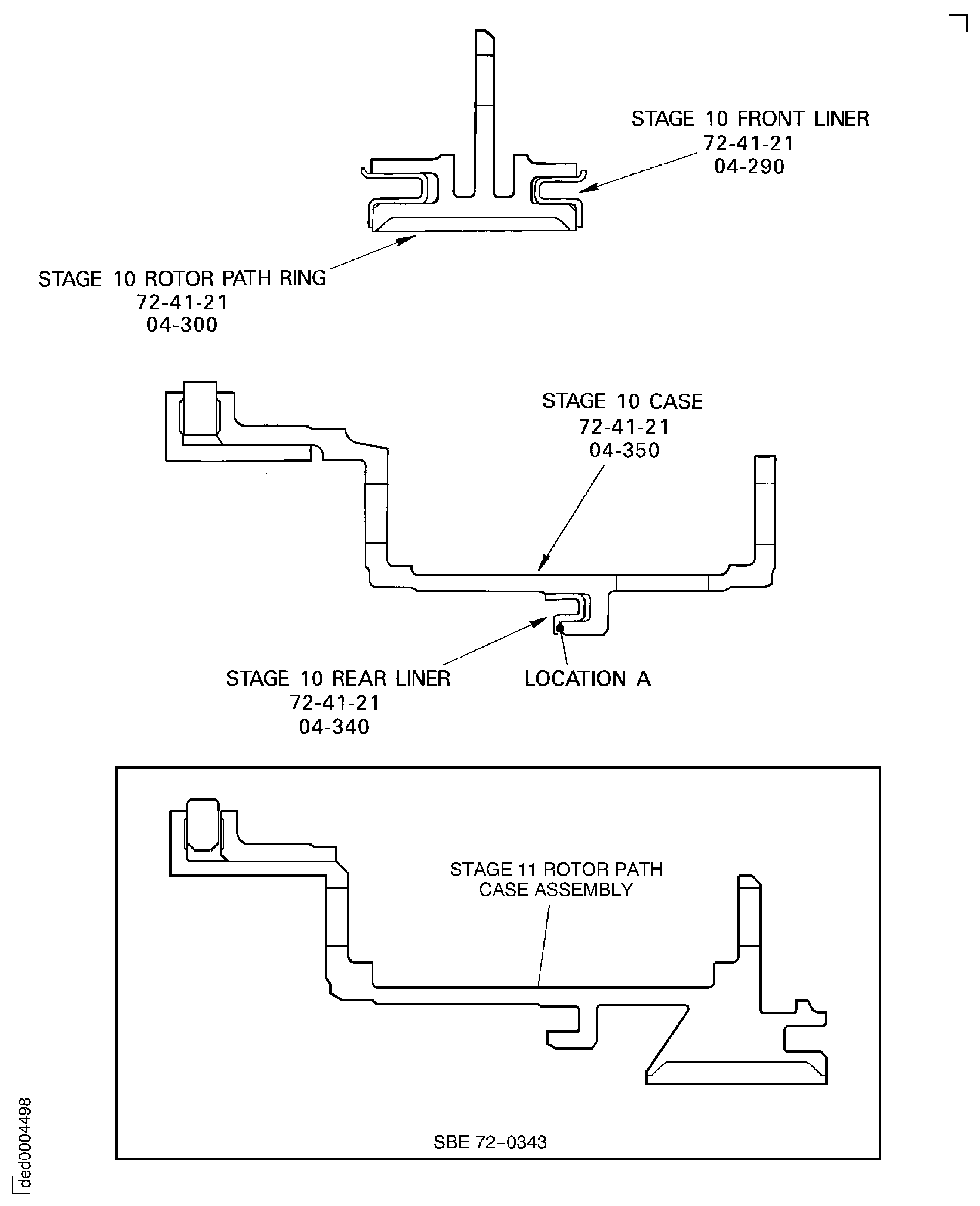
Use IAE 1R19692 Assembly tool 1 off to install the stage 10 rear liner. Make sure the liner touches the stage 10 case at Location A.
Pre SBE 72-0343: Install the new HPC Ring Cases And Related Parts (72-41-21, 04-340) stage 10 rear liner 1 off, in to the slot in the stage 10 case HPC Ring Cases And Related Parts (72-41-21, 04-350).
Use IAE 1R19692 Assembly tool 1 off to install the stage 10 rear liner. Make sure the liner touches the stage 10 case at Location A.
SBE 72-0343Install the new HPC Ring Cases And Related Parts (72-41-21, 04-340) stage 10 rear liner 1 off, in to the slot in the stage 11 rotor path case assembly HPC Ring Cases And Related Parts (72-41-21, 04-350).
SUBTASK 72-41-20-440-158 Install the Stage 10 Stator Vane Rear Liner (Pre SBE 72-0343 and SBE 72-0343)
Refer to Figure.
Use the IAE 1R18864 Stop aligning tool 1 off and align the stage 10 stator vane stop in the stage 10 case.
Install a washer HPC Ring Cases And Related Parts (72-41-21, 04-329) and a nut HPC Ring Cases And Related Parts (72-41-21, 04-328) on to the stage 10 stator vane stop.
Install the stage 10 stator vane stops HPC Ring Cases And Related Parts (72-41-21, 04-330) in the stage 10 case (72-41-20, 04-350).
SUBTASK 72-41-20-440-159 Install the Stator Vane Stops in the Stage 10 Case (Pre SBE 72-0343)
SBE 72-0343: Engine - HP Compressor ring cases - Introduction of integral HP Compressor cases and rotor paths.
Refer to Figure.
Use the IAE 1R18864 Stop aligning tool 1 off and align the stage 10 stator vane stop in the stage 11 rotor path case assembly.
Install a washer HPC Ring Cases And Related Parts (72-41-21, 04-329) and a nut HPC Ring Cases And Related Parts (72-41-21, 04-328) on to the stage 10 stator vane stop.
Install the stage 10 stator vane stops HPC Ring Cases And Related Parts (72-41-21, 04-330) in the stage 11 rotor path case assembly (72-41-20, 04-350).
SUBTASK 72-41-20-440-193 Install the Stator Vane Stops in the Stage 11 Rotor Path Case Assembly (SBE 72-0343)
Pre SBE 72-0343: Install the four stage 10 stop vanes in to the stage 10 rotor path ring at the stage 10 stator vane stops. Engage the vanes in the stage 10 front liner HPC Ring Cases And Related Parts (72-41-21, 04-290). Make sure the stage 10 stator vane stops are engaged in the slots in the stage 10 stop vanes.
SBE 72-0343: Install the four stage 10 stop vanes in to the stage 10 rotor path case assembly at the stage 10 stator vane stops. Engage the vanes in the stage 10 front liner HPC Ring Cases And Related Parts (72-41-21, 04-290). Make sure the stage 10 stator vane stops are engaged in the slots in the stage 10 stop vanes.
Install the stage 10 stop vanes HPC Stator Vanes (72-41-22, 05-350).
Pre SBE 72-0343: Install the vanes in a clockwise direction. Engage each of the vanes in the stage 10 rotor path ring. Make sure the platform of the first vane that is installed touches the platform of the stage 10 stop vane. Push each subsequent vane clockwise as it is installed until the vane platforms touch.
SBE 72-0343: Install the vanes in a clockwise direction. Engage each of the vanes in the stage 10 rotor path case assembly. Make sure the platform of the first vane that is installed touches the platform of the stage 10 stop vane. Push each subsequent vane clockwise as it is installed until the vane platforms touch.
Install five stage 10 stator vanes HPC Stator Vanes (72-41-22, 05-400).
Install one stage 10 undersize stator vane HPC Stator Vanes (72-41-22, 05-450).
Install four stage 10 stator vanes HPC Stator Vanes (72-41-22, 05-400).
Install one stage 10 stator vane HPC Stator Vanes (72-41-22, 05-448).
Install one stage 10 undersize stator vane HPC Stator Vanes (72-41-22, 05-450).
Install four stage 10 stator vanes HPC Stator Vanes (72-41-22, 05-400).
Install one stage 10 stator vane HPC Stator Vanes (72-41-22, 05-448).
Install one stage 10 undersize stator vane HPC Stator Vanes (72-41-22, 05-450).
Install five stage 10 stator vanes HPC Stator Vanes (72-41-22, 05-400).
Install one stage 10 retaining vane HPC Stator Vanes (72-41-22, 05-355).
Install the stage 10 stator vanes between the two stage 10 stop vanes adjacent to the 12 and 3 o'clock positions. Use the subsequent sequence.
Install the stage 10 stator vanes HPC Stator Vanes (72-41-22, 05-355), HPC Stator Vanes (72-41-22, 05-400), HPC Stator Vanes (72-41-22, 05-480) and HPC Stator Vanes (72-41-22, 05-450) between the stage 10 stop vanes in the remaining three segments. Use the sequence given in steps 4 (a) to (j).
Install the stage 10 stator vanes.
SUBTASK 72-41-20-440-161 Install the Stage 10 Stator Vanes (Pre SBE 72-0343 and SBE 72-0343)
SBE 72-0343: Engine - HP compressor ring cases - Introduction of integral HP compressor cases and rotor paths
Refer to Figure.
Remove the eight slave nuts and bolts which attach the stage 10 rotor path ring HPC Ring Cases And Related Parts (72-41-21,04-550) to the stage 9 case HPC Ring Cases And Related Parts (72-41-21,03-800).
Put the stage 10 case HPC Ring Cases And Related Parts (72-41-21,04-350) front flange down on to a clean work surface.
Measure the clearance at Location 1106. The clearance between the sealing ring HPC Ring Cases And Related Parts (72-41-21,04-406) and the stage 10 case must be 0.003 in. (0.08 mm).

WARNING
YOU MUST PUT ON THE CORRECT PROTECTIVE GLOVES BEFORE YOU TOUCH THE STAGE 10 CASE.
CAUTION
YOU MUST MAKE SURE THE STAGE 10 STATOR VANES ENGAGE CORRECTLY IN THE STAGE 10 CASE.Install the stage 10 case on to the stage 10 rotor path ring, the stage 9 case and the stage 10 stator vanes. Align the dowel hole in the stage 10 case with the location dowel in the stage 9 case.
SUBTASK 72-41-20-440-160-A00 Install the Stage 10 Case (Pre SBE 72-0343)
Put the stage 11 rotor path case assembly HPC Ring Cases And Related Parts (72-41-21, 04-350) front flange down on to a clean work surface.
Measure the clearance at Location 1106. The clearance between the sealing ring HPC Ring Cases And Related Parts (72-41-21, 04-406) and the stage 10 case must be 0.003 in. (0.08 mm).

WARNING
YOU MUST PUT ON THE CORRECT PROTECTIVE GLOVES BEFORE YOU TOUCH THE STAGE 11 ROTOR PATH CASE ASSEMBLY.
CAUTION
YOU MUST MAKE SURE THE STAGE 10 STATOR VANES ENGAGE CORRECTLY IN THE STAGE 11 ROTOR PATH CASE ASSEMBLY.Install the stage 11 rotor path case assembly on to the stage 10 rotor path case assembly and the stage 10 stator vanes. Align the dowel hole in the stage 11 rotor path case assembly with the location dowel in the stage 10 rotor path case assembly .
SUBTASK 72-41-20-440-160-B00 Install the Stage 11 Rotor Path Case Assembly (SBE 72-0343)
SBE 72-0343: Engine - HP compressor ring cases - Introduction of integral HP compressor cases and rotor paths.
Refer to Figure.
Measure and write down a record of the clearance between the stop vane and the stator vane platforms. This must be 0.079 in. to 0.095 in. (2.00 mm to 2.40 mm).
NOTE
If the interplatform clearances are correct continue with SUBTASK 72-41-20-440-164.
If the interplatform clearances are not correct continue with SUBTASK 72-41-20-440-163.
Measure and write down a record of the interplatform clearances at the stage 10 stop vanes. Measure all four clearances.
SUBTASK 72-41-20-440-162 Measure the Interplatform Clearances
Pre SBE 72-0343: Remove the eight slave nuts and bolts which attach the stage 10 case HPC Ring Cases And Related Parts (72-41-21, 04-350) to the stage 9 case HPC Ring Cases And Related Parts (72-41-21, 03-800).
SBE 72-0343: Remove the eight slave nuts and bolts which attach the stage 11 rotor path case assembly HPC Ring Cases And Related Parts (72-41-21, 04-350) to the stage 10 rotor path case assembly HPC Ring Cases And Related Parts (72-41-21, 03-800).
Use IAE 1R18827 Extractor 3 off to remove the stage 10 case.
Pre SBE 72-0343: Remove the stage 10 case.
Use IAE 1R18827 Extractor 3 off to remove the stage 11 rotor path case assembly.
SBE 72-0343: Remove the stage 11 rotor path case assembly.

CAUTION
UNDERSIZE VANES MUST NOT BE INSTALLED ADJACENT TO THE STOP VANES OR OTHER UNDERSIZE VANES.Remove the stage 10 stator vanes HPC Stator Vanes (72-41-22,05-448) and install the stage 10 undersize vanes as necessary. One stage 10 undersize vane will give an increase in the interplatform clearance of 0.016 in. (0.40 mm).
Pre SBE 72-0343: Install the stage 10 case as given in Step.
SBE 72-0343: Install the stage 11 rotor path case assembly as given in Step.
Measure and write down a record of the interplatform clearances at the four stage 10 stop vanes as given in Step.
SUBTASK 72-41-20-440-163 Install the Stage 10 Undersize Vanes (Pre SBE 72-0343 and SBE 72-0343)
NOTE
To get the specified interplatform clearance at the four stage 10 stop vanes HPC Stator Vanes (72-41-22,05-350) use stage 10 undersize vanes HPC Stator Vanes (72-41-22, 04-450) as necessary.A maximum of eight undersize vanes can be used between two adjacent stop vanes. These must be set at equal distances between the stop vanes.SBE 72-0343: Engine - HP compressor ring cases - Introduction of integral HP compressor cases and rotor paths
Install the 37 D-headed bolts HPC Assembly (72-41-00,01-612) from the stage 10 case HPC Ring Cases And Related Parts (72-41-21, 04-350) front flange. Refer to detail A. Make sure the bolts are correctly installed on the stage 10 case front flange.
Install the 37 nuts HPC Assembly (72-41-00, 01-610) on the D-headed bolts.
Use the IAE 1R18636 Spanner Wrench 1 off to tighten the nuts.
Use the IAE 1R18637 Spanner Wrench 1 off to torque the nuts. Torque the nuts in the correct sequence to 36 lbfin to 45 lbfin (4.00 Nm to 5.00 Nm).
SUBTASK 72-41-20-440-164-A00 Install the D-headed Bolts and the Nuts in the Stage 10 Case front Flange (Pre SBE 72-0343)
SBE 72-0343: Engine - HP compressor ring cases - Introduction of integral HP compressor cases and rotor paths.
Install the 37 D-headed bolts HPC Assembly (72-41-00,01-612) from the stage 11 rotor path case assembly HPC Ring Cases And Related Parts (72-41-21, 04-350) front flange. Refer to detail A. Make sure the bolts are correctly installed on the stage 11 rotor path case assembly front flange.
Install the 37 nuts HPC Assembly (72-41-00,01-610) on the D-headed bolts.
Use the IAE 1R18636 Spanner Wrench 1 off to tighten the nuts.
Use the IAE 1R18637 Spanner Wrench 1 off to torque the nuts. Torque the nuts in the correct sequence to 36 lbfin to 45 lbfin (4.00 Nm to 5.00 Nm).
SUBTASK 72-41-20-440-164-B00 Install the D-headed Bolts and the Nuts in the Stage 11 Rotor Path Case Assembly Front Flange (SBE 72-0343)
SBE 72-0343: Engine - HP compressor ring cases - Introduction of integral HP compressor cases and rotor paths
Refer to Figure.
Put the two halves of the stage 10 front heatshield HPC Ring Cases And Related Parts (72-41-21, 04-500) in to position on the stage 10 case HPC Ring Cases And Related Parts (72-41-21, 04-350). Locate the heatshield on the spacers and make sure the end plates are correctly located.
Pre SBE 72-0343: Install the 10 bolts HPC Assembly (72-41-00, 01-604), from the stage 9 case rear flange, through the heatshields.
SBE 72-0343: Install the 10 bolts HPC Assembly (72-41-00, 01-604), from the stage 10 rotor path case assembly rear flange, through the heatshields.
Install the 10 washers HPC Assembly (72-41-00, 01-606) and 10 nuts HPC Assembly (72-41-00, 01-600) on to the bolts installed in Step or Step.
Use IAE 1R18635 Spanner wrench 1 off to torque the nuts. Torque the nuts in the correct sequence to 36 lbfin to 45 lbfin (4.00 Nm to 5.00 Nm).
SUBTASK 72-41-20-440-165 Install the Stage 10 Front Heatshield (Pre SBE 72-0343, SBE 72-0343 and Pre SBE 72-0477)
Figure: Pre SBE 72-0343 and 72-0296: View through the HP compressor rear cases and vanes
Sheet 1

Figure: SBE 72-0343 and 72-0296: View through the HP compressor rear cases and vanes
Sheet 2

Figure: SBE 72-0343: Locations for the Fits and Clearances
Sheet 1

Figure: SBE 72-0343 and Pre SBE 72-0477: Locations for the Fits and Clearances
Sheet 2

Figure: Install the stage 10 stator vane front and rear liners
Sheet 1

Figure: Install the stage 10 front and rear liners
Sheet 2

Figure: Install the stage 10 stator vane stops
Install the stage 10 stator vane stops

Figure: Pre SBE 72-0343, SBE 72-0343 and Pre SBE 72-0477: Install the Flange Bolts and Nuts and the Stage 10 Front Heatshield
Sheet 1

Figure: Pre SBE 72-0343, SBE 72-0343 and SBE 72-0477: Install the Flange Bolts and Nuts
Sheet 2

Figure: SBE 72-0343 and Pre SBE 72-0477: Install the Stage 10 Stator Vanes
Sheet 1

Figure: SBE 72-0343 and SBE 72-0477: Install the Stage 10 Stator Vanes
Sheet 2

Figure: Install the Stage 10 Stator Vanes
Sheet 3

Figure: Install the Stage 10 Stator Vanes
Sheet 4

Figure: Measure the Stator Vane Interplatform Clearances
Measure the Stator Vane Interplatform Clearances

Figure: Pre SBE 72-0343 and SBE 72-0343: Remove the Stage 11 Rotor Path Ring
Pre SBE 72-0343 and SBE 72-0343: Remove the Stage 11 Rotor Path Ring

