Export Control
EAR Export Classification: Not subject to the EAR per 15 C.F.R. Chapter 1, Part 734.3(b)(3), except for the following Service Bulletins which are currently published as EAR Export Classification 9E991: SBE70-0992, SBE72-0483, SBE72-0580, SBE72-0588, SBE72-0640, SBE73-0209, SBE80-0024 and SBE80-0025.Copyright
© IAE International Aero Engines AG (2001, 2014 - 2021) The information contained in this document is the property of © IAE International Aero Engines AG and may not be copied or used for any purpose other than that for which it is supplied without the express written authority of © IAE International Aero Engines AG. (This does not preclude use by engine and aircraft operators for normal instructional, maintenance or overhaul purposes.).Applicability
All
Common Information
TASK 72-60-42-200-002 Angle Gearbox Radial Gearshaft Support - Examine, Inspection-002
General
This TASK gives the procedure for the inspection of the radial gear support. For the other parts of the angle gearbox driving gear assembly refer to TASK 72-60-42-200-000.
Fig/item numbers in parentheses in the procedure agree with those used in the IPC.
The policy that is necessary for inspection is given in SPM TASK 70-20-01-200-501.
All the parts must be cleaned before any part is examined. Refer to the SPM TASK 70-11-03-300-503.
All parts must be visually examined for damage, corrosion and wear. Any defects that are not identified in the procedure must be referred to IAE.
The procedure for those parts which must have a crack test is given in the SPM TASK 70-23-00-230-501. Do the test before the part is visually examined. Limits for cracks are given in the SUBTASK for each part.
A ** following repair referenced in this inspection indicates that the repair is not yet published in the current revision of the manual and the part must be rejected. Contact IAE for additional information concerning FAA approved repair date.
Do not discard any part until you are sure there are no repairs available. Refer to the instructions in repair before a discarded part is used again or oversize parts are installed.
Parts which should be discarded can be held although no repair is available. The repair of a discarded part could be shown to be necessary at a later date.
All parts must be examined to make sure that all the repairs have been completed satisfactorily.
The practices and processes referred to in the procedure by the TASK numbers are in the SPM.
References
Refer to the SPM for data on these items:
Definitions of Damage, SPM TASK 70-02-02-350-501,
Record and Control of the Lives of Parts, SPM TASK 70-05-00-220-501,
Inspection of Parts, SPM TASK 70-20-00-200-501.
Some data on these items are contained in this TASK. For more data on these items refer to the SPM:
Method of Testing for Cracks Indications,
Chemical Processes,
Surface Protection.
Preliminary Requirements
Pre-Conditions
NONESupport Equipment
| Name | Manufacturer | Part Number / Identification | Quantity | Remark |
|---|---|---|---|---|
| Workshop inspection equipment | LOCAL | Workshop inspection equipment | ||
| FPI inspection station | LOCAL | FPI inspection station |
Consumables, Materials and Expendables
NONESpares
NONESafety Requirements
NONEProcedure
Clean the parts. Refer to the TASK 72-60-42-100-000.
SUBTASK 72-60-42-230-052 Do a Crack Test on the Radial Gear Support (01-230) Fluorescent Penetrant
Refer to Figure.
Repair VRS5088, TASK 72-60-42-300-001 (REPAIR-001)
More than (1)
Nicks, scores, dents or scratches.
SUBTASK 72-60-42-220-057 Examine the Radial Gear Support (72-60-42,01-230) Rough Surfaces at Location 1
Refer to Figure.
Repair VRS5088, TASK 72-60-42-300-001 (REPAIR-001)
More than (1)
Nicks, scores, dents or scratches.
SUBTASK 72-60-42-220-058 Examine the Radial Gear Support (72-60-42,01-230) Machined not Seal Surfaces at Location 2
Refer to Figure.
Repair VRS5088, TASK 72-60-42-300-001 (REPAIR-001)
More than (1)
Nicks, scores, dents or scratches.
SUBTASK 72-60-42-220-080 Examine the Radial Gear Support (72-60-42,01-230) Machined Seal Surfaces at Location 3
Repair VRS5089, TASK 72-60-42-300-005 (REPAIR-005)
More than 0.0138in. (0.35 mm) each 3.937in. (100.00 mm). No axial movement is permitted (move by hand)
Perpendicularity.
Repair VRS5089, TASK 72-60-42-300-005 (REPAIR-005)
Thread damage or not there
SUBTASK 72-60-42-220-081 Examine the Radial Gear Support (72-60-42,01-230) Studs/Lockings
Repair VRS5090, TASK 72-60-42-300-006 (REPAIR-006)
Loose, missing or with the internal thread damaged
SUBTASK 72-60-42-220-061 Examine the Radial Gear Support (72-60-42,01-230) Threaded Inserts (Pre SBE 72-0492)
Refer to Figure.
Repair VRS5091, TASK 72-60-42-300-007 (REPAIR-007)
More than (1)
Parallelism.
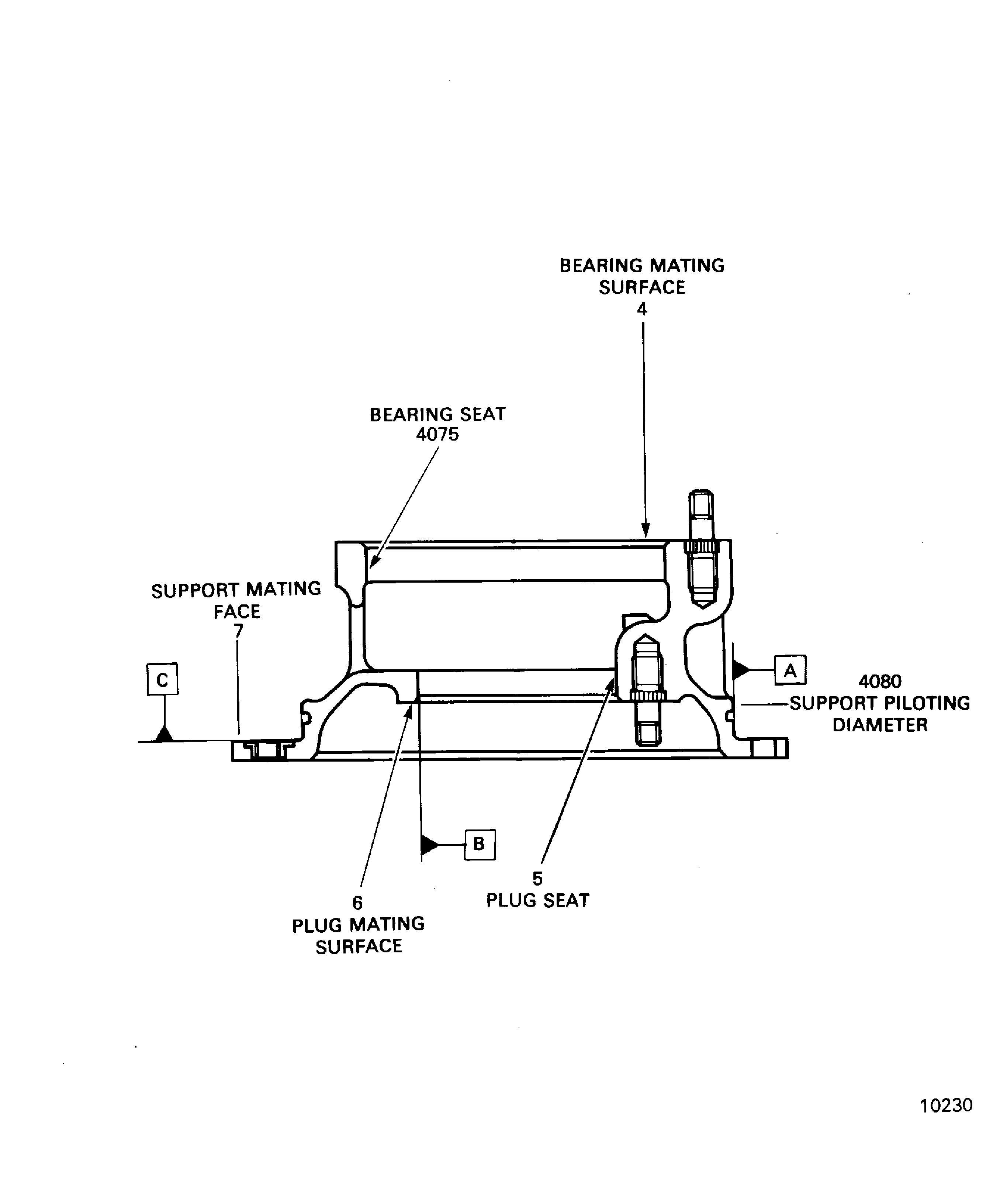
SUBTASK 72-60-42-220-062 Examine the Radial Gear Support (72-60-42,01-230) Bearing Mating Surface at Location 4
Refer to Figure.
Repair VRS5092, TASK 72-60-42-300-008 (REPAIR-008)
Less than 5.1165in. (129.96 mm)
Diameter.
Repair VRS5092, TASK 72-60-42-300-008 (REPAIR-008)
More than (1)
Perpendicularity.
SUBTASK 72-60-42-220-063 Examine the Radial Gear Support (72-60-42,01-230) Support Piloting Diameter at Location 4080
Refer to Figure.
SUBTASK 72-60-42-220-064 Examine the Radial Gear Support (72-60-42,01-230) Plug Seat at Location 5
Refer to Figure.
Repair VRS5094, TASK 72-60-42-300-010 (REPAIR-010)
More than (1)
Perpendicularity.
SUBTASK 72-60-42-220-065 Examine the Radial Rear Support (72-60-42,01-230) Plug Mating Surface at Location 6
Refer to Figure.
Repair VRS5095, TASK 72-60-42-300-011 (REPAIR-011)
More than (1)
Planarity.
SUBTASK 72-60-42-220-066 Examine the Radial Gear Support (72-60-42,01-230) Support Mounting Face at Location 7
Refer to Figure.
Repair VRS5096, TASK 72-60-42-300-012 (REPAIR-012)
More than 3.5435in. (90.00 mm)
Diameter.
Repair VRS5096, TASK 72-60-42-300-012 (REPAIR-012)
More than (1)
Runout.
SUBTASK 72-60-42-220-067 Examine the Radial Gear Support (72-60-42,01-230) Bearing Seat at Location 4075
SUBTASK 72-60-42-220-094 Examine the Radial Gear Support (72-60-42,01-230) Helicoil Inserts (SBE 72-0492)
Repair VRS5678, TASK 72-60-42-300-038 (REPAIR-038)
Loose, missing or with internal thread damaged
SUBTASK 72-60-42-220-095 Examine the Radial Gear Support (72-60-42,01-230) Screw Head Inserts (SBE 72-0492 and SBE 70-0950)
Figure: Locations - Radial Gear Support
Locations - Radial Gear Support

Figure: Locations - Radial Gear Support
Locations - Radial Gear Support

