Export Control
EAR Export Classification: Not subject to the EAR per 15 C.F.R. Chapter 1, Part 734.3(b)(3), except for the following Service Bulletins which are currently published as EAR Export Classification 9E991: SBE70-0992, SBE72-0483, SBE72-0580, SBE72-0588, SBE72-0640, SBE73-0209, SBE80-0024 and SBE80-0025.Copyright
© IAE International Aero Engines AG (2001, 2014 - 2021) The information contained in this document is the property of © IAE International Aero Engines AG and may not be copied or used for any purpose other than that for which it is supplied without the express written authority of © IAE International Aero Engines AG. (This does not preclude use by engine and aircraft operators for normal instructional, maintenance or overhaul purposes.).Applicability
All
Common Information
TASK 75-24-48-200-102-A00 HPT ACC Air Manifold - Examine, Inspection-002
General
This TASK gives the procedure for the inspection of the turbine CLG manifold assembly. For the other HP ACC manifold parts, refer to Inspection-000 TASK 75-24-48-200-100.
Fig/item numbers in parentheses in the procedure agree with those used in the IPC. Only the primary Fig/item numbers are used. For the service bulletin alpha variants refer to the IPC.
The policy that is necessary for inspection is given in SPM TASK 70-20-01-200-501.
All the parts must be cleaned before any part is examined. Refer to Cleaning-000 TASK 75-24-48-100-100.
All parts must be visually examined for damage, corrosion and wear. Any defects that are not identified in the procedure must be referred to IAE.
The procedure for those parts which must have a crack test is given in Step Do the test before the part is visually examined. Limits for cracks are given in the SUBTASK for each part.
Do not discard any part until you are sure there are no repairs available. Refer to the instructions in Repair before a discarded part is used again or oversize parts are installed.
Parts which should be discarded can be held although no repair is available. The repair of a discarded part could be shown to be necessary at a later date.
All parts must be examined to make sure that all the repairs have been completed satisfactorily.
The practices and processes referred to in the procedure by the TASK numbers are in the SPM.
References
Refer to the SPM for data on these items.
Definitions of Damage, SPM TASK 70-02-02-350-501.
Inspection of Parts, SPM TASK 70-20-01-200-501.
Some data on these items is contained in this TASK. For more data on these items refer to the SPM.
Method of Testing for Crack Indications.
Chemical Processes
Surface Protection
Preliminary Requirements
Pre-Conditions
NONESupport Equipment
| Name | Manufacturer | Part Number / Identification | Quantity | Remark |
|---|---|---|---|---|
| Fluorescent Penetrant Inspection Equipment | LOCAL | Fluorescent Penetrant Inspection Equipment |
Consumables, Materials and Expendables
NONESpares
NONESafety Requirements
NONEProcedure
Clean the part. Refer to Cleaning-000 TASK 75-24-48-100-100.
Repair, VRS1552 (Repair-017) TASK 75-24-48-300-017.
Cracked
Turbine CLG manifold assembly. Refer to SPM TASK 70-23-02-230-501.
Do the crack test on the part that is given below. Use the applicable penetrant inspection procedure.
SUBTASK 75-24-48-230-053 Examine the Turbine CLG Manifold Assembly (02-500) for Cracks
Refer to Figure.
Reject
More than in Step.
Dented
Repair, VRS1553 (Repair-003) TASK 75-24-48-300-003 or VRS1552 (Repair-017) TASK 75-24-48-300-017.
More than in Step.
Nicked
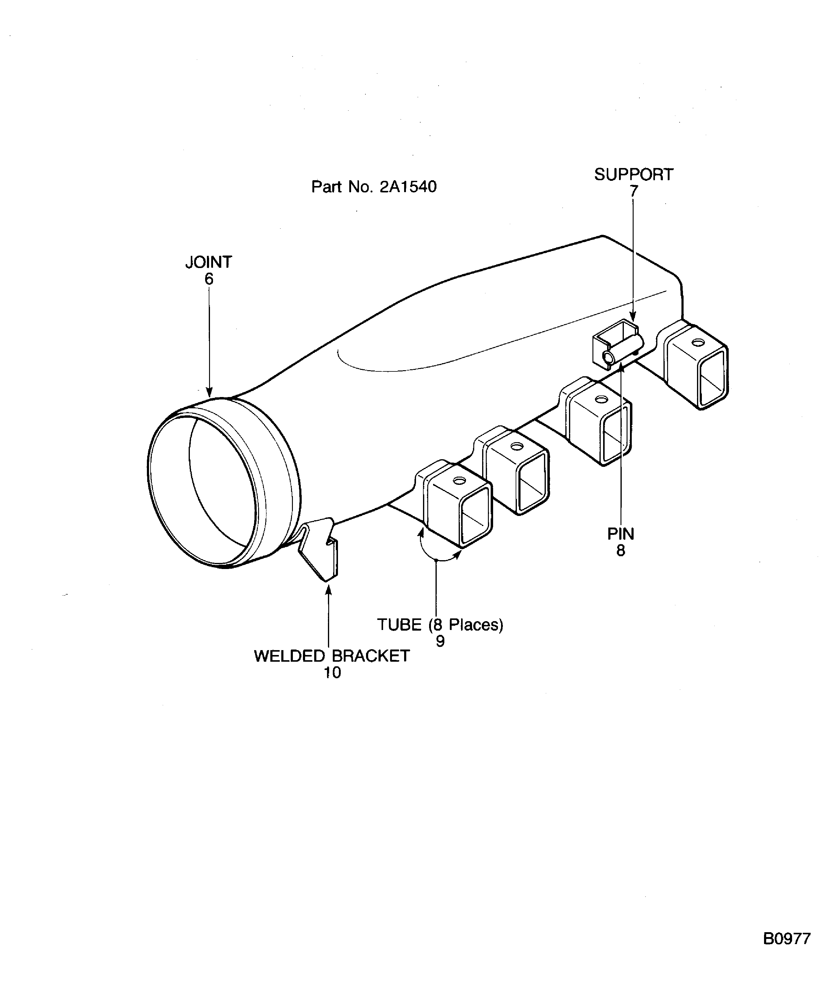
Examine the surface of turbine CLG manifold assembly except the pin (Location 3 and 8), joint (Location 1 and 6), welded bracket (Location 5 and 10) support (Location 2 and 7) and tubes (Location 4 and 9).
Repair, VRS1553 (Repair-003) TASK 75-24-48-300-003 or VRS1529 (Repair-010) TASK 75-24-48-300-010.
More than in Step.
Dented
Repair, VRS1553 (Repair-003) TASK 75-24-48-300-003 or VRS1529 (Repair-010) TASK 75-24-48-300-010.
More than in Step.
Nicked
Repair, VRS1531 (Repair-009) TASK 75-24-48-300-009.
Distorted
Repair, VRS1529 (Repair-010) TASK 75-24-48-300-010.
Broken
Examine the surface of welded bracket at location 5 and 10.
Repair, VRS1553 (Repair-003) TASK 75-24-48-300-003.
More than in Step.
Dented
Repair, VRS1553 (Repair-003) TASK 75-24-48-300-003.
More than in Step.
Nicked
Repair, VRS1531 (Repair-009) TASK 75-24-48-300-009.
Distorted
Reject
Broken
Examine the surface of support at location 2 and 7.
Repair, VRS1553 (Repair-003) TASK 75-24-48-300-003 or VRS1535 (Repair-005) TASK 75-24-48-300-005.
More than in Step.
Dented
Repair, VRS1553 (Repair-003) TASK 75-24-48-300-003 or VRS1535 (Repair-005) TASK 75-24-48-300-005.
More than in Step.
Nicked
Repair, VRS1531 (Repair-009) TASK 75-24-48-300-009.
Distorted
Repair, VRS1535 (Repair-005) TASK 75-24-48-300-005.
Broken
Examine the surface of pin at location 3 and 8.
Repair, VRS1531 (Repair-009) TASK 75-24-48-300-009.
More than in Step.
Dented
Repair, VRS1553 TASK 75-24-48-300-003 or VRS1552 TASK 75-24-48-300-017.
More than in Step.
Nicked
Repair,VRS1531 (Repair-009) TASK 75-24-48-300-009.
Distorted
Examine the surface of tubes at location 4 and 9.
SUBTASK 75-24-48-220-056-001 Examine the Turbine CLG Manifold Assembly (02-500) Surface
Refer to Figure.
Repair, VRS1536 (Repair-006) TASK 75-24-48-300-006.
Less than in Step.
Worn
Repair, VRS1553 (Repair-003) TASK 75-24-48-300-003 or VRS1536 (Repair-006) TASK 75-24-48-300-006.
More than in Step.
Nicked
Examine the joint of turbine CLG manifold assembly at location 1 and 6.
SUBTASK 75-24-48-220-057 Examine the Turbine CLG Manifold Assembly (02-500) Joint
Figure: Inspection of the Turbine CLG Manifold Assembly
Inspection of the Turbine CLG Manifold Assembly

Inspection of the Turbine CLG Manifold Assembly

