Export Control
EAR Export Classification: Not subject to the EAR per 15 C.F.R. Chapter 1, Part 734.3(b)(3), except for the following Service Bulletins which are currently published as EAR Export Classification 9E991: SBE70-0992, SBE72-0483, SBE72-0580, SBE72-0588, SBE72-0640, SBE73-0209, SBE80-0024 and SBE80-0025.Copyright
© IAE International Aero Engines AG (2001, 2014 - 2021) The information contained in this document is the property of © IAE International Aero Engines AG and may not be copied or used for any purpose other than that for which it is supplied without the express written authority of © IAE International Aero Engines AG. (This does not preclude use by engine and aircraft operators for normal instructional, maintenance or overhaul purposes.).Applicability
V2500-A1
Common Information
TASK 72-00-60-050-008-A00 External Gearbox Components - Remove The LP/HP Fuel Pump (2001EM), Removal-012
General
This TASK gives the procedure to remove the LP/HP fuel pump from the engine.
Fig/item numbers in parentheses in the procedure agree with those used in the IPC. Only the primary Fig/item numbers are used. For the service bulletin alpha-variants refer to the IPC.
For all parts identified in a different Chapter/Section/Subject, the applicable Chapter/Section/Subject comes before the item number.
Discard all rubber seal rings removed in this procedure.
Remove and discard the lockwire before the tubes and the closure nut are disconnected.
The engine must be isolated from starting air supply, fuel supply and electrical power source while you do this procedure.
Preliminary Requirements
Pre-Conditions
NONESupport Equipment
| Name | Manufacturer | Part Number / Identification | Quantity | Remark |
|---|---|---|---|---|
| Container - minimum capacity one US gal | LOCAL | Container - minimum capacity one US gal | ||
| IAE 1R18003 Wrench | 0AM53 | IAE 1R18003 | 1 | |
| IAE 1R18000 Wrench | 0AM53 | IAE 1R18000 |
Consumables, Materials and Expendables
NONESpares
NONESafety Requirements
NONEProcedure

WARNING
DO NOT LET FUEL STAY ON YOUR SKIN FOR A LONG TIME. FLUSH THE FUEL FROM YOUR SKIN WITH WATER. THE FUEL IS POISONOUS AND CAN BE ABSORBED THROUGH YOUR SKIN.
CAUTION
DO NOT LET FUEL FALL ON THE ENGINE. UNWANTED FUEL MUST BE REMOVED IMMEDIATELY WITH A CLEAN LINT FREE CLOTH. THE FUEL CAN CAUSE DAMAGE TO THE SURFACE PROTECTION AND TO SOME PARTS.DO NOT PUT FUEL THAT HAS BEEN DRAINED FROM THE ENGINE BACK INTO THE FUEL SYSTEM.Drain fuel from the pump.
SUBTASK 72-00-60-050-085 Drain Fuel from the LP/HP Fuel Pump
Disconnect the electrical connectors and the tubes from the FMU. refer to TASK 72-00-60-050-002-A00 (REMOVAL-006, CONFIG-001).
Remove the drain tube and the fuel tube ENGINE FUEL AND CONTROL-FUEL SYSTEM TUBES-ENGINE (73-11-49, 05-100) from the pump. Refer to TASK 72-00-60-050-002-A00 (REMOVAL-006, CONFIG-001).
Remove the FMU from the pump. Refer to TASK 72-00-60-050-002-A00 (REMOVAL-006, CONFIG-001).
SUBTASK 72-00-60-050-093 Remove the FMU from the Pump
Disconnect the fuel tubes ENGINE FUEL AND CONTROL-FUEL SYSTEM TUBES-ENGINE (73-11-49, 02-500 and ENGINE FUEL AND CONTROL-FUEL SYSTEM TUBES-ENGINE 03-100) from the fuel tube ENGINE FUEL AND CONTROL-FUEL SYSTEM TUBES-ENGINE (73-11-49, 02-100) with IAE 1R18000 Wrench 1 off.
Remove the six bolts ENGINE FUEL AND CONTROL-FUEL SYSTEM TUBES-ENGINE (73-11-49, 02-106) which attach the fuel tube to the FCOC and the pump. Remove the fuel tube.
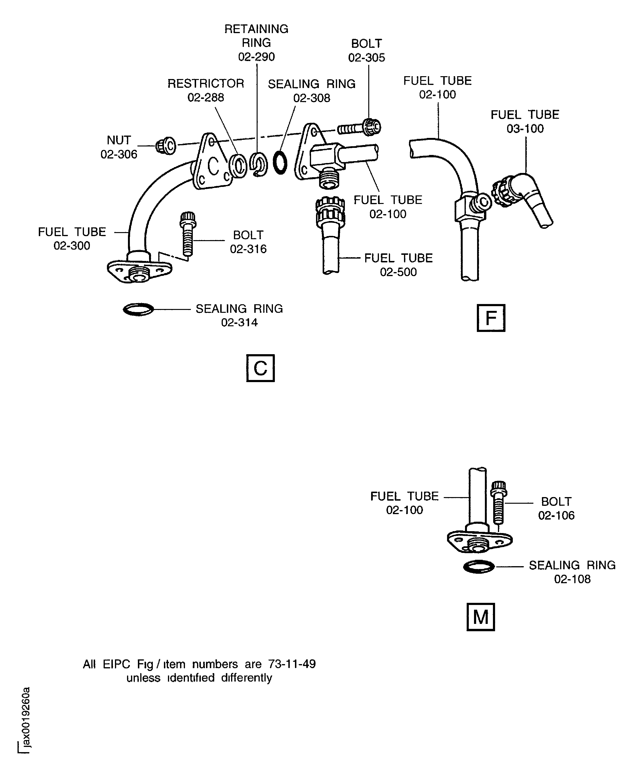
Remove the two sealing rings ENGINE FUEL AND CONTROL-FUEL SYSTEM TUBES-ENGINE (73-11-49, 02-108), the retaining ring and the restrictor from the fuel tube. Discard the sealing rings.
Remove the fuel tube ENGINE FUEL AND CONTROL-FUEL SYSTEM TUBES-ENGINE (73-11-49, 02-100).
SUBTASK 72-00-60-050-094-A00 Remove the Fuel Tube (73-11-49,02-100) from the FCOC and the Pump (Pre SBE 73-0058)
Disconnect the fuel tubes ENGINE FUEL AND CONTROL-FUEL SYSTEM TUBES-ENGINE (73-11-49, 02-500 and ENGINE FUEL AND CONTROL-FUEL SYSTEM TUBES-ENGINE 03-100) from the fuel tube ENGINE FUEL AND CONTROL-FUEL SYSTEM TUBES-ENGINE (73-11-49, 02-100) with IAE 1R18000 Wrench 1 off.
Remove the six bolts ENGINE FUEL AND CONTROL-FUEL SYSTEM TUBES-ENGINE (73-11-49, 02-305 and ENGINE FUEL AND CONTROL-FUEL SYSTEM TUBES-ENGINE 02-106) which attach the fuel tube ENGINE FUEL AND CONTROL-FUEL SYSTEM TUBES-ENGINE (73-11-49, 02-100) to the fuel tube ENGINE FUEL AND CONTROL-FUEL SYSTEM TUBES-ENGINE (73-11-49, 02-300) and the pump. Remove the fuel tube.
Remove the sealing ring ENGINE FUEL AND CONTROL-FUEL SYSTEM TUBES-ENGINE (73-11-49, 02-108), from the fuel tube. Discard the sealing ring.
Remove the fuel tube ENGINE FUEL AND CONTROL-FUEL SYSTEM TUBES-ENGINE (73-11-49, 02-100).
Remove the three bolts ENGINE FUEL AND CONTROL-FUEL SYSTEM TUBES-ENGINE (73-11-49, 02-316) which attach the fuel tube to the FCOC. Remove the fuel tube.
Remove the two sealing rings ENGINE FUEL AND CONTROL-FUEL SYSTEM TUBES-ENGINE (73-11-49, 02-308 and ENGINE FUEL AND CONTROL-FUEL SYSTEM TUBES-ENGINE 02-314), the retaining ring and the restrictor from the fuel tube. Discard the sealing rings.
Remove the fuel tube ENGINE FUEL AND CONTROL-FUEL SYSTEM TUBES-ENGINE (73-11-49, 02-300).
SUBTASK 72-00-60-050-094-B00 Remove the Fuel Tube (73-11-49,02-100 and 02-300) from the FCOC and the Pump (SBE 73-0058)
SBE 73-0058: New tubes with a repositioned restrictor orifice.
Remove the three bolts FUEL SYSTEM TUBES (RIGID)-POWER PLANT (73-11-47, 01-102) which attach the bracket and the fuel tube to the pump.
Disconnect the fuel tubes FUEL SYSTEM TUBES (RIGID)-POWER PLANT (73-11-47, 01-100 and FUEL SYSTEM TUBES (RIGID)-POWER PLANT 73-11-47, 02-100) from the mounting bracket.
Remove the five bolts FUEL SYSTEM TUBES (RIGID)-POWER PLANT (73-11-47, 01-906) and the nuts FUEL SYSTEM TUBES (RIGID)-POWER PLANT (73-11-47, 01-910) which attach the mounting bracket to the fan case.
Remove the fuel tube FUEL SYSTEM TUBES (RIGID)-POWER PLANT (73-11-47, 01-100) from the pump.
Discard the sealing ring FUEL SYSTEM TUBES (RIGID)-POWER PLANT (73-11-47, 01-104).
SUBTASK 72-00-60-050-095 Remove the Fuel Tube (73-11-47,01-100) from the Flexible Hose and the Pump
Remove the flow transmitter. Refer to TASK 72-00-32-050-006 (REMOVAL-013).
SUBTASK 72-00-60-050-096 Remove the Fuel Flow Transmitter
Refer to Figure.
Discard the two sealing rings ENGINE FUEL AND CONTROL-LP & HP FUEL PUMPS (73-12-41, 01-145 and ENGINE FUEL AND CONTROL-LP & HP FUEL PUMPS 73-12-41, 01-170).
SUBTASK 72-00-60-050-097 Remove the Pump
Figure: LP/HP fuel pump
LP/HP fuel pump

Figure: LP/HP fuel pump
LP/HP fuel pump

Figure: Disassemble the clip points
Disassemble the clip points

Figure: Disassemble the clip points
Disassemble the clip points

Figure: Disassemble the clip points
Disassemble the clip points

Figure: Disassemble the clip points
Disassemble the clip points

Figure: Pre SBE 73-0058: Remove the fuel tube from the FCOC and the pump
Pre SBE 73-0058: Remove the fuel tube from the FCOC and the pump

Figure: Pre SBE 73-0058: Remove the fuel tube from the FCOC and the pump
Pre SBE 73-0058: Remove the fuel tube from the FCOC and the pump

Figure: SBE 73-0058: Remove the fuel tube from the FCOC and the pump
SBE 73-0058: Remove the fuel tube from the FCOC and the pump

Figure: SBE 73-0058: Remove the fuel tube from the FCOC and the pump
SBE 73-0058: Remove the fuel tube from the FCOC and the pump

Figure: Remove the fuel tube from the flexible hose and the pump
Remove the fuel tube from the flexible hose and the pump

Figure: Remove the fuel tube from the flexible hose and the pump
Remove the fuel tube from the flexible hose and the pump

Figure: Remove the fuel flow transmitter
Remove the fuel flow transmitter

Figure: Remove the pump
Remove the pump

