Export Control
EAR Export Classification: Not subject to the EAR per 15 C.F.R. Chapter 1, Part 734.3(b)(3), except for the following Service Bulletins which are currently published as EAR Export Classification 9E991: SBE70-0992, SBE72-0483, SBE72-0580, SBE72-0588, SBE72-0640, SBE73-0209, SBE80-0024 and SBE80-0025.Copyright
© IAE International Aero Engines AG (2001, 2014 - 2021) The information contained in this document is the property of © IAE International Aero Engines AG and may not be copied or used for any purpose other than that for which it is supplied without the express written authority of © IAE International Aero Engines AG. (This does not preclude use by engine and aircraft operators for normal instructional, maintenance or overhaul purposes.).Applicability
V2500-A1
Common Information
TASK 72-45-00-430-001-A00 HP Turbine (HPT) Rotor And Stator Assembly - Assemble The HPT Rotor And Stator Assembly, Assembly-001
General
Fig/item numbers in parentheses in the procedure agree with those used in the IPC. Only the primary Fig/item numbers are used. For the service bulletin alpha variants refer to the IPC.
For all parts identified in a different Chapter/Section/Subject, the applicable Chapter/Section/Subject comes before the Fig/item number.
For standard torque data and procedures, refer to SPM TASK 70-41-00-400-501 and SPM TASK 70-41-02-400-501.
Special torque data and assembly tolerances are included in the procedure.
Lubricate all threads and abutment faces of nuts and bolts with CoMat 10-077 APPROVED ENGINE OILS, unless other lubricants are referred to in the procedure.
To identify, lubricate and install seal rings, refer to SPM TASK 70-44-01-400-501.
The number for each radial location must be identified in a clockwise direction. These start at the engine top position when you look from the rear of the engine, unless stated differently in the procedure.
NOTE
NOTE
Preliminary Requirements
Pre-Conditions
NONESupport Equipment
| Name | Manufacturer | Part Number / Identification | Quantity | Remark |
|---|---|---|---|---|
| IAE 1F10026 Hydraulic hand pump | 0AM53 | IAE 1F10026 | 1 | |
| IAE 1F10052 Two cables sling | 0AM53 | IAE 1F10052 | 1 | |
| IAE 1P16017 Lift fixture | 0AM53 | IAE 1P16017 | 1 | |
| IAE 1P16028 Build stand | 0AM53 | IAE 1P16028 | 1 | |
| IAE 1P16038 Heater | 0AM53 | IAE 1P16038 | 1 | |
| IAE 1P16046 Removal/Installation fixture | 0AM53 | IAE 1P16046 | 1 | |
| IAE 1P16047 Hydraulic adapter | 0AM53 | IAE 1P16047 | 1 | |
| IAE 1P16051 Clamp | 0AM53 | IAE 1P16051 | 1 | |
| IAE 1P16052 Spline aligner | 0AM53 | IAE 1P16052 | 1 | |
| IAE 1P16058 Removal/installation jaws assembly | 0AM53 | IAE 1P16058 | 1 | |
| IAE 1P16063 Fixture | 0AM53 | IAE 1P16063 | 1 | |
| IAE 1P16140 Support base | 0AM53 | IAE 1P16140 | ||
| IAE 1P16173 Lift sling | 0AM53 | IAE 1P16173 | 1 | |
| IAE 1P16543 Removal/Installation fixture | 0AM53 | IAE 1P16543 | 1 | |
| IAE 6F10027 Heater control unit | 0AM53 | IAE 6F10027 | 1 |
Consumables, Materials and Expendables
| Name | Manufacturer | Part Number / Identification | Quantity | Remark |
|---|---|---|---|---|
| DELETED | LOCAL | DELETED | ||
| CoMat 01-573 WAX BLEND, PARAFFIN | 24269 | CoMat 01-573 | ||
| CoMat 10-077 APPROVED ENGINE OILS | X333X | CoMat 10-077 |
Safety Requirements
NONEProcedure
Refer to Figure.
Reference the clearance at location 1500. If required use the data written as a note in TASK 72-45-11-200-000 (INSPECTION-000) and TASK 72-45-31-200-000 (REPAIR-000).
Table 1. Fits and Clearances (all dimensions are in inches) NEW PART
WORN PART
DIMENSIONS
DIMENSIONS
PART IDENT
Size
Clearance
Non-select
REJECT IF
MORE THAN
LOCATION 1500
Stage 2 Turbine Hub ENGINE-STAGE 2 TURBINE HUB (72-45-31, 01-010), Location Diameter
Stage 1 Turbine Hub HPT Stage 1 Hub (72-45-11, 01-010), Bore
Stage 2 Turbine Hub Location Diameter
5.633
5.637
0.001
Stage 1 Turbine Hub Bore
5.638
0.009
5.642
Table 2. Fits and Clearances (all dimensions are in millimeters) NEW PART
WORN PART
DIMENSIONS
DIMENSIONS
PART IDENT
Size
Clearance
Non-select
REJECT IF
MORE THAN
LOCATION 1500
Stage 2 Turbine Hub ENGINE-STAGE 2 TURBINE HUB (72-45-31, 01-010), Location Diameter
Stage 1 Turbine Hub HPT Stage 1 Hub (72-45-11, 01-010), Bore
Stage 2 Turbine Hub Location Diameter
143.079
143.179
0.025
Stage 1 Turbine Hub Bore
143.206
0.229
143.306
SUBTASK 72-45-00-220-053-001 Reference the Fits and Clearances of the HP Turbine Rotor and Stator Assembly at Location 1500 (Pre SBE 72-0075)
Refer to Figure.
SBE 72-0075: Recontoured stage 1 and stage 2 hubs.
Reference the clearance at location 1500. If required use the data written as a note in TASK 72-45-31-200-000 (REPAIR-000).
Table 3. Fits and Clearances (all dimensions are in inches) NEW PART
WORN PART
DIMENSIONS
DIMENSIONS
PART IDENT
Size
Clearance
Non-select
REJECT IF
MORE THAN
LOCATION 1500
Stage 2 Turbine Hub ENGINE-STAGE 2 TURBINE HUB (72-45-31, 01-010), Location Diameter
Stage 2 HPT Heatshield ENGINE-STAGE 2 TURBINE HUB (72-45-31, 01-020), Bore
Stage 2 Turbine Hub Location Diameter
5.529
5.533
0.002
Stage 2 HPT Heatshield
5.535
0.012
5.541
Table 4. Fits and Clearances (all dimensions are in millimeters) NEW PART
WORN PART
DIMENSIONS
DIMENSIONS
PART IDENT
Size
Clearance
Non-select
REJECT IF
MORE THAN
LOCATION 1500
Stage 2 Turbine Hub ENGINE-STAGE 2 TURBINE HUB (72-45-31, 01-010), Location Diameter
Stage 2 HPT Heatshield ENGINE-STAGE 2 TURBINE HUB (72-45-31, 01-020), Bore
Stage 2 Turbine Hub Location Diameter
140.437
140.538
0.05
Stage 2 HPT Heatshield
140.589
0.30
140.741
SUBTASK 72-45-00-220-053-002 Reference the Fits and Clearances of the HP Turbine Rotor and Stator Assembly at Location 1500 (SBE 72-0075)
Refer to Figure.
Reference the clearance/interference at location 1503. If required use the data written as a note in TASK 72-45-11-200-000 (INSPECTION-000) and TASK 72-45-00-200-000 (INSPECTION-000).
Table 5. Fits and Clearances (all dimensions are in inches) NEW PART
WORN PART
DIMENSIONS
DIMENSIONS
PART IDENT
Size
Clearance
Non-select
REJECT IF
MORE THAN
LOCATION 1503
Stage 1 Turbine Hub HPT Stage 1 Hub (72-45-11, 01-010), Location Diameter
Stage 2 HPT Airseal HP Turbine (HPT) Rotor And Stator Assembly (72-45-00, 01-080), Location Diameter
Stage 1 Turbine Hub Location Diameter
18.122
Intf
Intf
18.119
0.007
0.007
Stage 2 HPT Airseal Location Diameter
18.126
0.000
0.002
18.122
Clear
Clear
Table 6. Fits and Clearances (all dimensions are in millimeters) NEW PART
WORN PART
DIMENSIONS
DIMENSIONS
PART IDENT
Size
Clearance
Non-select
REJECT IF
MORE THAN
LOCATION 1503
Stage 1 Turbine Hub HPT Stage 1 Hub (72-45-11, 01-010), Location Diameter
Stage 2 HPT Airseal HP Turbine (HPT) Rotor And Stator Assembly (72-45-00, 01-080), Location Diameter
Stage 1 Turbine Hub Location Diameter
460.298
Intf
Intf
460.223
0.177
0.177
Stage 2 HPT Airseal Location Diameter
460.400
0.000
0.051
460.298
Clear
Clear
SUBTASK 72-45-00-220-054-A00 Reference the Fits and Clearances of the HP Turbine Rotor and Stator Assembly at Location 1503 (Pre SBE 72-0207)
Refer to Figure.
SBE 72-0207: New Stage 2 HPT Airseal.
Reference the clearance/interference at location 1503. If required use the data written as a note in TASK 72-45-11-200-000 (INSPECTION-000) and TASK 72-45-00-200-000 (INSPECTION-000).
Table 7. Fits and Clearances (all dimensions are in inches) NEW PART
WORN PART
DIMENSIONS
DIMENSIONS
PART IDENT
Size
Clearance
Non-select
REJECT IF
MORE THAN
LOCATION 1503
Stage 1 Turbine Hub HPT Stage 1 Hub (72-45-11, 01-010), Location Diameter
Stage 2 HPT Airseal HP Turbine (HPT) Rotor And Stator Assembly (72-45-00, 01-080), Location Diameter
Stage 1 Turbine Hub Location Diameter
18.122
Intf
Intf
18.119
0.007
0.0075
Stage 2 HPT Airseal Location Diameter
18.126
0.000
0.0005
18.122
Clear
Clear
Table 8. Fits and Clearances (all dimensions are in millimeters) NEW PART
WORN PART
DIMENSIONS
DIMENSIONS
PART IDENT
Size
Clearance
Non-select
REJECT IF
MORE THAN
LOCATION 1503
Stage 1 Turbine Hub HPT Stage 1 Hub (72-45-11, 01-010), Location Diameter
Stage 2 HPT Airseal HP Turbine (HPT) Rotor And Stator Assembly (72-45-00, 01-080), Location Diameter
Stage 1 Turbine Hub Location Diameter
460.298
Intf
Intf
460.223
0.177
0.190
Stage 2 HPT Airseal Location Diameter
460.400
0.000
0.013
460.298
Clear
Clear
SUBTASK 72-45-00-220-054-B00 Reference the Fits and Clearances of the HP Turbine Rotor and Stator Assembly at Location 1503 (SBE 72-0207)
Refer to Figure.
Reference the clearance/interference at location 1505. If required use the data written as a note in TASK 72-45-00-200-000 (INSPECTION-000) and TASK 72-45-31-200-000 (REPAIR-000).
Table 9. Fits and Clearances (all dimensions are in inches) NEW PART
WORN PART
DIMENSIONS
DIMENSIONS
PART IDENT
Size
Clearance
Non-select
REJECT IF
MORE THAN
LOCATION 1505
Stage 2 HPT Airseal HP Turbine (HPT) Rotor And Stator Assembly (72-45-00, 01-080), Location Diameter
Stage 2 Turbine Hub ENGINE-STAGE 2 TURBINE HUB (72-45-31, 01-010), Location Diameter
Stage 2 HPT Airseal Location Diameter
17.131
Intf
Intf
17.135
0.001
0.001
Stage 2 Turbine Hub Location Diameter
17.134
0.007
0.008
17.138
Clear
Clear
Table 10. Fits and Clearances (all dimensions are in millimeters) NEW PART
WORN PART
DIMENSIONS
DIMENSIONS
PART IDENT
Size
Clearance
Non-select
REJECT IF
MORE THAN
LOCATION 1505
Stage 2 HPT Airseal HP Turbine (HPT) Rotor And Stator Assembly (72-45-00, 01-080), Location Diameter
Stage 2 Turbine Hub ENGINE-STAGE 2 TURBINE HUB (72-45-31, 01-010), Location Diameter
Stage 2 HPT Airseal Location Diameter
435.127
Intf
Intf
435.229
0.025
0.025
Stage 2 Turbine Hub Location Diameter
435.204
0.178
0.203
435.305
Clear
Clear
SUBTASK 72-45-00-220-055-A00 Reference the Fits and Clearances of the HP Turbine Rotor and Stator Assembly at Location 1505 (Pre SBE 72-0207)
Refer to Figure.
SBE 72-0207: New Stage 2 AirSeal.
Reference the clearance/interference at location 1505. If required use the data written as a note in TASK 72-45-00-200-000 (INSPECTION-000) and TASK 72-45-31-200-000 (REPAIR-000).
Table 11. Fits and Clearances (all dimensions are in inches) NEW PART
WORN PART
DIMENSIONS
DIMENSIONS
PART IDENT
Size
Clearance
Non-select
REJECT IF
MORE THAN
LOCATION 1505
Stage 2 HPT Airseal HP Turbine (HPT) Rotor And Stator Assembly (72-45-00, 01-180), Location Diameter
Stage 2 Turbine Hub ENGINE-STAGE 2 TURBINE HUB (72-45-31, 01-010), Location Diameter
Stage 2 HPT Airseal Location Diameter
17.131
Intf
Intf
17.135
0.001
0.0015
Stage 2 Turbine Hub Location Diameter
17.134
0.007
0.0075
17.138
Clear
Clear
Table 12. Fits and Clearances (all dimensions are in millimeters) NEW PART
WORN PART
DIMENSIONS
DIMENSIONS
PART IDENT
Size
Clearance
Non-select
REJECT IF
MORE THAN
LOCATION 1505
Stage 2 HPT Airseal HP Turbine (HPT) Rotor And Stator Assembly (72-45-00, 01-080), Location Diameter
Stage 2 Turbine Hub ENGINE-STAGE 2 TURBINE HUB (72-45-31, 01-010), Location Diameter
Stage 2 HPT Airseal Location Diameter
435.127
Intf
Intf
435.229
0.025
0.039
Stage 2 Turbine Hub Location Diameter
435.204
0.178
0.190
435.305
Clear
Clear
SUBTASK 72-45-00-220-055-B00 Reference the Fits and Clearances of the HP Turbine Rotor and Stator Assembly at Location 1505 (SBE 72-0207)
Refer to Figure.
SUBTASK 72-45-00-220-116-001 Reference the Fits and Clearances of the Stage 2 HPT Heatshield and Stage 1 HPT Hub at Location 1515 (Pre SBE 72-0075)
NOTE
This inspection reference does not apply to engines before SBE 72-0075.Refer to Figure.
SBE 72-0015: Recontoured stage 1 and stage 2 hubs.
Reference the clearance at location 1515. If required, use the data written as a note in TASK 72-45-11-200-000 (INSPECTION-000) and TASK 72-45-31-200-000 (REPAIR-000).
Table 13. Fits and Clearances (all dimensions are in inches) NEW PART
WORN PART
DIMENSIONS
DIMENSIONS
PART IDENT
Size
Clearance
Non-select
REJECT IF
MORE THAN
LOCATION 1515
Stage 2 HPT Heatshield ENGINE-STAGE 2 TURBINE HUB (72-45-31, 01-020), Location Diameter
Stage 1 HPT Hub HPT Stage 1 Hub(72-45-11, 01-011), Location Diameter
Stage 2 HPT Heatshield Location Diameter
5.735
Clear
5.745
0.008
Stage 1 HPT Hub Location Diameter
5.753
0.028
5.763
Clear
Table 14. Fits and Clearances (all dimensions are in millimeters) NEW PART
WORN PART
DIMENSIONS
DIMENSIONS
PART IDENT
Size
Clearance
Non-select
REJECT IF
MORE THAN
LOCATION 1515
Stage 2 HPT Heatshield ENGINE-STAGE 2 TURBINE HUB (72-45-31, 01-020), Location Diameter
Stage 1 HPT Hub HPT Stage 1 Hub (72-45-11, 01-011), Location Diameter
Stage 2 HPT Heatshield Location Diameter
145.669
Clear
145.923
0.203
Stage 1 HPT Hub Location Diameter
146.126
0.711
146.380
Clear
SUBTASK 72-45-00-220-116-002 Reference the Fits and Clearances of the Stage 2 HPT Heatshield and Stage 1 HPT Hub at Location 1515 (SBE 72-0075)
Refer to Figure.
SUBTASK 72-45-00-220-056 Reference the Fits and Clearances of the HP Turbine Rotor and Stator Assembly at Location 1552
NOTE
The fit at this location has been calculated. Parts were measured before they were assembled to get this fit. Refer to TASK 72-45-10-440-001-A00 (ASSEMBLY, CONFIG-001).Refer to Figure.
Reference the clearance at location 1577. If required use the data written as a note in TASK 72-45-32-200-000 (INSPECTION-000) and TASK 72-45-20-200-000 (INSPECTION/CHECK-000).
Table 15. Fits and Clearances (all dimensions are in inches) NEW PART
WORN PART
DIMENSIONS
DIMENSIONS
PART IDENT
Size
Clearance
Non-select
REJECT IF
MORE THAN
LOCATION 1577
Stage 2 Turbine Rotor Assembly
Seal Tip Radial Clearance
0.022
0.068
NOTE
Axis of turbine case and vane assembly is 0.010 below the engine centerline.Table 16. Fits and Clearances (all dimensions are in millimeters) NEW PART
WORN PART
DIMENSIONS
DIMENSIONS
PART IDENT
Size
Clearance
Non-select
REJECT IF
MORE THAN
LOCATION 1577
Stage 2 Turbine Rotor Assembly
Seal Tip Radial Clearance
0.56
1.73
NOTE
Axis of the turbine case and vane assembly is 0.254 below the engine centerline.
SUBTASK 72-45-00-220-059 Reference the Fits and Clearances of the HP Turbine Rotor and Stator Assembly at Location 1577
Refer to Figure.
Reference the clearance at location 1578. If required use the data written as a note in TASK 72-45-14-200-000 (INSPECTION-000) and TASK 72-45-20-200-000 (INSPECTION/CHECK-000).
Table 17. Fits and Clearances (all dimensions are in inches) NEW PART
WORN PART
DIMENSIONS
DIMENSIONS
PART IDENT
Size
Clearance
Non-select
REJECT IF
MORE THAN
LOCATION 1578
Stage 1 Turbine Rotor Assembly
Seal Tip Radial Clearance
0.032
0.072
NOTE
Axis of the turbine case and vane assembly is 0.010 below the engine centerline.Table 18. Fits and Clearances (all dimensions are in millimeters) NEW PART
WORN PART
DIMENSIONS
DIMENSIONS
PART IDENT
Size
Clearance
Non-select
REJECT IF
MORE THAN
LOCATION 1578
Stage 1 Turbine Rotor Assembly
Seal Tip Radial Clearance
0.81
1.83
NOTE
Axis of the turbine case and vane assembly is 0.254 below the engine centerline.
SUBTASK 72-45-00-220-060 Reference the Fits and Clearances of the HP Turbine Rotor and Stator Assembly at Location 1578
Refer to Figure.
Reference the clearance at location 1579. If required use the data written as a note in TASK 72-45-00-200-000 (INSPECTION-000) and Measure the stage 2 vane inner honeycomb seal diameter. To find the clearance subtract the stage 2 knife-edge seal diameter from the stage 2 vane inner honeycomb seal diameter.
Table 19. Fits and Clearances (all dimensions are in inches) NEW PART
WORN PART
DIMENSIONS
DIMENSIONS
PART IDENT
Size
Clearance
Non-select
REJECT IF
MORE THAN
LOCATION 1579
Stage 2 HPT Airseal Tip Radial Clearance
Clear
Clear
0.026
0.024
0.063
0.073
Clear
Clear
NOTE
Axis of the turbine case and vane assembly is 0.010 below the engine centerline.Table 20. Fits and Clearances (all dimensions are in millimeters) NEW PART
WORN PART
DIMENSIONS
DIMENSIONS
PART IDENT
Size
Clearance
Non-select
REJECT IF
MORE THAN
LOCATION 1579
Stage 2 HPT Airseal Tip Radial Clearance
Clear
Clear
0.66
0.61
1.60
1.854
Clear
Clear
NOTE
Axis of the turbine case and vane assembly is 0.254 below the engine centerline.
SUBTASK 72-45-00-220-061 Reference the Fits and Clearances of the HP Turbine Rotor and Stator Assembly at Location 1579
Use the table to find the correct class of the spacer HP Turbine (HPT) Rotor And Stator Assembly (72-45-00, 01-061 thru 01-070), Figure.
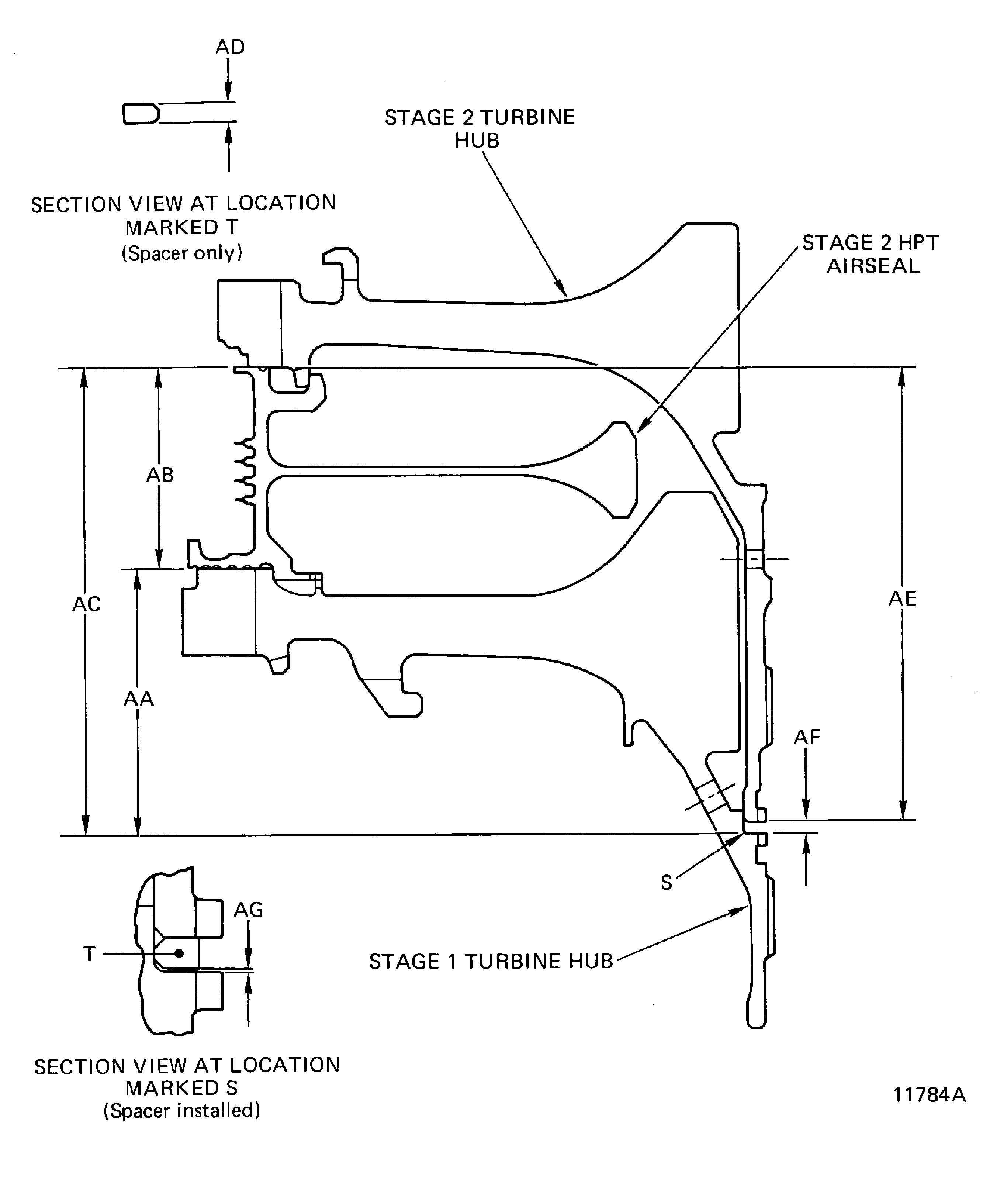
SUBTASK 72-45-00-430-051-001 Find the Thickness of the Spacer (Dimension AD) (Pre SBE 72-0075)
SBE 72-0075: Recontoured stage 1 and stage 2 hubs.
Find the No. 4 bearing spacer HP Turbine (HPT) Rotor And Stator Assembly (72-45-00, 01-061 thru HP Turbine (HPT) Rotor And Stator Assembly 01-070) thickness and get the correct class.
Use dimension AD and make a selection from the table given in Figure for the No. 4 bearing spacer class.
NOTE
This procedure is not necessary if the engine number is marked on the spacer.Mark V and the four numbers (V-XXXX) of the engine number on the spacer adjacent to the part number. Use the vibration peen method. Refer to SPM TASK 70-09-00-400-501.
SUBTASK 72-45-00-430-051-002 Find the Thickness of the Spacer (Dimension AD) (SBE 72-0075)
Find the index location for a vector stack of the stage 2 HP turbine airseal in relation to the stage 1 turbine rotor assembly. Adjust the index location on the stage 2 HP turbine airseal to get the nearest anti-rotation tab to engage with the stage 1 turbine rotor assembly.
NOTE
This is done to hold the calculated unbalance at a minimum.Make a temporary mark on the stage 2 HP Turbine Airseal and on the Stage 1 Turbine Rotor Assembly. Refer to SPM TASK 70-09-00-400-501.
SUBTASK 72-45-00-430-067 Find the locations for the stack of the stage 1 turbine rotor assembly, the stage 2 HP turbine airseal and the stage 2 turbine rotor assembly.
NOTE
If 10 or more of the Stage 2 HPT vane ring inner segments (72-45-24, 02-120) or (72-45-24, 02-320) have new honeycomb, the stage 2 air seal must be new or have the knife-edge coating applied again by VRS3209 (REPAIR-003) to prevent cracks in the knife-edges.Put the stage 2 HP turbine airseal HP Turbine (HPT) Rotor And Stator Assembly (72-45-00, 01-080) on a workbench with the larger OD flange up.
Install the seal in to the smaller groove on the airseal. Hold the seal in grooves with CoMat 01-573 WAX BLEND, PARAFFIN. Do a check of the end gap. Refer to Figure.
With the Stage 1 HP Turbine Rotor Assembly installed on to the IAE 1P16140 Support base, lift the IAE 1P16038 Heater 1 off and install on to the rear of the rotor assembly.
Connect the heater to the IAE 6F10027 Heater control unit 1 off. Heat the rotor assembly to a temperature of 300 deg F (149 deg C) maximum.
Remove the heater and the control and install the airseal (large OD down) to the rear of the stage 1 rotor assembly with the mark on the airseal aligned with the mark on the rotor. The slots on the rotor assembly must be aligned with the mating lugs on the airseal. Tap the airseal with a mallet until fully installed. Use protective equipment.
SUBTASK 72-45-00-430-052-A01 Install the Stage 2 HP Turbine Airseal
These dimensions must be plus or minus 0.001 in. (0.03 mm) of each other.
Dimension must be minus 0.000 in. (0.000 mm) to plus 0.006 in. (0.152 mm) of the recorded dimension AC.
If the dimension is more than 0.006 in. (0.153 mm) of the recorded dimension AC, remove and install the airseal.
Measure the distance for dimension AC at four locations of equal distance for the correct installation of the airseal.
SUBTASK 72-45-00-430-053 Dimension Check to Make Sure the Airseal is Installed Correctly (SBE 72-0022)
NOTE
Measure the thickness in three locations and average.Measure the thickness of the flange of the IAE 1P16052 Spline aligner detail plug, dimension J, Figure.
Adjust the center adapter on the build stand to set dimension H plus or minus 0.005 in. (0.127 mm), Figure.
Adjust the center adapter on the IAE 1P16028 Build stand 1 off.
SUBTASK 72-45-00-430-055 Set the Stage 1 Turbine Rotor Assembly Build Stand
Install the detail plug of the IAE 1P16052 Spline aligner 1 off to the ID of the stage 1 turbine rotor assembly at the small end. Thread the lift assembly detail in to the opposite end until the bar is tight against the rear face of the rotor hub.
Attach a hoist to the lift assembly. Lift the stage 1 rotor assembly from the support and install the stage 1 rotor assembly into the IAE 1P16028 Build stand 1 off with the plug detail positioned in to the center adapter on the stand.
On the spline plug end face make a mark to show the centerplane location of one of the 14 hub internal slots, Figure.
SUBTASK 72-45-00-430-056 Install the Stage 1 Turbine Rotor Assembly with the Airseal to the Build Stand
Refer to Figure.
Attach the IAE 1P16173 Lift sling 1 off to the rear flange of the HP Turbine Case And Vane Assembly. Secure with the spacers and the nuts.
SUBTASK 72-45-00-430-057 Install the HP Turbine Case and Vane Assembly
Refer to Figure.
Install the wire seal (01-040) to the groove on the rear of the Stage 2 HP Turbine airseal. Do a check of the end gap. Refer to Figure. Apply CoMat 01-573 WAX BLEND, PARAFFIN to secure in place.
SUBTASK 72-45-00-430-058 Install the Wire Seal to the Airseal
Refer to Figure.
Preparation of the IAE 1P16063 Fixture 1 off before installation.
SUBTASK 72-45-00-430-059 Install the Retaining Fixture to the Stage 2 Turbine Rotor Assembly
Refer to Figure.
Turn the three jaws on the IAE 1P16017 Lift fixture 1 off inward.
SUBTASK 72-45-00-430-060 Install the Lift Fixture to the Rear of the Stage 2 HP Turbine Rotor
Refer to Figure.
SUBTASK 72-45-00-430-061 Install the Stage 2 Turbine Rotor Assembly
Refer to Figure.
SUBTASK 72-45-00-430-062 Remove the Lift Fixture
Refer to Figure.
SUBTASK 72-45-00-430-063 Remove the Retaining Fixture
Refer to Figure.
Install the IAE 1P16046 Removal/Installation fixture or IAE 1P16543 Removal/Installation fixture 1 off.
NOTE
Dimension must be taken on unbroken part of surface on the hub flange.Use a depth vernier to measure the distance from the two machined areas on the fixture to the flange on the HPT rear hub (dimension D), Figure. Turn the rotor, as required, to obtain the correct dimension.
Measure to see if HPT is in the proper running position.
Install the IAE 1P16058 Removal/installation jaws assembly 1 off.
SUBTASK 72-45-00-430-064-A00 Install the Tooling to Position the HP Turbine Rotor and Stator Assembly (Pre SBE 72-0075)
Refer to Figure.
SBE 72-0075: Recontoured stage 1 and stage 2 hubs.
Install the IAE 1P16046 Removal/Installation fixture or IAE 1P16543 Removal/Installation fixture 1 off.
Use a depth vernier to measure the distance from the two machined areas on the fixture to the flange on the HPT rear hub (dimension D), Figure. Turn the rotor, as required, to obtain the correct dimension.
NOTE
Dimension must be taken on unbroken part of surface on the hub flange.
Measure to see if HPT is in the proper running position.
Install the IAE 1P16058 Removal/installation jaws assembly 1 off.
SUBTASK 72-45-00-430-064-B00 Install the Tooling to Position the HP Turbine Rotor and Stator Assembly (SBE 72-0075)
Install the shaft detail of the spline aligner to the plug in the center locator of the build stand, Figure.
Attach the scalloped plate detail of the adapter to the center hub of the fixture with the 12 tool bolts. Tighten the bolts. Install the small plate to the center of the scalloped plate, Figure.
Install the washer and the nut details of the spline aligner to the shaft detail. Tighten the nut to hold the rotors together, Figure.
Attach the IAE 1F10052 Two cables sling 1 off with a hoist to the circular spools on the fixture and lift the assembly from the build stand. Turn the HP turbine rotor and stator assembly to the front end up position.
Remove the locator from the center adapter on the build stand. Lower the assembly in to the build stand and remove the sling and the hoist, Figure.
SUBTASK 72-45-00-430-065 Turn the HP Turbine Rotor and Stator Assembly to the Front End Up Position
Refer to Figure
Install the clamp with the shaft to the stage 1 turbine hub, Figure.
Install the IAE 1P16047 Hydraulic adapter 1 off over the clamp shaft with the threaded end down and secure with a washer and a nut, Figure.
Attach the IAE 1F10026 Hydraulic hand pump 1 off to the hydraulic cylinder and operate to move the hubs together.
Install the IAE 1P16051 Clamp 1 off and the hydraulic cylinder.
SUBTASK 72-45-00-430-066 Install the Ladder Lock
Refer to Figure
If the dimension AG is not in limits the turbine must be disassembled. Refer to TASK 72-45-00-030-001-A00 (DISASSEMBLY-001).
SUBTASK 72-45-00-430-068 Dimension Check to Make Sure the Spacer is the Correct Thickness
Refer to Figure
SUBTASK 72-45-00-430-106 Inspect the Blade Tip for Clearances that are too Tight
NOTE
A check of the blade tip clearance on the HPT stage 1 and 2 is necessary to inspect for clearances that are too tight.
Figure: Pre SBE 72-0075: Dimensions necessary to find the thickness of the spacer
Sheet 1

Figure: SBE 72-0075: Dimensions necessary to find the thickness of the spacer
Sheet 2

Figure: Stage 1 HP turbine rotor heater installation
Stage 1 HP turbine rotor heater installation

Figure: Install the stage 2 HP turbine airseal
Install the stage 2 HP turbine airseal

Figure: Stage 1 turbine rotor assembly and airseal
Stage 1 turbine rotor assembly and airseal

Figure: Install the stage 1 turbine rotor assembly and the airseal in to the build stand
Install the stage 1 turbine rotor assembly and the airseal in to the build stand

Figure: Install the HP turbine case and vane assembly
Install the HP turbine case and vane assembly

Figure: IAE 1P16063 retaining fixture installation
IAE 1P16063 retaining fixture installation

Figure: IAE 1P16017 lift fixture installation
IAE 1P16017 lift fixture installation

Figure: Install the stage 2 turbine rotor assembly
Install the stage 2 turbine rotor assembly

Figure: Installation tooling for the HP turbine rotor and stator assembly
Installation tooling for the HP turbine rotor and stator assembly

Figure: Prepare to turn the HP turbine rotor and stator assembly
Prepare to turn the HP turbine rotor and stator assembly

Figure: Turn the HP turbine rotor and stator assembly
Turn the HP turbine rotor and stator assembly

Figure: HP turbine rotor and stator assembly clamp installation
HP turbine rotor and stator assembly clamp installation

Figure: Pre SBE 72-0075: HP turbine rotor and stator assembly - Fits and Clearances
Sheet 1

Figure: SBE 72-0075: HP turbine rotor and stator assembly - Fits and Clearances
Sheet 2

Figure: Thickness of spacer
Thickness of spacer

Figure: Stage 1 turbine rotor assembly and stage 2 airseal, seal installation
Stage 1 turbine rotor assembly and stage 2 airseal, seal installation

Figure: HP turbine rotor and stator assembly blade tip clearance check
HP turbine rotor and stator assembly blade tip clearance check

