Export Control
EAR Export Classification: Not subject to the EAR per 15 C.F.R. Chapter 1, Part 734.3(b)(3), except for the following Service Bulletins which are currently published as EAR Export Classification 9E991: SBE70-0992, SBE72-0483, SBE72-0580, SBE72-0588, SBE72-0640, SBE73-0209, SBE80-0024 and SBE80-0025.Copyright
© IAE International Aero Engines AG (2001, 2014 - 2021) The information contained in this document is the property of © IAE International Aero Engines AG and may not be copied or used for any purpose other than that for which it is supplied without the express written authority of © IAE International Aero Engines AG. (This does not preclude use by engine and aircraft operators for normal instructional, maintenance or overhaul purposes.).Applicability
V2500-A5
Common Information
TASK 72-41-30-440-008-B00 HPC Front Case And Vane Assembly - Install The Variable Inlet Guide Vane And The Stage 3 To 5 Connectors, Assembly-008
General
For all parts identified in a different Chapter/Section/Subject, the applicable Chapter/Section/Subject comes before the Fig/item number.
For standard torque data and procedures, refer to SPM TASK 70-41-01-400-501 and SPM TASK 70-41-00-400-501.
Special torque data and assembly tolerances are included in the procedure.
Lubricate all threads and touch faces of nuts and bolts with CoMat 10-077 APPROVED ENGINE OILS, unless other lubricants are referred to in the procedure.
To identify, lubricate and install seal rings, refer to SPM TASK 70-64-02-640-501.
For lockwire data and procedures refer to SPM TASK 70-42-05-400-501.
After assembly apply CoMat 07-038 AIR DRYING ENAMEL to any damaged surface protection, joint flanges and parts used to attach. Use the correct colour of the air drying enamel. Refer to SPM TASK 70-63-02-380-501.
The number for each raDiameterl location must be identified in a clockwise direction. These start at the engine top position when you look from the rear of the engine, unless stated differently in the procedure.
Refer to Figure for a sectional view of the HP compressor front case.
The Fits and Clearances, NEW PART DIMENSIONS and REJECT IF MORE THAN columns will be used by most operators. This permits the full use of the maximum wear allowance and a reduction in the number of parts which are rejected, is possible.
As long as REJECT IF MORE THAN columns do not include reject values, NEW PART DIMENSIONS do not have to be measured before assembly, as there are no reject-if criteria. Values are only valid for new parts, not for worn parts.
The column WORN PART DIMENSIONS (Non-Select) is included for operators who want to have full interchangeability. If this column is used an increase in the number of parts which are rejected is possible.
After the part has been in service for some time the REJECT IF MORE THAN and WORN PART DIMENSIONS could be changed. The operator must tell IAE and if agreed the manual will be changed.
The abbreviation shows an interference or tight fit. This causes REJECT IF MORE THAN to become REJECT IF LESS THAN.
The abbreviation clear shows a clearance fit.
This TASK gives the procedure to install the variable inlet guide vane and stage 3 to 5 connectors. The subsequent TASK gives the procedure to assemble the HP compressor front cases.
Install the HP Compressor Stage 4 and 5 Rotor Path Rings and Stage 6 Rotor Ring Segments by TASK 72-41-30-440-001-C00 (ASSEMBLY-001).
Measure and then Machine the Stage 6 Stator Vanes and the Stage 4, 5 and 6 Rotor Path Rings by TASK 72-41-30-440-002-B00 (ASSEMBLY-002).
Install the Variable Inlet Guide Vanes by TASK 72-41-30-440-003-B00 (ASSEMBLY-003).
Install the Stage 3 Stator Vanes by TASK 72-41-30-440-004-B00 (ASSEMBLY-004).
Install the Stage 4 Stator Vanes by TASK 72-41-30-440-005-B00 (ASSEMBLY-005).
Install the Stage 5 Stator Vanes by TASK 72-41-30-440-006-B00 (ASSEMBLY-006).
Install the Stage 6 Stator Vanes by TASK 72-41-30-440-007-B00 (ASSEMBLY-007).
Measure the HP Compressor Front Cases by TASK 72-41-30-440-009-B00 (ASSEMBLY-009).
Disassemble the HP Compressor Front Cases by TASK 72-41-30-440-010-B00 (ASSEMBLY-010).
Check and Set VSV System with Optimised Build and Setting Clearances - SBE 72-0400 by TASK 72-41-30-440-011-B00 (ASSEMBLY-011).
NOTE
NOTE
Preliminary Requirements
Pre-Conditions
NONESupport Equipment
| Name | Manufacturer | Part Number / Identification | Quantity | Remark |
|---|---|---|---|---|
| Inspection table | LOCAL | Inspection table | ||
| IAE 1R18205 Lifting tool | 0AM53 | IAE 1R18205 | 1 | |
| IAE 1R18207 Support stand | 0AM53 | IAE 1R18207 | 1 | |
| IAE 1R18423 Rigging pin | 0AM53 | IAE 1R18423 | 6 | |
| IAE 1R18892 Rigging pin | 0AM53 | IAE 1R18892 | 6 | |
| IAE 1R18423 Rigging pin | 0AM53 | IAE 1R18423 | 6 per stage | |
| IAE 1R18893 Riggingpin | 0AM53 | IAE 1R18893 | 6 | |
| IAE 1R18894 Rigging pin | 0AM53 | IAE 1R18894 | 6 | |
| IAE 1R18895 Rigging pin | 0AM53 | IAE 1R18895 | 6 | |
| IAE 1R19284 Lifting fixture | 0AM53 | IAE 1R19284 | 2 |
Consumables, Materials and Expendables
| Name | Manufacturer | Part Number / Identification | Quantity | Remark |
|---|---|---|---|---|
| CoMat 07-038 AIR DRYING ENAMEL | k3504 | CoMat 07-038 | ||
| CoMat 10-077 APPROVED ENGINE OILS | LOCAL | CoMat 10-077 |
Spares
NONESafety Requirements
NONEProcedure
Refer to Figure.
Reference dimensions at location 1303. If required use the data written as a note in TASK 72-41-34-200-000.
Table 1. Fits and Clearances (all dimensions are in inches) NEW PART
WORN PART
DIMENSIONS
DIMENSIONS
PART IDENT
Size
Clearance
Non-select
REJECT IF
MORE THAN
LOCATION 1303
VIGV Lever Assembly HPC Variable Stator Vane Actuation System (72-41-34, 02-120)
Location In The Bush HPC Variable Stator Vane Actuation System (72-41-34, 02-220)
VIGV Lever Pin Diameter
0.2353
0.2358
0.0004
Bush Inner Bore
0.2362
0.0016
0.2369
Table 2. Fits and Clearances (all dimensions are in millimeters) NEW PART
WORN PART
DIMENSIONS
DIMENSIONS
PART IDENT
Size
Clearance
Non-select
REJECT IF
MORE THAN
LOCATION 1303
VIGV Lever Assembly HPC Variable Stator Vane Actuation System (72-41-34, 02-120)
Location In The Bush HPC Variable Stator Vane Actuation System (72-41-34, 02-220)
VIGV Lever Pin Diameter
5.978
5.990
0.01
Bush Inner Bore
6.000
0.04
6.018
SUBTASK 72-41-30-220-193 Reference Fits and Clearances of the HP Compressor Front Cases and Vanes at Location 1303
Refer to Figure.
Reference dimensions at location 1304. If required use the data written as a note in TASK 72-41-34-200-000.
Table 3. Fits and Clearances (all dimensions are in inches) NEW PART
WORN PART
DIMENSIONS
DIMENSIONS
PART IDENT
Size
Clearance
Non-select
REJECT IF
MORE THAN
LOCATION 1304
VIGV Upper Ring HPC Variable Stator Vane Actuation System (72-41-34, 02-440) And The VIGV Lower Ring (72-41-34, 02-540)
Locations For The Hollow Dowel HPC Variable Stator Vane Actuation System (72-41-34, 02-208)
VIGV Upper And Lower Ring Locations For The Hollow Dowel
0.4762
0.4779
0.0023
Hollow Dowel Outer Diameter
0.4731
0.0048
0.4739
Table 4. Fits and Clearances (all dimensions are in millimeters) NEW PART
WORN PART
DIMENSIONS
DIMENSIONS
PART IDENT
Size
Clearance
Non-select
REJECT IF
MORE THAN
LOCATION 1304
VIGV Upper Ring (72-41-34, 02-440) The VIGV Lower Ring HPC Variable Stator Vane Actuation System (72-41-34, 02-540)
Locations For The Hollow Dowel HPC Variable Stator Vane Actuation System (72-41-34, 02-208)
VIGV Upper And Lower Ring Locations For The Hollow Dowel
12.095
12.139
0.059
Hollow Dowel Outer Diameter
12.018
0.121
12.036
SUBTASK 72-41-30-220-194 Reference Fits and Clearances of the HP Compressor Front Cases and Vanes at Location 1304
Refer to Figure.
Reference dimensions at location 1305. If required use the data written as a note in TASK 72-41-34-200-000.
Table 5. Fits and Clearances (all dimensions are in inches) NEW PART
WORN PART
DIMENSIONS
DIMENSIONS
PART IDENT
Size
Clearance
Non-select
REJECT IF
MORE THAN
LOCATION 1305
VIGV Actuating Ring Connector HPC Variable Stator Vane Actuation System (72-41-34, 02-200)
Location For The Hollow Dowel HPC Variable Stator Vane Actuation System (72-41-34, 02-208)
VIGV Actuating Ring Connector Location Bore For The Hollow Dowel
0.4762
0.4779
0.0023
Hollow Dowel Outer Diameter
0.4731
0.0048
0.4739
Table 6. Fits and Clearances (all dimensions are in millimeters) NEW PART
WORN PART
DIMENSIONS
DIMENSIONS
PART IDENT
Size
Clearance
Non-select
REJECT IF
MORE THAN
LOCATION 1305
VIGV Actuating Ring Connector HPC Variable Stator Vane Actuation System (72-41-34, 02-200)
Location For The Hollow Dowel HPC Variable Stator Vane Actuation System (72-41-34, 02-208)
VIGV Actuating Ring Connector Location Bore For The Hollow Dowel
12.095
12.138
0.059
Hollow Dowel Outer Diameter
12.018
0.121
12.036
SUBTASK 72-41-30-220-195 Reference Fits and Clearances of the HP Compressor Front Cases and Vanes at Location 1305
Refer to Figure.
Reference dimensions at location 1306. If required use the data written as a note in TASK 72-41-34-200-000.
Table 7. Fits and Clearances (all dimensions are in inches) NEW PART
WORN PART
DIMENSIONS
DIMENSIONS
PART IDENT
Size
Clearance
Non-select
REJECT IF
MORE THAN
LOCATION 1306
Upper VIGV Ring HPC Variable Stator Vane Actuation System (72-41-34, 02-440) And The Lower VIGV Ring HPC Variable Stator Vane Actuation System (72-41-34, 02-540)
Locations For The Hollow Dowel HPC Variable Stator Vane Actuation System (72-41-34, 02-206)
Upper And Lower VIGV Ring Location Bores For The Hollow Dowel
0.3969
0.3983
0.002
Hollow Dowel Outer Diameter
0.3943
0.004
0.3949
Table 8. Fits and Clearances (all dimensions are in millimeters) NEW PART
WORN PART
DIMENSIONS
DIMENSIONS
PART IDENT
Size
Clearance
Non-select
REJECT IF
MORE THAN
LOCATION 1306
Upper VIGV Ring HPC Variable Stator Vane Actuation System (72-41-34, 02-440) And The Lower VIGV Ring HPC Variable Stator Vane Actuation System (72-41-34, 02-540)
Locations For The Hollow Dowel HPC Variable Stator Vane Actuation System (72-41-34, 02-206)
Upper And Lower VIGV Ring Location Bores For The Hollow Dowel
10.080
10.116
0.050
Hollow Dowel Outer Diameter
10.015
0.101
10.030
SUBTASK 72-41-30-220-196 Reference Fits and Clearances of the HP Compressor Front Cases and Vanes at Location 1306
Refer to Figure.
Reference dimensions at location 1307. If required use the data written as a note in TASK 72-41-34-200-000.
Table 9. Fits and Clearances (all dimensions are in inches) NEW PART
WORN PART
DIMENSIONS
DIMENSIONS
PART IDENT
Size
Clearance
Non-select
REJECT IF
MORE THAN
LOCATION 1307
VIGV Actuating Ring Connector HPC Variable Stator Vane Actuation System (72-41-34, 02-200)
Locations For The Hollow Dowel HPC Variable Stator Vane Actuation System (72-41-34, 02-206)
VIGV Actuating Ring Connector Location Bores For The Hollow Dowel
0.3969
0.3983
0.002
Hollow Dowel Outer Diameter
0.3943
0.004
0.3949
Table 10. Fits and Clearances (all dimensions are in millimeters) NEW PART
WORN PART
DIMENSIONS
DIMENSIONS
PART IDENT
Size
Clearance
Non-select
REJECT IF
MORE THAN
LOCATION 1307
VIGV Actuating Ring Connector HPC Variable Stator Vane Actuation System (72-41-34, 02-200)
Locations For The Hollow Dowel HPC Variable Stator Vane Actuation System (72-41-34, 02-206)
VIGV Actuating Ring Connector Location Bores For The Hollow Dowel
10.080
10.116
0.050
Hollow Dowel Outer Diameter
10.015
0.101
10.030
SUBTASK 72-41-30-220-197 Reference Fits and Clearances of the HP Compressor Front Cases and Vanes at Location 1307
Refer to Figure.
Reference dimensions at location 1313. If required use the data written as a note in TASK 72-31-34-200-000.
Table 11. Fits and Clearances (all dimensions are in inches) NEW PART
WORN PART
DIMENSIONS
DIMENSIONS
PART IDENT
Size
Clearance
Non-select
REJECT IF
MORE THAN
LOCATION 1313
Stage 3 VSV Lever HPC Variable Stator Vane Actuation System (72-41-34, 03-120)
Location In The Bushes HPC Variable Stator Vane Actuation System (72-41-34, 03-220 and 03-300)
Stage 3 VSV Lever Pin Diameter
0.2353
0.2358
0.0004
Bush Bore
0.2362
0.0016
0.2369
Table 12. Fits and Clearances (all dimensions are in millimeters) NEW PART
WORN PART
DIMENSIONS
DIMENSIONS
PART IDENT
Size
Clearance
Non-select
REJECT IF
MORE THAN
LOCATION 1313
Stage 3 VSV Lever HPC Variable Stator Vane Actuation System (72-41-34, 03-120)
Location In The Bushes HPC Variable Stator Vane Actuation System (72-41-34, 03-220 and 03-300)
Stage 3 VSV lever Pin Diameter
5.978
5.990
0.010
Bush Bore
6.000
0.040
6.018
SUBTASK 72-41-30-220-198 Reference Fits and Clearances of the HP Compressor Front Cases and Vanes at Location 1313
Refer to Figure.
Reference dimensions at location 1314. If required use the data written as a note in TASK 72-41-34-200-000.
Table 13. Fits and Clearances (all dimensions are in inches) NEW PART
WORN PART
DIMENSIONS
DIMENSIONS
PART IDENT
Size
Clearance
Non-select
REJECT IF
MORE THAN
LOCATION 1314
Stage 3 Lower Ring HPC Variable Stator Vane Actuation System (72-41-34, 03-540)
Location For The Hollow Dowel HPC Variable Stator Vane Actuation System (72-41-34, 03-288)
Stage 3 Lower Ring Location Bore For The Hollow Dowel
0.3969
0.3983
0.002
Dowel External Diameter
0.3943
0.004
0.3949
Table 14. Fits and Clearances (all dimensions are in millimeters) NEW PART
WORN PART
DIMENSIONS
DIMENSIONS
PART IDENT
Size
Clearance
Non-select
REJECT IF
MORE THAN
LOCATION 1314
Stage 3 Lower Ring HPC Variable Stator Vane Actuation System (72-41-34, 03-540)
Location For The Hollow Dowel HPC Variable Stator Vane Actuation System (72-41-34, 03-288)
Stage 3 Lower Ring Location Bore For The Hollow Dowel
10.080
10.116
0.050
Dowel External Diameter
10.015
0.101
10.030
SUBTASK 72-41-30-220-199 Reference Fits and Clearances of the HP Compressor Front Cases and Vanes at Location 1314
Refer to Figure.
Reference dimensions at location 1315. If required use the data written as a note in TASK 72-41-34-200-000.
Table 15. Fits and Clearances (all dimensions are in inches) NEW PART
WORN PART
DIMENSIONS
DIMENSIONS
PART IDENT
Size
Clearance
Non-select
REJECT IF
MORE THAN
LOCATION 1315
Upper And Lower Stage 3 Rings HPC Variable Stator Vane Actuation System (72-41-34, 03-440 and 03-540)
Locations For The Hollow Dowel HPC Variable Stator Vane Actuation System (72-41-34, 03-286)
Upper And Lower Stage 3 Rings Location Bore For The Hollow Dowel
0.3969
0.3983
0.002
Hollow Dowel Outer Diameter
0.3943
0.004
0.3949
Table 16. Fits and Clearances (all dimensions are in millimeters) NEW PART
WORN PART
DIMENSIONS
DIMENSIONS
PART IDENT
Size
Clearance
Non-select
REJECT IF
MORE THAN
LOCATION 1315
Upper And Lower Stage 3 Rings HPC Variable Stator Vane Actuation System (72-41-34, 03-440 and 03-540)
Locations For The Hollow Dowel HPC Variable Stator Vane Actuation System (72-41-34, 03-286)
Upper And Lower Stage 3 Rings Location Bore For The Hollow Dowel
10.080
10.116
0.050
Hollow Dowel Outer Diameter
10.015
0.101
10.030
SUBTASK 72-41-30-220-200 Reference Fits and Clearances of the HP Compressor Front Cases and Vanes at Location 1315
Refer to Figure.
Reference dimensions at location 1316. If required use the data written as a note in TASK 72-41-34-200-000.
Table 17. Fits and Clearances (all dimensions are in inches) NEW PART
WORN PART
DIMENSIONS
DIMENSIONS
PART IDENT
Size
Clearance
Non-select
REJECT IF
MORE THAN
LOCATION 1316
Upper And Lower Stage 3 Rings HPC Variable Stator Vane Actuation System (72-41-34, 03-440 and 03-540)
Locations For The Sleeve Dowel HPC Variable Stator Vane Actuation System (72-41-34, 03-206)
Upper And Lower Stage 3 Rings Location Bore For The Sleeve Dowel
0.3969
0.3983
0.002
Sleeve Dowel Outer Diameter
0.3943
0.004
0.3949
Table 18. Fits and Clearances (all dimensions are in millimeters) NEW PART
WORN PART
DIMENSIONS
DIMENSIONS
PART IDENT
Size
Clearance
Non-select
REJECT IF
MORE THAN
LOCATION 1316
Upper And Lower Stage 3 Rings HPC Variable Stator Vane Actuation System (72-41-34, 03-440 and 03-540)
Locations For The Sleeve Dowel HPC Variable Stator Vane Actuation System (72-41-34, 03-206)
Upper And Lower Stage 3 Rings Location Bore For The Sleeve Dowel
10.080
10.116
0.050
Sleeve Dowel Outer Diameter
10.015
0.101
10.030
SUBTASK 72-41-30-220-201 Reference Fits and Clearances of the HP Compressor Front Cases and Vanes at Location 1316
Refer to Figure.
Reference dimensions at location 1317. If required use the data written as a note in TASK 72-41-34-200-000.
Table 19. Fits and Clearances (all dimensions are in inches) NEW PART
WORN PART
DIMENSIONS
DIMENSIONS
PART IDENT
Size
Clearance
Non-select
REJECT IF
MORE THAN
LOCATION 1317
Stage 3 Connector HPC Variable Stator Vane Actuation System(72-41-34, 03-280)
Location For The Hollow Dowel HPC Variable Stator Vane Actuation System (72-41-34, 03-286)
Stage 3 Connector Location Bore For The Hollow Dowel
0.3969
0.3983
0.002
Hollow Dowel Outer Diameter
0.3943
0.004
0.3949
Table 20. Fits and Clearances (all dimensions are in millimeters) NEW PART
WORN PART
DIMENSIONS
DIMENSIONS
PART IDENT
Size
Clearance
Non-select
REJECT IF
MORE THAN
LOCATION 1317
Stage 3 Connector HPC Variable Stator Vane Actuation System (72-41-34, 03-280)
Location For The Hollow Dowel HPC Variable Stator Vane Actuation System (72-41-34, 03-286)
Stage 3 Connector Location Bore For The Hollow Dowel
10.080
10.116
0.050
Hollow Dowel Outer Diameter
10.015
0.101
10.030
SUBTASK 72-41-30-220-202 Reference Fits and Clearances of the HP Compressor Front Cases and Vanes at Location 1317
Refer to Figure.
Reference dimensions at location 1318. If required use the data written as a note in TASK 72-41-34-200-000.
Table 21. Fits and Clearances (all dimensions are in inches) NEW PART
WORN PART
DIMENSIONS
DIMENSIONS
PART IDENT
Size
Clearance
Non-select
REJECT IF
MORE THAN
LOCATION 1318
Stage 3 Connector HPC Variable Stator Vane Actuation System(72-41-34, 03-200)
Location For The Hollow Dowel HPC Variable Stator Vane Actuation System (72-41-34, 03-206)
Stage 3 Connector Location Bore For The Hollow Dowel
0.3969
0.3983
0.002
Hollow Dowel Outer Diameter
0.3943
0.004
0.3949
Table 22. Fits and Clearances (all dimensions are in millimeters) NEW PART
WORN PART
DIMENSIONS
DIMENSIONS
PART IDENT
Size
Clearance
Non-select
REJECT IF
MORE THAN
LOCATION 1318
Stage 3 Connector HPC Variable Stator Vane Actuation System (72-41-34, 03-200)
Location For The Hollow Dowel HPC Variable Stator Vane Actuation System (72-41-34, 03-206)
Stage 3 Connector Location Bore For The Hollow Dowel
10.080
10.116
0.050
Hollow Dowel Outer Diameter
10.015
0.101
10.030
SUBTASK 72-41-30-220-203 Reference Fits and Clearances of the HP Compressor Front Cases and Vanes at Location 1318
Refer to Figure.
Reference dimensions at location 1319. If required use the data written as a note in TASK 72-41-34-200-000.
Table 23. Fits and Clearances (all dimensions are in inches) NEW PART
WORN PART
DIMENSIONS
DIMENSIONS
PART IDENT
Size
Clearance
Non-select
REJECT IF
MORE THAN
LOCATION 1319
Stage 3 Connector HPC Variable Stator Vane Actuation System (72-41-34, 03-280)
Location For The Hollow Dowel HPC Variable Stator Vane Actuation System (72-41-34, 03-288)
Stage 3 Connector Location Bore For The Hollow Dowel
0.3969
0.3983
0.002
Hollow Dowel Outer Diameter
0.3943
0.004
0.3949
Table 24. Fits and Clearances (all dimensions are in millimeters) NEW PART
WORN PART
DIMENSIONS
DIMENSIONS
PART IDENT
Size
Clearance
Non-select
REJECT IF
MORE THAN
LOCATION 1319
Stage 3 Connector HPC Variable Stator Vane Actuation System (72-41-34, 03-280)
Location For The Hollow Dowel HPC Variable Stator Vane Actuation System (72-41-34, 03-288)
Stage 3 Connector Location Bore For The Hollow Dowel
10.080
10.116
0.050
Hollow Dowel Outer Diameter
10.015
0.101
10.030
SUBTASK 72-41-30-220-204 Reference Fits and Clearances of the HP Compressor Front Cases and Vanes at Location 1319
Refer to Figure.
Reference dimensions at location 1323. If required use the data written as a note in TASK 72-41-34-200-000.
Table 25. Fits and Clearances (all dimensions are in inches) NEW PART
WORN PART
DIMENSIONS
DIMENSIONS
PART IDENT
Size
Clearance
Non-select
REJECT IF
MORE THAN
LOCATION 1323
Stage 4 VSV Lever HPC Variable Stator Vane Actuation System (72-41-34, 04-120)
Location For The Bush HPC Variable Stator Vane Actuation System (72-41-34, 04-220)
Stage 4 VSV Lever Pin Diameter
0.1960
0.1965
0.0004
Bush Inner Bore
0.1969
0.0016
0.1976
Table 26. Fits and Clearances (all dimensions are in millimeters) NEW PART
WORN PART
DIMENSIONS
DIMENSIONS
PART IDENT
Size
Clearance
Non-select
REJECT IF
MORE THAN
LOCATION 1323
Stage 4 VSV Lever HPC Variable Stator Vane Actuation System (72-41-34, 04-120)
Location For The Bush HPC Variable Stator Vane Actuation System (72-41-34, 04-220)
Stage 4 VSV Lever Pin Diameter
4.978
4.990
0.01
Bush Inner Bore
5.000
0.04
5.018
SUBTASK 72-41-30-220-205 Reference Fits and Clearances of the HP Compressor Front Cases and Vanes at Location 1323
Refer to Figure.
Reference dimensions at location 1324. If required use the data written as a note in TASK 72-41-34-200-000.
Table 27. Fits and Clearances (all dimensions are in inches) NEW PART
WORN PART
DIMENSIONS
DIMENSIONS
PART IDENT
Size
Clearance
Non-select
REJECT IF
MORE THAN
LOCATION 1324
Upper And Lower Stage 4 Rings HPC Variable Stator Vane Actuation System (72-41-34, 04-440 and 04-540)
Location For The Sleeve Dowel HPC Variable Stator Vane Actuation System (72-41-34, 04-206)
Upper And Lower Stage 4 Ring Location Bore For The Sleeve Dowel
0.3969
0.3983
0.002
Sleeve Dowel Outer Diameter
0.3943
0.004
0.3949
Table 28. Fits and Clearances (all dimensions are in millimeters) NEW PART
WORN PART
DIMENSIONS
DIMENSIONS
PART IDENT
Size
Clearance
Non-select
REJECT IF
MORE THAN
LOCATION 1324
Upper And Lower Stage 4 Rings HPC Variable Stator Vane Actuation System (72-41-34, 04-440 and 04-540)
Location For The Sleeve Dowel HPC Variable Stator Vane Actuation System (72-41-34, 04-206)
Upper And Lower Stage 4 Ring Location Bore For The Sleeve Dowel
10.080
10.116
0.050
Sleeve Dowel Outer Diameter
10.015
0.101
10.030
SUBTASK 72-41-30-220-206 Reference Fits and Clearances of the HP Compressor Front Cases and Vanes at Location 1324
Refer to Figure.
Reference dimensions at location 1325. If required use the data written as a note in TASK 72-41-34-200-000.
Table 29. Fits and Clearances (all dimensions are in inches) NEW PART
WORN PART
DIMENSIONS
DIMENSIONS
PART IDENT
Size
Clearance
Non-select
REJECT IF
MORE THAN
LOCATION 1325
Stage 4 Connector HPC Variable Stator Vane Actuation System (72-41-34, 04-200)
Location For The Sleeve Dowel HPC Variable Stator Vane Actuation System (72-41-34, 04-206)
Stage 4 Connector Location Bore For The Sleeve Dowel
0.3969
0.3983
0.002
Sleeve Dowel Outer Diameter
0.3943
0.004
0.3949
Table 30. Fits and Clearances (all dimensions are in millimeters) NEW PART
WORN PART
DIMENSIONS
DIMENSIONS
PART IDENT
Size
Clearance
Non-select
REJECT IF
MORE THAN
LOCATION 1325
Stage 4 Connector HPC Variable Stator Vane Actuation System (72-41-34, 04-200)
Location For The Sleeve Dowel HPC Variable Stator Vane Actuation System (72-41-34, 04-206)
Stage 4 Connector Location Bore For The Sleeve Dowel
10.080
10.116
0.050
Sleeve Dowel Outer Diameter
10.015
0.101
10.030
SUBTASK 72-41-30-220-207 Reference Fits and Clearances of the HP Compressor Front Cases and Vanes at Location 1325
Refer to Figure.
Reference dimensions at location 1331. If required use the data written as a note in TASK 72-41-34-200-000.
Table 31. Fits and Clearances (all dimensions are in inches) NEW PART
WORN PART
DIMENSIONS
DIMENSIONS
PART IDENT
Size
Clearance
Non-select
REJECT IF
MORE THAN
LOCATION 1331
Stage 5 VSV Lever HPC Variable Stator Vane Actuation System (72-41-34, 05-120 And 72-41-34, 05-140)
Location In The Bush HPC Variable Stator Vane Actuation System (72-41-34, 05-220)
Stage 5 VSV Lever Pin Diameter
0.1960
0.1965
0.0004
Bush Inner Bore
0.1969
0.0016
0.1976
Table 32. Fits and Clearances (all dimensions are in millimeters) NEW PART
WORN PART
DIMENSIONS
DIMENSIONS
PART IDENT
Size
Clearance
Non-select
REJECT IF
MORE THAN
LOCATION 1331
Stage 5 VSV Lever HPC Variable Stator Vane Actuation System (72-41-34, 05-120 and 72-41-34, 05-140)
Location In The Bush HPC Variable Stator Vane Actuation System (72-41-34, 05-220)
Stage 5 VSV Lever Pin Diameter
4.978
4.990
0.01
Bush Inner Bore
5.000
0.04
5.018
SUBTASK 72-41-30-220-208 Reference Fits and Clearances of the HP Compressor Front Cases and Vanes at Location 1331
Refer to Figure.
Reference dimensions at location 1332. If required use the data written as a note in TASK 72-41-34-200-000.
Table 33. Fits and Clearances (all dimensions are in inches) NEW PART
WORN PART
DIMENSIONS
DIMENSIONS
PART IDENT
Size
Clearance
Non-select
REJECT IF
MORE THAN
LOCATION 1332
Upper And Lower Stage 5 Actuating Rings HPC Variable Stator Vane Actuation System (72-41-34, 05-440 And 05-540)
Locations For The Sleeve Dowel HPC Variable Stator Vane Actuation System (72-41-34, 05-206)
Upper And Lower Stage 5 Actuating Rings Location Bores For The Sleeve Dowel
0.3969
0.3983
0.002
Sleeve Dowel Outer Diameter
0.3943
0.004
0.3949
Table 34. Fits and Clearances (all dimensions are in millimeters) NEW PART
WORN PART
DIMENSIONS
DIMENSIONS
PART IDENT
Size
Clearance
Non-select
REJECT IF
MORE THAN
LOCATION 1332
Upper And Lower Stage 5 Actuating Rings HPC Variable Stator Vane Actuation System (72-41-34, 05-440 And 05-540)
Locations For The Sleeve Dowel HPC Variable Stator Vane Actuation System (72-41-34, 05-206)
Upper And Lower Stage 5 Actuating Rings Location Bores For The Sleeve Dowel
10.080
10.116
0.050
Sleeve Dowel Outer Diameter
10.015
0.101
10.030
SUBTASK 72-41-30-220-209 Reference Fits and Clearances of the HP Compressor Front Cases and Vanes at Location 1332
Refer to Figure.
Reference dimensions at location 1333. If required use the data written as a note in TASK 72-41-34-200-000.
Table 35. Fits and Clearances (all dimensions are in inches) NEW PART
WORN PART
DIMENSIONS
DIMENSIONS
PART IDENT
Size
Clearance
Non-select
REJECT IF
MORE THAN
LOCATION 1333
Stage 5 Connector HPC Variable Stator Vane Actuation System (72-41-34, 05-200)
Location For The Sleeve Dowel HPC Variable Stator Vane Actuation System (72-41-34, 05-206)
Stage 5 Connector Location Bore For The Sleeve Dowel
0.3969
0.3983
0.002
Sleeve Dowel Outer Diameter
0.3943
0.004
0.3949
Table 36. Fits and Clearances (all dimensions are in millimeters) NEW PART
WORN PART
DIMENSIONS
DIMENSIONS
PART IDENT
Size
Clearance
Non-select
REJECT IF
MORE THAN
LOCATION 1333
Stage 5 Connector HPC Variable Stator Vane Actuation System (72-41-34, 05-200)
Location For The Sleeve Dowel HPC Variable Stator Vane Actuation System (72-41-34, 05-206)
Stage 5 Connector Location Bore For The Sleeve Dowel
10.080
10.116
0.050
Sleeve Dowel Outer Diameter
10.015
0.101
10.030
SUBTASK 72-41-30-220-210 Reference Fits and Clearances of the HP Compressor Front Cases and Vanes at Location 1333
Install the IAE 1R19284 Lifting fixture 2 off on to the HP compressor upper and lower half front cases rear flanges.
Install the two stage 4 sealing strips HP COMPRESSOR SPLIT CASE (72-41-31, 01-678) in to the slots in the stage 4 rotor path ring at the split line flanges.
Install the two stage 5 sealing strips HP COMPRESSOR SPLIT CASE (72-41-31, 01-679) in to the slots in the stage 5 rotor path ring at the split line flanges.
Install the two stage 6 sealing strips HP COMPRESSOR SPLIT CASE (72-41-31, 01-680) in to the slots in the stage 6 rotor path ring at the split line flanges.
Pre SBE 74-0001: Install the two bolts HPC Assembly (72-41-00, 01-112) and nuts HPC Assembly (72-41-00, 01-101) at the split line flange positions 13 and 31. Install the 30 bolts HPC Assembly (72-41-00, 01-108), spacers HPC Assembly (72-41-00, 01-104) and nuts HPC Assembly (72-41-00, 01-102) at the remaining split line flange positions.
SBE 74-0001: Install the four bolts HPC Assembly (72-41-00, 01-112) and nuts HPC Assembly (72-41-00, 01-101) at the split line flange positions 28, 24, 30 and 32. Install the 28 bolts HPC Assembly (72-41-00, 01-108), spacers HPC Assembly (72-41-00, 01-104) and nuts HPC Assembly (72-41-00, 01-102) at the remaining split line flange positions.
Tighten the six bolts installed in Step.
Install IAE 1R18205 Lifting tool 1 off on the HP compressor front case rear flange.
Lower the HP compressor front case on to IAE 1R18207 Support stand 1 off.
SUBTASK 72-41-30-440-159 Install the Front Cases Split Line Nuts, Bolts and Spacers
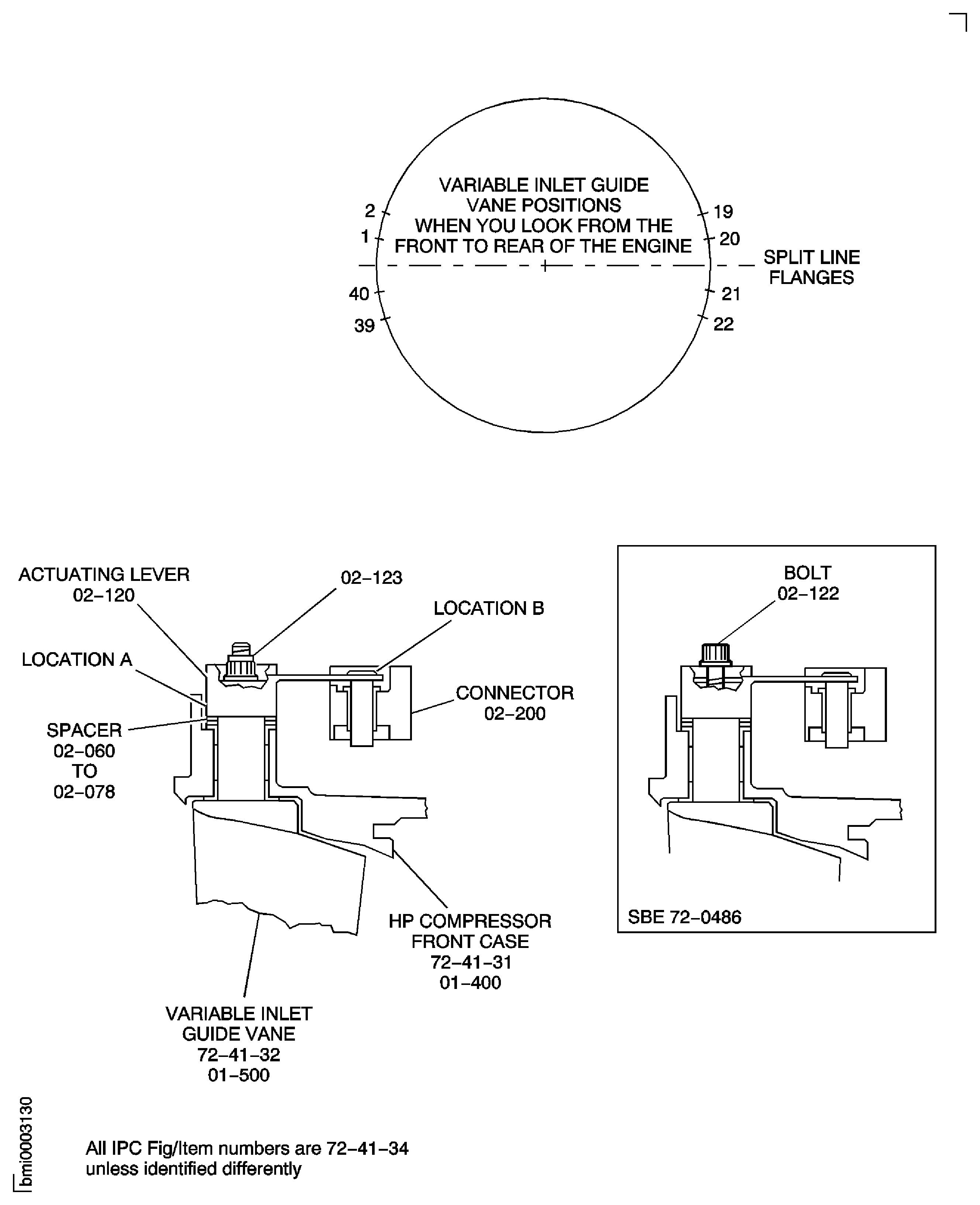
Remove the eight nuts HPC Variable Stator Vane Actuation System (72-41-34, 02-123) from the eight inlet guide vanes at the positions 1, 2, 19 to 22, 39 and 40.
Remove the eight actuating levers HPC Variable Stator Vane Actuation System (72-41-34, 02-120) from the eight inlet guide vanes. Identify each actuating lever with its position number.
Install the eight nuts, removed in Step, to keep the installed spacers on the inlet guide vane spindles.
Pre SBE 72-0486: Remove the variable inlet guide vane actuating levers.
Remove the eight bolts HPC Variable Stator Vane Actuation System (72-41-34, 02-122) from the eight inlet guide vanes at the positions 1, 2, 19 to 22, 39 and 40.
Remove the eight actuating levers HPC Variable Stator Vane Actuation System (72-41-34, 02-120) from the eight inlet guide vanes. Identify each actuating lever with its position number.
Install the eight bolts, removed in Step, to keep the installed spacers on the inlet guide vane spindles.
SBE 72-0486: Remove the variable inlet guide vane actuating levers.
Install the two bolts HPC Variable Stator Vane Actuation System (72-41-34, 02-732) and HPC Variable Stator Vane Actuation System (72-41-34, 02-733) to attach the left hand connector housing to the left hand connector.
Install the left hand connector housing HPC Variable Stator Vane Actuation System (72-41-34, 02-730) in to the left hand connector HPC Variable Stator Vane Actuation System (72-41-34, 02-200).
Install the two bolts HPC Variable Stator Vane Actuation System (72-41-34, 02-732) and HPC Variable Stator Vane Actuation System (72-41-34, 04-733) to attach the right hand connector housing to the left hand connector.
Install the right hand connector housing HPC Variable Stator Vane Actuation System (72-41-34, 02-750) in to the left hand connector.
Put the left hand connector in to position on the upper and lower actuating rings. Install one of IAE 1R18423 Rigging pin 2 off or IAE 1R18892 Rigging pin 2 off to hold the connector to the upper actuating ring.
Pre SBE 72-0385 or SBE 72-0416: Install the three hollow dowels HPC Variable Stator Vane Actuation System (72-41-34, 02-206) and the three bolts HPC Variable Stator Vane Actuation System (72-41-34, 02-202), which attach the left hand VIGV connector to the upper and lower actuating rings. Torque the bolts to 85 lbfin to 105 lbfin (10.00 Nm to 12.00 Nm).
SBE 72-0385: Install the three bolts HPC Variable Stator Vane Actuation System (72-41-34, 02-202), which attach the left hand VIGV connector to the upper and lower actuating rings. Torque the bolts to 85 lbfin to 105 lbfin (10.00 Nm to 12.00 Nm).
SBE 72-0416: Install the three bolts HPC Variable Stator Vane Actuation System (72-41-34, 02-202) and the washer HPC Variable Stator Vane Actuation System (72-41-34, 02-205) which attach the left hand VIGV connector to the upper and lower actuating rings. Torque the bolts to 85 lbfin to 105 lbfin (10.00 Nm to 12.00 Nm).
Pre SBE 72-0385 or SBE 72-0416: Install the hollow dowel HPC Variable Stator Vane Actuation System (72-41-34, 02-208) and the bolt HPC Variable Stator Vane Actuation System (72-41-34, 02-203), which attach the left hand VIGV connector to the lower actuating ring. Torque the bolt to 180 lbfin to 220 lbfin (20 Nm to 25 Nm).
SBE 72-0385: Install the bolt HPC Variable Stator Vane Actuation System (72-41-34, 02-203), which attach the left hand VIGV connector to the lower actuating ring. Torque the bolt to 180 lbfin to 220 lbfin (20 Nm to 25 Nm).
SBE 72-0416: Install the bolt HPC Variable Stator Vane Actuation System (72-41-34, 02-203) and the washer HPC Variable Stator Vane Actuation System (72-41-34, 02-207) which attach the left hand VIGV connector to the lower actuating ring. Torque the bolt to 180 lbfin to 220 lbfin (20 Nm to 25 Nm).
Pre SBE 72-0400: Install the left hand connectors on to the VIGV upper and lower actuating rings HPC Variable Stator Vane Actuation System (72-41-34, 02-440) and HPC Variable Stator Vane Actuation System (72-41-34, 02-540).
Install the left hand connectors on to the VIGV upper and lower actuating rings HPC Variable Stator Vane Actuation System (72-41-34, 02-440) and HPC Variable Stator Vane Actuation System (72-41-34, 02-540).
Pre SBE 72-0385 or SBE 72-0416: Install the three hollow dowels HPC Variable Stator Vane Actuation System (72-41-34, 02-206) and the three bolts HPC Variable Stator Vane Actuation System (72-41-34, 02-202), which attach the left hand VIGV connector to the upper and lower actuating rings. Torque the bolts to 85 lbfin to 105 lbfin (10.00 Nm to 12.00 Nm).
SBE 72-0385: Install the three bolts HPC Variable Stator Vane Actuation System (72-41-34, 02-202), which attach the left hand VIGV connector to the upper and lower actuating rings. Torque the bolts to 85 lbfin to 105 lbfin (10.00 Nm to 12.00 Nm).
SBE 72-0416: Install the three bolts HPC Variable Stator Vane Actuation System (72-41-34, 02-202) and the washer HPC Variable Stator Vane Actuation System (72-41-34, 02-205) which attach the left hand VIGV connector to the upper and lower actuating rings. Torque the bolts to 85 lbfin to 105 lbfin (10.00 Nm to 12.00 Nm).
Pre SBE 72-0385 or SBE 72-0416: Install the hollow dowel HPC Variable Stator Vane Actuation System (72-41-34, 02-208) and the bolt HPC Variable Stator Vane Actuation System (72-41-34, 02-203), which attach the left hand VIGV connector to the lower actuating ring. Torque the bolt to 180 lbfin to 220 lbfin (20 Nm to 25 Nm).
SBE 72-0385: Install the bolt HPC Variable Stator Vane Actuation System (72-41-34, 02-203), which attach the left hand VIGV connector to the lower actuating ring. Torque the bolt to 180 lbfin to 220 lbfin (20 Nm to 25 Nm).
SBE 72-0416: Install the bolt HPC Variable Stator Vane Actuation System (72-41-34, 02-203) and the washer HPC Variable Stator Vane Actuation System (72-41-34, 02-207) which attach the left hand VIGV connector to the lower actuating ring. Torque the bolt to 180 lbfin to 220 lbfin (20 Nm to 25 Nm).
SBE 72-0400: Install the left and right hand connectors and connector housings to the upper and lower actuating rings, follow the procedure in TASK 72-41-30-440-011-B00 (ASSEMBLY-011) and this SUBTASK.
SUBTASK 72-41-30-440-160 Install the Connector Housings and the Variable Inlet Guide Vane Connector Assemblies (Pre SBE 72-0400, SBE 72-0400, Pre SBE 72-0385or SBE 72-0416, SBE 72-0385or SBE 72-0416, Pre SBE 72-0486 and SBE 72-0486)
SBE 72-0486: HP compressor variable vanes - Introduction of a revised VIGV with an optimised spindle
Refer to Figure.
Pre SBE 72-0486: Remove the eight slave nuts from the eight guide vanes.
SBE 72-0486: Remove the eight slave bolts from the eight guide vanes.
Remove the two installed spacers HPC Variable Stator Vane Actuation System (72-41-34, 02-060) from the spindles of the eight guide vanes. Measure and write down the total thickness of the two spacers.
Install the two spacers on to the spindles of the eight guide vanes. The thickness of the spacers that are to be installed is equal to:
The total thickness of the two spacers removed in Step plus the end float minus 0.003 in. to 0.005 in. (0.08 mm to 0.13 mm).
Refer to TASK 72-41-30-440-003 where the end float was measured and written down.
Install the spacers HPC Variable Stator Vane Actuation System (72-41-34, 02-060 to 02-078) on to the variable inlet guide vanes at the positions 1, 2, 19 to 22, 39 and 40.
Pre SBE 72-0486: Install the eight nuts HPC Variable Stator Vane Actuation System (72-41-34, 02-123) removed in Step. Tighten the eight nuts.
SBE 72-0486: Install the eight bolts HPC Variable Stator Vane Actuation System (72-41-34, 02-122) removed in Step. Tighten the eight bolts.
Pre SBE 72-0486: Torque the eight nuts to 85 lbfin to 105 lbfin (10.00 Nm to 12.00 Nm).
SBE 72-0486: Torque the eight bolts to 100 lbfin (11.50 Nm), plus the run down torque.

CAUTION
MAKE SURE THE CORRECT VARIABLE INLET GUIDE VANE ACTUATING LEVER IS INSTALLED ON THE CORRECT VARIABLE INLET GUIDE VANE.Install the eight variable inlet guide vane actuating levers HPC Variable Stator Vane Actuation System (72-41-34, 02-120).
SUBTASK 72-41-30-440-161 Install the Variable Inlet Guide Vane Actuating Levers at the Connectors (Pre SBE 72-0486 and SBE 72-0486)
Refer to Figure.
Install IAE 1R18423 Rigging pin 4 off or IAE 1R18892 Rigging pin 4 off to set the VIGVs in the correct position.
Loosen the two bolts which attach a centralizing pad HPC Variable Stator Vane Actuation System (72-41-34, 02-680) to the actuating ring.
Install the centralizing pad adjusting washers HPC Variable Stator Vane Actuation System (72-41-34, 02-654) thru HPC Variable Stator Vane Actuation System (72-41-34, 02-670).
Loosen the two bolts which attach a connector housing HPC Variable Stator Vane Actuation System (72-41-34, 02-730) and HPC Variable Stator Vane Actuation System (72-41-34, 02-750) to the connector.
Install the connector housing adjusting washers HPC Variable Stator Vane Actuation System (72-41-34, 02-704) thru HPC Variable Stator Vane Actuation System (72-41-34, 02-720).
SUBTASK 72-41-30-440-162-A00 Install the VIGV Centralizing Pad and the Connector Housing Adjusting Washers (Pre SBE 72-0400)
Refer to Figure.
SBE 72-0400: HP compressor variable vanes - inlet guide vane and stages 3 to 5 with optimised build and setting instructions.
Set the pad clearances, follow the procedure in TASK 72-41-30-440-011-B00 (ASSEMBLY-011).
Install the centralizing pad adjusting washers HPC Variable Stator Vane Actuation System (72-41-34, 02-654 to HPC Variable Stator Vane Actuation System 02-670).
Install the connector housing adjusting washers HPC Variable Stator Vane Actuation System (72-41-34, 02-704 to 02-720).
Install the VIGV centralizing pad and connector housing adjusting washers, follow the procedure in TASK 72-41-30-440-011-B00 (ASSEMBLY-011) and this SUBTASK.
Torque the six bolts HPC Variable Stator Vane Actuation System (72-41-34, 02-202), which attach the left and right hand VIGV connectors to the upper and lower actuating ring to 85 lbfin to 105 lbfin (10 Nm to 12 Nm).
Torque the two bolts HPC Variable Stator Vane Actuation System (72-41-34, 02-203), which attach the left and right hand VIGV connectors to the upper and lower actuating ring to 180 lbfin to 220 lbfin (20 Nm to 25 Nm).
Torque the eight bolts HPC Variable Stator Vane Actuation System (72-41-34, 02-682) which attach the centralizing pads to 36 lbfin to 45 lbfin (4 Nm to 5 Nm).
Torque the four bolts HPC Variable Stator Vane Actuation System (72-41-34, 02-732 and 02-733), and the four bolts HPC Variable Stator Vane Actuation System (72-41-34, 02-752 and 02-753) which attach the left and right hand VIGV connector housings to LH and RH connectors to 85 lbfin to 105 lbfin (10 Nm to 12 Nm).
Torque tighten the bolts.
Check the pad clearances, follow the procedure in TASK 72-41-30-440-011-B00 (ASSEMBLY-011).
SUBTASK 72-41-30-440-162-B00 Install the VIGV Centralizing Pad and the Connector Housing Adjusting Washers (SBE 72-0400)
Refer to Figure.
Remove the eight connector actuating levers HPC Variable Stator Vane Actuation System (72-41-34, 03-120) from the eight stage 3 stator vanes. Identify each actuating lever with its position number.
Install two spacers on to the spindle of the eight stage 3 stator vanes. The thickness of the spacers that are to be installed is equal to:
The total thickness of the two spacers removed in Step plus the end float minus 0.003 in. to 0.005 in. (0.08 mm to 0.13 mm).
The end float was measured and written down in TASK 72-41-34-440-004.
Install the spacers HPC Variable Stator Vane Actuation System (72-41-34, 03-060 to HPC Variable Stator Vane Actuation System03-076) on to the stage 3 stator vanes at the positions 1, 2, 15 to 18, 31 and 32.
Install the eight nuts HPC Variable Stator Vane Actuation System (72-41-34, 03-123). Tighten the eight nuts.

CAUTION
MAKE SURE THE CORRECT STAGE 3 ACTUATING LEVER IS INSTALLED ON THE CORRECT STAGE 3 STATOR VANE.Install the eight stage 3 actuating levers at the connectors.
SUBTASK 72-41-30-440-163 Install the Stage 3 Actuating Levers at the Connectors
Refer to Figure.
SBE 72-0400: HP compressor variable vanes - inlet guide vane and stages 3 to 5 with optimised build and setting instructions.
SBE 72-0385or SBE 72-0416: Introduction of revised actuation ring connectors and unison ring assemblies.
Install the four bolts HPC Variable Stator Vane Actuation System (72-41-34, 03-732) which attach the two connector housings to the RH stage 3 connector.
Install the two connector housings HPC Variable Stator Vane Actuation System (72-41-34, 03-730) in to the RH stage 3 connector HPC Variable Stator Vane Actuation System (72-41-34, 03-280).
Install the two connector housings in to the LH stage 3 connector HPC Variable Stator Vane Actuation System (72-41-34, 03-200).
Pre SBE 72-0385 or SBE 72-0416: Install the four hollow dowels HPC Variable Stator Vane Actuation System (72-41-34, 03-286) and four bolts HPC Variable Stator Vane Actuation System (72-41-34, 03-282) which attach the RH stage 3 connector to the stage 3 stator vane upper and lower actuating rings.
SBE 72-0385: Install the four bolts HPC Variable Stator Vane Actuation System (72-41-34, 03-282) which attach the RH stage 3 connector to the stage 3 stator vane upper and lower actuating rings.
SBE 72-0416: Install the four bolts HPC Variable Stator Vane Actuation System (72-41-34, 03-282) and the four washers HPC Variable Stator Vane Actuation System (72-41-34, 03-285) which attach the RH stage 3 connector to the stage 3 stator vane upper and lower actuating rings.
Pre SBE 72-0385 or SBE 72-0416: Install the hollow dowel HPC Variable Stator Vane Actuation System (72-41-34, 03-288) and the bolt HPC Variable Stator Vane Actuation System (72-41-34, 03-284) which attaches RH stage 3 connector to the stator vane lower actuating rings.
SBE 72-0385 or SBE 72-0416: Install the bolt HPC Variable Stator Vane Actuation System (72-41-34, 03-284) and washer HPC Variable Stator Vane Actuation System (72-41-34, 03-287) which attaches the RH stage 3 connector to the stator vane lower actuating rings.
Pre SBE 72-0400 : Install the RH stage 3 connector and connector housings on to the stage 3 stator vane upper and lower actuating rings HPC Variable Stator Vane Actuation System (72-41-34, 03-440 and HPC Variable Stator Vane Actuation System03-540).
Pre SBE 72-0385 or SBE 72-0416: Install the four hollow dowels HPC Variable Stator Vane Actuation System (72-41-34, 03-206) and four bolts HPC Variable Stator Vane Actuation System (72-41-34, 03-202) which attach the LH stage 3 connector to the stage 3 stator vane upper and lower actuating rings.
SBE 72-0385: Install the four bolts HPC Variable Stator Vane Actuation System (72-41-34, 03-202) which attach the LH stage 3 connector to the stage 3 stator vane upper and lower actuating rings.
SBE 72-0416: Install the four bolts HPC Variable Stator Vane Actuation System (72-41-34, 03-202) and the four washers HPC Variable Stator Vane Actuation System (72-41-34, 03-205) which attach the LH stage 3 connector to the stage 3 stator vane upper and lower actuating rings.
Install the LH stage 3 connector and connector housings on to the stage 3 stator vane upper and lower actuating rings HPC Variable Stator Vane Actuation System (72-41-34, 03-440 and HPC Variable Stator Vane Actuation System 03-540).
Torque the eight nuts installed in Step to 85 lbfin to 105 lbfin (10.00 Nm to 12.00 Nm).
Torque the actuating lever nuts.
Pre SBE 72-0385 or SBE 72-0416: Install the four hollow dowels HPC Variable Stator Vane Actuation System (72-41-34, 03-286) and four bolts HPC Variable Stator Vane Actuation System (72-41-34, 03-282) which attach the RH stage 3 connector to the stage 3 stator vane upper and lower actuating rings.
SBE 72-0385: Install the four bolts HPC Variable Stator Vane Actuation System (72-41-34, 03-282) which attach the RH stage 3 connector to the stage 3 stator vane upper and lower actuating rings.
SBE 72-0416: Install the four bolts HPC Variable Stator Vane Actuation System (72-41-34, 03-282) and the four washers HPC Variable Stator Vane Actuation System (72-41-34, 03-285) which attach the RH stage 3 connector to the stage 3 stator vane upper and lower actuating rings.
Pre SBE 72-0385 or SBE 72-0416: Install the hollow dowel HPC Variable Stator Vane Actuation System (72-41-34, 03-288) and the bolt HPC Variable Stator Vane Actuation System (72-41-34, 03-284) which attaches the RH stage 3 connector to the stator vane lower actuating rings.
SBE 72-0385 or SBE 72-0416: Install the bolt HPC Variable Stator Vane Actuation System (72-41-34, 03-284) and washer HPC Variable Stator Vane Actuation System (72-41-34, 03-287) which attaches the RH stage 3 connector to the stator vane lower actuating rings.
Install the LH stage 3 connector and connector housings on to the stage 3 stator vane upper and lower actuating rings HPC Variable Stator Vane Actuation System (72-41-34, 03-440 and 03-540).
Pre SBE 72-0385 or SBE 72-0416: Install the four hollow dowels HPC Variable Stator Vane Actuation System (72-41-34, 03-206) and four bolts HPC Variable Stator Vane Actuation System (72-41-34, 03-202) which attach the LH stage 3 connector to the stage 3 stator vane upper and lower actuating rings.
SBE 72-0385: Install the four bolts HPC Variable Stator Vane Actuation System (72-41-34, 03-202) which attach the LH stage 3 connector to the stage 3 stator vane upper and lower actuating rings.
SBE 72-0416: Install the four bolts HPC Variable Stator Vane Actuation System (72-41-34, 03-202) and the four washers HPC Variable Stator Vane Actuation System (72-41-34, 03-205) which attach the LH stage 3 connector to the stage 3 stator vane upper and lower actuating rings.
SBE 72-0400 : Install the RH and LH stage 3 connector and connector housings on to the stage 3 stator vane upper and lower actuating rings HPC Variable Stator Vane Actuation System (72-41-34, 03-440 and 03-540). Follow the procedure in TASK 72-41-30-440-011-B00 (ASSEMBLY-011) and this SUBTASK.
Torque the eight nuts installed in Step to 85 lbfin to 105 lbfin (10.00 Nm to 12.00 Nm).
Torque the actuating lever nuts.
SUBTASK 72-41-30-440-164 Install the Stage 3 Connector Housings and the Connectors (Pre SBE 72-0400, SBE 72-0400, Pre SBE 72-0385or SBE 72-0416 and SBE 72-0385or SBE 72-0416)
Refer to Figure.
Install IAE 1R18423 Rigging pin 6 off or IAE 1R18893 Riggingpin 6 off to set the stage 3 stator vanes in the correct position.
Loosen the two bolts which attach a centralizing pad HPC Variable Stator Vane Actuation System (72-41-34, 03-680) to the actuating ring.
Measure and write down the gap between the centralizing pad and the actuating ring.
NOTE
A maximum of two adjusting washers can be installed. On SBE 72-0277 pads a maximum of 3 washers can be installed.
Install the centralizing pad adjusting washers HPC Variable Stator Vane Actuation System (72-41-34, 03-654) thru HPC Variable Stator Vane Actuation System (72-41-34, 03-666).
Loosen the two bolts which attach a connector housing HPC Variable Stator Vane Actuation System (72-41-34, 03-730) to the connector.
Install the connector housing adjusting washers HPC Variable Stator Vane Actuation System (72-41-34, 03-704) thru HPC Variable Stator Vane Actuation System (72-41-34, 03-720).
SUBTASK 72-41-30-440-165-A00 Install the Stage 3 Centralizing Pad and Connector Housing Adjusting Washers (Pre SBE 72-0400, Pre SBE 72-0277 and SBE 72-0277)
Refer to Figure.
SBE 72-0400: HP compressor variable vanes - inlet guide vane and stages 3 to 5 with optimised build and setting instructions.
SBE 72-0277: Centralising pads with revised method of manufacture.
Set the pad clearances, follow the procedure in TASK 72-41-30-440-011-B00 (ASSEMBLY-011).
Install the stage 3 centralizing pad and connector housing washers, follow this procedure in TASK 72-41-30-440-011-B00 (ASSEMBLY-011) and this SUBTASK.
NOTE
A maximum of two adjusting washers can be installed. On SBE 72-0277 pads a maximum of 3 washers can be installed.Install the centralizing pad adjusting washers HPC Variable Stator Vane Actuation System (72-41-34, 03-654 to HPC Variable Stator Vane Actuation System 03-666).
Install the connector housing adjusting washers HPC Variable Stator Vane Actuation System (72-41-34, 03-704 to HPC Variable Stator Vane Actuation System 03-720).
Torque the four bolts HPC Variable Stator Vane Actuation System (72-41-34, 03-282) which attach the RH stage 3 connectors to the stage 3 upper and lower actuating rings and the bolt HPC Variable Stator Vane Actuation System (72-41-34, 03-284) which attaches the two brackets HPC Variable Stator Vane Actuation System (72-41-34, 03-328) to the upper and lower actuating rings to 85 lbfin to 105 lbfin (10 Nm to 12 Nm).
Torque the four bolts HPC Variable Stator Vane Actuation System (72-41-34, 03-202) which attach the LH stage 3 connector to the upper and lower stage 3 actuating rings to 85 lbfin to 105 lbfin (10 Nm to 12 Nm).
Torque the eight bolts HPC Variable Stator Vane Actuation System (72-41-34, 03-682) which attach the centralizing pads to the upper and lower actuating rings to 36 lbfin to 45 lbfin (4 Nm to 5 Nm).
Torque the eight bolts HPC Variable Stator Vane Actuation System (72-41-34, 03-732) which attach the stage 3 connector housings to the LH and RH connectors to 85 lbfin to 105 lbfin (10 Nm to 12 Nm).
Torque tighten the bolts.
Check the pad clearances, follow the procedure in TASK 72-41-30-440-011-B00 (ASSEMBLY-011).
SUBTASK 72-41-30-440-165-B00 Install the Stage 3 Centralizing Pad and Connector Housing Adjusting Washers (SBE 72-0400, Pre SBE 72-0277 and SBE 72-0277)
Refer to Figure.
Remove the eight slave nuts HPC Variable Stator Vane Actuation System (72-41-34, 04-123) from the eight stage 4 stator vanes.
Remove the eight connector actuating levers HPC Variable Stator Vane Actuation System (72-41-34, 04-120) from the eight stage 4 stator vanes. Identify each actuating lever with its position number.
Install two spacers on to the spindle of the eight stage 4 stator vanes. The thickness of the spacers that are to be installed is equal to:
The total thickness of the two spacers removed in Step plus the end float minus 0.003 to 0.005in. (0.08 to 0.13 mm).
The end float was measured and written down in TASK 72-41-30-440-005.
Install the spacers HPC Variable Stator Vane Actuation System (72-41-34, 04-060 to 04-078) on to the stage 4 stator vanes at the positions 1, 2, 24 to 27, 49 and 50.
Install the eight nuts HPC Variable Stator Vane Actuation System (72-41-34, 04-123). Tighten the eight nuts.

CAUTION
MAKE SURE THE CORRECT STAGE 4 ACTUATING LEVER IS INSTALLED ON THE CORRECT STAGE 4 STATOR VANE.Install the eight stage 4 connector actuating levers.
SUBTASK 72-41-30-440-166 Install the Stage 4 Actuating Levers at the Connectors
Refer to Figure.
SBE 72-0400: HP compressor variable vanes - inlet guide vane and stages 3 to 5 with optimised build and setting instructions.
SBE 72-0348: Introduction of revised actuation ring connectors.
SBE 72-0385or SBE 72-0416: Introduction of revised actuation ring connectors and unison ring assemblies.
Install the four bolts HPC Variable Stator Vane Actuation System (72-41-34, 04-732) and the four washers HPC Variable Stator Vane Actuation System (72-41-34, 04-733) which attach the two connector housings to the left hand stage 4 connector.
Install the two connector housings HPC Variable Stator Vane Actuation System (72-41-34, 04-730) in to the left hand stage 4 connector HPC Variable Stator Vane Actuation System (72-41-34, 04-200).
Pre SBE 72-0348: Install the four hollow dowels HPC Variable Stator Vane Actuation System (72-41-34, 04-206) and the four bolts HPC Variable Stator Vane Actuation System (72-41-34, 04-202), which attach the left hand stage 4 connector and connector housings to the stage 4 upper and lower actuating rings.
SBE 72-0348: Install the four washers HPC Variable Stator Vane Actuation System (72-41-34, 04-204) and the four bolts HPC Variable Stator Vane Actuation System (72-41-34, 04-202), which attach the left hand stage 4 connector and connector housings to the stage 4 upper and lower actuating rings.
Pre SBE 72-0385 or SBE 72-0416: Install the four washers HPC Variable Stator Vane Actuation System (72-41-34, 04-204) and the four bolts HPC Variable Stator Vane Actuation System (72-41-34, 04-202), which attach the left hand stage 4 connector and connector housings to the stage 4 upper and lower actuating rings.
SBE 72-0385 or SBE 72-0416: Install the two washers HPC Variable Stator Vane Actuation System (72-41-34, 04-204) and the four bolts HPC Variable Stator Vane Actuation System (72-41-34, 04-202), which attach the left hand stage 4 connector and connector housings to the stage 4 upper and lower actuating rings.
Pre SBE 72-0400 : Install the left hand stage 4 connector on to the upper and lower stage 4 actuating rings HPC Variable Stator Vane Actuation System (72-41-34, 04-440 and 04-540).
Torque the eight nuts installed in Step to 85 lbfin to 105 lbfin (10.00 Nm to 12.00 Nm).
Torque the actuating lever nuts.
Pre SBE 72-0348: Install the four hollow dowels HPC Variable Stator Vane Actuation System (72-41-34, 04-206) and the four bolts HPC Variable Stator Vane Actuation System (72-41-34, 04-202), which attach the left hand stage 4 connector and connector housings to the stage 4 upper and lower actuating rings.
SBE 72-0348: Install the four washers HPC Variable Stator Vane Actuation System (72-41-34, 04-204) and the four bolts HPC Variable Stator Vane Actuation System (72-41-34, 04-202), which attach the left hand stage 4 connector and connector housings to the stage 4 upper and lower actuating rings.
Pre SBE 72-0385 or SBE 72-0416: Install the four washers HPC Variable Stator Vane Actuation System (72-41-34, 04-204) and the four bolts HPC Variable Stator Vane Actuation System (72-41-34, 04-202), which attach the left hand stage 4 connector and connector housings to the stage 4 upper and lower actuating rings.
SBE 72-0385 or SBE 72-0416: Install the two washers HPC Variable Stator Vane Actuation System (72-41-34, 04-204) and the four bolts HPC Variable Stator Vane Actuation System (72-41-34, 04-202), which attach the left hand stage 4 connector and connector housings to the stage 4 upper and lower actuating rings.
SBE 72-0400 : Install the left hand stage 4 connector and connector housings on to the upper and lower stage 4 actuating rings HPC Variable Stator Vane Actuation System (72-41-34, 04-440 and HPC Variable Stator Vane Actuation System 04-540), follow the procedure in TASK 72-41-30-440-011-B00 (ASSEMBLY-011) and this SUBTASK.
Torque the eight nuts installed in Step to 85 lbfin to 105 lbfin (10.00 Nm to 12.00 Nm).
Torque the actuating lever nuts.
SUBTASK 72-41-30-440-167 Install the Connector Housings and the Stage 4 Connectors (Pre SBE 72-0348, Pre SBE 72-0385or SBE 72-0416, SBE 72-0348, SBE 72-0385or SBE 72-0416, Pre SBE 72-0400 and SBE 72-0400)
Refer to Figure.
Install IAE 1R18423 Rigging pin 6 off or IAE 1R18894 Rigging pin 6 off to set the stage 4 stator vanes in the correct position.
Loosen the two bolts which attach a centralizing pad HPC Variable Stator Vane Actuation System (72-41-34, 04-680) to the actuating ring.
Measure and write down the gap between the centralizing pad and the actuating ring.
NOTE
A maximum of two adjusting washers can be installed. On SBE 72-0319 pads a maximum of 3 washers can be installed.
Install the centralizing pad adjusting washers HPC Variable Stator Vane Actuation System (72-41-34, 04-654) thru HPC Variable Stator Vane Actuation System (72-41-34, 04-666).
Loosen the two bolts which attach a connector housing HPC Variable Stator Vane Actuation System (72-41-34, 04-730) to the connector.
Install the connector housing adjusting washers HPC Variable Stator Vane Actuation System (72-41-34, 04-704) thru HPC Variable Stator Vane Actuation System (72-41-34, 04-720).
SUBTASK 72-41-30-440-168-A00 Install the Stage 4 Centralizing Pads and Connector Housing Adjusting Washers (Pre SBE 72-0400, Pre SBE 72-0319 and SBE 72-0319)
Refer to Figure.
SBE 72-0400: HP compressor variable vanes - inlet guide vane and stages 3 to 5 with optimised build and setting instructions.
SBE 72-0319: Centralising pads with revised method of manufacture.
Set the pad clearances, follow the procedure in TASK 72-41-30-440-011-B00 (ASSEMBLY-011).
Install the centralizing pad adjusting washers HPC Variable Stator Vane Actuation System (72-41-34, 04-654 to 04-666).
Install the connector housing adjusting washers HPC Variable Stator Vane Actuation System (72-41-34, 04-704 to HPC Variable Stator Vane Actuation System 04-720).
Install the stage 4 centralizing pad and connector housing adjusting washers, follow the procedure in TASK 72-41-30-440-011-B00 (ASSEMBLY-011) and this SUBTASK.
NOTE
A maximum of two adjusting washers can be installed. On SBE 72-0319 pads a maximum of 3 washers can be installed.Torque the eight bolts HPC Variable Stator Vane Actuation System (72-41-34, 04-202), which attach the left and right hand stage 4 connectors to the upper and lower actuating ring to 85 lbfin to 105 lbfin (10 Nm to 12 Nm).
Torque the eight bolts HPC Variable Stator Vane Actuation System (72-41-34, 04-682) which attach the centralizing pads to 36 lbfin to 45 lbfin (4 Nm to 5 Nm).
Torque the eight bolts HPC Variable Stator Vane Actuation System (72-41-34, 04-732) which attach the left and right hand stage 4 connector housings to LH and RH connectors to 36 lbfin to 45 lbfin (4 Nm to 5 Nm).
Torque tighten the bolts.
Check the pad clearances, follow the procedure in TASK 72-41-30-440-011-B00 (ASSEMBLY-011).
SUBTASK 72-41-30-440-168-B00 Install the Stage 4 Centralizing Pads and Connector Housing Adjusting Washers (SBE 72-0400, Pre SBE 72-0319 and SBE 72-0319)
Refer to Figure.
Remove the 12 connector actuating levers HPC Variable Stator Vane Actuation System (72-41-34, 05-120 and HPC Variable Stator Vane Actuation System 05-140) from the 12 stage 5 stator vanes. Identify each actuating lever with its position number.
Install two spacers on to the spindle of the 12 stage 5 stator vanes. The thickness of the spacers that are to be installed is equal to:
The total thickness of the two spacers removed in Step plus the end float minus 0.003 in. to 0.005 in. (0.08 mm to 0.13 mm).
The end float was measured and written down in TASK 72-41-30-440-006.
Install the spacers HPC Variable Stator Vane Actuation System (72-41-34, 05-060 to 05-078) on to the stage 5 stator vanes at the positions 1 to 3, 30 to 35 and 62 to 64.
Install the four stage 5 stator vane actuating levers HPC Variable Stator Vane Actuation System (72-41-34, 05-140) on to the stator vanes at the positions 1, 32, 33 and 64. Make sure the correct actuating levers are installed on the correct stator vane.
Install the eight stage 5 actuating levers HPC Variable Stator Vane Actuation System (72-41-34, 05-120) on to the stator vanes at the positions 2, 3, 30, 31, 34, 35, 62 and 63. Make sure the correct actuating levers are installed on the correct stator vane.
Install the 12 nuts HPC Variable Stator Vane Actuation System (72-41-34, 05-123 and HPC Variable Stator Vane Actuation System 05-143). Tighten the 12 nuts.

CAUTION
MAKE SURE THE CORRECT STAGE 5 ACTUATING LEVER IS INSTALLED ON THE CORRECT STAGE 5 STATOR VANE.Install the 12 stage 5 connector actuating levers.
SUBTASK 72-41-30-440-169 Install the Stage 5 Actuating Levers at the Connectors
Refer to Figure.
SBE 72-0400: HP compressor variable vanes - inlet guide vane and stages 3 to 5 with optimised build and setting instructions.
SBE 72-0348: Introduction of revised actuation ring connectors.
SBE 72-0385or SBE 72-0416: Introduction of revised actuation ring connectors and unison ring assemblies.
Install the four bolts HPC Variable Stator Vane Actuation System (72-41-34, 05-732) and the four washers HPC Variable Stator Vane Actuation System (72-41-34, 05-733) to attach the two connector housings to the left hand stage 5 connector.
Install the two connector housings HPC Variable Stator Vane Actuation System (72-41-34, 05-730) in to the left hand stage 5 connector HPC Variable Stator Vane Actuation System (72-41-34, 05-200).
Pre SBE 72-0348: Install the four hollow dowels HPC Variable Stator Vane Actuation System (72-41-34, 05-206) and the four bolts HPC Variable Stator Vane Actuation System (72-41-34, 05-202), which attach the left hand stage 5 connector and connector housings to the stage 5 upper and lower actuating ring.
SBE 72-0348: Install the four washers HPC Variable Stator Vane Actuation System (72-41-34, 05-204) and the four bolts HPC Variable Stator Vane Actuation System (72-41-34, 05-202), which attach the left hand stage 5 connector and connector housings to the stage 5 upper and lower actuating ring.
Pre SBE 72-0385 or SBE 72-0416: Install the four washers HPC Variable Stator Vane Actuation System (72-41-34, 05-204) and the four bolts HPC Variable Stator Vane Actuation System (72-41-34, 05-202), which attach the left hand stage 5 connector and connector housings to the stage 5 upper and lower actuating ring.
SBE 72-0385 or SBE 72-0416: Install the two washers HPC Variable Stator Vane Actuation System (72-41-34, 05-204) and the four bolts HPC Variable Stator Vane Actuation System (72-41-34, 05-202), which attach the left hand stage 5 connector and connector housings to the stage 5 upper and lower actuating ring.
Pre SBE 72-0400 : Install the left hand stage 5 connector and connector housings in to the stage 5 upper and lower actuating rings HPC Variable Stator Vane Actuation System (72-41-34, 05-440 and 05-540).
Torque the 12 nuts installed in Step to 85 lbfin to 105 lbfin (10.00 Nm to 12.00 Nm).
Torque the actuating lever nuts.
Pre SBE 72-0348: Install the four hollow dowels HPC Variable Stator Vane Actuation System (72-41-34, 05-206) and the four bolts HPC Variable Stator Vane Actuation System (72-41-34, 05-202), which attach the left hand stage 5 connector and connector housings to the stage 5 upper and lower actuating ring.
SBE 72-0348: Install the four washers HPC Variable Stator Vane Actuation System (72-41-34, 05-204) and the four bolts HPC Variable Stator Vane Actuation System (72-41-34, 05-202), which attach the left hand stage 5 connector and connector housings to the stage 5 upper and lower actuating ring.
Pre SBE 72-0385 or SBE 72-0416: Install the four washers HPC Variable Stator Vane Actuation System (72-41-34, 05-204) and the four bolts HPC Variable Stator Vane Actuation System (72-41-34, 05-202), which attach the left hand stage 5 connector and connector housings to the stage 5 upper and lower actuating ring.
SBE 72-0385 or SBE 72-0416: Install the two washers HPC Variable Stator Vane Actuation System (72-41-34, 05-204) and the four bolts HPC Variable Stator Vane Actuation System (72-41-34, 05-202), which attach the left hand stage 5 connector and connector housings to the stage 5 upper and lower actuating ring.
SBE 72-0400 : Install the left hand stage 5 connector and connector housings in to the stage 5 upper and lower actuating rings HPC Variable Stator Vane Actuation System (72-41-34, 05-440 and HPC Variable Stator Vane Actuation System05-540). Follow the procedure in TASK 72-41-30-440-011-B00 (ASSEMBLY-011) and this SUBTASK.
Torque the 12 nuts installed in Step to 85 lbfin to 105 lbfin (10.00 Nm to 12.00 Nm).
Torque the actuating lever nuts.
SUBTASK 72-41-30-440-170 Install the Connector Housings and the Stage 5 Connectors (Pre SBE 72-0400, SBE 72-0400, Pre SBE 72-0348, Pre SBE 72-0385or SBE 72-0416, SBE 72-0348 and SBE 72-0385or SBE 72-0416)
Refer to Figure.
Install IAE 1R18423 Rigging pin 6 off or IAE 1R18895 Rigging pin 6 off to set the stage 5 stator vanes in the correct positions.
Loosen the two bolts which attach a centralizing pad HPC Variable Stator Vane Actuation System (72-41-34, 05-680) to the actuating ring.
Measure and write down the gap between the centralizing pad and the actuating ring.
NOTE
A maximum of two adjusting washers can be installed. On SBE 72-0319 pads a maximum of 3 washers can be installed.
Install the centralizing pad adjusting washers HPC Variable Stator Vane Actuation System (72-41-34, 05-654) thru HPC Variable Stator Vane Actuation System (72-41-34, 05-666).
Loosen the two bolts which attach a compensating pad HPC Variable Stator Vane Actuation System (72-41-34, 05-730) to the connector.
Install the compensating pad adjusting washers HPC Variable Stator Vane Actuation System (72-41-34, 05-704) thru HPC Variable Stator Vane Actuation System (72-41-34, 05-720).
SUBTASK 72-41-30-440-171-A00 Install the Stage 5 Centralizing Pads and Connector Housing Adjusting Washers (Pre SBE 72-0400, Pre SBE 72-0319 and SBE 72-0319)
Refer to Figure.
SBE 72-0319: Centralising pads with revised method of manufacture.
SBE 72-0400: HP compressor variable vanes - inlet guide vane and stages 3 to 5 with optimised build and setting instructions.
Set the pad clearances, follow the procedure in TASK 72-41-30-440-011-B00 (ASSEMBLY-011).
Install the stage 5 centralizing pad and connector housing washers, follow this procedure in TASK 72-41-30-440-011-B00 (ASSEMBLY-011) and this SUBTASK.
NOTE
A maximum of two adjusting washers can be installed. On SBE 72-0319 pads a maximum of 3 washers can be installed.Install the connector housing adjusting washers HPC Variable Stator Vane Actuation System (72-41-34, 05-704 to 05-720).
Install the centralizing pad adjusting washers HPC Variable Stator Vane Actuation System (72-41-34, 05-654 to HPC Variable Stator Vane Actuation System 05-666).
Torque the four bolts HPC Variable Stator Vane Actuation System (72-41-34, 05-202) which attach the RH stage 5 connectors to the stage 5 upper and lower actuating rings to the upper and lower actuating rings to 85 lbfin to 105 lbfin (10 Nm to 12 Nm).
Torque the four bolts HPC Variable Stator Vane Actuation System (72-41-34, 05-202) which attach the LH stage 5 connector to the upper and lower stage 5 actuating rings to 85 lbfin to 105 lbfin (10 Nm to 12 Nm).
Torque the eight bolts HPC Variable Stator Vane Actuation System (72-41-34, 05-682) which attach the centralizing pads to the upper and lower actuating rings to 36 lbfin to 45 lbfin (4 Nm to 5 Nm).
Torque the eight bolts HPC Variable Stator Vane Actuation System (72-41-34, 05-732) which attach the stage 5 connector housings to the LH and RH connectors to 36 lbfin to 45 lbfin (4 Nm to 5 Nm).
Torque tighten the bolts.
Check the pad clearances, follow the procedure in TASK 72-41-30-440-011-B00 (ASSEMBLY-011).
SUBTASK 72-41-30-440-171-B00 Install the Stage 5 Centralizing Pads and Connector Housing Adjusting Washers (SBE 72-0400, Pre SBE 72-0319 and SBE 72-0319)
Figure: General View Through The HP Compressor Front Cases
General View Through The HP Compressor Front Cases

Figure: Locations For The Variable Inlet Guide Vane Fits And Clearances
Locations For The Variable Inlet Guide Vane Fits And Clearances

Figure: Locations For The Stage 3 Stator Vanes Fits And Clearances
Sheet 1

Figure: Locations For The Stage 3 Stator Vane Fits And Clearances
Sheet 2

Figure: Locations For The Stage 4 Stator Vane Fits And Clearances
Locations For The Stage 4 Stator Vane Fits And Clearances

Figure: Locations For The Stage 5 Stator Vane Fits And Clearances
Locations For The Stage 5 Stator Vane Fits And Clearances

Figure: Install The HP Compressor Front Case Split Line Bolts, Nuts And Spacers
Sheet 1

Figure: Install The HP Compressor Split Line Bolts, Nuts And Spacers
Sheet 2

Figure: Install The HP Compressor Front Case Split Line Bolts, Nuts And Spacers
Sheet 3

Figure: Install The Spacers On The Variable Inlet Guide Vanes
Install The Spacers On The Variable Inlet Guide Vanes

Figure: Install The Variable Inlet Guide Vane Connectors, Centralizing Pads And Connector Housings
Sheet 1

Figure: Install The Variable Inlet Guide Vane Connectors, Centralizing Pads And Connector Housings
Sheet 2

Figure: Install The Spacers On The Stage 3 Stator Vanes
Install The Spacers On The Stage 3 Stator Vanes

Figure: Install The Stage 3 Connectors, Centralizing Pads And Connector Housings
Sheet 1

Figure: Install The Stage 3 Connectors, Centralizing Pads And Connector Housings
Sheet 2

Figure: Install The Spacers On The Stage 4 Stator Vanes
Install The Spacers On The Stage 4 Stator Vanes

Figure: Install The Stage 4 Connectors, Centralizing Pads And Connector Housings
Sheet 1

Figure: Install The Stage 4 Connectors, Centralizing Pads And Connector Housings
Sheet 2

Figure: Install The Spacers On The Stage 5 Stator Vanes
Install The Spacers On The Stage 5 Stator Vanes

Figure: Install The Stage 5 Connectors, Centralizing Pads And Connector Housings
Sheet 1

Figure: Install The Stage 5 Connectors, Centralizing Pads And Connector Housings
Sheet 2

