Export Control
EAR Export Classification: Not subject to the EAR per 15 C.F.R. Chapter 1, Part 734.3(b)(3), except for the following Service Bulletins which are currently published as EAR Export Classification 9E991: SBE70-0992, SBE72-0483, SBE72-0580, SBE72-0588, SBE72-0640, SBE73-0209, SBE80-0024 and SBE80-0025.Copyright
© IAE International Aero Engines AG (2001, 2014 - 2021) The information contained in this document is the property of © IAE International Aero Engines AG and may not be copied or used for any purpose other than that for which it is supplied without the express written authority of © IAE International Aero Engines AG. (This does not preclude use by engine and aircraft operators for normal instructional, maintenance or overhaul purposes.).Applicability
All
Common Information
TASK 71-21-11-200-002 Front Mount Tube - Examine, Inspection-002
General
This TASK gives the procedure for the inspection of the engine front mount tube assembly. For the other parts of the forward mount support, refer to TASK 71-21-11-200-000 (INSPECTION-000).
Fig/item numbers in parentheses in the procedure agree with those used in the IPC.
The policy that is necessary for inspection is given in the SPM TASK 70-20-01-200-501.
All the parts must be cleaned before any part is examined. Refer to TASK 71-21-11-100-000 (CLEANING-000).
All parts must be visually examined for damage, corrosion and wear. Any defects that are not identified in the procedure must be referred to IAE.
The procedure for those parts which must have a crack test is given in Step. Do the test before the part is visually examined. Limits for cracks are given in the SUBTASK for each part.
Do not discard any part until you are sure there are no repairs available. Refer to the instructions in Repair before a discarded part is used again or oversize parts are installed.
Parts which should be discarded can be held although no repair is available. The repair of a discarded part could be shown to be necessary at a later date.
All parts must be examined to make sure that all the repairs have been completed satisfactorily.
The practices and processes referred to in the procedure by the TASK numbers are in the SPM.
References
Refer to SPM for data on these items.
Definitions of Damage, SPM TASK 70-02-02-350-501
Inspection of Parts, SPM TASK 70-20-01-200-501
Some data on these items are contained in this TASK. For more data on these items refer to SPM.
Method of Testing for Crack Indications
Chemical Processes
Surface Protection
Preliminary Requirements
Pre-Conditions
NONESupport Equipment
NONEConsumables, Materials and Expendables
NONESpares
NONESafety Requirements
NONEProcedure
NOTE
For the method to clean the part, refer to SPM TASK 70-11-14-300-503, SPM TASK 70-11-29-300-503 and SPM TASK 70-11-15-300-503.Clean the part. Refer to TASK 71-21-11-100-000 (CLEANING-000).
SUBTASK 71-21-11-230-051 Examine the Engine Front Mount Tube Assembly (01-150) for Cracks
Refer to Figure.
Repair, VRS1075 TASK 71-21-11-300-013 (REPAIR-013)
Less than 1.4945 in. (37.960 mm)
Repair, VRS1101 TASK 71-21-11-300-004 (REPAIR-004)
Missing dry film lubricant
Worn.
Repair, VRS1103 TASK 71-21-11-300-005 (REPAIR-005)
Nicked
Repair, VRS1103 TASK 71-21-11-300-005 (REPAIR-005)
Scratched
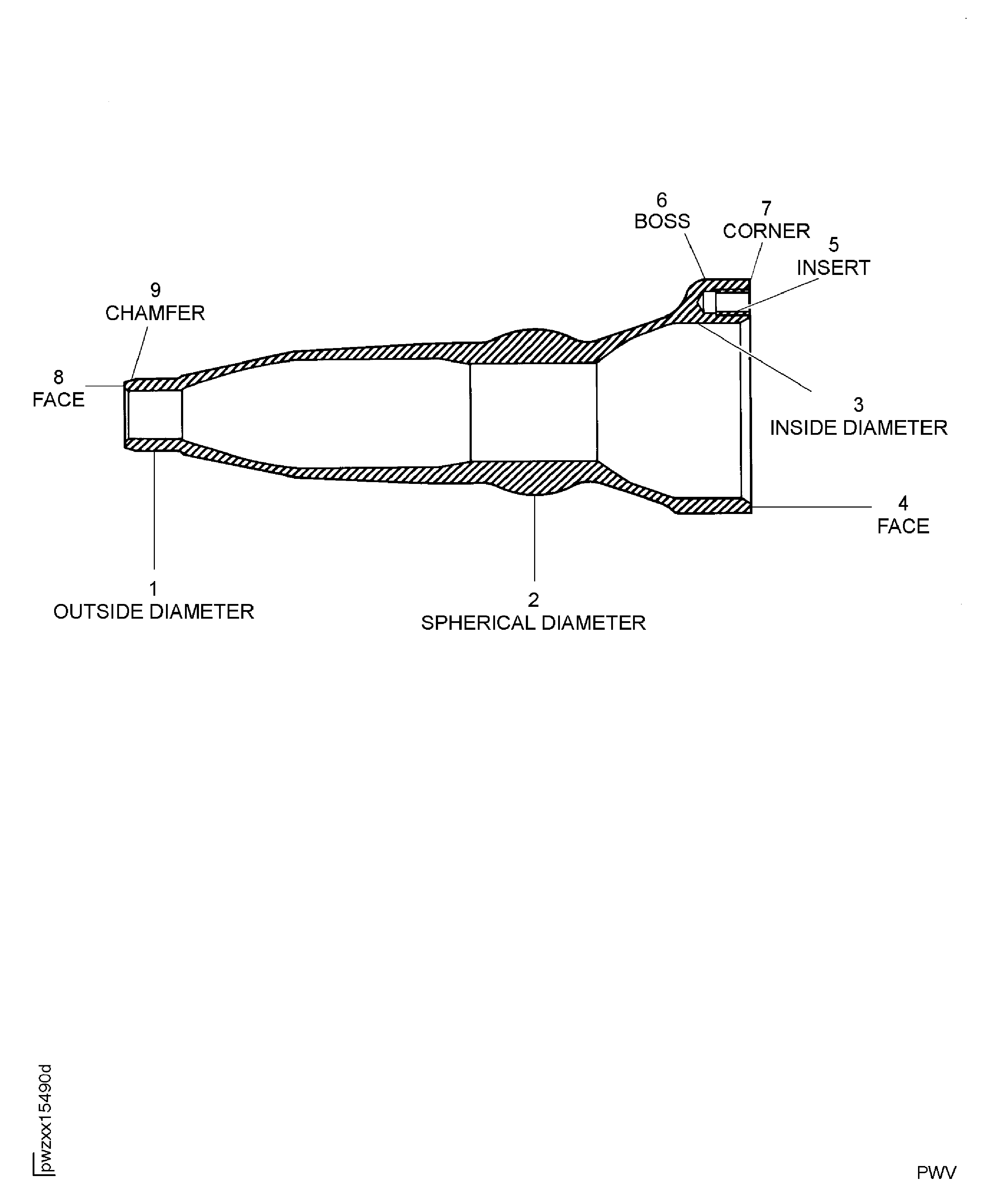
Examine the outside diameter at location 1.
SUBTASK 71-21-11-220-060 Examine the Engine Front Mount Tube Assembly (01-150) Outside Diameter
Refer to Figure.
Repair, VRS1103 TASK 71-21-11-300-005 (REPAIR-005)
Nicked, scratched, scored and corrosion
Examine the spherical diameter at location 2.
SUBTASK 71-21-11-220-061 Examine the Engine Front Mount Tube Assembly (01-150) Spherical Diameter
Refer to Figure.
Repair, VRS1103 TASK 71-21-11-300-005 (REPAIR-005)
Scored
Examine the inside diameter at location 3.
SUBTASK 71-21-11-220-062 Examine the Engine Front Mount Tube Assembly (01-150) Inside Diameter
Refer to Figure.
More than in Step
Galled.
Examine the face at location 4.
Repair, VRS1103 TASK 71-21-11-300-005 (REPAIR-005).
Nicked and scored.
Examine the face at location 8.
SUBTASK 71-21-11-220-063 Examine the Engine Front Mount Tube Assembly (01-150) Faces
Refer to Figure.
Repair, VRS1102 TASK 71-21-11-300-006 (REPAIR-006)
Loose
Examine the inserts at location 5.
SUBTASK 71-21-11-220-064 Examine the Engine Front Mount Tube Assembly (01-150) Inserts
Refer to Figure.
Repair, VRS1103 TASK 71-21-11-300-005 (REPAIR-005)
Galled, nicked, dented, worn, scratched and scored
Examine the bosses at location 6.
SUBTASK 71-21-11-220-007 Examine the Engine Front Mount Tube Assembly (01-150) Bosses
Refer to Figure.
Repair, VRS1103 TASK 71-21-11-300-005 (REPAIR-005)
Galled, nicked, dented, worn, scratched and scored
Examine the corner at location 7.
SUBTASK 71-21-11-220-008 Examine the Engine Front Mount Tube Assembly (01-150) Corner
Refer to Figure.
Repair, VRS1101 TASK 71-21-11-300-004 (REPAIR-004).
Missing dry film lubricant.
Repair, VRS1103 TASK 71-21-11-300-005 (REPAIR-005).
Nicked, scratched and scored.
Examine the chamfer at location 9.
SUBTASK 71-21-11-220-084 Examine the Engine Mount Tube Assembly (01-150) Chamfer
Refer to Figure.
Repair, VRS1103 TASK 71-21-11-300-005 (REPAIR-005)
Scratched and scored
Examine all the surfaces which do not include the identified location.
SUBTASK 71-21-11-220-083 Examine the Engine Mount Tube Assembly (01-150) all the Surfaces
Figure: Locations on the Engine Front Mount Tube Assembly
Locations on the Engine Front Mount Tube Assembly

