Export Control
EAR Export Classification: Not subject to the EAR per 15 C.F.R. Chapter 1, Part 734.3(b)(3), except for the following Service Bulletins which are currently published as EAR Export Classification 9E991: SBE70-0992, SBE72-0483, SBE72-0580, SBE72-0588, SBE72-0640, SBE73-0209, SBE80-0024 and SBE80-0025.Copyright
© IAE International Aero Engines AG (2001, 2014 - 2021) The information contained in this document is the property of © IAE International Aero Engines AG and may not be copied or used for any purpose other than that for which it is supplied without the express written authority of © IAE International Aero Engines AG. (This does not preclude use by engine and aircraft operators for normal instructional, maintenance or overhaul purposes.).Applicability
All
Common Information
TASK 72-32-83-200-001-B00 LPC Front Case - Examine, Inspection-001
General
This TASK gives the procedure for the inspection of the LPC front case assembly. For the other LP compressor booster stage vanes parts, refer to TASK 72-32-83-200-000 (INSPECTION-000).
Fig/item numbers in parentheses in the procedure agree with those used in the IPC.
The policy that is necessary for inspection is given in the SPM TASK 70-20-01-200-501.
All the parts must be cleaned before any part is examined. Refer to TASK 72-32-83-100-000 (CLEANING-000).
All the parts must be visually examined for damage, corrosion and wear. Any defects that are not identified in the procedure must be referred to IAE.
The procedure for those parts which must have a crack test is given in Step. Do the test before the part is visually examined.
Do not discard any part until you are sure there are no repairs available. Refer to the instructions in Repair before a discarded part is used again or oversize parts are installed.
Parts which should be discarded can be held although no repair is available. The repair of a discarded part could be shown to be necessary at a later date.
All the parts must be examined to make sure that all the repairs have been completed satisfactorily.
The practices and processes referred to in the procedure by the TASK numbers are in the SPM.
References
Refer to the SPM for data on these items
Definition of Damages, SPM TASK 70-02-02-350-501
Inspection of Parts, SPM TASK 70-20-01-200-501
Some data on these items are contained in this TASK. For more data on these items refer to the SPM.
Method of Testing for Crack Indications
Chemical Processes
Surface Protection
Preliminary Requirements
Pre-Conditions
NONESupport Equipment
NONEConsumables, Materials and Expendables
NONESpares
NONESafety Requirements
NONEProcedure
Clean the parts. Refer to TASK 72-32-83-100-000 (CLEANING-000).
SUBTASK 72-32-83-230-066 Examine the LPC Front Case Assembly (02-350) for Cracks
Refer to Figure.
Repair, VRS1759 TASK 72-32-83-300-037(REPAIR-037)
Corroded
Repair, VRS1759 TASK 72-32-83-300-037 (REPAIR-037)
Pitted
Repair, VRS1759 TASK 72-32-83-300-037 (REPAIR-037)
More than 0.008 in. (0.20 mm) in depth
Nicked
Repair, VRS1759 TASK 72-32-83-300-037 (REPAIR-037)
More than 0.008 in. (0.20 mm) in depth
Scratched.
Repair, VRS1759 TASK 72-32-83-300-037 (REPAIR-037)
More than 0.008 in. (0.20 mm) in depth
Dented.
Examine all the surfaces which do not include the identified locations.
SUBTASK 72-32-83-220-131 Examine the LPC Front Case Assembly (02-350) All Surfaces
Refer to Figure.
NOTE
Use VRS1713 if the damage can not be removed by VRS1759.Repair, VRS1759 TASK 72-32-83-300-037 (REPAIR-037) or Repair, VRS1713 TASK 72-32-83-300-051 (REPAIR-051)
Not more than 0.006 in. (0.15 mm) in depth
More than in Step
Worn.
NOTE
Use VRS1713 if the damage can not be removed by VRS1759.Repair, VRS1759 TASK 72-32-83-300-037 (REPAIR-037) or Repair, VRS1713 TASK 72-32-83-300-051 (REPAIR-051)
Not more than 0.006 in. (0.15 mm) in depth
More than in Step
Corroded or pitted.
NOTE
Use VRS1713 if the damage can not be removed by VRS1759.Repair, VRS1759 TASK 72-32-83-300-037 (REPAIR-037) or Repair, VRS1713 TASK 72-32-83-300-051 (REPAIR-051)
Not more than 0.006 in. (0.15 mm) in depth
More than in Step
Nicked, scratched or dented.
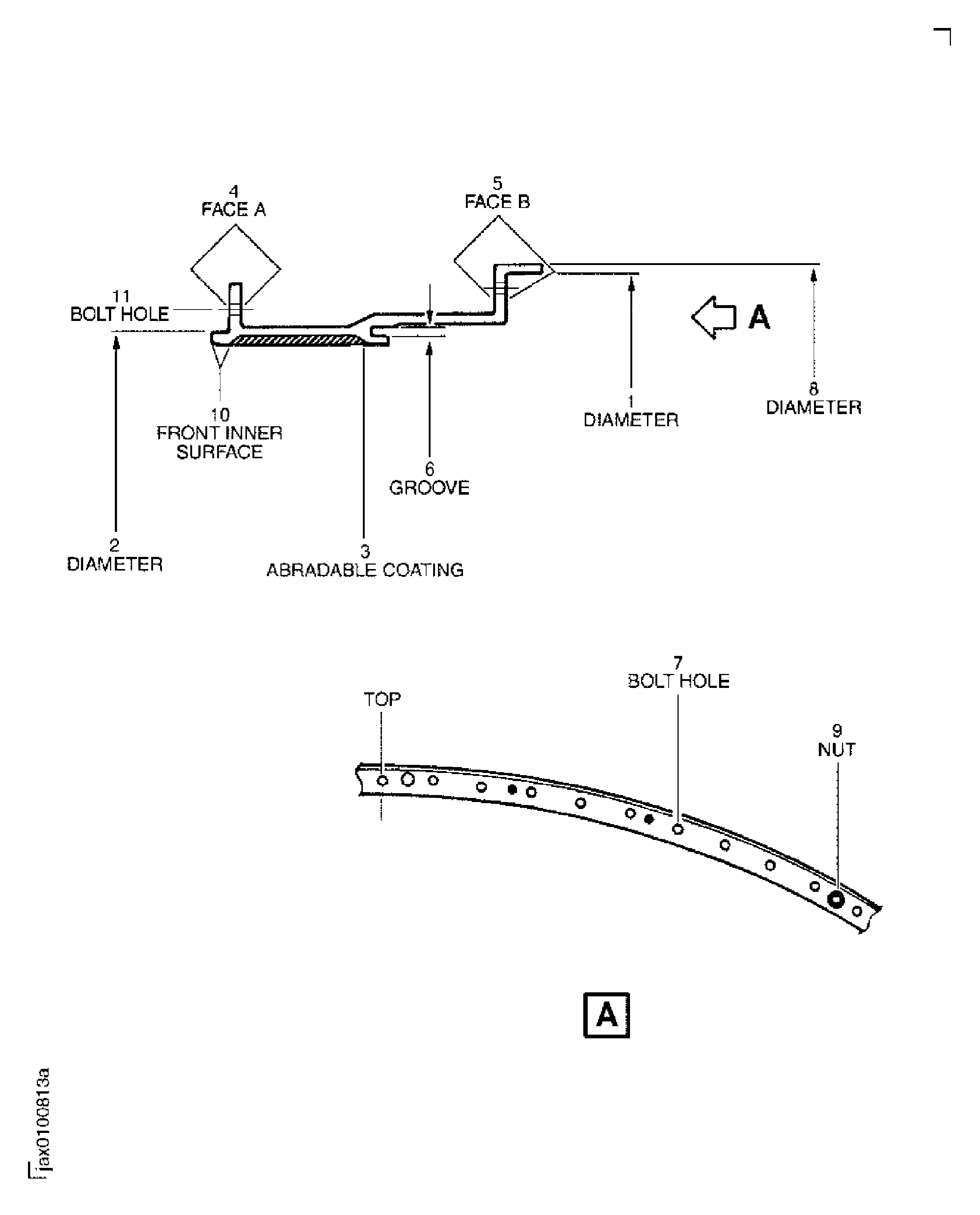
Examine the diameter at location 1.
SUBTASK 72-32-83-220-132 Examine the LPC Front Case Assembly (02-350) Diameter
Refer to Figure.
NOTE
Use VRS1761 if the damage can not be removed by VRS1759.Repair, VRS1759 TASK 72-32-83-300-037 (REPAIR-037) or Repair, VRS1761 TASK 72-32-83-300-038 (REPAIR-038)
Not more than 0.006 in. (0.15 mm) in depth
More than in Step
Worn.
NOTE
Use VRS1761 if the damage can not be removed by VRS1759.Repair, VRS1759 TASK 72-32-83-300-037 (REPAIR-037) or Repair, VRS1761 TASK 72-32-83-300-038 (REPAIR-038)
Not more than 0.006 in. (0.15 mm) in depth
More than in Step
Corroded or pitted.
NOTE
Use VRS1761 if the damage can not be removed by VRS1759.Repair, VRS1759 TASK 72-32-83-300-037 (REPAIR-037) or Repair, VRS1761 TASK 72-32-83-300-038 (REPAIR-038)
Not more than 0.006 in. (0.15 mm) in depth
More than in Step
Nicked, scratched or dented.
Examine the snap diameter at location 2.
SUBTASK 72-32-83-220-133 Examine the LPC Front Case Assembly (02-350) Snap Diameter
Refer to Figure.
Repair, VRS1760 TASK 72-32-83-300-039 (REPAIR-039)
Deterioration
Repair, VRS1760 TASK 72-32-83-300-039 (REPAIR-039)
More than in Step
Worn.
Repair, VRS1760 TASK 72-32-83-300-039 (REPAIR-039)
More than in Step
Rubbed.
Repair, VRS1760 TASK 72-32-83-300-039 (REPAIR-039)
Unbonded
Examine the abradable coating at location 3.
SUBTASK 72-32-83-220-134 Examine the LPC Front Case Assembly (02-350) Abradable Coating
Refer to Figure.
Repair, VRS1759 TASK 72-32-83-300-037 (REPAIR-037)
Galled
Repair, VRS1759 TASK 72-32-83-300-037 (REPAIR-037)
Corroded or pitted
Repair, VRS1759 TASK 72-32-83-300-037 (REPAIR-037)
Nicked, scratched or dented
Examine the face A at location 4.
Repair, VRS1759 TASK 72-32-83-300-037 (REPAIR-037)
Galled
Repair, VRS1759 TASK 72-32-83-300-037 (REPAIR-037)
Corroded or pitted
Repair, VRS1759 TASK 72-32-83-300-037 (REPAIR-037)
Nicked, scratched or dented
Examine the face B at location 5.
SUBTASK 72-32-83-220-135 Examine the LPC Front Case Assembly (02-350) Faces
Refer to Figure.
Repair, VRS1759 TASK 72-32-83-300-037 (REPAIR-037)
Scratched
Repair, VRS1759 TASK 72-32-83-300-037 (REPAIR-037)
Corroded or pitted
Examine the groove at location 6.
SUBTASK 72-32-83-220-136 Examine the LPC Front Case Assembly (02-350) Groove
Refer to Figure.
Repair, VRS1759 TASK 72-32-83-300-037 (REPAIR-037)
Galled
Repair, VRS1759 TASK 72-32-83-300-037 (REPAIR-037)
Burred edges
Repair, VRS1759 TASK 72-32-83-300-037 (REPAIR-037)
Corroded or pitted
Repair, VRS1759 TASK 72-32-83-300-037 (REPAIR-037)
Nicked, scratched or dented
Repair, VRS1616 TASK 72-32-83-300-061 (REPAIR-061).
Reject.
More than the repairable limits of VRS1616 in Step.
Examine the bolt holes at locations 7 and 11.
SUBTASK 72-32-83-220-137 Examine the LPC Front Case Assembly (02-350) Bolt Holes
Refer to Figure.
Repair, VRS1759 TASK 72-32-83-300-037 (REPAIR-037)
Not more than 0.006 in. (0.15 mm) in depth
More than in Step
Worn.
Repair, VRS1759 TASK 72-32-83-300-037 (REPAIR-037)
Corroded or pitted
Repair, VRS1759 TASK 72-32-83-300-037 (REPAIR-037)
Nicked, scratched or dented
Examine the diameter at location 8.
SUBTASK 72-32-83-220-138 Examine the LPC Front Case Assembly (02-350) Diameter
Refer to Figure.
Repair, VRS1382 TASK 72-32-83-300-007 (REPAIR-007)
More than in Step
Loose or missing.
Repair, VRS1382 TASK 72-32-83-300-007 (REPAIR-007)
More than in Step
Crossed.
Repair, VRS1382 TASK 72-32-83-300-007 (REPAIR-007)
More than in Step
Stripped threads.
Examine the nuts at location 9.
SUBTASK 72-32-83-220-190 Examine the LPC Front Case Assembly (02-350) Nuts
Refer to Figure.
Repair, VRS1759 TASK 72-32-83-300-037 (REPAIR-037)
Corroded or pitted
Repair, VRS1759 TASK 72-32-83-300-037 (REPAIR-037)
More than in Step
Nicked, scratched or dented.
Repair, VRS1759 TASK 72-32-83-300-037 (REPAIR-037)
More than in Step
Rubbed or gouged.
Examine the Front Inner Surface at Location 10.
SUBTASK 72-32-83-220-192 Examine the LPC Front Case Assembly (02-350) Front Inner Surface
Refer to Figure.
Repair, VRS1379 TASK 72-32-83-300-060 (REPAIR-060)
Corroded, pitted, loose or missing
Examine the locating pins at Location 12.
SUBTASK 72-32-83-220-258 Examine the LPC Front Case Assembly (02-350) Locating Pins
Figure: Locations on the LPC Front Case Assembly
Locations on the LPC Front Case Assembly

