Export Control
EAR Export Classification: Not subject to the EAR per 15 C.F.R. Chapter 1, Part 734.3(b)(3), except for the following Service Bulletins which are currently published as EAR Export Classification 9E991: SBE70-0992, SBE72-0483, SBE72-0580, SBE72-0588, SBE72-0640, SBE73-0209, SBE80-0024 and SBE80-0025.Copyright
© IAE International Aero Engines AG (2001, 2014 - 2021) The information contained in this document is the property of © IAE International Aero Engines AG and may not be copied or used for any purpose other than that for which it is supplied without the express written authority of © IAE International Aero Engines AG. (This does not preclude use by engine and aircraft operators for normal instructional, maintenance or overhaul purposes.).Applicability
All
Common Information
TASK 72-41-20-440-001-A00 HPC Rear Cases And Vanes Assembly - Assemble The HPC Stage 7 Case And Stator Vanes, Assembly-001
General
Fig/item numbers in parentheses in the procedure agree with those used in the IPC. Only the primary Fig/item numbers are used. For the service bulletin alpha variants refer to the IPC.
For all parts identified in a different Chapter/Section/Subject the applicable Chapter/Section/Subject comes before the Fig/item number.
For standard torque data and procedures refer to TASK 70-41-00-400-501, TASK 70-41-01-400-501 and TASK 70-41-02-410-501.
Special torque data and assembly tolerances are included in the procedure.
Lubricate all threads and abutment faces of nuts and bolts with CoMat 10-077 APPROVED ENGINE OILS unless other lubricants are referred to in the procedure.
After assembly apply CoMat 07-038 AIR DRYING ENAMEL to any damaged surface protection, joint flanges and parts used to attach. Use the correct color of the air drying enamel. Refer to TASK 70-63-02-380-501.
The number for each radial location must be identified in a clockwise direction. These start at the engine top position when you look from the rear of the engine, unless stated differently in the procedure.
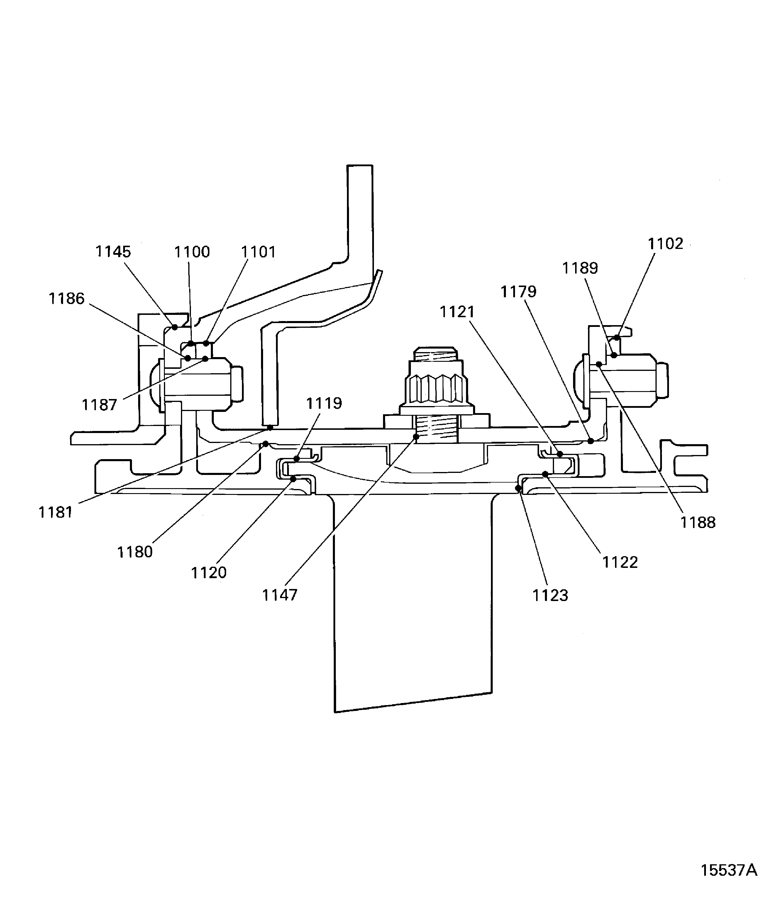
Refer to Figure for a sectional view of the HP compressor rear cases and vanes.
Make sure all the flange faces and tool faces that touch are very clean.
The Fits and Clearances, NEW PART DIMENSIONS AND REJECT IF MORE THAN columns will be used by most operators. This permits the full use of the maximum wear allowance and a reduction in the number of parts which are rejected, is possible.
The column WORN PART DIMENSIONS (Non-select) is included for operators who want to have full interchangeability. If this column is used an increase in the number of parts which are rejected is possible.
After the part has been in service for some time the REJECT IF MORE THAN and WORN PART DIMENSIONS could be changed. The operator must tell IAE and if agreed the manual will be changed.
The abbreviation Intf shows an interference or tight fit. This causes REJECT IF MORE THAN to become REJECT IF LESS THAN.
The abbreviation clear shows a clearance fit.
This TASK gives the procedure to assemble the HP compressor stage 7 case, the vanes, the liners and the stator vane stops. The subsequent TASKS give the procedures to assemble the remaining HP compressor rear cases and stator vanes.
Assemble the HP Compressor Stage 8 Case and Stator Vanes by TASK 72-41-20-440-002-A00 (ASSEMBLY-002).
Assemble the HP Compressor Stage 9 Case and Stator Vanes by TASK 72-41-20-440-003-A00 (ASSEMBLY-003).
Assemble the HP Compressor Stage 10 Case and Stator Vanes by TASK 72-41-20-440-004-A00 (ASSEMBLY-004).
Assemble the HP Compressor Stage 11 Case and Stator Vanes by TASK 72-41-20-440-005-A00 (ASSEMBLY-005).
Machine the Stator Vane Tips and the Rotor Path Ring Liners by TASK 72-41-20-440-006-A01 (ASSEMBLY-006).
Disassemble the HP Compressor Rear Cases and Vanes by TASK 72-41-20-440-007-A01 (ASSEMBLY-007).
NOTE
NOTE
Preliminary Requirements
Pre-Conditions
NONESupport Equipment
| Name | Manufacturer | Part Number / Identification | Quantity | Remark |
|---|---|---|---|---|
| Heating blanket | LOCAL | Heating blanket | ||
| Protective Gloves | LOCAL | Protective gloves | ||
| IAE 1R18207 Support stand | 0AM53 | IAE 1R18207 | 1 | |
| IAE 1R18297 Assembly tool | 0AM53 | IAE 1R18297 | 1 | |
| IAE 1R18298 Installation drift | 0AM53 | IAE 1R18298 | 1 | |
| IAE 1R18299 Assembly tool | 0AM53 | IAE 1R18299 | 1 | |
| IAE 1R18501 Stop alignment tool | 0AM53 | IAE 1R18501 | 1 | |
| IAE 1R18684 Case extractor | 0AM53 | IAE 1R18684 | 1 | |
| IAE 1R18434 Case extractor | 0AM53 | IAE 1R18434 | 3 |
Consumables, Materials and Expendables
| Name | Manufacturer | Part Number / Identification | Quantity | Remark |
|---|---|---|---|---|
| CoMat 07-038 AIR DRYING ENAMEL | k3504 | CoMat 07-038 | ||
| CoMat 10-077 APPROVED ENGINE OILS | LOCAL | CoMat 10-077 |
Spares
| Name | Manufacturer | Part Number / Identification | Quantity | Remark |
|---|---|---|---|---|
| Stage 7 front liner | 1 | |||
| Stage 7 rear liner | 1 | |||
| Stage 8 front liner | 1 |
Safety Requirements
NONEProcedure
Refer to Figure.
Reference dimensions at location 1119. If required use the data written as a Note in TASK 72-41-21-200-000 (INSPECTION-000).
Table 1. Fits and Clearances (all dimensions are in inches) NEW PART
WORN PART
DIMENSIONS
DIMENSIONS
PART IDENT
Size
Clearance
Non-select
REJECT IF
MORE THAN
LOCATION 1119
Stage 7 Front Liner HPC Ring Cases And Related Parts (72-41-21, 03-440)
Location In The Stage 7 Rotor Path Ring HPC Ring Cases And Related Parts (72-41-21, 03-450)
Stage 7 Front Liner Outer Diameter
0.1122
0.1154
0.0000
Stage 7 Rotor Path Ring Inner (Liner) Diameter
0.1154
0.0051
0.1173
Table 2. Fits and Clearances (all dimensions are in millimeters) NEW PART
WORN PART
DIMENSIONS
DIMENSIONS
PART IDENT
Size
Clearance
Non-select
REJECT IF
MORE THAN
LOCATION 1119
Stage 7 Front Liner HPC Ring Cases And Related Parts 72-41-21, 03-440)
Location In The Stage 7 Rotor Path Ring HPC Ring Cases And Related Parts 72-41-21, 03-450)
Stage 7 Front Liner Outer Diameter
2.85
2.93
0.00
Stage 7 Rotor Path Ring Inner (Liner) Diameter
2.93
0.13
2.98
SUBTASK 72-41-20-220-051 Reference Fits and Clearances of the HP Compressor Rear Cases and Vanes at Location 1119
Refer to Figure.
Reference dimensions at location 1121. If required use the data written as a Note in TASK 72-41-21-200-000 (INSPECTION-000).
Table 3. Fits and Clearances (all dimensions are in inches) NEW PART
WORN PART
DIMENSIONS
DIMENSIONS
PART IDENT
Size
Clearance
Non-select
REJECT IF
MORE THAN
LOCATION 1121
Stage 7 Rear Liner HPC Ring Cases And Related Parts 72-41-21, 03-490)
Location In The Stage 8 Rotor Path Ring HPC Ring Cases And Related Parts 72-41-21, 03-600)
Stage 7 Rear Liner Outer Diameter
0.1319
0.1350
0.0000
Stage 8 Rotor Path Ring Inner (Liner) Diameter
0.1350
0.0051
0.1370
Table 4. Fits and Clearances (all dimensions are in millimeters) NEW PART
WORN PART
DIMENSIONS
DIMENSIONS
PART IDENT
Size
Clearance
Non-select
REJECT IF
MORE THAN
LOCATION 1121
Stage 7 Rear Liner HPC Ring Cases And Related Parts 72-41-21, 03-490)
Location In The Stage 8 Rotor Path Ring HPC Ring Cases And Related Parts 72-41-21, 03-600)
Stage 7 Rear Liner Outer Diameter
3.35
3.43
0.00
Stage 8 Rotor Path Ring Inner (Liner) Diameter
3.43
0.13
3.48
SUBTASK 72-41-20-220-052 Reference Fits and Clearances of the HP Compressor Rear Cases and Vanes at location 1121
Refer to Figure.
Reference dimensions at location 1147. If required use the data written as a Note in TASK 72-41-21-200-000 (INSPECTION-000).
Table 5. Fits and Clearances (all dimensions are in inches) NEW PART
WORN PART
DIMENSIONS
DIMENSIONS
PART IDENT
Size
Clearance
Non-select
REJECT IF
MORE THAN
LOCATION 1147
Stage 7 Stator Vane Stop HPC Ring Cases And Related Parts (72-41-21, 03-480)
Location In The Stage 7 Case HPC Ring Cases And Related Parts (72-41-21, 03-500)
Stage 7 Stator Vane Stop Shank Diameter
0.2474
0.2494
0.0010
Stage 7 Case Stop Location Bore
0.2504
0.0061
0.2535
Table 6. Fits and Clearances (all dimensions are in millimeters) NEW PART
WORN PART
DIMENSIONS
DIMENSIONS
PART IDENT
Size
Clearance
Non-select
REJECT IF
MORE THAN
LOCATION 1147
Stage 7 Stator Vane Stop HPC Ring Cases And Related Parts (72-41-21, 03-480)
Location In The Stage 7 Case HPC Ring Cases And Related Parts (72-41-21, 03-500)
Stage 7 Stator Vane Stop Shank Diameter
6.285
6.335
0.025
Stage 7 Case Stop Location Bore
6.360
0.155
6.440
SUBTASK 72-41-20-220-053 Reference Fits and Clearances of the HP Compressor Rear Cases and Vanes at Location 1147
Refer to Figure.
Reference dimensions at location 1100. If required use the data written as a Note in TASK 72-41-21-200-000 (INSPECTION-000).
Table 7. Fits and Clearances (all dimensions are in inches) NEW PART
WORN PART
DIMENSIONS
DIMENSIONS
PART IDENT
Size
Clearance
Non-select
REJECT IF
MORE THAN
LOCATION 1100
Stage 7 Rotor Path Ring HPC Ring Cases And Related Parts (72-41-21, 03-450)
Location In The Front Support Cone HPC Ring Cases And Related Parts (72-41-21, 03-300)
Stage 7 Rotor Path Ring Outer Diameter
22.333
22.341
0.017
Front Support Cone Inner Flange Bore
22.358
0.03
22.363
Table 8. Fits and Clearances (all dimensions are in millimeters) NEW PART
WORN PART
DIMENSIONS
DIMENSIONS
PART IDENT
Size
Clearance
Non-select
REJECT IF
MORE THAN
LOCATION 1100
Stage 7 Rotor Path Ring HPC Ring Cases And Related Parts (72-41-21, 03-450)
Location In The Front Support Cone HPC Ring Cases And Related Parts (72-41-21, 03-300)
Stage 7 Rotor Path Ring Outer Diameter
567.25
567.45
0.45
Front Support Cone Inner Flange Bore
567.90
0.77
568.02
SUBTASK 72-41-20-220-054 Reference Fits and Clearances of the HP Compressor Rear Cases and Vanes at Location 1100
Refer to Figure.
Reference dimensions at location 1145. If required use the data written as a Note in TASK 72-41-21-200-000 (INSPECTION-000).
Table 9. Fits and Clearances (all dimensions are in inches) NEW PART
WORN PART
DIMENSIONS
DIMENSIONS
PART IDENT
Size
Clearance
Non-select
REJECT IF
MORE THAN
LOCATION 1145
Front Support Cone HPC Ring Cases And Related Parts (72-41-21, 03-300)
Location In The Support Cone Stiffening Ring HPC Ring Cases And Related Parts (72-41-21, 03-350)
Front Support Cone Front Flange Diameter
22.550
22.555
0.007
Support Cone Stiffening Ring Bore
22.5480
0.001
22.5511
Table 10. Fits and Clearances (all dimensions are in millimeters) NEW PART
WORN PART
DIMENSIONS
DIMENSIONS
PART IDENT
Size
Clearance
Non-select
REJECT IF
MORE THAN
LOCATION 1145
Front Support Cone HPC Ring Cases And Related Parts (72-41-21, 03-300)
Location In The Support Cone Stiffening Ring HPC Ring Cases And Related Parts (72-41-21, 03-350)
Front Support Cone Front Flange Diameter
572.78
572.9
0.18
Support Cone Stiffening Ring Bore
572.72
0.02
572.80
SUBTASK 72-41-20-220-055 Reference Fits and Clearances of the HP Compressor Rear Cases and Vanes at Location 1145
Refer to Figure.
Reference dimensions at location 1101. If required use the data written as a Note in TASK 72-41-21-200-000 (INSPECTION-000).
Table 11. Fits and Clearances (all dimensions are in inches) NEW PART
WORN PART
DIMENSIONS
DIMENSIONS
PART IDENT
Size
Clearance
Non-select
REJECT IF
MORE THAN
LOCATION 1101
Stage 7 Case HPC Ring Cases And Related Parts (72-41-21, 03-500)
Location In The Front Support Cone HPC Ring Cases And Related Parts (72-41-21, 03-300)
Stage 7 Case Outer Diameter
22.361
22.366
0.008
Front Support Cone Inner Flange Bore
22.358
Intf
22.363
0.002
Table 12. Fits and Clearances (all dimensions are in millimeters) NEW PART
WORN PART
DIMENSIONS
DIMENSIONS
PART IDENT
Size
Clearance
Non-select
REJECT IF
MORE THAN
LOCATION 1101
Stage 7 case HPC Ring Cases And Related Parts (72-41-21, 03-500)
Location In The Front Support Cone HPC Ring Cases And Related Parts (72-41-21, 03-300)
Stage 7 Case Outer Diameter
567.98
568.1
0.2
Front Support Cone Inner Flange Bore
567.9
Intf
568.02
0.04
SUBTASK 72-41-20-220-056 Reference Fits and Clearances of the HP Compressor Rear Cases and Vanes at Location 1101
Refer to Figure.
Reference dimensions at location 1120. If required use the data written as a Note in TASK 72-41-22-200-000 (INSPECTION-000) and TASK 72-41-21-200-000 (INSPECTION-000).
Table 13. Fits and Clearances (all dimensions are in inches) NEW PART
WORN PART
DIMENSIONS
DIMENSIONS
PART IDENT
Size
Clearance
Non-select
REJECT IF
MORE THAN
LOCATION 1120
Stage 7 Front Liner HPC Ring Cases And Related Parts (72-41-21, 03-440)
Location With The Stage 7 Stator Vanes
Stage 7 Front Liner Outer Width
0.0807
0.0878
0.0020
Stage 7 Stator Vane Platform Thickness
0.0755
0.0123
0.0787
Table 14. Fits and Clearances (all dimensions are in millimeters) NEW PART
WORN PART
DIMENSIONS
DIMENSIONS
PART IDENT
Size
Clearance
Non-select
REJECT IF
MORE THAN
LOCATION 1120
Stage 7 Front Liner HPC Ring Cases And Related Parts (72-41-21, 03-440)
Location With The Stage 7 Stator Vanes
Stage 7 Front Liner Outer Width
2.05
2.23
0.05
Stage 7 Stator Vane Platform Width
1.92
0.31
2.00
SUBTASK 72-41-20-220-058 Reference Fits and Clearances of the HP Compressor Rear Cases and Vanes at Location 1120
Refer to Figure.
Reference dimensions at location 1102. If required use the data written as a Note in TASK 72-41-21-200-000 (INSPECTION-000).
Table 15. Fits and Clearances (all dimensions are in inches) NEW PART
WORN PART
DIMENSIONS
DIMENSIONS
PART IDENT
Size
Clearance
Non-select
REJECT IF
MORE THAN
LOCATION 1102
Stage 8 Rotor Path Ring HPC Ring Cases And Related Parts (72-41-21, 03-600)
Location In The Stage 7 Case HPC Ring Cases And Related Parts (72-41-21, 03-500)
Stage 8 Rotor Path Ring Outer Diameter
22.358
22.366
0.018
Stage 7 Case Rear Flange Bore
22.384
0.034
22.392
Table 16. Fits and Clearances (all dimensions are in millimeters) NEW PART
WORN PART
DIMENSIONS
DIMENSIONS
PART IDENT
Size
Clearance
Non-select
REJECT IF
MORE THAN
LOCATION 1102
Stage 8 Rotor Path Ring HPC Ring Cases And Related Parts (72-41-21, 03-600)
Location In The Stage 7 Case HPC Ring Cases And Related Parts (72-41-21, 03-500)
Stage 8 Rotor Path Ring Outer Diameter
567.90
568.10
0.4318
Stage 7 Case Rear Flange Bore
568.55
0.8382
568.75
SUBTASK 72-41-20-220-059 Reference Fits and Clearances of the HP Compressor Rear Cases and Vanes at Location 1102
Refer to Figure.
Reference dimensions at location 1122. If required use the data written as a Note in TASK 72-41-21-200-000 (INSPECTION-000) and TASK 72-41-22-200-000 (INSPECTION-000).
Table 17. Fits and Clearances (all dimensions are in inches) NEW PART
WORN PART
DIMENSIONS
DIMENSIONS
PART IDENT
Size
Clearance
Non-select
REJECT IF
MORE THAN
LOCATION 1122
Stage 7 Rear Liner HPC Ring Cases And Related Parts (72-41-21, 03-490) Location With The Stage 7 Stator Vanes
Stage 7 Rear Liner Outer Width
0.1004
0.1075
0.0020
Stage 7 Stator Vane Platform Width
0.0952
0.0123
0.0984
Table 18. Fits and Clearances (all dimensions are in millimeters) NEW PART
WORN PART
DIMENSIONS
DIMENSIONS
PART IDENT
Size
Clearance
Non-select
REJECT IF
MORE THAN
LOCATION 1122
Stage 7 Rear Liner HPC Ring Cases And Related Parts (72-41-21, 03-490) Location With The Stage 7 Stator Vanes
Stage 7 Rear Liner Outer Width
2.55
2.73
0.05
Stage 7 Stator Vane Platform Width
2.42
0.31
2.50
SUBTASK 72-41-20-220-063 Reference Fits and Clearances of the HP Compressor Rear Cases and Vanes at Location 1122
Refer to Figure.
Reference dimensions at location 1123. If required use the data written as a Note in TASK 72-41-22-200-000 (INSPECTION-000) and TASK 72-41-21-200-000 (INSPECTION-000).
Table 19. Fits and Clearances (all dimensions are in inches) NEW PART
WORN PART
DIMENSIONS
DIMENSIONS
PART IDENT
Size
Clearance
Non-select
REJECT IF
MORE THAN
LOCATION 1123
Stage 7 Rear Liner HPC Ring Cases And Related Parts (72-41-21, 03-490) Axial Clearance With The Stage 7 Stator Vanes
Stage 7 Rear Liner Front Face Dimension
2.4270
2.4388
0.0116
Stage 7 Stator Vane Platform Rear Face Dimension
2.4504
0.0273
2.4543
Table 20. Fits and Clearances (all dimensions are in millimeters) NEW PART
WORN PART
DIMENSIONS
DIMENSIONS
PART IDENT
Size
Clearance
Non-select
REJECT IF
MORE THAN
LOCATION 1123
Stage 7 Rear Liner HPC Ring Cases And Related Parts(72-41-21, 03-490)
Axial Clearance With The Stage 7 Stator Vanes
Stage 7 Rear Liner Front Face Dimension
61.645
61.945
0.295
Stage 7 Stator Vane Platform Rear Face Dimension
62.240
0.695
62.340
SUBTASK 72-41-20-220-064 Reference Fits and Clearances of the HP Compressor Rear Cases and Vanes at Location 1123
Refer to Figure.
Reference dimensions at location 1189. If required use the data written as a Note in TASK 72-41-21-200-000 (INSPECTION-000).
Table 21. Fits and Clearances (all dimensions in inches) NEW PART
WORN PART
DIMENSIONS
DIMENSIONS
PART IDENT
Size
Clearance
Non-select
REJECT IF
MORE THAN
LOCATION 1189
Stage 8 Rotor Path Ring HPC Ring Cases And Related Parts (72-41-21, 03-600)
Location With The Stage 7 Case Location Dowel HPC Ring Cases And Related Parts (72-41-21, 03-525)
Stage 8 Rotor Path Ring Location Dowel Hole Bore
0.315
0.329
0.010
Location Dowel Diameter
0.303
0.026
0.305
Table 22. Fits and Clearances (all dimensions in millimetres) NEW PART
WORN PART
DIMENSIONS
DIMENSIONS
PART IDENT
Size
Clearance
Non-select
REJECT IF
MORE THAN
LOCATION 1189
Stage 8 Rotor Path Ring HPC Ring Cases And Related Parts (72-41-21, 03-600)
Location With The Stage 7 Case Location Dowel HPC Ring Cases And Related Parts (72-41-21, 03-525)
Stage 8 Rotor Path Ring Location Dowel Hole Bore
8.00
8.36
0.25
Location Dowel Diameter
7.70
0.66
7.75
SUBTASK 72-41-20-220-107 Reference Fits and Clearances of the HP Compressor Rear Cases and Vanes at Location 1189
Refer to Figure.
Reference dimensions at location 1187. If required use the data written as a Note in TASK 72-41-21-200-000 (INSPECTION-000).
Table 23. Fits and Clearances (all dimensions in inches) NEW PART
WORN PART
DIMENSIONS
DIMENSIONS
PART IDENT
Size
Clearance
Non-select
REJECT IF
MORE THAN
LOCATION 1187
Stage 7 Case HPC Ring Cases And Related Parts (72-41-21, 03-500) Location With The Front Support Cone Location Dowel (72-41-21, 03-325)
Stage 7 Case Location Dowel Hole Bore
0.315
0.316
0.010
Location Dowel Diameter
0.303
0.013
0.305
Table 24. Fits and Clearances (all dimensions in millimetres) NEW PART
WORN PART
DIMENSIONS
DIMENSIONS
PART IDENT
Size
Clearance
Non-select
REJECT IF
MORE THAN
LOCATION 1187
Stage 7 Case HPC Ring Cases And Related Parts (72-41-21, 03-500)
Location With The Front Support Cone Location Dowel HPC Ring Cases And Related Parts (72-41-21, 03-325)
Stage 7 Case Location Dowel Hole Bore
8.000
8.022
0.250
Location Dowel Diameter
7.700
0.322
7.750
SUBTASK 72-41-20-220-108 Reference Fits and Clearances of the HP Compressor Rear Cases and Vanes at Location 1187
Refer to Figure.
Reference dimensions at location 1186. If required use the data written as a Note in TASK 72-41-21-200-000 (INSPECTION-000).
Table 25. Fits and Clearances (all dimensions in inches) NEW PART
WORN PART
DIMENSIONS
DIMENSIONS
PART IDENT
Size
Clearance
Non-select
REJECT IF
MORE THAN
LOCATION 1186
Stage 7 Rotor Path Ring HPC Ring Cases And Related Parts (72-41-21, 03-450) Location With The Front Support Cone Location Dowel (72-41-21, 03-235)
Stage 7 Rotor Path Ring Location Dowel Hole Bore
0.315
0.329
0.010
Location Dowel Diameter
0.303
0.026
0.305
Table 26. Fits and Clearances (all dimensions in millimetres) NEW PART
WORN PART
DIMENSIONS
DIMENSIONS
PART IDENT
Size
Clearance
Non-select
REJECT IF
MORE THAN
LOCATION 1186
Stage 7 Rotor Path Ring HPC Ring Cases And Related Parts (72-41-21, 03-450)
Location With The Front Support Cone Location Dowel HPC Ring Cases And Related Parts (72-41-21, 03-325)
Stage 7 Rotor Path Ring Location Dowel Hole Bore
8.00
8.36
0.25
Location Dowel Diameter
7.70
0.66
7.75
SUBTASK 72-41-20-220-109 Reference Fits and Clearances of the HP Compressor Rear Cases and Vanes at Location 1186
Refer to Figure.
Reference dimensions at location 1180. If required use the data written as a Note in TASK 72-41-21-200-000 (INSPECTION-000).
Table 27. Fits and Clearances (all dimensions in inches) NEW PART
WORN PART
DIMENSIONS
DIMENSIONS
PART IDENT
Size
Clearance
Non-select
REJECT IF
MORE THAN
LOCATION 1180
Stage 7 Case HPC Ring Cases And Related Parts (72-41-21, 03-500)
Location On The Stage 7 Rotor Path Ring HPC Ring Cases And Related Parts (72-41-21, 03-450)
Stage 7 Case Inner Front Bore
21.150
Intf
21.154
0.003
Stage 7 Rotor Path Ring Rear Flange Diameter
21.1574
0.011
21.1606
Table 28. Fits and Clearances (all dimensions in millimetres) NEW PART
WORN PART
DIMENSIONS
DIMENSIONS
PART IDENT
Size
Clearance
Non-select
REJECT IF
MORE THAN
LOCATION 1180
Stage 7 Case HPC Ring Cases And Related Parts (72-41-21, 03-500)
Location On The Stage 7 Rotor Path Ring HPC Ring Cases And Related Parts (72-41-21, 03-450)
Stage 7 Case Inner Front Bore
537.20
Intf
537.32
0.08
Stage 7 Rotor Path Ring Rear Flange Diameter
537.40
0.28
537.48
SUBTASK 72-41-20-220-110 Reference Fits and Clearances of the HP Compressor Rear Cases and Vanes at Location 1180
Refer to Figure.
Reference dimensions at location 1179. If required use the data written as a Note in TASK 72-41-21-200-000 (INSPECTION-000).
Table 29. Fits and Clearances (all dimensions in inches) NEW PART
WORN PART
DIMENSIONS
DIMENSIONS
PART IDENT
Size
Clearance
Non-select
REJECT IF
MORE THAN
LOCATION 1179
Stage 7 Case HPC Ring Cases And Related Parts (72-41-21, 03-500)
Location On The Stage 8 Rotor Path Ring HPC Ring Cases And Related Parts (72-41-21, 03-600)
Stage 7 Case Inner Rear Bore
21.150
Intf
21.154
0.003
Stage 8 Rotor Path Ring Front Flange Diameter
21.1574
0.01
21.1606
Table 30. Fits and Clearances (all dimensions in millimetres) NEW PART
WORN PART
DIMENSIONS
DIMENSIONS
PART IDENT
Size
Clearance
Non-select
REJECT IF
MORE THAN
LOCATION 1179
Stage 7 Case HPC Ring Cases And Related Parts (72-41-21, 03-500)
Location On The Stage 8 Rotor Path Ring HPC Ring Cases And Related Parts (72-41-21, 03-600)
Stage 7 Case Inner Rear Bore
537.20
Intf
537.32
0.08
Stage 8 Rotor Path Ring Front Flange Diameter
537.40
0.28
537.48
SUBTASK 72-41-20-220-111 Reference Fits and Clearances of the HP Compressor Rear Cases and Vanes at Location 1179
Refer to Figure.
Reference dimensions at location 1144. If required use the data written as a Note in TASK 72-41-21-200-000 (INSPECTION-000).
Table 31. Fits and Clearances (all dimensions in inches) NEW PART
WORN PART
DIMENSIONS
DIMENSIONS
PART IDENT
Size
Clearance
Non-select
REJECT IF
MORE THAN
LOCATION 1144
Stage 7 Case Front Spacer HPC Ring Cases And Related Parts (72-41-21, 03-513)
Location In The Stage 7 Front Heatshield HPC Ring Cases And Related Parts (72-41-21, 03-180)
Spacer Rear Outer Diameter
0.3161
0.3164
0.0005
Stage 7 Front Heatshield Location Holes Bore
0.3169
0.0031
0.3192
Table 32. Fits and Clearances (all dimensions in millimetres) NEW PART
WORN PART
DIMENSIONS
DIMENSIONS
PART IDENT
Size
Clearance
Non-select
REJECT IF
MORE THAN
LOCATION 1144
Stage 7 Case Front Spacer HPC Ring Cases And Related Parts (72-41-21, 03-513)
Location In The Stage 7 Front Heatshield HPC Ring Cases And Related Parts (72-41-21, 03-180)
Spacer Rear Outer Diameter
8.028
8.037
0.013
Stage 7 Front Heatshield Location Holes Bore
8.050
0.080
8.108
SUBTASK 72-41-20-220-112 Reference Fits and Clearances of the HP Compressor Rear Cases and Vanes at location 1144
Refer to Figure.
Reference dimensions at location 1181. If required use the data written as a Note in TASK 72-41-21-200-000 (INSPECTION-000).
Table 33. Fits and Clearances (all dimensions in inches) NEW PART
WORN PART
DIMENSIONS
DIMENSIONS
PART IDENT
Size
Clearance
Non-select
REJECT IF
MORE THAN
LOCATION 1181
Stage 7 Case HPC Ring Cases And Related Parts (72-41-21, 03-500)
Location In The Stage 7 Front Heatshield HPC Ring Cases And Related Parts (72-41-21, 03-180)
Stage 7 Case Outer Diameter
21.309
21.321
0.002
Stage 7 Front Heatshield Inner Bore
21.323
0.026
21.3346
Table 34. Fits and Clearances (all dimensions in millimetres) NEW PART
WORN PART
DIMENSIONS
DIMENSIONS
PART IDENT
Size
Clearance
Non-select
REJECT IF
MORE THAN
LOCATION 1181
Stage 7 Case HPC Ring Cases And Related Parts (72-41-21, 03-500)
Location In The Stage 7 Front Heatshield HPC Ring Cases And Related Parts (72-41-21, 03-180)
Stage 7 Case Outer Diameter
541.25
541.55
0.05
Stage 7 Front Heatshield Inner Bore
541.60
0.65
541.90
SUBTASK 72-41-20-220-113 Reference Fits and Clearances of the HP Compressor Rear Cases and Vanes at Location 1181
Refer to Figure.
Use IAE 1R18298 Installation drift 1 off to install the stage 7 front liner. Make sure the liner touches the stage 7 rotor path ring rear face.
Install the new HPC Ring Cases And Related Parts (72-41-21, 03-440) stage 7 front liner 1 off into the slot in the rear of the stage 7 rotor path ring HPC Ring Cases And Related Parts (72-41-21, 03-450).
Use IAE 1R18297 Assembly tool 1 off to install the stage 7 rear liner. Make sure the liner touches the stage 8 rotor path ring front face.
Install the new HPC Ring Cases And Related Parts (72-41-21, 03-490) stage 7 rear liner 1 off into the slot in the front of the stage 8 rotor path ring HPC Ring Cases And Related Parts (72-41-21, 03-600).
Use IAE 1R18298 Installation drift 1 off to install the stage 8 front liner. Make sure the liner touches the stage 8 rotor path ring rear face.
Install the new HPC Ring Cases And Related Parts (72-41-21, 03-590) stage 8 front liner 1 off, into the slot in the rear of the stage 8 rotor path ring.
SUBTASK 72-41-20-440-051 Install the Stage 7 Front and Rear Liners
Refer to Figure.
Use the IAE 1R18501 Stop alignment tool 1 off and align the stage 7 stator vane stop in the stage 7 case.
Install a washer HPC Ring Cases And Related Parts (72-41-21, 03-479) and a nut HPC Ring Cases And Related Parts (72-41-21, 03-478) onto the stage 7 stator vane stop.
Install the stage 7 stator vane stops HPC Ring Cases And Related Parts (72-41-21, 03-480) in the stage 7 case HPC Ring Cases And Related Parts (72-41-21, 03-500).
SUBTASK 72-41-20-440-052 Install the Stator Vane Stops in the Stage 7 Case
Refer to Figure.
Install the stage 7 rotor path ring HPC Ring Cases And Related Parts (72-41-21, 03-450) front flange down into IAE 1R18299 Assembly tool 1 off. Align the location dowel hole in the stage 7 rotor path ring with the location dowel on the assembly tool.
Put the stage 7 case HPC Ring Cases And Related Parts (72-41-21, 03-500) front flange down onto a clean work bench.
Remove the stage 7 rotor path ring and case from the assembly tool. Put the assembly rear flange down on the clean IAE 1R18207 Support stand 1 off.
SUBTASK 72-41-20-440-098 Assemble the Stage 7 Rotor Path Ring and Case
Put the front support cone HPC Ring Cases And Related Parts (72-41-21, 03-300) rear flange down on a clean work bench.

WARNING
YOU MUST PUT ON THE CORRECT PROTECTIVE GLOVES BEFORE YOU TOUCH THE FRONT SUPPORT CONE.Lift the front support cone onto the stage 7 rotor path ring HPC Ring Cases And Related Parts (72-41-21, 03-450). Align the dowel in the front flange of the support cone with the location holes in the stage 7 rotor path ring and the stage 7 case HPC Ring Cases And Related Parts (72-41-21, 03-506).
SUBTASK 72-41-20-440-099 Install the Front Support Cone onto the Stage 7 Rotor Path Ring and Case
Install the heating blanket onto the support cone stiffening ring HPC Ring Cases And Related Parts (72-41-21, 03-350).

WARNING
YOU MUST PUT ON THE CORRECT PROTECTIVE GLOVES BEFORE YOU TOUCH THE SUPPORT CONE STIFFENING RING.Lift the support cone stiffening ring HPC Ring Cases And Related Parts (72-41-21, 03-350) onto the front support cone. Align the location dowel hole in the support cone stiffening ring with the location dowel in the front flange of the front support cone.
Install the 37 bolts HPC Assembly (72-41-00, 01-552) and nuts HPC Assembly (72-41-00, 01-550) to attach the support cone stiffening ring to the front support cone, stage 7 rotor path and case. Install the bolts from the rear of the stage 7 case front flange. Refer to the detail identified A on Figure for the positions of the bolts.
SUBTASK 72-41-20-440-100 Install the Support Cone Stiffening Ring
Put the assembled Stage 7 Rotor Path Ring and Case with the Front Support Cone and the Support Cone Stiffening Ring on IAE 1R18207 Support stand 1 off.
SUBTASK 72-41-20-440-101 Put the Assembly on the Bench
Install the four stage 7 stop vanes in to the stage 7 rotor path ring HPC Ring Cases And Related Parts (72-41-21, 03-450) at the stage 7 stator vane stops HPC Ring Cases And Related Parts (72-41-21, 03-480). Engage the vanes in the stage 7 front liner HPC Ring Cases And Related Parts (72-41-21, 03-450). Make sure the stage 7 stator vane stops are engaged in the slots in the stage 7 stop vane platforms.
Install the stage 7 stop vanes HPC Stator Vanes (72-41-22, 02-350).
Install three stage 7 stator vanes HPC Stator Vanes (72-41-22, 02-400).
Install one stage 7 undersize stator vanes HPC Stator Vanes (72-41-22, 02-450).
Install five stage 7 stator vanes HPC Stator Vanes (72-41-22, 02-400).
Install one stage 7 stator vane HPC Stator Vanes (72-41-22, 02-448).
Install one stage 7 undersize stator vane HPC Stator Vanes (72-41-22, 02-450).
Install three stage 7 stator vanes HPC Stator Vanes (72-41-22, 02-400).
Install one stage 7 undersize stator vane HPC Stator Vanes (72-41-22, 02-450).
Install three stage 7 stator vanes HPC Stator Vanes (72-41-22, 02-400).
Install the stage 7 stator vanes in the subsequent sequence.
Install the stage 7 stator vanes HPC Stator Vanes (72-41-22, 02-400, HPC Stator Vanes02-448 and HPC Stator Vanes02-450) between the stage 7 stop vanes at the 11 and 2 o'clock positions.
Install the stage 7 stator vanes HPC Stator Vanes (72-41-22, 02-400 , HPC Stator Vanes02-448 and HPC Stator Vanes 02-450) between the stage 7 stop vanes in the remaining three segments. Use the sequence given in Step to Step.
SUBTASK 72-41-20-440-054 Install the Stage 7 Stator Vanes
Install the heating blanket on to the stage 7 case HPC Ring Cases And Related Parts (72-41-21, 03-500) rear flange.
Align the location dowel hole in the stage 8 rotor path ring HPC Ring Cases And Related Parts (72-41-21, 03-600) with the location dowel in the stage 7 case rear flange.
SUBTASK 72-41-20-440-055 Install the Stage 8 Rotor Path Ring
Refer to Figure.
Measure and write down a record of the clearance between the stop vane and the stator vane platforms. This must be 0.042 in. to 0.058 in. (1.07 mm to 1.47 mm).
NOTE
If the interplatform clearances are correct, continue with SUBTASK 72-41-20-440-104.
If the interplatform clearances are not correct, continue with SUBTASK 72-41-20-440-057.
Measure and write down a record of the interplatform clearances at the stage 7 stop vanes. Measure all four clearances at the same time.
SUBTASK 72-41-20-440-056 Measure the Interplatform Clearances
NOTE
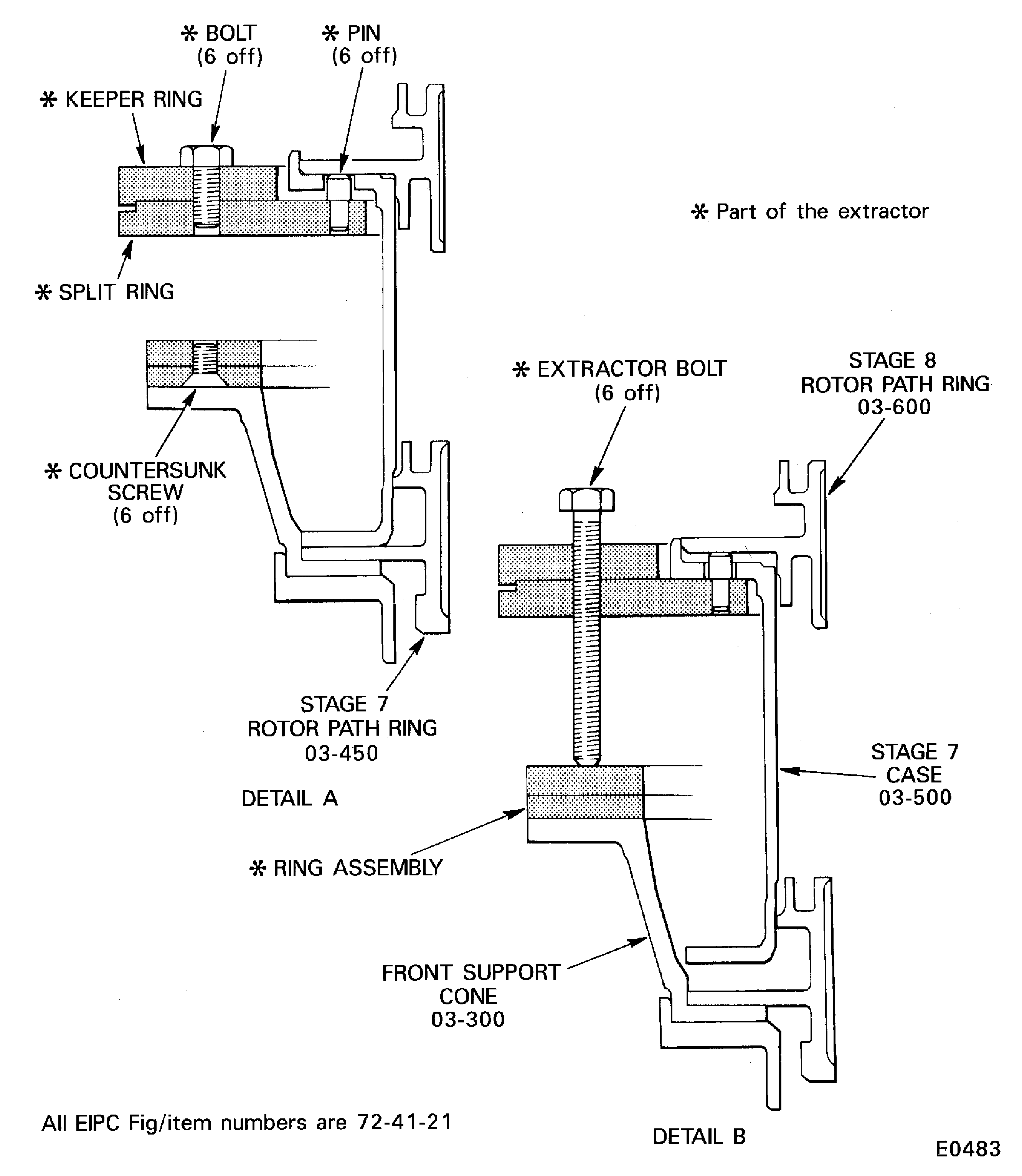
To get the specified interplatform clearance at the four stage 7 stop vanes HPC Stator Vanes (72-41-22, 02-350), use the stage 7 undersize stator vanes HPC Stator Vanes (72-41-22, 02-450) or stage 7 stator vanes HPC Stator Vanes (72-41-22, 02-448) as necessary.A maximum of four undersize vanes can be used between the two adjacent stop vanes. These must be set at equal distances between the stop vanes.Remove the eight slave nuts and bolts which attach the stage 8 rotor path ring HPC Ring Cases And Related Parts (72-41-21, 03-600) to the stage 7 case HPC Ring Cases And Related Parts (72-41-21, 03-500).
Attach the two parts of the ring assembly together with the six countersunk screws. Refer to detail A on Figure.
Attach the keeper ring to the split ring with the three bolts. Refer to detail A on Figure.

WARNING
YOU MUST PUT ON THE CORRECT PROTECTIVE GLOVES BEFORE YOU TOUCH THE STAGE 8 ROTOR PATH RING.Assemble the IAE 1R18684 Case extractor on the stage 7 case and front support cone. Refer to Figure.
Remove the stage 8 rotor path ring.
Install the case extracter IAE 1R18684 Case extractor or IAE 1R18434 Case extractor, 3 off.

CAUTION
UNDERSIZE VANES MUST NOT BE INSTALLED ADJACENT TO THE STOP VANES, THE BORESCOPE POSITION OR OTHER UNDERSIZE VANES.Remove the stage 7 stator vanes HPC Stator Vanes (72-41-22, 02-448 or 02-450) and install the stage 7 vanes as necessary. One stage 7 undersize stator vane will give an increase or decrease in the interplatform clearance of 0.016 in. (0.40 mm).
Install the stage 8 rotor path ring as given in Step.
Measure and write a record of the interplatform clearances at the stage 7 stop vanes as given in Step.
SUBTASK 72-41-20-440-057 Install the Stage 7 Undersize Vanes
Put one half of the stage 7 front heatshield in to position on the stage 7 case HPC Ring Cases And Related Parts (72-41-21, 03-500). Locate the heatshield on the spacers and make sure the heatshield joints are in the correct positions.
Install the 10 bolts HPC Assembly (72-41-00, 01-544) and nuts HPC Assembly (72-41-00, 01-540) to attach the stage 7 front heatshield to the stage 7 case. Refer to the detail identified at B.
Install the stage 7 front heatshield HPC Ring Cases And Related Parts (72-41-21, 03-180).
Measure and write down a record of the clearance at location 1181. This must be 0.004 in.to 0.024 in. (0.10 mm to 0.60 mm). Refer to Figure.
SUBTASK 72-41-20-440-104 Install the Stage 7 Front Heatshields
Figure: View through the HP Compressor Rear Cases and Vanes
View through the HP Compressor Rear Cases and Vanes

Figure: The Locations for the Fits and Clearances
Sheet 1

Figure: The Locations for the Fits and Clearances
Sheet 2

Figure: Install the Stage 7 Front Liner
Sheet 1

Figure: Install the Stage 7 Front and Rear Liners
Sheet 2

Figure: Install the Stage 7 Stator Vane Stops
Install the Stage 7 Stator Vane Stops

Figure: Assemble the stage 7 rotor path ring and case on the assembly tool
Assemble the stage 7 rotor path ring and case on the assembly tool

Figure: Assemble the Front Support Cone and The Stage 7 Rotor Path Ring and Case
Sheet 1

Figure: Assemble the Front Support Cone and the Stage 7 Rotor Path Ring and Case
Sheet 2

Figure: Install the Stage 7 Stator Vanes
Sheet 1

Figure: Install the Stage 7 Stator Vanes
Sheet 2

Figure: Install the Stage 7 Stator Vanes
Sheet 3

Figure: Measure the Stator Vane Interplatform Clearances
Measure the Stator Vane Interplatform Clearances

Figure: Remove the Stage 8 Rotor Path Ring
Remove the Stage 8 Rotor Path Ring

Figure: Remove the Stage 7 Case
Remove the Stage 7 Case

