Export Control
EAR Export Classification: Not subject to the EAR per 15 C.F.R. Chapter 1, Part 734.3(b)(3), except for the following Service Bulletins which are currently published as EAR Export Classification 9E991: SBE70-0992, SBE72-0483, SBE72-0580, SBE72-0588, SBE72-0640, SBE73-0209, SBE80-0024 and SBE80-0025.Copyright
© IAE International Aero Engines AG (2001, 2014 - 2021) The information contained in this document is the property of © IAE International Aero Engines AG and may not be copied or used for any purpose other than that for which it is supplied without the express written authority of © IAE International Aero Engines AG. (This does not preclude use by engine and aircraft operators for normal instructional, maintenance or overhaul purposes.).Applicability
All
Common Information
TASK 72-41-20-440-005-A00 HPC Rear Cases And Vanes Assembly - Assemble The HPC Stage 11 Stator Vanes To The Cases, Assembly-005
General
Fig/item numbers in parentheses in the procedure agree with those used in the IPC. Only the primary Fig/item numbers are used. For the service bulletin alpha variants refer to the IPC.
For all parts identified in a different Chapter/Section/Subject, the applicable Chapter/Section/Subject comes before the Fig/item number.
For standard torque data and procedures refer to TASK 70-41-00-400-501, TASK 70-41-01-400-501 and TASK 70-41-02-410-501
Special torque data and assembly tolerances are included in the procedure.
Lubricate all threads and abutment faces of nuts and bolts with CoMat 10-077 APPROVED ENGINE OILS unless other lubricants are referred to in the procedure.
After assembly apply CoMat 07-038 AIR DRYING ENAMEL to any damaged surface protection, joint flanges and parts used to attach. Use the correct color of the air drying enamel. Refer to TASK 70-63-02-380-501.
The number for each radial location must be identified in a clockwise direction. These start at the engine top position when you look from the rear of the engine, unless stated differently in the procedure.
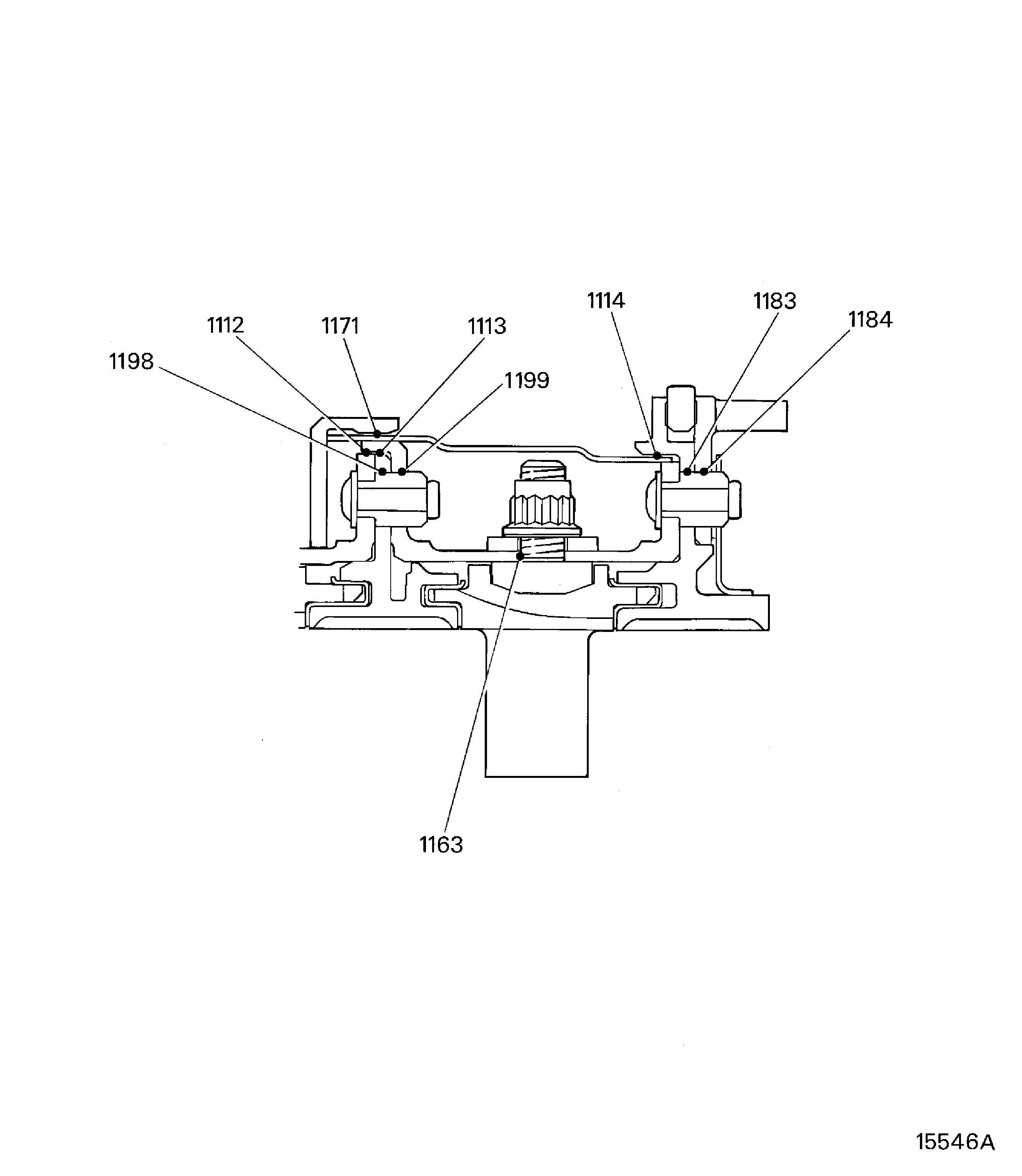
Refer to Figure for a sectional view of the HP compressor rear cases and vanes.
Make sure all the flange faces and tool faces that touch are very clean.
The Fits and Clearances, NEW PART DIMENSIONS and REJECT IF MORE THAN columns will be used by most operators. This permits the full use of the maximum wear allowance and a reduction in the number of parts which are rejected, is possible.
The column WORN PART DIMENSIONS (Non-select) is included for operators who want to have full interchangeability. If this column is used an increase in the number of parts which are rejected is possible.
After the part has been in service for some time the REJECT IF MORE THAN and WORN PART DIMENSIONS could be changed. The operator must tell IAE and if agreed the manual will be changed.
The abbreviation Intf shows an interference or tight fit. This causes REJECT IF MORE THAN to become REJECT IF LESS THAN.
The abbreviation clear shows a clearance fit.
This TASK gives the procedures to assemble the HP compressor stage 11 case, the vanes, the liners and the stator vane stops. The subsequent TASKS give the procedures to assemble the remaining HP compressor rear cases and vanes.
TASK 72-41-20-440-001-A00 (ASSEMBLY-001, CONFIG-001) Assemble the HP Compressor Stage 7 Cases and Stator Vanes.
TASK 72-41-20-440-002-A00 (ASSEMBLY-002, CONFIG-001) Assemble the HP Compressor Stage 8 Stator Vanes.
TASK 72-41-20-440-003-A00 (ASSEMBLY-003, CONFIG-001) Assemble the HP Compressor Stage 9 Stator Vanes.
TASK 72-41-20-440-004-A00 (ASSEMBLY-004, CONFIG-001) Assemble the HP Compressor Stage 10 Stator Vanes.
TASK 72-41-20-440-006-A00 (ASSEMBLY-006, CONFIG-001) Machine the Stator Vane Tips and the Rotor Path Ring Liners.
TASK 72-41-20-440-007-A00 (ASSEMBLY-007, CONFIG-001) Disassemble the HP Compressor Rear Cases and Vanes.
NOTE
NOTE
Preliminary Requirements
Pre-Conditions
NONESupport Equipment
| Name | Manufacturer | Part Number / Identification | Quantity | Remark |
|---|---|---|---|---|
| Heating blanket | LOCAL | Heating blanket | ||
| IAE 1R18213 Alignment checking pin | 0AM53 | IAE 1R18213 | 1 | |
| IAE 1R18297 Assembly tool | 0AM53 | IAE 1R18297 | 1 | |
| IAE 1R18501 Stop alignment tool | 0AM53 | IAE 1R18501 | 1 | |
| IAE 1R18827 Extractor | 0AM53 | IAE 1R18827 | 3 |
Consumables, Materials and Expendables
| Name | Manufacturer | Part Number / Identification | Quantity | Remark |
|---|---|---|---|---|
| CoMat 07-038 AIR DRYING ENAMEL | k3504 | CoMat 07-038 | ||
| CoMat 10-077 APPROVED ENGINE OILS | LOCAL | CoMat 10-077 |
Safety Requirements
NONEProcedure
Refer to Figure.
Reference dimensions at location 1139. If required use the data written as a Note in TASK 72-41-21-200-000 (INSPECTION/CHECK-000).
Table 1. Fits and Clearances (all dimensions are in inches) NEW PART
WORN PART
DIMENSIONS
DIMENSIONS
PART IDENT
Size
Clearance
(Non-select)
REJECT IF
MORE THAN
LOCATION 1139
Stage 11 Front Lliner HPC Ring Cases And Related Parts (72-41-21, 04-540)
Location in the stage 11 rotor path ring HPC Ring Cases And Related Parts (72-41-21, 04-550)
Stage 11 Front Liner Outer Diameter
0.112
0.115
0.0000
Stage 11 Rotor Path Ring Inner (Liner) Diameter
0.115
0.007
0.119
Table 2. Fits and Clearances (all dimensions are in millimeters) NEW PART
WORN PART
DIMENSIONS
DIMENSIONS
PART IDENT
Size
Clearance
(Non-select)
REJECT IF
MORE THAN
LOCATION 1139
Stage 11 Front Liner HPC Ring Cases And Related Parts (72-41-21, 04-540)
Location In The Stage 11 Rotor Path Ring HPC Ring Cases And Related Parts (72-41-21, 04-550)
Stage 11 Front Liner Outer Diameter
2.85
2.93
0.00
Stage 11 Rotor Path Ring Inner (Liner) Diameter
2.93
0.16
3.01
SUBTASK 72-41-20-220-097 Referenced Fits and Clearances of the HP Compressor Rear Cases and Vanes at Location 1139
Refer to Figure.
Reference dimensions at location 1141. If required use the data written as a Note in TASKS 72-41-21-200-000 (INSPECTION/CHECK-000).
Table 3. Fits and Clearances (all dimensions are in inches) NEW PART
WORN PART
DIMENSIONS
DIMENSIONS
PART IDENT
Size
Clearance
(Non-select)
REJECT IF
MORE THAN
LOCATION 1141
Stage 11 Rear Liner HPC Ring Cases And Related Parts (72-41-21, 04-690)
Location In The Stage 12 Rotor Path Ring HPC Ring Cases And Related Parts (72-41-21, 04-700)
Stage 11 Rear Liner Outer Diameter
0.132
0.135
0.0000
Stage 12 Rotor Path Ring Inner (Liner) Diameter
0.135
0.006
0.138
Table 4. Fits and Clearances (all dimensions are in millimeters) NEW PART
WORN PART
DIMENSIONS
DIMENSIONS
PART IDENT
Size
Clearance
(Non-select)
REJECT IF
MORE THAN
LOCATION 1141
Stage 11 Rear Liner HPC Ring Cases And Related Parts (72-41-21, 04-690)
Location In The Stage 12 Rotor Path Ring HPC Ring Cases And Related Parts (72-41-21, 04-700)
Stage 11 Rear Liner Outer Diameter
3.35
3.43
0.00
Stage 12 Rotor Path Ring Inner (Liner) Diameter
3.43
0.16
3.51
SUBTASK 72-41-20-220-098 Reference Fits and Clearances of the HP Compressor Rear Cases and Vanes at Location 1141
Refer to Figure.
Reference dimensions at locations 1163. If required use the data written as a Note in TASKS 72-41-21-200-000 (INSPECTION/CHECK-000).
Table 5. Fits and Clearances (all dimensions are in inches) NEW PART
WORN PART
DIMENSIONS
DIMENSIONS
PART IDENT
Size
Clearance
(Non-select)
REJECT IF
MORE THAN
LOCATION 1163
Stage 11 Stator Vane Stop HPC Ring Cases And Related Parts (72-41-21, 04-590)
Location In The Stage 11 Case HPC Ring Cases And Related Parts (72-41-21,04-600)
Stage 11 Stator Vane Stop Shank Diameter
0.2474
0.2494
0.0010
Stage 11 Case Stop Location Hole Bore
0.2504
0.0061
0.2535
Table 6. Fits and Clearances (all dimensions are in millimeters) NEW PART
WORN PART
DIMENSIONS
DIMENSIONS
PART IDENT
Size
Clearance
(Non-select)
REJECT IF
MORE THAN
LOCATION 1163
Stage 11 Stator Vane Stop HPC Ring Cases And Related Parts (72-41-21, 04-590)
Location In The Stage 11 Case HPC Ring Cases And Related Parts (72-41-21,04-600)
Stage 11 Stator Vane Stop Shank Diameter
6.285
6.335
0.025
Shank 11 Case Stop Location Hole Bore
6.360
0.155
6.440
SUBTASK 72-41-20-220-099 Reference Fits and Clearances of the HP Compressor Rear Cases and Vanes at Location 1163
Refer to Figure.
Reference dimensions at location 1140. If required use the data written as a Note in TASK 72-41-22-200-000 (INSPECTION/CHECK-000) and TASK 72-41-21-200-000 (INSPECTION/CHECK-000).
Table 7. Fits and Clearances (all dimensions are in inches) NEW PART
WORN PART
DIMENSIONS
DIMENSIONS
PART IDENT
Size
Clearance
(Non-select)
REJECT IF
MORE THAN
LOCATION 1140
Stage 11 Front Liner HPC Ring Cases And Related Parts (72-41-21, 04-540)
Location With The Stage 11 Stator Vane
Stage 11 Front Liner Internal Width
0.081
0.088
0.012
Stage 11 Stator Vane Platform thickness
0.076
0.002
0.079
Table 8. Fits and Clearances (all dimensions are in millimeters) NEW PART
WORN PART
DIMENSIONS
DIMENSIONS
PART IDENT
Size
Clearance
(Non-select)
REJECT IF
MORE THAN
LOCATION 1140
Stage 11 Front Liner HPC Ring Cases And Related Parts (72-41-21, 04-540)
Location With The Stage 11 Stator Vane
Stage 11 Front Liner Internal Width
2.05
2.23
0.31
Stage 11 Stator Vane Platform Thickness
1.92
0.05
2.00
SUBTASK 72-41-20-220-100 Reference Fits and Clearances of the HP Compressor Rear Cases and Vanes at Location 1140
Refer to Figure.
Reference dimensions at location 1142. If required use the data written as a Note in TASK 72-41-22-200-000 (INSPECTION/CHECK-000) and TASK 72-41-21-200-000 (INSPECTION/CHECK-000).
Table 9. Fits and Clearances (all dimensions are in inches) NEW PART
WORN PART
DIMENSIONS
DIMENSIONS
PART IDENT
Size
Clearance
(Non-select)
REJECT IF
MORE THAN
LOCATION 1142
Stage 11 Rear Liner HPC Ring Cases And Related Parts (72-41-21, 04-690)
Location With The Stage 11 Stator Vanes
Stage 11 Rear Liner Internal Width
0.100
0.108
0.013
Stage 11 Stator Vane Platform Thickness
0.095
0.002
0.098
Table 10. Fits and Clearances (all dimensions are in millimeters) NEW PART
WORN PART
DIMENSIONS
DIMENSIONS
PART IDENT
Size
Clearance
(Non-select)
REJECT IF
MORE THAN
LOCATION 1142
Stage 11 Rear Liner HPC Ring Cases And Related Parts (72-41-21, 04-690
Location With The Stage 11 Stator Vanes
Stage 11 Rear Liner Internal Width
2.55
2.73
0.31
Stage 11 Stator Vane Platform Thickness
2.42
0.05
2.50
SUBTASK 72-41-20-220-101 Reference Fits and Clearances of the HP Compressor Rear Cases and Vanes at Location 1142
Refer to Figure.
Reference dimensions at location 1143. If required use the data written as a Note in TASK 72-41-22-200-000 (INSPECTION/CHECK-000) and TASK 72-41-21-200-000 (INSPECTION/CHECK-000).
Table 11. NEW PART WORN PART DIMENSIONS DIMENSIONS REJECT IF
PART IDENT Size Clearance (Non-select) MORE THAN
LOCATION 1143
Stage 11 rear liner
HPC Ring Cases And Related Parts (72-41-21,04-690) axial
clearance with the stage 11
stator vanes
Stage 11 rear liner front face
1.6104
dimension from the front liner
1.6221
0.0129
rear face
Stage 11 stator vane platform
1.6350
0.0286
width
1.6390
Table 12. Fits and Clearances (all dimensions are in millimeters) NEW PART WORN PART
DIMENSIONS DIMENSIONS REJECT IF
PART IDENT Size Clearance (Non-select) MORE THAN
LOCATION 1143
Stage 11 rear liner
HPC Ring Cases And Related Parts (72-41-21,04-690) axial
clearance with the stage 11
stator vanes
Stage 11 rear liner front face
40.903
dimension from the front liner
41.203
0.327
rear face
Stage 11 stator vane platform
41.530
0.727
width
41.630
SUBTASK 72-41-20-220-102 Reference Fits and Clearances of the HP Compressor Rear Cases and Vanes at Location 1143
Refer to Figure.
Reference dimensions at location 1114. If required use the data written as a Note in TASK 72-41-21-200-000 (INSPECTION/CHECK-000).
Table 13. Fits and Clearances (all dimensions are in inches) NEW PART WORN PART
DIMENSIONS DIMENSIONS REJECT IF
PART IDENT Size Clearance (Non-select) MORE THAN
LOCATION 1114
Stage 11 heatshield
HPC Ring Cases And Related Parts (72-41-21,04-520) location
with the stage 12 rotor path
ring HPC Ring Cases And Related Parts (72-41-21,04-700)
Stage 11 heatshield bore
22.3307
22.3449
0.0193
Stage 12 rotor path ring
22.3642
0.0413
location dia
22.3720
Table 14. Fits and Clearances (all dimensions are in millimeters) NEW PART WORN PART
DIMENSIONS DIMENSIONS REJECT IF
PART IDENT Size Clearance (Non-select) MORE THAN
LOCATION 1114
Stage 11 heatshield
HPC Ring Cases And Related Parts (72-41-21,04-520) location
with the stage 12 rotor
path ring HPC Ring Cases And Related Parts (72-41-21,04-700)
Stage 11 heatshield bore
567.20
567.56
0.490
Stage 12 rotor path ring
568.05
1.049
location dia
568.25
SUBTASK 72-41-20-220-103 Reference Fits and Clearances of the HP Compressor Rear Cases and Vanes at Location 1114
Refer to Figure.
Reference dimensions at location 1183. If required use the data written as a Note in TASK 72-41-21-200-000 (INSPECTION/CHECK-000).
Table 15. Fits and Clearances (all dimensions are in inches) NEW PART WORN PART
DIMENSIONS DIMENSIONS REJECT IF
PART IDENT Size Clearance (Non-select) MORE THAN
LOCATION 1183
Stage 12 rotor path ring
HPC Ring Cases And Related Parts (72-41-21,04-700) location
with the stage 11 case location
dowel HPC Ring Cases And Related Parts (72-41-21,04-625)
Stage 12 rotor path ring
0.315
location hole bore
0.329
0.010
Stage 11 case location
0.303
0.026
dowel dia
0.305
Table 16. Fits and Clearances (all dimensions are in millimeters) NEW PART WORN PART
DIMENSIONS DIMENSIONS REJECT IF
PART IDENT Size Clearance (Non-select) MORE THAN
LOCATION 1183
Stage 12 rotor path ring
HPC Ring Cases And Related Parts (72-41-21,04-700) location
with the stage 11 case
location dowel
HPC Ring Cases And Related Parts (72-41-21,04-625)
Stage 12 rotor path ring
8.00
location hole bore
8.36
0.25
Stage 11 case location
7.70
0.66
dowel dia
7.75
SUBTASK 72-41-20-220-105 Reference Fits and Clearances of the HP Compressor Rear Cases and Vanes at Location 1183
Refer to Figure.
Reference dimensions at location 1184. If required use the data written as a Note in TASK 72-41-21-200-000 (INSPECTION/CHECK-000 ).
Table 17. NEW PART WORN PART DIMENSIONS DIMENSIONS REJECT IF
PART IDENT Size Clearance (Non-select) MORE THAN
LOCATION 1184
Cross key location ring
HPC Ring Cases And Related Parts (72-41-21,04-750) location
with the stage 11 case
location dowel
HPC Ring Cases And Related Parts (72-41-21,04-625)
Cross key location ring
0.315
location hole bore
0.316
0.010
Stage 11 case location dowel
0.303
0.013
dia
0.305
Table 18. Fits and Clearances (all dimensions are in millimeters) NEW PART WORN PART
DIMENSIONS DIMENSIONS REJECT IF
PART IDENT Size Clearance (Non-select) MORE THAN
LOCATION 1184
Cross key location ring
HPC Ring Cases And Related Parts (72-41-21,04-750) location
with the stage 11 case
location dowel (72-41-21,
04-625)
Cross key location ring
8.000
location hole bore
8.022
0.250
Stage 11 case location dowel
7.700
0.322
dia
7.750
SUBTASK 72-41-20-220-106 Reference Fits and Clearances of the HP Compressor Rear Cases and Vanes at Location 1184
Refer to Figure.
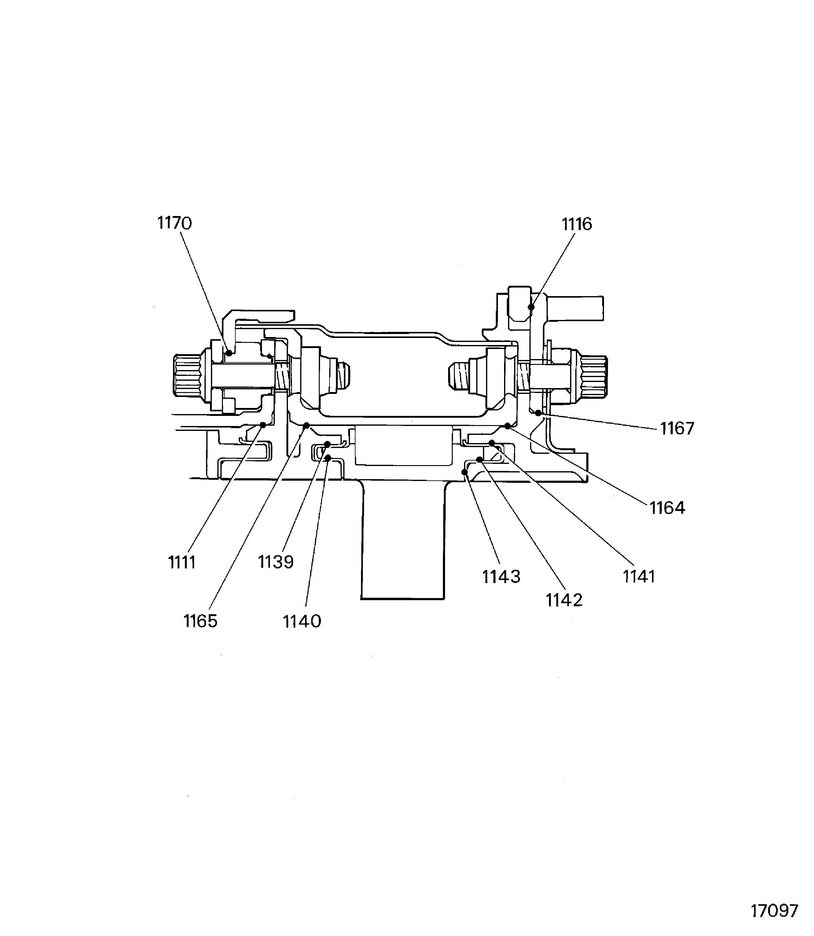
Reference dimensions at location 1164. If required use the data written as a Note in TASK 72-41-21-200-000 (INSPECTION/CHECK-000).
Table 19. Fits and Clearances (all dimensions are in inches) NEW PART
WORN PART
DIMENSIONS
DIMENSIONS
PART IDENT
Size
Clearance
(Non-select)
REJECT IF
MORE THAN
LOCATION 1164
Stage 11 Case HPC Ring Cases And Related Parts (72-41-21, 04-600)
Location With The Stage 12 Rotor Path Ring HPC Ring Cases And Related Parts (72-41-21, 04-700)
Stage 11 Case Bore
21.150
Intf
21.154
0.003
Stage 12 Rotor Path Ring Diameter
21.157
0.011
21.161
Table 20. Fits and Clearances (all dimensions are in millimeters) NEW PART
WORN PART
DIMENSIONS
DIMENSIONS
PART IDENT
Size
Clearance
(Non-select)
REJECT IF
MORE THAN
LOCATION 1164
Stage 11 Case HPC Ring Cases And Related Parts (72-41-21, 04-600)
Location With The Stage 12 Rotor Path ring HPC Ring Cases And Related Parts (72-41-21, 04-700)
Stage 11 Case Bore
537.20
Intf
537.32
0.06
Stage 12 Rotor Path Ring Diameter
537.38
0.30
537.50
SUBTASK 72-41-20-220-139 Reference Fits and Clearances of the HP Compressor Rear Cases and Vanes at Location 1164
Refer to Figure.
Reference dimensions at location 1167. If required use the data written as a Note in TASK 72-41-21-200-000 (INSPECTION/CHECK-000).
Table 21. Fits and Clearances (all dimensions are in inches) NEW PART
WORN PART
DIMENSIONS
DIMENSIONS
PART IDENT
Size
Clearance
(Non-select)
REJECT IF
MORE THAN
LOCATION 1167
Cross key location ring HPC Ring Cases And Related Parts (72-41-21, 04-745)
Location With The Stage 12 Rotor Path Ring HPC Ring Cases And Related Parts (72-41-21, 04-700)
Cross Key Location Ring Bore
21.335
21.339
0.001
Stage 12 Rotor Path Ring Diameter
21.338
0.008
21.343
Table 22. Fits and Clearances (all dimensions are in millimeters) NEW PART
WORN PART
DIMENSIONS
DIMENSIONS
PART IDENT
Size
Clearance
(Non-select)
REJECT IF
MORE THAN
LOCATION 1167
Cross Key Location Ring HPC Ring Cases And Related Parts (72-41-21, 04-745)
Location With The Stage 12 Rotor Path Ring HPC Ring Cases And Related Parts (72-41-21, 04-700)
Cross Key Location Ring Bore
541.92
542.00
0.02
Stage 12 Rotor Path Ring Diameter
541.98
0.18
542.10
SUBTASK 72-41-20-220-140 Reference Fits and Clearances of the HP Compressor Rear Cases and Vanes at Location 1167
Refer to Figure.
Reference dimensions at location 1116. If required use the data written as a Note in TASK 72-41-21-200-000 (INSPECTION/CHECK-000).
Table 23. Fits and Clearances (all dimensions are in inches) NEW PART
WORN PART
DIMENSIONS
DIMENSIONS
PART IDENT
Size
Clearance
(Non-select)
REJECT IF
MORE THAN
LOCATION 1116
Sealing Ring HPC Ring Cases And Related Parts (72-41-21, 04-745)
Location With The Stage 12 Rotor Path Ring HPC Ring Cases And Related Parts (72-41-21, 04-700)
Sealing Ring Width
0.157
0.159
0.00
Stage 12 Rotor Path Ring Dimension
0.159
0.003
0.160
Table 24. Fits and Clearances (all dimensions are in millimeters) NEW PART
WORN PART
DIMENSIONS
DIMENSIONS
PART IDENT
Size
Clearance
(Non-select)
REJECT IF
MORE THAN
LOCATION 1116
Sealing Ring HPC Ring Cases And Related Parts (72-41-21, 04-745)
Location With The Stage 12 Rotor Path Ring HPC Ring Cases And Related Parts (72-41-21, 04-700)
Sealing Ring Width
3.98
4.03
0.0
Stage 12 Rotor Path Ring Dimension
4.03
0.09
4.07
SUBTASK 72-41-20-220-141 Reference Fits and Clearances of the HP Compressor Rear Cases and Vanes at Location 1116
Refer to Figure.
Reference dimensions at location 1112. If required use the data written as a Note in TASK 72-41-21-200-000 (INSPECTION/CHECK-000).
Table 25. Fits and Clearances (all dimensions are in inches) NEW PART
WORN PART
DIMENSIONS
DIMENSIONS
PART IDENT
Size
Clearance
(Non-select)
REJECT IF
MORE THAN
LOCATION 1112
Stage 10 Case HPC Ring Cases And Related Parts (72-41-21, 04-350)
Location With The Stage 11 Case HPC Ring Cases And Related Parts (72-41-21, 04-600)
Stage 10 Case Rear Outer Flange Diameter
22.358
22.366
0.018
Stage 11 Case Front Flange Bore
22.384
0.034
22.392
Table 26. Fits and Clearances (all dimensions are in millimeters) NEW PART
WORN PART
DIMENSIONS
DIMENSIONS
PART IDENT
Size
Clearance
(Non-select)
REJECT IF
MORE THAN
LOCATION 1112
Stage 10 Case HPC Ring Cases And Related Parts (72-41-21, 04-350)
Location With The Stage 11 Case HPC Ring Cases And Related Parts (72-41-21, 04-600)
Stage 10 Case Rear Outer Flange Diameter
567.90
568.10
0.45
Stage 11 Case Front Flange Bore
568.55
0.85
568.75
SUBTASK 72-41-20-220-142 Reference Fits and Clearances of the HP Compressor Rear Cases and Vanes at Location 1112
Refer to Figure.
Reference dimensions at location 1113. If required use the data written as a Note in TASK 72-41-21-200-000 (INSPECTION/CHECK-000).
Table 27. Fits and Clearances (all dimensions are in inches) NEW PART
WORN PART
DIMENSIONS
DIMENSIONS
PART IDENT
Size
Clearance
(Non-select)
REJECT IF
MORE THAN
LOCATION 1113
Stage 11 Rotor Path Ring HPC Ring Cases And Related Parts (72-41-21, 04-700)
Location With The Stage 11 Case HPC Ring Cases And Related Parts (72-41-21, 04-600)
Stage 11 Rotor Path Ring Diameter
22.358
22.366
0.018
Stage 11 Case Front Flange Bore
22.384
0.034
22.392
Table 28. Fits and Clearances (all dimensions are in millimeters) NEW PART
WORN PART
DIMENSIONS
DIMENSIONS
PART IDENT
Size
Clearance
(Non-select)
REJECT IF
MORE THAN
LOCATION 1113
Stage 11 Rotor Path Ring HPC Ring Cases And Related Parts (72-41-21, 04-700)
Location With The Stage 11 Case HPC Ring Cases And Related Parts (72-41-21, 04-600)
Stage 11 Rotor Path Ring Diameter
567.90
568.10
0.45
Stage 11 Case Front Flange Bore
568.55
0.85
568.75
SUBTASK 72-41-20-220-143 Reference Fits and Clearances of the HP Compressor Rear Cases and Vanes at Location 1113
Refer to Figure.
Reference dimensions at location 1165. If required use the data written as a Note in TASK 72-41-21-200-000 (INSPECTION/CHECK-000).
Table 29. Fits and Clearances (all dimensions are in inches) NEW PART
WORN PART
DIMENSIONS
DIMENSIONS
PART IDENT
Size
Clearance
(Non-select)
REJECT IF
MORE THAN
LOCATION 1165
Stage 11 Case HPC Ring Cases And Related Parts (72-41-21, 04-600)
Location With The Stage 11 Rotor Path Ring HPC Ring Cases And Related Parts (72-41-21, 04-550)
Stage 11 Case Inner Bore
21.150
Intf
21.154
0.003
Stage 11 Rotor Path Ring Spigot Diameter
21.157
0.011
21.161
Table 30. Fits and Clearances (all dimensions are in millimeters) NEW PART
WORN PART
DIMENSIONS
DIMENSIONS
PART IDENT
Size
Clearance
(Non-select)
REJECT IF
MORE THAN
LOCATION 1165
Stage 11 Case HPC Ring Cases And Related Parts (72-41-21, 04-600)
Location With The Stage 11 Rotor Path Ring HPC Ring Cases And Related Parts (72-41-21, 04-550)
Stage 11 Case Inner Bore
537.20
Intf
537.32
0.06
Stage 11 Rotor Path Ring Spigot Diameter
537.38
0.30
537.50
SUBTASK 72-41-20-220-144 Reference Fits and Clearances of the HP Compressor Rear Cases and Vanes at Location 1165
Refer to Figure.
Reference dimensions at location 1171. If required use the data written as a Note in TASK 72-41-21-200-000 (INSPECTION/CHECK-000).
Table 31. Fits and Clearances (all dimensions are in inches) NEW PART WORN PART
DIMENSIONS DIMENSIONS REJECT IF
PART IDENT Size Clearance (Non-select) MORE THAN
LOCATION 1171
Stage 11 heatshield
HPC Ring Cases And Related Parts (72-41-21,04-520) location
with the stage 10 rear
heatshield HPC Ring Cases And Related Parts (72-41-21,04-450)
Stage 11 heatshield dia
22.540
22.554
0.046
Stage 10 rear heatshield bore
22.601
0.084
22.624
Table 32. Fits and Clearances (all dimensions are in millimeters) NEW PART WORN PART
DIMENSIONS DIMENSIONS REJECT IF
PART IDENT Size Clearance (Non-select) MORE THAN
LOCATION 1171
Stage 11 heatshield
HPC Ring Cases And Related Parts (72-41-21,04-520) location
with the stage 10 rear
heatshield HPC Ring Cases And Related Parts (72-41-21,04-450)
Stage 11 heatshield dia
572.52
572.88
1.18
Stage 10 rear heatshield bore
574.06
2.14
574.66
SUBTASK 72-41-20-220-145 Reference Fits and Clearances of the HP Compressor Rear Cases and Vanes at Location 1171
Refer to Figure.
Reference dimensions at location 1199. Use the data written as a Note in TASK 72-41-21-200-000 (INSPECTION/CHECK-000).
Table 33. Fits and Clearances (all dimensions are in inches) NEW PART WORN PART
DIMENSIONS DIMENSIONS REJECT IF
PART IDENT Size Clearance (Non-select) MORE THAN
LOCATION 1199
Stage 11 case HPC Ring Cases And Related Parts (72-41-21,04-600)
location with the stage 10 case
location dowel HPC Ring Cases And Related Parts (72-41-21,04-375)
Stage 11 case location hole
0.315
bore
0.316
0.010
Stage 10 case location dowel
0.303
0.013
dia
0.305
Table 34. Fits and Clearances (all dimensions are in millimeters) NEW PART WORN PART
DIMENSIONS DIMENSIONS REJECT IF
PART IDENT Size Clearance (Non-select) MORE THAN
LOCATION 1199
Stage 11 case HPC Ring Cases And Related Parts (72-41-21,04-600)
location with the stage 10 case
location dowel HPC Ring Cases And Related Parts (72-41-21,04-375)
Stage 11 case location hole
8.000
bore
8.022
0.250
Stage 10 case location dowel
7.700
0.322
dia
7.750
SUBTASK 72-41-20-220-146 Reference Fits and Clearances of the HP Compressor Rear Cases and Vanes at Location 1199
Refer to Figure.
Reference dimensions at location 1169. If required use the data written as a Note in TASK 72-41-21-200-000 (INSPECTION/CHECK-000).
Table 35. Fits and Clearances (all dimensions are in inches) NEW PART WORN PART
DIMENSIONS DIMENSIONS REJECT IF
PART IDENT Size Clearance (Non-select) MORE THAN
LOCATION 1169
Stage 10 rear heatshield (72-41-21,
04-450) location with the
stage 10 case HPC Ring Cases And Related Parts (72-41-21,04-350)
Stage 10 rear heatshield bore
21.299
21.311
0.0037
Stage 10 case dia
21.287
0.0240
21.295
Table 36. Fits and Clearances (all dimensions are in millimeters) NEW PART WORN PART
DIMENSIONS DIMENSIONS REJECT IF
PART IDENT Size Clearance (Non-select) MORE THAN
LOCATION 1169
Stage 10 rear heatshield (72-41-21,
04-450) location with the stage
10 case HPC Ring Cases And Related Parts (72-41-21,04-350)
Stage 10 rear heatshield bore
541.00
541.30
0.10
Stage 10 case dia
540.70
0.60
540.90
SUBTASK 72-41-20-220-147 Reference Fits and Clearances of the HP Compressor Rear Cases and Vanes at Location 1169
Refer to Figure.
Reference dimension at location 1170. If required use the data written as a Note in TASK 72-41-21-200-000 (INSPECTION/CHECK-000).
Table 37. Fits and Clearances (all dimensions are in inches) NEW PART
WORN PART
DIMENSIONS
DIMENSIONS
PART IDENT
Size
Clearance
(Non-select)
REJECT IF
MORE THAN
LOCATION 1170
Stage 10 Case Rear Spacer HPC Ring Cases And Related Parts (72-41-21, 03-514)
Location With The Stage 10 Rear Heatshield HPC Ring Cases And Related Parts (72-41-21, 04-450)
Stage 10 Case Rear Spacer Diameter
0.316
0.316
0.001
Stage 10 Rear Heatshield Spacer Hole Bore
0.317
0.003
0.319
Table 38. Fits and Clearances (all dimensions are in millimeters) NEW PART
WORN PART
DIMENSIONS
DIMENSIONS
PART IDENT
Size
Clearance
(Non-select)
REJECT IF
MORE THAN
LOCATION 1170
Stage 10 Case Rear Spacer HPC Ring Cases And Related Parts (72-41-21, 03-514)
Location With The Stage 10 Rear Heatshield HPC Ring Cases And Related Parts (72-41-21, 04-450)
Stage 10 Case Rear Spacer Diameter
8.028
8.04
0.01
Stage 10 Rear Heatshield Spacer Hole Bore
8.05
0.082
8.11
SUBTASK 72-41-20-220-148 Reference Fits and Clearances of the HP Compressor Rear Cases and Vanes at Location 1170
Refer to Figure.
Put the stage 12 rotor path ring HPC Ring Cases And Related Parts (72-41-21, 04-700) rear flange down onto a clean work surface.
Use IAE 1R18297 Assembly tool 1 off to install the new HPC Ring Cases And Related Parts (72-41-21, 04-690) stage 11 rear liner. Make sure the liner touches the stage 12 rotor path ring front flange.
SUBTASK 72-41-20-440-080 Install the Stage 11 Stator Vane Rear Liner
Refer to Figure.
Use the IAE 1R18501 Stop alignment tool 1 off and align the stage 11 stator vane stop in the stage 11 case.
Install a washer HPC Ring Cases And Related Parts (72-41-21, 04-589) and a nut HPC Ring Cases And Related Parts (72-41-21, 04-588) onto the stage 11 stator vane stop.
Install the stage 11 stator vane stops HPC Ring Cases And Related Parts (72-41-21, 04-590) into the stage 11 case HPC Ring Cases And Related Parts (72-41-21, 04-600).
SUBTASK 72-41-20-440-081 Install the Stator Vane Stops in the Stage 11 Case
Refer to Figure.
Remove the eight slave nuts and bolts which attach the stage 11 rotor path ring HPC Ring Cases And Related Parts (72-41-21, 04-550) to the stage 10 case HPC Ring Cases And Related Parts (72-41-21, 04-350).
Put the stage 11 case HPC Ring Cases And Related Parts (72-41-21, 03-800) rear flange down on a clean work surface.
SUBTASK 72-41-20-440-109 Install the Stage 11 Case
Refer to Figure.
Install the 37 dee-headed bolts HPC Assembly (72-41-00, 01-632) from the stage 10 case HPC Ring Cases And Related Parts (72-41-21, 04-350) rear flange. Refer to the detail identified A. Make sure the bolts are correctly located on the stage 10 case rear flange.
Install the 37 nuts HPC Assembly (72-41-00, 01-630) on to the bolts.
Install the flange nuts and bolts.
Install the 10 bolts HPC Assembly (72-41-00, 01-624) from the stage 10 case rear flange. Refer to the detail identified B.
Install the stage 10 rear heatshield HPC Ring Cases And Related Parts (72-41-21, 04-450).
SUBTASK 72-41-20-440-110 Install the Flange Nuts and Bolts and the Stage 10 Rear Heatshield
Refer to Figure.
Install the four stage 11 stop vanes in to the stage 11 rotor path ring HPC Ring Cases And Related Parts (72-41-21, 04-550) at the stage 11 stator vane stops HPC Ring Cases And Related Parts (72-41-21, 04-590). Engage the vanes in the stage 11 rotor path ring. Make sure the stage 11 stator vane stops are engaged in the slots in the stage 11 stop vanes.
Push each of the stage 11 stop vanes forward until the vane platform touches the stage 11 front liner HPC Ring Cases And Related Parts (72-41-21, 04-540).
Install the stage 11 stop vanes HPC Stator Vanes (72-41-22, 06-350).
Install four stage 11 stator vanes HPC Stator Vanes (72-41-22, 06-400).
Install one stage 11 undersize stator vane HPC Stator Vanes (72-41-22, 06-450).
Install five stage 11 stator vanes HPC Stator Vanes (72-41-22, 06-400).
Install one stage 11 stator vane HPC Stator Vanes (72-41-22, 06-448).
Install one stage 11 undersize vane HPC Stator Vanes (72-41-22, 06-450).
Install four stage 11 stator vanes HPC Stator Vanes (72-41-22, 06-400).
Install one stage 11 stator vane HPC Stator Vanes (72-41-22, 06-448).
Install one stage 11 undersize vane HPC Stator Vanes (72-41-22, 06-450).
Install four stage 11 stator vanes HPC Stator Vanes (72-41-22, 06-400).
Install one stage 11 retaining stator vane HPC Stator Vanes (72-41-22, 06-150).
Install the stage 11 stator vanes between the two stage 11 stop vanes adjacent to the 11 o'clock and 2 o'clock positions. Use the subsequent sequence.
Install the stage 11 stator vanes HPC Stator Vanes (72-41-22, 06-150 , HPC Stator Vanes06-400, HPC Stator Vanes06-448 and HPC Stator Vanes06-450) between the stage 11 stop vanes adjacent to the 5 o'clock and 8 o'clock positions. Use the sequence given in steps (3)(a) to (j).
Install the stage 11 stator vanes HPC Stator Vanes (72-41-22, 06-150 , HPC Stator Vanes06-400, HPC Stator Vanes06-448 and HPC Stator Vanes06-450) between the stage 11 stop vanes adjacent to the 8 o'clock and 11 o'clock positions. Use the sequence given in steps 3 (a) to (j).
Install three stage 11 stator vanes HPC Stator Vanes (72-41-22, 06-400).
Install the stage 11 right hand intrascope stator vane HPC Stator Vanes (72-41-22, 06-250).
Install the stage 11 left hand intrascope stator vane HPC Stator Vanes (72-41-22, 06-200).
Install three stage 11 stator vanes HPC Stator Vanes (72-41-22, 06-400).
Install one stage 11 undersize stator vane HPC Stator Vanes (72-41-22, 06-450).
Install three stage 11 stator vanes HPC Stator Vanes (72-41-22, 06-400).
Install one stage 11 stator vanes HPC Stator Vanes (72-41-22, 06-448).
Install one stage 11 undersize vane HPC Stator Vanes (72-41-22, 06-450).
Intall three stage 11 stator vanes HPC Stator Vanes (72-41-22, 06-400).
Install one stage 11 stator vanes HPC Stator Vanes (72-41-22, 06-448).
Install one stage 11 undersize vane HPC Stator Vanes (72-41-22, 06-450).
Install three stage 11 stator vanes HPC Stator Vanes (72-41-22, 06-400).
Install one stage 11 retaining stator vane HPC Stator Vanes (72-41-22, 06-150).
Install the stage 11 stator vanes between the two stage 11 stop vanes adjacent to the 2 o'clock and 5 o'clock positions. Use the subsequent sequence.
Install IAE 1R18213 Alignment checking pin 1 off through the stage 11 case borescope access hole. Make sure the alignment checking pin easily goes into the intrascope vanes hole.
Install the stage 11 stator vanes.
SUBTASK 72-41-20-440-082 Install the Stage 11 Stator Vanes
Refer to Figure.
Install the heating blanket onto the stage 11 case HPC Ring Cases And Related Parts (72-41-21, 04-600).

WARNING
YOU MUST PUT ON THE CORRECT PROTECTIVE GLOVES BEFORE YOU TOUCH THE STAGE 11 CASE.Lift the stage 12 rotor path ring HPC Ring Cases And Related Parts (72-41-21, 04-700) onto the stage 11 case. Align the location dowel hole in the stage 12 rotor path ring with the location dowel in the stage 11 case.
Measure and make a record of the clearance at location 1143. The clearance must be 0.0129 to 0.0286in. (0.327 to 0.727 mm). Refer to Figure.
SUBTASK 72-41-20-440-083 Install the Stage 12 Rotor Path Ring
Refer to Figure.
SUBTASK 72-41-20-440-084 Measure the Interplatform Clearances
NOTE
To get the specified interplatform clearance at the four stage 11 stop vanes HPC Stator Vanes (72-41-22, 06-350) use the stage 11 undersize vanesHPC Stator Vanes (72-41-22, 06-450).A maximum of five undersize vanes can be used between the two adjacent stop vanes. These must be set at equal distances between the stop vanes.Refer to Figure.
Remove the eight slave nuts and bolts which attach the stage 12 rotor path ring HPC Ring Cases And Related Parts (72-41-21, 04-700) to the stage 11 case HPC Ring Cases And Related Parts (72-41-21, 04-600).
Use IAE 1R18827 Extractor 3 off to remove the stage 12 rotor path ring.
Remove the stage 12 rotor path ring. Figure.

CAUTION
UNDERSIZE VANES MUST NOT BE INSTALLED ADJACENT TO THE STOP VANES, THE RETAINING VANES, THE INTRASCOPE VANES OR OTHER UNDERSIZE VANES.
CAUTION
UNDERSIZE VANES MUST NOT BE INSTALLED BETWEEN THE STAGE 11 INTRASCOPE VANES AND THE STAGE 11 STOP VANE ADJACENT TO THE 6 O'CLOCK POSITION.Remove the stage 11 stator vanes HPC Stator Vanes (72-41-22, 06-448) and install the stage 11 undersize vanes as necessary. One stage 11 undersize vane will give an increase or decrease in the interplatform clearance of 0.016 in. (0.40 mm).
SUBTASK 72-41-20-440-085 Install the Stage 11 Undersize Vanes
Refer to Figure.
Remove the stage 12 rotor path ring as given in Step.
Locate the stage 11 heatshield between the stage 10 rear heatshield HPC Ring Cases And Related Parts (72-41-21, 04-450) and the stage 11 case HPC Ring Cases And Related Parts (72-41-21, 04-600).
Install the stage 11 heatshield HPC Ring Cases And Related Parts (72-41-21, 04-520).
Install the stage 12 rotor path ring HPC Ring Cases And Related Parts (72-41-21, 04-700) as given in Step.
Measure and write down a record of the interplatform clearances at the four stage 11 stop vanes as given in Step.
SUBTASK 72-41-20-440-111 Install the Stage 11 Heatshield and the Stage 12 Rotor Path Ring
Refer to: Figure
Locate the sealing ring HPC Ring Cases And Related Parts (72-41-21, 04-745) on the stage 12 rotor path ring HPC Ring Cases And Related Parts (72-41-21, 04-700).
Install the cross key location ring HPC Ring Cases And Related Parts (72-41-21, 04-750).
Install the 47 bolts HPC Assembly (72-41-00, 01-644) through the heatshields and stage 12 rotor path ring. Lightly tighten the bolts.
Install the stage 12 LH and RH rotor path heatshields HPC Ring Cases And Related Parts (72-41-21, 04-800 and HPC Ring Cases And Related Parts04-820). Figure.
SUBTASK 72-41-20-440-112 Install the Sealing Ring, the Cross Key Location Ring and the Stage 12 Rotor Path Ring Heatshields
Figure: View through the HP compressor rear cases and vanes
View through the HP compressor rear cases and vanes

Figure: The locations for the fits and clearances
Sheet 1

Figure: The locations for the fits and clearances
Sheet 2

Figure: Install the stage 11 stator vane rear liner
Sheet 3

Figure: Install the stage 11 stator vane rear liner
Sheet 2

Figure: Install the stage 11 stator vane stops
Install the stage 11 stator vane stops

Figure: Install the stage 10 rear heatshield
Install the stage 10 rear heatshield

Figure: Install the stage 11 stator vanes
Sheet 1

Figure: Install the stage 11 stator vanes
Sheet 2

Figure: Install the stage 11 stator vanes
Sheet 3

Figure: Measure the stator vane interplatform clearances
Measure the stator vane interplatform clearances

Figure: Remove the stage 12 rotor path ring
Remove the stage 12 rotor path ring

Figure: Install the stage 12 rotor path heatshields
Install the stage 12 rotor path heatshields

