Export Control
EAR Export Classification: Not subject to the EAR per 15 C.F.R. Chapter 1, Part 734.3(b)(3), except for the following Service Bulletins which are currently published as EAR Export Classification 9E991: SBE70-0992, SBE72-0483, SBE72-0580, SBE72-0588, SBE72-0640, SBE73-0209, SBE80-0024 and SBE80-0025.Copyright
© IAE International Aero Engines AG (2001, 2014 - 2021) The information contained in this document is the property of © IAE International Aero Engines AG and may not be copied or used for any purpose other than that for which it is supplied without the express written authority of © IAE International Aero Engines AG. (This does not preclude use by engine and aircraft operators for normal instructional, maintenance or overhaul purposes.).Applicability
All
Common Information
TASK 72-41-20-440-002-A00 HPC Rear Cases And Vanes Assembly - Assemble The HPC Stage 8 Stator Vanes To The Cases, Assembly-002
General
Fig/item numbers in parentheses in the procedure agree with those used in the IPC. Only the primary Fig/item numbers are used. For the service bulletin alpha variants refer to the IPC.
For all parts identified in a different Chapter/Section/Subject, the applicable Chapter/Section/Subject comes before the Fig/item number.
For standard torque data and procedures refer to TASK 70-41-00-400-501 , TASK 70-41-01-400-501 and TASK 70-41-02-410-501
Special torque data and assembly tolerances are included in the procedure.
Lubricate all threads and abutment faces of nuts and bolts with CoMat 10-077 APPROVED ENGINE OILS unless other lubricants are referred to in the procedure.
After assembly apply CoMat 07-038 AIR DRYING ENAMEL to any damaged surface protection, joint flanges and parts used to attach. Use the correct color of the air drying enamel. Refer to TASK 70-63-02-380-501.
The number for each radial location must be identified in a clockwise direction. These start at the engine top position when you look from the rear of the engine, unless stated differently in the procedure.
Refer to Figurefor a sectional view of the HP compressor rear cases and vanes.
Make sure all the flange faces and tool faces that touch are very clean.
The Fits and Clearances, NEW PART DIMENSIONS and REJECT IF MORE THAN columns will be used by most operators. This permits the full use of the maximum wear allowance and a reduction in the number of parts which are rejected, is possible.
The column WORN PART DIMENSION (Non-select) is included for operators who want to have full interchangeability. If this column is used an increase in the number of parts which are rejected is possible.
After the part has been in service for some time the REJECT IF MORE THAN and WORN PART DIMENSIONS could be changed. The operator must tell IAE and if agreed the manual will be changed.
The abbreviation Intf shows an interference or tight fit. This causes REJECT IF MORE THAN to become REJECT IF LESS THAN.
The abbreviation clear shows a clearance fit.
This TASK gives the procedure to assemble the HP compressor stage 8 cases, the vanes, the liners and the stator vane stops. The subsequent TASK give the procedures to assembly the remaining HP compressor rear cases and vanes.
Assemble the HP Compressor Stage 7 Cases and Stator Vanes by TASK 72-41-20-440-001-A00 (ASSEMBLY-001).
Assemble the HP Compressor Stage 9 Stator Vanes by TASK 72-41-20-440-003-A00 (ASSEMBLY-003).
Assemble the HP Compressor Stage 10 Stator Vanes by TASK 72-41-20-440-004-A00 (ASSEMBLY-004).
Assembly the HP Compressor Stage 11 Stator Vanes by TASK 72-41-20-440-005-A00 (ASSEMBLY-005).
Machine the Stator Vane Tips and the Rotor Path Ring Liners by TASK 72-41-20-440-006-A01 (ASSEMBLY-006).
Disassemble the HP Compressor Rear Cases and Vanes by TASK 72-41-20-440-007-A01 (ASSEMBLY-007).
NOTE
NOTE
Preliminary Requirements
Pre-Conditions
NONESupport Equipment
| Name | Manufacturer | Part Number / Identification | Quantity | Remark |
|---|---|---|---|---|
| Heating blanket | LOCAL | Heating blanket | ||
| Protective Gloves | LOCAL | Protective gloves | ||
| IAE 1R18213 Alignment checking pin | 0AM53 | IAE 1R18213 | 1 | |
| IAE 1R18240 Extractor | 0AM53 | IAE 1R18240 | 1 | |
| IAE 1R18297 Assembly tool | 0AM53 | IAE 1R18297 | 1 | |
| IAE 1R18298 Installation drift | 0AM53 | IAE 1R18298 | 1 | |
| IAE 1R18501 Stop alignment tool | 0AM53 | IAE 1R18501 | 1 |
Consumables, Materials and Expendables
| Name | Manufacturer | Part Number / Identification | Quantity | Remark |
|---|---|---|---|---|
| CoMat 07-038 AIR DRYING ENAMEL | k3504 | CoMat 07-038 | ||
| CoMat 10-077 APPROVED ENGINE OILS | LOCAL | CoMat 10-077 |
Spares
| Name | Manufacturer | Part Number / Identification | Quantity | Remark |
|---|---|---|---|---|
| Stage 8 rear liner | 1 | |||
| Stage 9 front liner | 1 |
Safety Requirements
NONEProcedure
Refer to Figure.
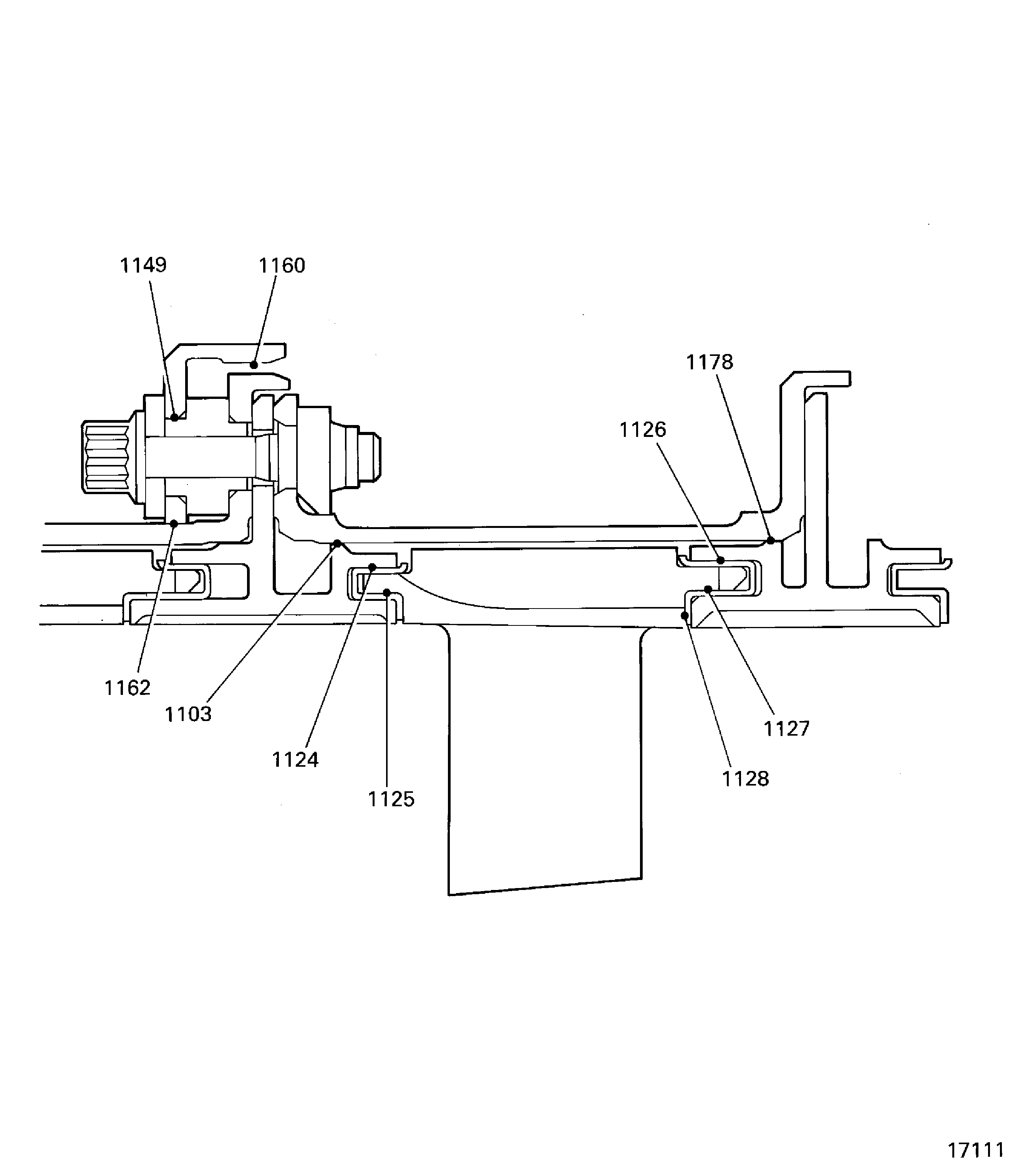
Reference dimensions at location 1124. If required use the data written as a Note in TASK 72-41-21-200-000 (INSPECTION-000).
Table 1. Fits and Clearances (all dimensions are in inches) NEW PART
WORN PART
DIMENSIONS
DIMENSIONS
PART IDENT
Size
Clearance
Non-select
REJECT IF
MORE THAN
LOCATION 1124
Stage 8 Front Liner ENGINE-HP COMPRESSOR RING CASES (72-41-21, 03-590)
Location In The Stage 8 Rotor Path Ring HPC Ring Cases And Related Parts (72-41-21, 03-600)
Stage 8 Front Liner Outer Diameter
0.1122
0.1154
0.0000
Stage 8 Rotor Path Ring Inner (Liner) Diameter
0.1154
0.0051
0.1173
Table 2. Fits and Clearances (all dimensions are in millimeters) NEW PART
WORN PART
DIMENSIONS
DIMENSIONS
PART IDENT
Size
Clearance
Non-select
REJECT IF
MORE THAN
LOCATION 1124
Stage 8 Front Liner ENGINE-HP COMPRESSOR RING CASES (72-41-21, 03-590)
Location In The Stage 8 Rotor Path Ring HPC Ring Cases And Related Parts (72-41-21, 03-600)
Stage 8 Front Liner Outer Diameter
2.85
2.93
0.00
Stage 8 Rotor Path Ring Inner (Liner) Diameter
2.93
0.13
2.98
SUBTASK 72-41-20-220-065 Reference Fits and Clearances of the HP Compressor Rear Cases and Vanes at Location 1124
Refer to Figure.
Reference dimensions at location 1126. If required use the data written as a Note in TASK 72-41-21-200-000 (INSPECTION-000).
Table 3. Fits and Clearances (all dimensions are in inches) NEW PART
WORN PART
DIMENSIONS
DIMENSIONS
PART IDENT
Size
Clearance
Non-select
REJECT IF
MORE THAN
LOCATION 1126
Stage 8 Rear Liner ENGINE-HP COMPRESSOR RING CASES (72-41-21, 03-730)
Location In The Stage 9 Rotor Path Ring HPC Ring Cases And Related Parts (72-41-21, 03-750)
Stage 8 Rear Liner Outer Diameter
0.132
0.135
0.0000
Stage 9 Rotor Path Ring Inner (Liner) Diameter
0.135
0.006
0.138
Table 4. Fits and Clearances (all dimensions are in millimeters) NEW PART
WORN PART
DIMENSIONS
DIMENSIONS
PART IDENT
Size
Clearance
Non-select
REJECT IF
MORE THAN
LOCATION 1126
Stage 8 Rear Liner ENGINE-HP COMPRESSOR RING CASES (72-41-21, 03-730)
Location In The Stage 9 Rotor Path Ring HPC Ring Cases And Related Parts (72-41-21, 03-750)
Stage 8 Rear Liner Outer Diameter
3.35
3.43
0.00
Stage 9 Rotor Path Ring Inner (Liner) Diameter
3.43
0.16
3.51
SUBTASK 72-41-20-220-066 Reference Fits and Clearances of the HP Compressor Rear Cases and Vanes at Location 1126
Refer to Figure.
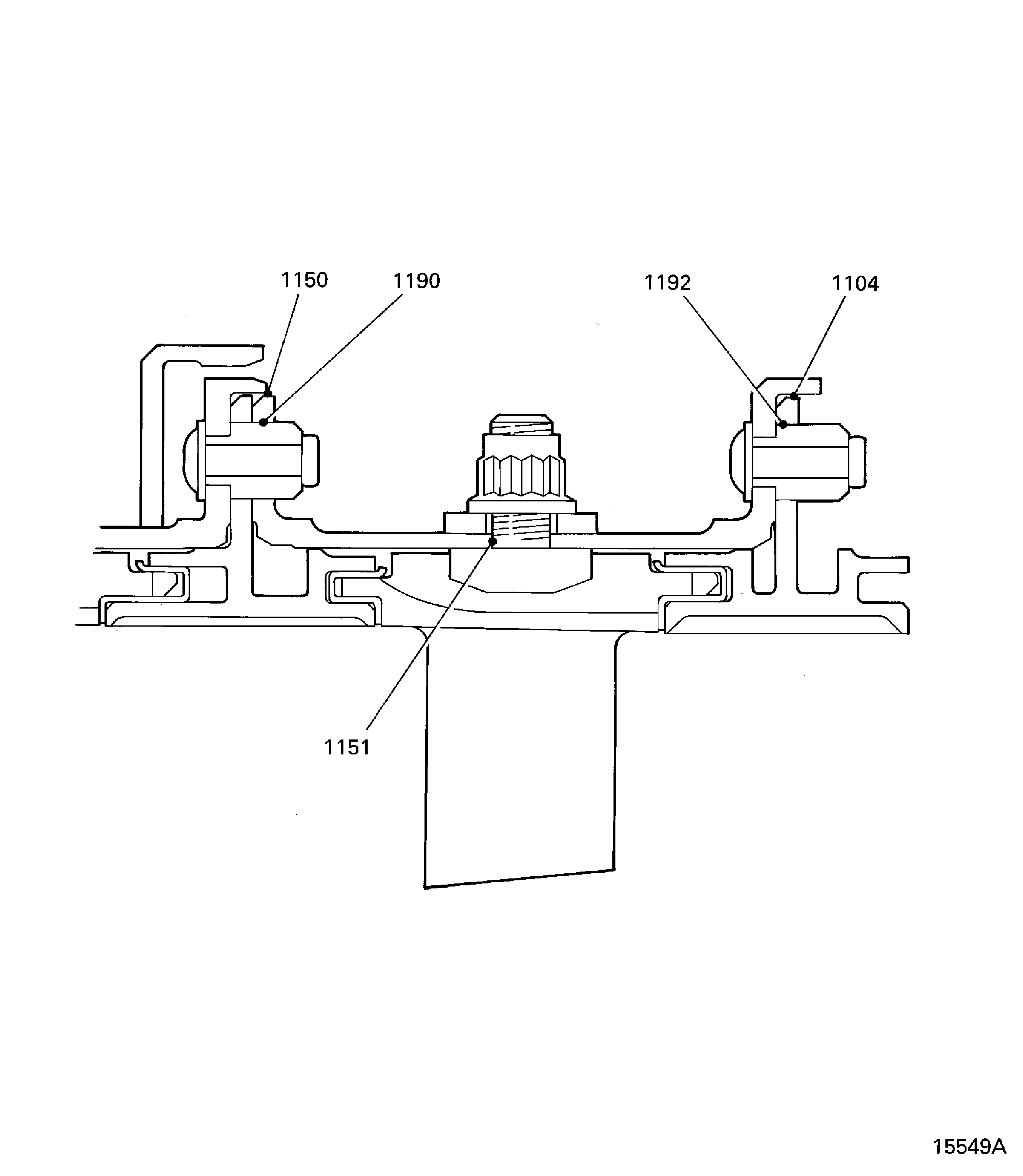
Reference dimensions at location 1151. If required use the data written as a Note in TASK 72-41-21-200-000 (INSPECTION-000).
Table 5. Fits and Clearances (all dimensions are in inches) NEW PART
WORN PART
DIMENSIONS
DIMENSIONS
PART IDENT
Size
Clearance
Non-select
REJECT IF
MORE THAN
LOCATION 1151
Stage 8 Stator Vane Stop HPC Ring Cases And Related Parts (72-41-21, 03-640)
Locations In The Stage 8 Case HPC Ring Cases And Related Parts (72-41-21, 03-650)
Stage 8 Stator Vane Stop Shank Diameter
0.2474
0.2494
0.0010
Stage 8 Case Stop Location Bore
0.2504
0.0061
0.2535
Table 6. Fits and Clearances (all dimensions are in millimeters) NEW PART
WORN PART
DIMENSIONS
DIMENSIONS
PART IDENT
Size
Clearance
Non-select
REJECT IF
MORE THAN
LOCATION 1151
Stage 8 Stator Vane Stop HPC Ring Cases And Related Parts (72-41-21, 03-640)
Locations In The Stage 8 Case HPC Ring Cases And Related Parts (72-41-21, 03-650)
Stage 8 Stator Vane Stop Shank Diameter
6.285
6.335
0.025
Stage 8 Case Stop Location Bore
6.360
0.155
6.440
SUBTASK 72-41-20-220-067 Reference Fits and Clearances of the HP Compressor Rear Cases and Vanes at Location 1151
Refer to Figure.
Reference dimensions at location 1125. If required use the data written as a Note in TASK 72-41-22-200-000 (INSPECTION-000) and TASK 72-41-21-200-000 (INSPECTION-000).
Table 7. Fits and Clearances (all dimensions are in inches) NEW PART
WORN PART
DIMENSIONS
DIMENSIONS
PART IDENT
Size
Clearance
Non-select
REJECT IF
MORE THAN
LOCATION 1125
Stage 8 Front Liner HPC Ring Cases And Related Parts (72-41-21, 03-590), Location With The Stage 8 Stator Vanes
Stage 8 Front Liner Inner Width
0.081
0.088
0.012
Stage 8 Stator Vane Front Platform Thickness
0.076
0.002
0.079
Table 8. Fits and Clearances (all dimensions are in millimeters) NEW PART
WORN PART
DIMENSIONS
DIMENSIONS
PART IDENT
Size
Clearance
Non-select
REJECT IF
MORE THAN
LOCATION 1125
Stage 8 Front Liner HPC Ring Cases And Related Parts (72-41-21, 03-590), Location With The Stage 8 Stator Vanes
Stage 8 Fron Liner Inner Width
2.05
2.23
0.31
Stage 8 Stator Vane Front Platform Thickness
1.92
0.05
2.00
SUBTASK 72-41-20-220-068 Reference Fits and Clearances of the HP Compressor Rear Cases and Vanes at Location 1125
Refer to Figure.
Reference dimensions at location 1127. If required use the data written as a Note in TASK 72-41-22-200-000 (INSPECTION-000) and TASK 72-41-21-200-000 (INSPECTION-000).
Table 9. Fits and Clearances (all dimensions are in inches) NEW PART
WORN PART
DIMENSIONS
DIMENSIONS
PART IDENT
Size
Clearance
Non-select
REJECT IF
MORE THAN
LOCATION 1127
Stage 8 Rear Liner HPC Ring Cases And Related Parts (72-41-21, 03-730) Location With The Stage 8 Stator Vanes
Stage 8 Rear Liner Inner Width
0.1004
0.1075
0.0020
Stage 8 Stator Vane Rear Platform Thickness
0.0952
0.0123
0.6984
Table 10. Fits and Clearances (all dimensions are in millimeters) NEW PART
WORN PART
DIMENSIONS
DIMENSIONS
PART IDENT
Size
Clearance
Non-select
REJECT IF
MORE THAN
LOCATION 1127
Stage 8 Rear Liner HPC Ring Cases And Related Parts (72-41-21, 03-730) Location With The Stage 8 Stator Vanes
Stage 8 Rear Liner Inner Width
2.55
2.73
0.05
Stage 8 Stator Vane Rear Platform Thickness
2.42
0.31
2.50
SUBTASK 72-41-20-220-069 Reference Fits and Clearances of the HP Compressor Rear Cases and Vanes at Location 1127
Refer to Figure.
Reference dimensions at location 1128. If required use the data written as a Note in TASK 72-41-22-200-000 (INSPECTION-000) and TASK 72-41-21-200-000 (INSPECTION-000).
Table 11. Fits and Clearances (all dimensions are in inches) NEW PART
WORN PART
DIMENSIONS
DIMENSIONS
PART IDENT
Size
Clearance
Non-select
REJECT IF
MORE THAN
LOCATION 1128
Stage 8 Rear Liner HPC Ring Cases And Related Parts (72-41-21, 03-730), Axial Clearance With The Stage 8 Stator Vanes
Stage 8 Rear Liner Front Face Dimension
2.1137
2.1256
0.0013
Stage 8 Stator Vane Platform Rear Face Dimension
2.1386
0.0288
2.1425
Table 12. Fits and Clearances (all dimensions are in millimeters) NEW PART
WORN PART
DIMENSIONS
DIMENSIONS
PART IDENT
Size
Clearance
Non-select
REJECT IF
MORE THAN
LOCATION 1128
Stage 8 Rear Liner HPC Ring Cases And Related Parts (72-41-21, 03-730), Axial Clearance With The Stage 8 Stator Vanes
Stage 8 Rear Liner Front Face Dimension
53.689
53.989
0.331
Stage 8 Stator Vane Platform Rear Face Dimensions
54.320
0.731
54.420
SUBTASK 72-41-20-220-070 Reference Fits and Clearances of the HP Compressor Rear Cases and Vanes at Location 1128
Refer to Figure.
Reference dimensions at location 1104. If required use the data written as a Note in TASK 72-41-21-200-000 (INSPECTION-000).
Table 13. Fits and Clearances (all dimensions are in inches) NEW PART
WORN PART
DIMENSIONS
DIMENSIONS
PART IDENT
Size
Clearance
Non-select
REJECT IF
MORE THAN
LOCATION 1104
Stage 9 Rotor Path Ring HPC Ring Cases And Related Parts (72-41-21, 03-750)
Location In The Stage 8 Case HPC Ring Cases And Related Parts (72-41-21, 03-650)
Stage 9 Rotor Path Ring Outer Diameter
22.3582
22.3661
0.0177
Stage 8 Case Rear Flange Inner Bore
22.3838
0.0335
22.3917
Table 14. Fits and Clearances (all dimensions are in millimeters) NEW PART
WORN PART
DIMENSIONS
DIMENSIONS
PART IDENT
Size
Clearance
Non-select
REJECT IF
MORE THAN
LOCATION 1104
Stage 9 Rotor Path Ring HPC Ring Cases And Related Parts (72-41-21, 03-750)
Location In The Stage 8 Case HPC Ring Cases And Related Parts (72-41-21, 03-650)
Stage 9 Rotor Path Ring Outer Diameter
567.90
568.10
0.4495
Stage 8 Case Rear Flange Inner Bore
568.55
0.8509
568.75
SUBTASK 72-41-20-220-071 Reference Fits and Clearances of the HP Compressor Rear Cases and Vanes at Location 1104
Refer to Figure.
Reference dimensions at location 1190. If required use the data written as a Note in TASK 72-41-21-200-000 (INSPECTION-000).
Table 15. Fits and Clearances (all dimensions in inches) NEW PART
WORN PART
DIMENSIONS
DIMENSIONS
PART IDENT
Size
Clearance
Non-select
REJECT IF
MORE THAN
LOCATION 1190
Stage 8 Case HPC Ring Cases And Related Parts (72-41-21, 03-650)
Location With The Stage 7 Case Location Dowel HPC Ring Cases And Related Parts (72-41-21, 03-525)
Stage 8 Case Location Hole Bore
0.315
0.316
0.010
Stage 7 Case Location Dowel Diameter
0.303
0.013
0.305
Table 16. Fits and Clearances (all dimensions in millimetres) NEW PART
WORN PART
DIMENSIONS
DIMENSIONS
PART IDENT
Size
Clearance
Non-select
REJECT IF
MORE THAN
LOCATION 1190
Stage 8 Case HPC Ring Cases And Related Parts (72-41-21, 03-650)
Location With The Stage 7 Case Location Dowel HPC Ring Cases And Related Parts (72-41-21, 03-525)
Stage 8 Case Location Hole Bore
8.000
8.022
0.250
Stage 7 Case Location Dowel Diameter
7.700
0.322
7.750
SUBTASK 72-41-20-220-114 Reference Fits and Clearances of the HP Compressor Rear Cases and Vanes at Location 1190
Refer to Figure.
Reference dimensions at location 1103. If required use the data written as a Note in TASK 72-41-21-200-000 (INSPECTION-000).
Table 17. Fits and Clearances (all dimensions in inches) NEW PART
WORN PART
DIMENSIONS
DIMENSIONS
PART IDENT
Size
Clearance
Non-select
REJECT IF
MORE THAN
LOCATION 1103
Stage 8 Rotor Path Ring HPC Ring Cases And Related Parts (72-41-21, 03-600)
Location With The Stage 8 Case HPC Ring Cases And Related Parts (72-41-21, 03-650)
Stage 8 Rotor Path Ring Rear Flange Outer Diameter
21.158
Intf
21.161
0.012
Stage 8 Case Front Inner Bore
21.149
0.004
21.154
Table 18. Fits and Clearances (all dimensions in millimetres) NEW PART
WORN PART
DIMENSIONS
DIMENSIONS
PART IDENT
Size
Clearance
Non-select
REJECT IF
MORE THAN
LOCATION 1103
Stage 8 Rotor Path Ring HPC Ring Cases And Related Parts (72-41-21, 03-600)
Location With The Stage 8 Case HPC Ring Cases And Related Parts (72-41-21, 03-650)
Stage 8 Rotor Path Ring Rear Flange outer diameter
537.40
Intf
537.48
0.28
Stage 8 Case Front Inner Bore
537.20
0.08
537.32
SUBTASK 72-41-20-220-115 Reference Fits and Clearances of the HP Compressor Rear Cases and Vanes at Location 1103
Refer to Figure.
Reference dimensions at location 1150. If required use the data written as a Note in TASK 72-41-21-200-000 (INSPECTION-000).
Table 19. Fits and Clearances (all dimensions in inches) NEW PART
WORN PART
DIMENSIONS
DIMENSIONS
PART IDENT
Size
Clearance
Non-select
REJECT IF
MORE THAN
LOCATION 1150
Stage 7 Case HPC Ring Cases And Related Parts (72-41-21, 03-500)
Location With The Stage 8 Case HPC Ring Cases And Related Parts (72-41-21, 03-650)
Stage 7 Case Rear Flange Inner Bore
22.383
22.391
0.017
Stage 8 Case Front Flange Outer Diameter
22.358
0.033
22.366
Table 20. Fits and Clearances (all dimensions in millimetres) NEW PART
WORN PART
DIMENSIONS
DIMENSIONS
PART IDENT
Size
Clearance
Non-select
REJECT IF
MORE THAN
LOCATION 1150
Stage 7 Case HPC Ring Cases And Related Parts (72-41-21, 03-500)
Location With The Stage 8 Case HPC Ring Cases And Related Parts (72-41-21, 03-650)
Stage 7 Case Rear Flange Inner Bore
568.55
568.75
0.45
Stage 8 Case Front Flange Outer Diameter
567.90
0.85
568.10
SUBTASK 72-41-20-220-116 Reference Fits and Clearances of the HP Compressor Rear Cases and Vanes at Location 1150
Refer to Figure.
Reference dimensions at location 1192. If required use the data written as a Note in TASK 72-41-21-200-000 (INSPECTION-000).
Table 21. Fits and Clearances (all dimensions in inches) NEW PART
WORN PART
DIMENSIONS
DIMENSIONS
PART IDENT
Size
Clearance
Non-select
REJECT IF
MORE THAN
LOCATION 1192
Stage 9 Rotor Path Ring HPC Ring Cases And Related Parts (72-41-21, 03-730)
Location With The Stage 8 Case Location Dowel HPC Ring Cases And Related Parts (72-41-21, 03-675)
Stage 9 Rotor Path Ring Location Hole Bore
0.315
0.329
0.010
Stage 8 Case Location Dowel Outer Diameter
0.303
0.026
0.305
Table 22. Fits and Clearances (all dimensions in millimetres) NEW PART
WORN PART
DIMENSIONS
DIMENSIONS
PART IDENT
Size
Clearance
Non-select
REJECT IF
MORE THAN
LOCATION 1192
Stage 9 Rotor Path Ring HPC Ring Cases And Related Parts (72-41-21, 03-730)
Location With The Stage 8 Case Location Dowel HPC Ring Cases And Related Parts (72-41-21, 03-675)
Stage 9 Rotor Path Ring Location Hole Bore
8.00
8.36
0.25
Stage 8 Case Location Dowel Outer Diameter
7.70
0.66
7.75
SUBTASK 72-41-20-220-117 Reference Fits and Clearances of the HP Compressor Rear Cases and Vanes at Location 1192
Refer to Figure.
Reference dimensions at location 1178. If required use the data written as a Note in TASK 72-41-21-200-000 (INSPECTION-000).
Table 23. Fits and Clearances (all dimensions in inches) NEW PART
WORN PART
DIMENSIONS
DIMENSIONS
PART IDENT
Size
Clearance
Non-select
REJECT IF
MORE THAN
LOCATION 1178
Stage 8 Case HPC Ring Cases And Related Parts (72-41-21, 03-650)
Location With The Stage 9 Rotor Path Ring HPC Ring Cases And Related Parts (72-41-21, 03-750)
Stage 8 Case Rear Inner Bore
21.150
Intf
21.154
0.003
Stage 9 Rotor Path Ring Front Flange Outer Diameter
21.157
0.011
21.161
Table 24. Fits and Clearances (all dimensions in millimetres) NEW PART
WORN PART
DIMENSIONS
DIMENSIONS
PART IDENT
Size
Clearance
Non-select
REJECT IF
MORE THAN
LOCATION 1178
Stage 8 Case HPC Ring Cases And Related Parts (72-41-21, 03-650)
Location With The Stage 9 Rotor Path Ring HPC Ring Cases And Related Parts (72-41-21, 03-750)
Stage 8 Case Rear Inner Bore
537.2
Intf
537.32
0.06
Stage 9 Rotor Path Ring Front Flange Outer Diameter
537.38
0.3
537.50
SUBTASK 72-41-20-220-118 Reference Fits and Clearances of the HP Compressor Rear Cases and Vanes at Location 1178
Refer to Figure.
Reference dimensions at location 1149. If required use the data written as a Note in TASK 72-41-21-200-000 (INSPECTION-000).
Table 25. Fits and Clearances (all dimensions in inches) NEW PART
WORN PART
DIMENSIONS
DIMENSIONS
PART IDENT
Size
Clearance
Non-select
REJECT IF
MORE THAN
LOCATION 1149
Stage 7 Case Rear Flange Spacer HPC Ring Cases And Related Parts (72-41-21, 03-514)
Location In The Stage 7 Rear Heatshield HPC Ring Cases And Related Parts (72-41-21, 03-880)
Spacer Front Outer Diameter
0.3161
0.3164
0.0005
Stage 7 Rear Heatshield Location Hole Bore
0.3169
0.003
0.3192
Table 26. Fits and Clearances (all dimensions in millimetres) NEW PART
WORN PART
DIMENSIONS
DIMENSIONS
PART IDENT
Size
Clearance
Non-select
REJECT IF
MORE THAN
LOCATION 1149
Stage 7 Case Rear Flange Spacer HPC Ring Cases And Related Parts (72-41-21, 03-514)
Location In The Stage 7 Rear Heatshield HPC Ring Cases And Related Parts (72-41-21, 03-880)
Spacer Front Outer Diameter
8.028
8.037
0.013
Stage 7 Rear Heatshield Location Hole Bore
8.050
0.08
8.108
SUBTASK 72-41-20-220-119 Reference Fits and Clearances of the HP Compressor Rear Cases and Vanes at Location 1149
Refer to Figure.
Reference dimensions at location 1162. If required use the data written as a Note in TASK 72-41-21-200-000 (INSPECTION-000).
Table 27. Fits and Clearances (all dimensions in inches) NEW PART
WORN PART
DIMENSIONS
DIMENSIONS
PART IDENT
Size
Clearance
Non-select
REJECT IF
MORE THAN
LOCATION 1162
Stage 7 Rear Heatshield HPC Ring Cases And Related Parts (72-41-21, 03-880)
Location With The Stage 7 Case HPC Ring Cases And Related Parts (72-41-21, 03-500)
Stage 7 Rear Heatshield Inner Bore
21.323
21.335
0.026
Stage 7 Case Outer Diameter
21.309
0.002
21.321
Table 28. Fits and Clearances (all dimensions in millimetres) NEW PART
WORN PART
DIMENSIONS
DIMENSIONS
PART IDENT
Size
Clearance
Non-select
REJECT IF
MORE THAN
LOCATION 1162
Stage 7 Rear Heatshield HPC Ring Cases And Related Parts (72-41-21, 03-880)
Location With The Stage 7 Case HPC Ring Cases And Related Parts (72-41-21, 03-500)
Stage 7 Rear Heatshield Inner Bore
541.60
541.90
0.65
Stage 7 Case Outer Diameter
541.25
0.05
541.55
SUBTASK 72-41-20-220-120 Reference Fits and Clearances of the HP Compressor Rear Cases and Vanes at Location 1162
Refer to Figure.
Use IAE 1R18297 Assembly tool 1 off to install the stage 8 rear liner. Make sure the liner touches the stage 9 rotor path ring front flange.
Install the new HPC Ring Cases And Related Parts (72-41-21, 03-730) stage 8 rear liner 1 off, into the slot in the front of the stage 9 rotor path ring HPC Ring Cases And Related Parts (72-41-21, 03-750).
Use IAE 1R18298 Installation drift 1 off to install the stage 9 front liner. Make sure the liner touches the stage 9 rotor path ring rear flange.
Install the new HPC Ring Cases And Related Parts (72-41-21, 03-740) stage 9 front liner 1 off, into the slot in the rear of the stage 9 rotor path ring.
SUBTASK 72-41-20-440-059 Install the Stage 8 Stator Vane Rear Liner and the Stage 9 Stator Vane Front Liner
Refer to Figure.
Use the IAE 1R18501 Stop alignment tool 1 off and align the stage 8 stator vane stop in the stage 8 case.
Install a washer HPC Ring Cases And Related Parts (72-41-21, 03-639) and a nut HPC Ring Cases And Related Parts (72-41-21, 03-638) onto the stage 8 stator vane stop.
Install the stage 8 stator vane stops HPC Ring Cases And Related Parts (72-41-21, 03-640) in the stage 8 case HPC Ring Cases And Related Parts (72-41-21, 03-650).
SUBTASK 72-41-20-440-060 Install the Stator Vane Stops in the Stage 8 Case
Refer to Figure.
Remove the eight slave nuts and bolts from the stage 8 rotor path ring HPC Ring Cases And Related Parts (72-41-21, 03-600) to stage 7 case HPC Ring Cases And Related Parts (72-41-21, 03-500) flange.
Put the stage 8 case HPC Ring Cases And Related Parts (72-41-21, 03-650) front flange down onto a clean work surface.
SUBTASK 72-41-20-440-102 Install the Stage 8 Case
Refer to Figure.
Install the four stage 8 stop vanes into the stage 8 rotor path ring HPC Ring Cases And Related Parts (72-41-21, 03-600), at the stage 8 stator vane stops HPC Ring Cases And Related Parts (72-41-21, 03-640). Engage the vanes in the stage 8 front liner HPC Ring Cases And Related Parts (72-41-21, 03-590). Make sure the stage 8 stator vane stops are engaged in the slots in the stage 8 stop vane platforms.
Install the stage 8 stop vanes HPC Stator Vanes (72-41-22, 03-350).
Install three stage 8 stator vanes HPC Stator Vanes (72-41-22, 03-400).
Install one stage 8 undersize stator vane HPC Stator Vanes (72-41-22, 03-450).
Install four stage 8 stator vanes HPC Stator Vanes (72-41-22, 03-400).
Install one stage 8 stator vane HPC Stator Vanes (72-41-22, 03-448).
Install one stage 8 undersize stator vane HPC Stator Vanes (72-41-22, 03-450).
Install six stage 8 stator vanes HPC Stator Vanes (72-41-22, 03-400).
Install one stage 8 stator vane HPC Stator Vanes (72-41-22, 03-448).
Install one stage 8 undersize stator vane HPC Stator Vanes (72-41-22, 03-450).
Install three stage 8 stator vanes HPC Stator Vanes (72-41-22, 03-400).
Install one stage 8 retaining stator vane HPC Stator Vanes (72-41-22, 03-150).
Install the stage 8 stator vanes between the two stage 8 stop vanes at the 12 and 3 o'clock positions. Refer to the detail C on Figure. Use the subsequent sequence.
Install two stage 8 stator vanes HPC Stator Vanes (72-41-22, 03-400).
Install RH and LH stage 8 intrascope vanes HPC Stator Vanes (72-41-22, 03-250 and HPC Stator Vanes03-200).
NOTE
Make sure the boroscope access hole in the stage 8 case and intrascope vanes hole are aligned.Install two stage 8 stator vanes HPC Stator Vanes (72-41-22, 03-400).
Install one stage 8 undersize stator vane HPC Stator Vanes (72-41-22, 03-450).
Install one stage 8 stator vane HPC Stator Vanes (72-41-22, 03-448).
Install four stage 8 stator vanes HPC Stator Vanes (72-41-22, 03-400).
Install one stage 8 undersize stator vane HPC Stator Vanes (72-41-22, 03-450).
Install one stage 8 stator vane HPC Stator Vanes (72-41-22, 03-448).
Install three stage 8 stator vanes HPC Stator Vanes (72-41-22, 03-400).
Install one stage 8 undersize stator vane HPC Stator Vanes (72-41-22, 03-450).
Install three stage 8 stator vanes HPC Stator Vanes (72-41-22, 03-400).
Install one stage 8 retaining stator vane HPC Stator Vanes (72-41-22, 03-150).
Install the stage 8 stator vanes between the two stage 8 stop vanes at the 3 and 6 o'clock positions. Refer to detail D on Figure. Use the subsequent sequence.
Install IAE 1R18213 Alignment checking pin 1 off through the stage 8 case borescope hole. Make sure the alignment checking pin easily goes into the intrascope vanes hole.
Install the stage 8 stator vanes.
SUBTASK 72-41-20-440-061 Install the Stage 8 Stator Vanes
Refer to Figure.
Install the heating blanket on to the stage 8 case HPC Ring Cases And Related Parts (72-41-21, 03-650).
Align the location dowel hole in the stage 9 rotor path ring HPC Ring Cases And Related Parts (72-41-21, 03-750) with the location dowel in the stage 8 case.
Measure and write down a record of the clearance at location 1128. The clearance must be 0.0130 in. to 0.0288 in. (0.331 mm to 0.731 mm). Refer to Figure.
SUBTASK 72-41-20-440-062 Install the Stage 9 Rotor Path Ring
Refer to Figure.
Measure and write down a record of the clearance between the stop vane and the stator vane platforms. Dimension B Figure. This must be 0.060 in. to 0.076 in. (1.53 mm to 1.93 mm).
Measure and write down a record of the interplatform clearances at the stage 8 stop vanes. Measure all four clearances at the same time.
SUBTASK 72-41-20-440-063 Measure the Interplatform Clearances
Remove the eight slave nuts and bolts which attach the stage 9 rotor path ring HPC Ring Cases And Related Parts (72-41-21, 03-750) to the stage 8 case HPC Ring Cases And Related Parts (72-41-21, 03-650).
NOTE
To get the specified interplatform clearance at the four stage 8 stop vanes HPC Stator Vanes (72-41-22, 03-350), use the stage 8 undersize vanes HPC Stator Vanes (72-41-22, 03-450) or stage 8 stator vanes HPC Stator Vanes (72-41-22, 03-448) as necessary.A maximum of five undersize vanes can be used between the two adjacent stop vanes. These must be set at equal distances between the
WARNING
YOU MUST PUT ON THE CORRECT PROTECTIVE GLOVES BEFORE YOU TOUCH THE STAGE 9 ROTOR PATH RING.Install the pins of the IAE 1R18240 Extractor 3 off in the extraction holes in the rear flange of the stage 8 case. Refer to extractor detail on C on Figure.
Remove the stage 9 rotor path ring.

CAUTION
UNDERSIZE VANES MUST NOT BE INSTALLED ADJACENT TO THE STOP VANES, THE RETAINING VANES, THE INTRASCOPE VANES OR OTHER UNDERSIZE VANES.
CAUTION
UNDERSIZE VANES MUST NOT BE INSTALLED BETWEEN THE STAGE 8 INTRASCOPE VANES HPC Stator Vanes (72-41-22, 03-200 AND HPC Stator Vanes03-250) AND THE STAGE 8 STOP VANE AT THE 6 O'CLOCK POSITION.Remove the stage 8 stator vanes HPC Stator Vanes (72-41-22, 03-448) and install the stage 8 vanes as necessary. One stage 8 undersize vane will give an increase or decrease in the interplatform clearance of 0.016in. (0,40mm).
Install the stage 9 rotor path ring as given in Step.
Measure and write a record of the interplatform clearances at the stage 8 stop vanes as given in Step.
SUBTASK 72-41-20-440-064 Install the Stage 8 Undersize Vanesand
Refer to Figure.
Install the 28 flange D-headed bolts HPC Assembly (72-41-00, 01-572) and nuts HPC Assembly (72-41-00, 01-570). Install the bolts from the stage 7 case HPC Ring Cases And Related Parts (72-41-21, 03-500) rear flange at the position A on Figure. Torque the nuts in the correct sequence to 36 lbfin to 45 lbfin (4.00 Nm to 5.00 Nm).
Install the 10 bolts HPC Assembly (72-41-00, 01-564) to attach the stage 7 rear heatshield to the stage 7 case.
Install the stage 7 rear heatshield HPC Ring Cases And Related Parts (72-41-21, 03-880).
Measure and make a record of the clearance at location 1162. This must be 0.004 in. to 0.024 in. (0.10 mm to 0.60 mm). Refer to Figure.
SUBTASK 72-41-20-440-103 Install the Stage 7 Rear Heatshield
Figure: View through the HP compressor rear cases and vanes
View through the HP compressor rear cases and vanes

Figure: The locations for the fits and clearances
sheet 1

Figure: Locations for the fits and clearances
Sheet 2

Figure: Install the stage 8 stator vane front and rear liners
Sheet 1

Figure: Install the stage 8 stator vane front and rear liners
Sheet 2

Figure: Install the stage 8 stator vane stops
Install the stage 8 stator vane stops

Figure: Install the stage 8 stator vanes
Sheet 1

Figure: Install the stage 8 stator vanes
Sheet 2

Figure: Install the stage 8 stator vanes
Sheet 3

Figure: Measure the stator vane interplatform clearances
Measure the stator vane interplatform clearances

Figure: Remove the stage 9 rotor path ring
Remove the stage 9 rotor path ring

Figure: Install the stage 7 rear heatshield
Install the stage 7 rear heatshield

