Export Control
EAR Export Classification: Not subject to the EAR per 15 C.F.R. Chapter 1, Part 734.3(b)(3), except for the following Service Bulletins which are currently published as EAR Export Classification 9E991: SBE70-0992, SBE72-0483, SBE72-0580, SBE72-0588, SBE72-0640, SBE73-0209, SBE80-0024 and SBE80-0025.Copyright
© IAE International Aero Engines AG (2001, 2014 - 2021) The information contained in this document is the property of © IAE International Aero Engines AG and may not be copied or used for any purpose other than that for which it is supplied without the express written authority of © IAE International Aero Engines AG. (This does not preclude use by engine and aircraft operators for normal instructional, maintenance or overhaul purposes.).Applicability
All
Common Information
TASK 72-41-20-440-003-A00 HPC Rear Cases And Vanes Assembly - Assemble The HPC Stage 9 Stator Vanes To The Cases, Assembly-003
General
Fig/item numbers in parentheses in the procedure agree with those used in the IPC. Only the primary Fig/item numbers are used. For the service bulletin alpha variants refer to the IPC.
For all parts identified in a different Chapter/Section/Subject, the applicable Chapter/Section/Subject comes before the Fig/item number.
For standard torque data and procedures refer to the SPM TASK 70-41-00-400-501 and SPM TASK 70-41-01-400-501.
Special torque data and assembly tolerances are included in the procedure.
Lubricate all threads and abutment faces of nuts and bolts with CoMat 10-077 APPROVED ENGINE OILS, unless other lubricants are referred to in the procedure.
After assembly apply CoMat 07-038 AIR DRYING ENAMEL to any damaged surface protection, joint flanges and parts used to attach. Use the correct color of the air drying enamel. Refer to the SPM TASK 70-63-02-380-501.
The number for each radial location must be identified in a clockwise direction. These start at the engine top position when you look from the rear of the engine, unless stated differently in the procedure.
Refer to Figure for a sectional view of the HP Compressor rear cases and vanes.
Make sure all the flange faces and tool faces that touch are very clean.
The Fits and Clearances, NEW PART DIMENSIONS and REJECT IF MORE THAN columns will be used by most operators. This permits the full use of the maximum wear allowance and a reduction in the number of parts which are rejected, is possible.
The column WORN PART DIMENSIONS (Non-select) is included for operators who want to have full interchangeability. If this column is used an increase in the number of parts which are rejected is possible.
After the part has been in service for some time the REJECT IF MORE THAN and WORN PART DIMENSIONS could be changed. The operator must tell IAE and if agreed the manual will be changed.
The abbreviation Intf shows an interference or tight fit. This causes REJECT IF MORE THAN to become REJECT IF LESS THAN.
The abbreviation clear shows a clearance fit.
This TASK gives the procedures to assemble the HP Compressor Stage 9 Cases, vanes, liners and stator vane stops. The subsequent TASKS give the procedures to assemble the remaining HP Compressor rear cases and vanes.
Assemble the HP Compressor Stage 7 Cases and Stator Vanes by TASK 72-41-20-440-001-A00 (ASSEMBLY-001).
Assemble the HP Compressor Stage 8 Stator Vanes by TASK 72-41-20-440-002-A00 (ASSEMBLY-002).
Assemble the HP Compressor Stage 10 Stator Vanes by TASK 72-41-20-440-004-A00 (ASSEMBLY-004).
Assemble the HP Compressor Stage 11 Stator Vanes by TASK 72-41-20-440-005-A00 (ASSEMBLY-005).
Machine the Stator Vane Tips and the Rotor Path Ring Liners by TASK 72-41-20-440-006-A01 (ASSEMBLY-006).
Disassemble the HP Compressor Rear Cases and Vanes by TASK 72-41-20-440-007-A01 (ASSEMBLY-007).
NOTE
NOTE
Preliminary Requirements
Pre-Conditions
NONESupport Equipment
| Name | Manufacturer | Part Number / Identification | Quantity | Remark |
|---|---|---|---|---|
| Heating blanket | LOCAL | Heating blanket | ||
| IAE 1R18213 Alignment checking pin | 0AM53 | IAE 1R18213 | 1 | |
| IAE 1R18240 Extractor | 0AM53 | IAE 1R18240 | 1 | |
| IAE 1R18297 Assembly tool | 0AM53 | IAE 1R18297 | 1 | |
| IAE 1R18298 Installation drift | 0AM53 | IAE 1R18298 | 1 | |
| IAE 1R18501 Stop alignment tool | 0AM53 | IAE 1R18501 | 1 |
Consumables, Materials and Expendables
| Name | Manufacturer | Part Number / Identification | Quantity | Remark |
|---|---|---|---|---|
| CoMat 07-038 AIR DRYING ENAMEL | k3504 | CoMat 07-038 | ||
| CoMat 10-077 APPROVED ENGINE OILS | LOCAL | CoMat 10-077 |
Spares
| Name | Manufacturer | Part Number / Identification | Quantity | Remark |
|---|---|---|---|---|
| Stage 9 rear liner | 1 | |||
| Stage 10 front liner | 1 |
Safety Requirements
NONEProcedure
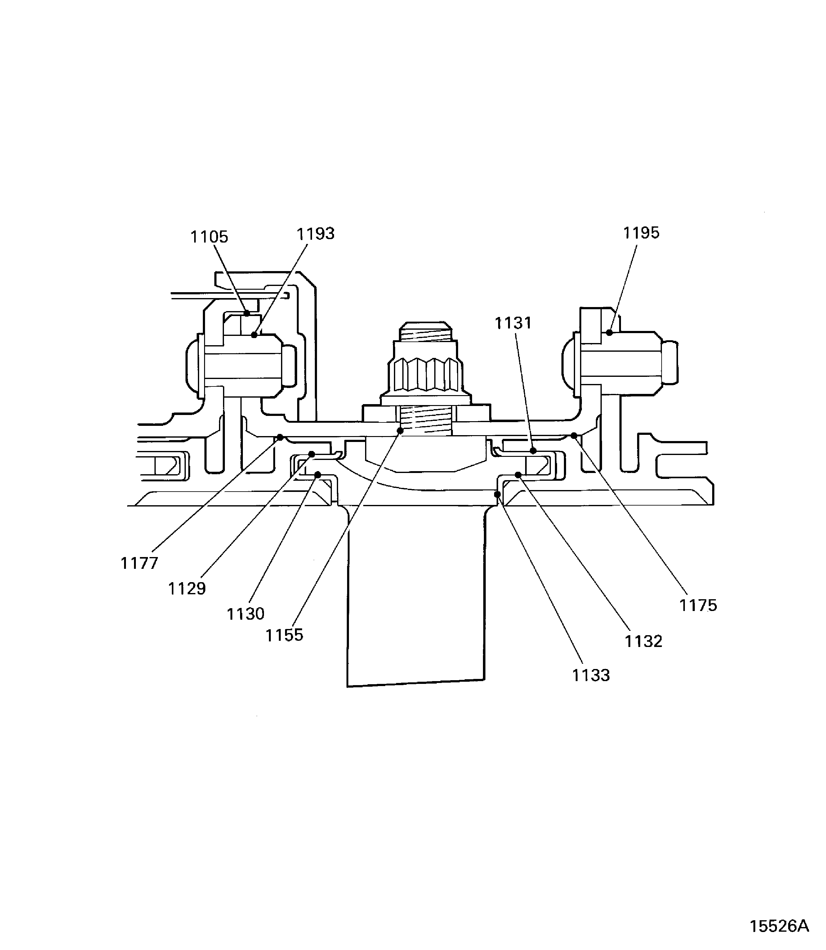
Refer to Figure.
Reference dimensions at location 1129. If required use the data written as a Note in TASK 72-41-21-200-000 (INSPECTION-000).
Table 1. Fits and Clearances (all dimensions are in inches) NEW PART
WORN PART
DIMENSIONS
DIMENSIONS
PART IDENT
Size
Clearance
Non-select
REJECT IF
MORE THAN
LOCATION 1129
Stage 9 Front Liner HPC Ring Cases And Related Parts (72-41-21, 03-740)
Location In The Stage 9 Rotor Path Ring HPC Ring Cases And Related Parts (72-41-21, 03-750)
Stage 9 Front Liner Outer Diameter
0.112
0.115
0.0000
Stage 9 Rotor Path Ring Inner (Liner) Diameter
0.115
0.006
0.118
Table 2. Fits and Clearances (all dimensions are in millimeters) NEW PART
WORN PART
DIMENSIONS
DIMENSIONS
PART IDENT
Size
Clearance
Non-select
REJECT IF
MORE THAN
LOCATION 1129
Stage 9 Front Liner HPC Ring Cases And Related Parts (72-41-21, 03-740)
Location In The Stage 9 Rotor Path Ring HPC Ring Cases And Related Parts (72-41-21, 03-750)
Stage 9 Front Liner Outer Diameter
2.85
2.93
0.00
Stage 9 Rotor Path Ring Inner (Liner) Diameter
2.93
0.14
2.99
SUBTASK 72-41-20-220-075 Reference Fits and Clearances of the HP Compressor Rear Cases and Vanes at Location 1129
Refer to Figure.
Reference dimensions at location 1131. If required use the data written as a Note in TASK 72-41-21-200-000 (INSPECTION-000).
Table 3. Fits and Clearances (all dimensions are in inches) NEW PART
WORN PART
DIMENSIONS
DIMENSIONS
PART IDENT
Size
Clearance
Non-select
REJECT IF
MORE THAN
LOCATION 1131
Stage 9 Rear Liner HPC Ring Cases And Related Parts (72-41-21, 04-280)
Location In The Stage 10 Rotor Path Ring HPC Ring Cases And Related Parts (72-41-21, 04-300)
Stage 9 Rear Liner Outer Diameter
0.132
0.135
0.0000
Stage 10 Rotor Path Ring Inner (Liner) Diameter
0.135
0.005
0.137
Table 4. Fits and Clearances (all dimensions are in millimeters) NEW PART
WORN PART
DIMENSIONS
DIMENSIONS
PART IDENT
Size
Clearance
Non-select
REJECT IF
MORE THAN
LOCATION 1131
Stage 9 Rear Liner HPC Ring Cases And Related Parts (72-41-21, 04-280)
Location In The Stage 10 Rotor Path Ring HPC Ring Cases And Related Parts (72-41-21, 04-300)
Stage 9 Rear Liner Outer Diameter
3.35
3.43
0.00
Stage 10 Rotor Path Ring Inner (Liner) Diameter
3.43
0.14
3.49
SUBTASK 72-41-20-220-076 Reference Fits and Clearances of the HP Compressor Rear Cases and Vanes at Location 1131
Refer to Figure.
Reference dimensions at location 1155. If required use the data written as a Note in TASK 72-41-21-200-000 (INSPECTION-000).
Table 5. Fits and Clearances (all dimensions are in inches) NEW PART
WORN PART
DIMENSIONS
DIMENSIONS
PART IDENT
Size
Clearance
Non-select
REJECT IF
MORE THAN
LOCATION 1155
Stage 9 Stator Vane Stop HPC Ring Cases And Related Parts (72-41-21, 03-790)
Location In The Stage 9 Case HPC Ring Cases And Related Parts (72-41-21, 03-800)
Stage 9 Stator Vane Stop Shank Diameter
0.2474
0.2494
0.0010
Stage 9 Case Stop Location Bore
0.2504
0.0061
0.2535
Table 6. Fits and Clearances (all dimensions are in millimeters) NEW PART
WORN PART
DIMENSIONS
DIMENSIONS
PART IDENT
Size
Clearance
Non-select
REJECT IF
MORE THAN
LOCATION 1155
Stage 9 Stator Vane Stop HPC Ring Cases And Related Parts (72-41-21, 03-790)
Location In The Stage 9 Case HPC Ring Cases And Related Parts (72-41-21, 03-800)
Stage 9 Stator Vane Stop Shank Diameter
6.285
6.335
0.025
Stage 9 Case Stop Location Bore
6.360
0.155
6.440
SUBTASK 72-41-20-220-077 Reference Fits and Clearances of the HP Compressor Rear Cases and Vanes at Location 1155
Refer to Figure.
Reference dimensions at location 1130. If required use the data written as a Note in TASK 72-41-22-200-000 (INSPECTION-000) and TASK 72-41-21-200-000 (INSPECTION-000).
Table 7. Fits and Clearances (all dimensions are in inches) NEW PART
WORN PART
DIMENSIONS
DIMENSIONS
PART IDENT
Size
Clearance
Non-select
REJECT IF
MORE THAN
LOCATION 1130
Stage 9 Front Liner HPC Ring Cases And Related Parts (72-41-21, 03-740)
Location With The Stage 9 Stator Vanes
Stage 9 Front Liner Inner Width
0.0807
0.0878
0.0020
Stage 9 Stator Vane Front Platform Thickness
0.0755
0.0123
0.0787
Table 8. Fits and Clearances (all dimensions are in millimeters) NEW PART
WORN PART
DIMENSIONS
DIMENSIONS
PART IDENT
Size
Clearance
Non-select
REJECT IF
MORE THAN
LOCATION 1130
Stage 9 Front Liner HPC Ring Cases And Related Parts (72-41-21, 03-740)
Location With The Stage 9 Stator Vanes
Stage 9 Front Liner Inner Width
2.05
2.23
0.05
Stage 9 Stator Vanes Front Platform Thickness
1.92
0.31
2.00
SUBTASK 72-41-20-220-078 Reference Fits and Clearances of the HP Compressor Rear Cases and Vanes at Location 1130
Refer to Figure.
Reference dimensions at location 1132. If required use the data written as a Note in TASK 72-41-22-200-000 (INSPECTION-000) and TASK 72-41-21-200-000 (INSPECTION-000).
Table 9. Fits and Clearances (all dimensions are in inches) NEW PART
WORN PART
DIMENSIONS
DIMENSIONS
PART IDENT
Size
Clearance
Non-select
REJECT IF
MORE THAN
LOCATION 1132
Stage 9 Rear Liner HPC Ring Cases And Related Parts (72-41-21, 04-280)
Location With The Stage 9 Stator Vanes
Stage 9 Rear Liner Inner Width
0.1004
0.1075
0.0019
Stage 9 Stator Vanes Rear Platform Thickness
0.0952
0.0120
0.0984
Table 10. Fits and Clearances (all dimensions are in millimeters) NEW PART
WORN PART
DIMENSIONS
DIMENSIONS
PART IDENT
Size
Clearance
Non-select
REJECT IF
MORE THAN
LOCATION 1132
Stage 9 Rear Liner HPC Ring Cases And Related Parts (72-41-21, 04-280)
Location With The Stage 9 Stator Vanes
Stage 9 Rear Liner Inner Width
2.55
2.73
0.05
Stage 9 Stator Vanes Rear Platform Thickness
2.42
0.31
2.50
SUBTASK 72-41-20-220-079 Reference Fits and Clearances of the HP Compressor Rear Cases and Vanes at Location 1132
Refer to Figure.
Reference dimensions at location 1133. If required use the data written as a Note in TASK 72-41-22-200-000 (INSPECTION-000) and TASK 72-41-21-200-000 (INSPECTION-000).
Table 11. Fits and Clearances (all dimensions are in inches) NEW PART
WORN PART
DIMENSIONS
DIMENSIONS
PART IDENT
Size
Clearance
Non-select
REJECT IF
MORE THAN
LOCATION 1133
Stage 9 Rear Liner HPC Ring Cases And Related Parts (72-41-21, 04-280)
Axial Clearance With The Stage 9 Stator Vanes
Stage 9 Rear Liner Front Face Dimension
1.7341
1.7459
0.0139
Stage 9 Stator Vane Platform Rear Face Dimensions
1.7598
0.0297
1.7638
Table 12. Fits and Clearances (all dimensions are in millimeters) NEW PART
WORN PART
DIMENSIONS
DIMENSIONS
PART IDENT
Size
Clearance
Non-select
REJECT IF
MORE THAN
LOCATION 1133
Stage 9 Rear Liner HPC Ring Cases And Related Parts (72-41-21, 04-280)
Axial Clearance With The Stage 9 Stator Vanes
Stage 9 Rear Liner Front Face Dimensions
44.046
44.346
0.354
Stage 9 Stator Vane Platform Rear Face Dimensions
44.700
0.754
44.800
SUBTASK 72-41-20-220-080 Reference Fits and Clearances of the HP Compressor Rear Cases and Vanes at Location 1133
Refer to Figure.
Reference dimensions at location 1177. If required use the data written as a Note in TASK 72-41-21-200-000 (INSPECTION-000).
Table 13. Fits and Clearances (all dimensions are in inches) NEW PART
WORN PART
DIMENSIONS
DIMENSIONS
PART IDENT
Size
Clearance
Non-select
REJECT IF
MORE THAN
LOCATION 1177
Stage 9 Case HPC Ring Cases And Related Parts (72-41-21, 03-800)
Location With The Stage 9 Rotor Path Ring HPC Ring Cases And Related Parts (72-41-21, 03-750)
Stage 9 Case Front Inner Bore
21.150
Intf
21.154
0.003
Stage 9 Rotor Path Ring Rear Flange Outer Diameter
21.157
0.011
21.161
Table 14. Fits and Clearances (all dimensions are in millimeters) NEW PART
WORN PART
DIMENSIONS
DIMENSIONS
PART IDENT
Size
Clearance
Non-select
REJECT IF
MORE THAN
LOCATION 1177
Stage 9 Case HPC Ring Cases And Related Parts (72-41-21, 03-800)
Location With The Stage 9 Rotor Path Ring HPC Ring Cases And Related Parts (72-41-21, 03-750)
Stage 9 Case Front Inner Bore
537.20
Intf
537.32
0.06
Stage 9 Rotor Path Ring Rear Flange Outer Diameter
537.38
0.3
537.5
SUBTASK 72-41-20-220-121 Reference Fits and Clearances of the HP Compressor Rear Cases and Vanes at Location 1177
Refer to Figure.
Reference dimensions at location 1105. If required use the data written as a Note in TASK 72-41-21-200-000 (INSPECTION-000).
Table 15. Fits and Clearances (all dimensions are in inches) NEW PART
WORN PART
DIMENSIONS
DIMENSIONS
PART IDENT
Size
Clearance
Non-select
REJECT IF
MORE THAN
LOCATION 1105
Stage 8 Case HPC Ring Cases And Related Parts (72-41-21, 03-650)
Location With The Stage 9 Case HPC Ring Cases And Related Parts (72-41-21, 03-800)
Stage 8 Case Rear Flange Inner Bore
22.3838
22.3917
0.0177
Stage 9 Case Front Flange
22.3582
0.0355
22.3661
Table 16. Fits and Clearances (all dimensions are in millimeters) NEW PART
WORN PART
DIMENSIONS
DIMENSIONS
PART IDENT
Size
Clearance
Non-select
REJECT IF
MORE THAN
LOCATION 1105
Stage 8 Case HPC Ring Cases And Related Parts (72-41-21, 03-650)
Location With The Stage 9 Case HPC Ring Cases And Related Parts (72-41-21, 03-800)
Stage 8 Case Rear Flange Inner Bore
568.55
568.75
0.4495
Stage 9 Case Front Flange
567.90
0.8509
568.10
SUBTASK 72-41-20-220-122 Reference Fits and Clearances of the HP Compressor Rear Cases and Vanes at Location 1105
Refer to Figure.
Reference dimensions at location 1193. If required use the data written as a Note in TASK 72-41-21-200-000 (INSPECTION-000).
Table 17. Fits and Clearances (all dimensions are in inches) NEW PART
WORN PART
DIMENSIONS
DIMENSIONS
PART IDENT
Size
Clearance
Non-select
REJECT IF
MORE THAN
LOCATION 1193
Stage 9 Case HPC Ring Cases And Related Parts (72-41-21, 03-800)
Location With The Stage 8 Case Location Dowel HPC Ring Cases And Related Parts (72-41-21, 03-675)
Stage 9 Case Location Hole Bore
0.315
0.316
0.010
Stage 8 Case Location Dowel Outer Diameter
0.303
0.013
0.305
Table 18. Fits and Clearances (all dimensions are in millimeters) NEW PART
WORN PART
DIMENSIONS
DIMENSIONS
PART IDENT
Size
Clearance
Non-select
REJECT IF
MORE THAN
LOCATION 1193
Stage 9 Case HPC Ring Cases And Related Parts (72-41-21, 03-800)
Location With The Stage 8 Case Location Dowel HPC Ring Cases And Related Parts (72-41-21, 03-675)
Stage 9 Case Location Hole Bore
8.000
8.022
0.250
Stage 8 Case Location Dowel Outer Diameter
7.700
0.322
7.750
SUBTASK 72-41-20-220-123 Reference Fits and Clearances of the HP Compressor Rear Cases and Vanes at Location 1193
Refer to Figure.
Reference dimensions at location 1175. If required use the data written as a Note in TASK 72-41-21-200-000 (INSPECTION-000).
Table 19. Fits and Clearances (all dimensions are in inches) NEW PART
WORN PART
DIMENSIONS
DIMENSIONS
PART IDENT
Size
Clearance
Non-select
REJECT IF
MORE THAN
LOCATION 1175
Stage 9 Case HPC Ring Cases And Related Parts (72-41-21, 03-800)
Location With The Stage 10 Rotor Path Ring HPC Ring Cases And Related Parts (72-41-21, 04-300)
Stage 9 Case Rear Inner Bore
21.150
Intf
21.154
0.003
Stage 10 Rotor Path Ring Front Flange Outer Diameter
21.157
0.011
21.161
Table 20. Fits and Clearances (all dimensions are in millimeters) NEW PART
WORN PART
DIMENSIONS
DIMENSIONS
PART IDENT
Size
Clearance
Non-select
REJECT IF
MORE THAN
LOCATION 1175
Stage 9 Case HPC Ring Cases And Related Parts (72-41-21, 03-800)
Location With The Stage 10 Rotor Path Ring HPC Ring Cases And Related Parts (72-41-21, 04-300)
Stage 9 Case Rear Inner Bore
537.20
Intf
537.32
0.06
Stage 10 Rotor Path Ring Front Flange Outer Diameter
537.38
0.3
537.50
SUBTASK 72-41-20-220-124 Reference Fits and Clearances of the HP Compressor Rear Cases and Vanes at Location 1175
Refer to Figure.
Reference dimensions at location 1195. If required use the data written as a Note in TASK 72-41-21-200-000 (INSPECTION-000).
Table 21. Fits and Clearances (all dimensions are in inches) NEW PART
WORN PART
DIMENSIONS
DIMENSIONS
PART IDENT
Size
Clearance
Non-select
REJECT IF
MORE THAN
LOCATION 1195
Stage 10 Rotor Path Ring HPC Ring Cases And Related Parts (72-41-21, 04-300)
Location With The Stage 9 Case Location Dowel HPC Ring Cases And Related Parts (72-41-21, 03-825)
Stage 10 Rotor Path Ring Location Hole Bore
0.315
0.329
0.010
Stage 9 Case Location Dowel Outer Diameter
0.303
0.026
0.305
Table 22. Fits and Clearances (all dimensions are in millimeters) NEW PART
WORN PART
DIMENSIONS
DIMENSIONS
PART IDENT
Size
Clearance
Non-select
REJECT IF
MORE THAN
LOCATION 1195
Stage 10 Rotor Path Ring HPC Ring Cases And Related Parts (72-41-21, 04-300)
Location With The Stage 9 Case Location Dowel HPC Ring Cases And Related Parts (72-41-21, 03-825)
Stage 10 Rotor Path Ring Location Hole Bore
8.00
8.36
0.25
Stage 9 Case Location Dowel Outer Diameter
7.70
0.66
7.75
SUBTASK 72-41-20-220-125 Reference Fits and Clearances of the HP Compressor Rear Cases and Vanes at Location 1195
Refer to Figure.
Reference dimensions at location 1176. If required use the data written as a Note in TASK 72-41-21-200-000 (INSPECTION-000).
Table 23. Fits and Clearances (all dimensions are in inches) NEW PART
WORN PART
DIMENSIONS
DIMENSIONS
PART IDENT
Size
Clearance
Non-select
REJECT IF
MORE THAN
LOCATION 1176
Stage 9 Front Heatshield HPC Ring Cases And Related Parts (72-41-21, 03-920)
Location With The Stage 9 Case HPC Ring Cases And Related Parts(72-41-21, 03-800)
Stage 9 Front Heatshield Inner Bore
21.299
21.311
0.026
Stage 9 Case Outer Diameter
21.285
0.002
21.297
Table 24. Fits and Clearances (all dimensions are in millimeters) NEW PART
WORN PART
DIMENSIONS
DIMENSIONS
PART IDENT
Size
Clearance
Non-select
REJECT IF
MORE THAN
LOCATION 1176
Stage 9 Front Heatshield HPC Ring Cases And Related Parts (72-41-21, 03-920)
Location With The Stage 9 Case HPC Ring Cases And Related Parts (72-41-21, 03-800)
Stage 9 Front Heatshield Inner Bore
541.00
541.30
0.65
Stage 9 Case Outer Diameter
540.65
0.05
540.95
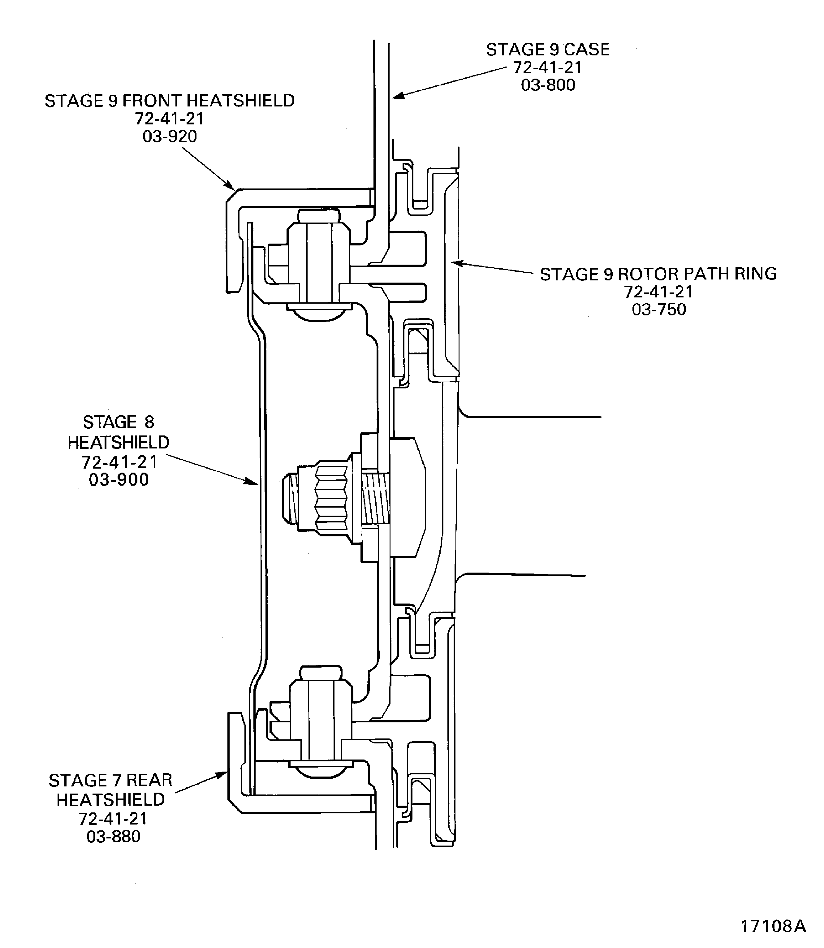
SUBTASK 72-41-20-220-126 Reference Fits and Clearances of the HP Compressor Rear Cases and Vanes at Location 1176
Refer to Figure.
Reference dimensions at location 1168. If required use the data written as a Note in TASK 72-41-21-200-000 (INSPECTION-000).
Table 25. Fits and Clearances (all dimensions are in inches) NEW PART
WORN PART
DIMENSIONS
DIMENSIONS
PART IDENT
Size
Clearance
Non-select
REJECT IF
MORE THAN
LOCATION 1168
Stage 8 Heatshield HPC Ring Cases And Related Parts (72-41-21, 03-900)
Location With The Stage 9 Front Heatshield HPC Ring Cases And Related Parts (72-41-21, 03-920)
Stage 8 Heatshield Rear Outer Diameter
22.540
22.554
0.047
Stage 9 Front Heatshield Front Flange Bore
22.601
0.084
22.624
Table 26. Fits and Clearances (all dimensions are in millimeters) NEW PART
WORN PART
DIMENSIONS
DIMENSIONS
PART IDENT
Size
Clearance
Non-select
REJECT IF
MORE THAN
LOCATION 1168
Stage 8 Heatshield HPC Ring Cases And Related Parts (72-41-21, 03-900)
Location With The Stage 9 Front Heatshield HPC Ring Cases And Related Parts (72-41-21, 03-920)
Stage 8 Heatshield Rear Outer Diameter
572.52
572.88
1.18
Stage 9 Front Heatshield Front Flange Bore
574.06
2.14
574.66
SUBTASK 72-41-20-220-127 Reference Fits and Clearances of the HP Compressor Rear Cases and Vanes at Location 1168
Refer to Figure.
Reference dimensions at location 1153. If required use the data written as a Note in TASK 72-41-21-200-000 (INSPECTION-000).
Table 27. Fits and Clearances (all dimensions are in inches) NEW PART
WORN PART
DIMENSIONS
DIMENSIONS
PART IDENT
Size
Clearance
Non-select
REJECT IF
MORE THAN
LOCATION 1153
Stage 9 Case Spacers HPC Ring Cases And Related Parts (72-41-21, 03-514)
Location With The Stage 9 Front Heatshield HPC Ring Cases And Related Parts (72-41-21, 03-920)
Spacers Rear Outer Diameter
0.3161
0.3164
0.00051
Stage 9 Front Heatshield Location Hole Bore
0.3169
0.003
0.3192
Table 28. Fits and Clearances (all dimensions are in millimeters) NEW PART
WORN PART
DIMENSIONS
DIMENSIONS
PART IDENT
Size
Clearance
Non-select
REJECT IF
MORE THAN
LOCATION 1153
Stage 9 Case Spacers HPC Ring Cases And Related Parts (72-41-21, 03-514)
Location With The Stage 9 Front Heatshield HPC Ring Cases And Related Parts (72-41-21, 03-920)
Spacers Rear Outer Diameter
8.028
8.037
0.013
Stage 9 Front Heatshield Location Hole Bore
8.050
0.08
8.108
SUBTASK 72-41-20-220-129 Reference Fits and Clearances of the HP Compressor Rear Cases and Vanes at Location 1153
Refer to Figure.
Reference dimensions at location 1160. If required use the data written as a Note in TASK 72-41-21-200-000 (INSPECTION-000).
Table 29. Fits and Clearances (all dimensions are in inches) NEW PART
WORN PART
DIMENSIONS
DIMENSIONS
PART IDENT
Size
Clearance
Non-select
REJECT IF
MORE THAN
LOCATION 1160
Stage 8 Heatshield HPC Ring Cases And Related Parts (72-41-21, 03-900)
Location With The Stage 7 Rear Heatshield HPC Ring Cases And Related Parts (72-41-21, 03-880)
Stage 8 Heatshield Front Outer Diameter
22.540
22.554
0.047
Stage 7 Rear Heatshield Bore
22.601
0.084
22.624
Table 30. Fits and Clearances (all dimensions are in millimeters) NEW PART
WORN PART
DIMENSIONS
DIMENSIONS
PART IDENT
Size
Clearance
Non-select
REJECT IF
MORE THAN
LOCATION 1160
Stage 8 Heatshield HPC Ring Cases And Related Parts (72-41-21, 03-900)
Location With The Stage 7 Rear Heatshield HPC Ring Cases And Related Parts (72-41-21, 03-880)
Stage 8 Heatshield Front Outer Diameter
572.52
572.88
1.18
Stage 7 Rear Heatshield Bore
574.06
2.14
574.66
SUBTASK 72-41-20-220-130 Reference Fits and Clearances of the HP Compressor Rear Cases and Vanes at Location 1160
Refer to Figure.
Use IAE 1R18297 Assembly tool 1 off to install the stage 9 rear liner. Make sure the liner touches the stage 10 rotor path ring front flange.
Install the new HPC Ring Cases And Related Parts (72-41-21, 04-280) stage 9 rear liner 1 off, in to the slot in the front flange of the stage 10 rotor path ring HPC Ring Cases And Related Parts (72-41-21, 04-300).
Use IAE 1R18298 Installation drift 1 off to install the stage 10 front liner. Make sure the liner touches the stage 10 rotor path ring rear flange.
Install the new HPC Ring Cases And Related Parts (72-41-21, 04-390) stage 10 front liner 1 off, into the slot in the rear of the stage 10 rotor path ring.
SUBTASK 72-41-20-440-066 Install the Stage 9 Stator Vane Rear Liner and the Stage 10 Stator Vane Front Liner
Refer to Figure.
Use the IAE 1R18501 Stop alignment tool 1 off and align the stage 9 stator vane stop in the stage 9 case.
Install a washer HPC Ring Cases And Related Parts (72-41-21, 03-789) and a nut HPC Ring Cases And Related Parts (72-41-21, 03-788) onto the stage 9 stator vane stop.
Install the stage 9 stator vane stops HPC Ring Cases And Related Parts (72-41-21, 03-790) in the stage 9 case HPC Ring Cases And Related Parts (72-41-21, 03-800).
SUBTASK 72-41-20-440-067 Install the Stator Vane Stops in the Stage 9 Case
Refer to Figure.
Remove the eight slave nuts and bolts from the stage 9 rotor path ring HPC Ring Cases And Related Parts (72-41-21, 03-750) to stage 8 case HPC Ring Cases And Related Parts (72-41-21, 03-650) flange.
Put the stage 9 case HPC Ring Cases And Related Parts (72-41-21, 03-800) front flange down onto a clean work bench.
Install the 37 dee headed bolts HPC Assembly (72-41-00, 01-592) and nuts HPC Assembly (72-41-00, 01-590) to attach the stage 9 case to the stage 9 rotor path ring and the stage 8 case. Install the bolts from the 9 case front flange. Torque the 37 nuts in the correct sequence to 36 lbfin to 45 lbfin (4.00 Nm to 5.00 Nm). Refer to detail at A on Figure.
SUBTASK 72-41-20-440-105 Install the Stage 9 Case
Refer to Figure.
Install the eight stage 9 stop vanes in to the stage 9 rotor path ring, at the stage 9 stator vane stops HPC Ring Cases And Related Parts (72-41-21, 03-790). Engage the vanes in the stage 9 rotor path ring. Install two stage 9 stop vanes at each of the stage stator vane stops.
Push each of the stage 9 stop vanes forward until the vane platform touches the stage 9 front liner HPC Ring Cases And Related Parts (72-41-21, 03-740).
Install the stage 9 stop vanes HPC Stator Vanes (72-41-22, 04-350).
Install five stage 9 stator vanes HPC Stator Vanes (72-41-22, 04-400).
Install one stage 9 undersize stator vanes HPC Stator Vanes (72-41-22, 04-450).
Install five stage 9 stator vanes HPC Stator Vanes (72-41-22, 04-400).
Install one stage 9 stator vane HPC Stator Vanes (72-41-22, 04-448).
Install one stage 9 undersize stator vane HPC Stator Vanes (72-41-22, 04-450).
Install five stage 9 stator vanes HPC Stator Vanes (72-41-22, 04-400).
Install one stage 9 stator vane HPC Stator Vanes (72-41-22, 04-448).
Install one stage 9 undersize stator vane HPC Stator Vanes (72-41-22, 04-450).
Install four stage 9 stator vanes HPC Stator Vanes (72-41-22, 04-400).
Install the stage 9 stator vanes between the two stage 9 stop vanes adjacent to the 12 and 3 o'clock positions. Use the subsequent sequence.
Install two stage 9 stator vanes HPC Stator Vanes (72-41-22, 04-400).
Install the stage 9 LH intrascope vane HPC Stator Vanes (72-41-22, 04-200).
NOTE
Make sure the borescope access hole in the stage 9 case and intrascope vanes hole are aligned.Install the stage 9 RH intrascope vane HPC Stator Vanes (72-41-22, 04-250).
Install four stage 9 stator vanes HPC Stator Vanes (72-41-22, 04-400).
Install one stage 9 undersize stator vane HPC Stator Vanes (72-41-22, 04-450).
Install four stage 9 stator vanes HPC Stator Vanes (72-41-22, 04-400).
Install one stage 9 stator vane HPC Stator Vanes (72-41-22, 04-448).
Install one stage 9 undersize stator vane HPC Stator Vanes (72-41-22, 04-450).
Install four stage 9 stator vanes HPC Stator Vanes (72-41-22, 04-400).
Install one stage 9 stator vanes HPC Stator Vanes (72-41-22, 04-448).
Install one stage 9 undersize stator vane HPC Stator Vanes (72-41-22, 04-450).
Install three stage 9 stator vanes HPC Stator Vanes (72-41-22, 04-400),
Install the stage 9 stator vanes between the two stage 9 stop vanes adjacent to the 3 and 6 o'clock positions. Use the subsequent sequence.
Install IAE 1R18213 Alignment checking pin 1 off through the stage 9 case borescope access hole. Make sure the checking pin easily goes into the intrascope vanes holes.
Install the stage 9 stator vanes.
SUBTASK 72-41-20-440-068 Install the Stage 9 Stator Vanes
Refer to Figure.
Install the heating blanket on to the stage 9 case HPC Ring Cases And Related Parts (72-41-21, 03-800).
Align the location dowel in the stage 10 rotor path ring HPC Ring Cases And Related Parts (72-41-21, 04-300) with the location dowel in the stage 9 case.
Measure and write down a record of the clearance at location 1133. The clearance must be 0.0139 in. to 0.0297 in. (0.354 mm to 0.754 mm). Refer to Figure.
SUBTASK 72-41-20-440-069 Install the Stage 10 Rotor Path Ring
Refer to Figure.
SUBTASK 72-41-20-440-070 Measure the Interplatform Clearances
NOTE
To get the specified interplatform clearance at the four stage 9 stop vanes HPC Stator Vanes (72-41-22, 04-350) use stage 9 undersize stator vanes HPC Stator Vanes (72-41-22, 04-450) or stage 9 stator vanes HPC Stator Vanes (72-41-22, 04-448) as necessary.A maximum of five undersize vanes can be used between the two adjacent stop vanes. These must be set at equal distances between the stop vanes.Remove the eight slave bolts which attach the stage 10 rotor path ring HPC Ring Cases And Related Parts (72-41-21, 04-300) to the stage 9 case HPC Ring Cases And Related Parts (72-41-21, 03-800).

WARNING
YOU MUST PUT ON THE CORRECT PROTECTIVE GLOVES BEFORE YOU TOUCH THE STAGE 10 ROTOR PATH RING.Install the plates of IAE 1R18240 Extractor 3 off on the front flange of the stage 9 case. Refer to extractor detail C on Figure.
Remove the stage 10 rotor path ring. Refer to Figure.

CAUTION
UNDERSIZE VANES MUST NOT BE INSTALLED ADJACENT TO THE STOP VANES, THE RETAINING VANES, THE INTRASCOPE VANES OR OTHER UNDERSIZE VANES.
CAUTION
UNDERSIZE VANES MUST NOT BE INSTALLED BETWEEN THE STAGE 9 INTRASCOPE VANES AND THE STAGE 9 STOP VANE ADJACENT TO THE 6 O'CLOCK POSITION.Remove the stage 9 stator vanes HPC Stator Vanes (72-41-22, 04-448) and install the stage 9 vanes as necessary. One stage 9 undersize vane will give an increase or decrease in the interplatform clearance of 0.016 in. (0.40 mm).
Install the stage 10 rotor path ring as given in Step.
Measure and write a down record of the interplatform clearances at the stage 9 stop vanes as given in Step.
SUBTASK 72-41-20-440-071 Install the Stage 9 Undersize Stator Vanes
Refer to Figure.
Engage the front of the stage 8 heatshield HPC Ring Cases And Related Parts (72-41-21, 03-900) between the stage 7 case HPC Ring Cases And Related Parts (72-41-21, 03-500) and the stage 7 rear heatshield HPC Ring Cases And Related Parts (72-41-21, 03-880). Push the stage 8 heatshield forward until it touches the stage 7 rear heatshield inner flange.
Put the two halves of the stage 9 front heatshield in to position on the stage 9 case HPC Ring Cases And Related Parts (72-41-21, 03-800). Locate the heatshields on the spacers and make sure the end plates are correctly located.
Install the 10 bolts HPC Assembly (72-41-00, 01-584) to attach the stage 9 front heatshield to the stage 9 case.
Measure and write down a record of the clearance at location 1176. The clearance must be 0.004 in. to 0.024 in. (0.10 mm to 0.60 mm). Refer to Figure.
Install the stage 9 front heatshield HPC Ring Cases And Related Parts (72-41-21, 03-920).
SUBTASK 72-41-20-440-106 Install the Stage 8 Heatshield and the Stage 9 Front Heatshield
Figure: View through the HP compressor rear cases and vanes
View through the HP compressor rear cases and vanes

Figure: The locations for the fits and clearances
The locations for the fits and clearances

Figure: Locations of the fits and clearances
Sheet 2

Figure: Install the stage 9 stator vane front and rear liners
Sheet 1

Figure: Install the stage 9 stator vane front and rear liners
Sheet 2

Figure: Install the stage 9 stator vane stops
Install the stage 9 stator vane stops

Figure: Install the stage 9 case and the stage 8 heatshield
Sheet 1

Figure: Install the stage 9 case and the stage 8 heatshield
Sheet 2

Figure: Install the stage 9 stator vanes
Sheet 1

Figure: Install the stage 9 stator vanes
Sheet 2

Figure: Install the stage 9 stator vanes
Sheet 3

Figure: Measure the Stator Vane Interplatform Clearance
Measure the Stator Vane Interplatform Clearance

Figure: Remove the stage 10 rotor path ring
Remove the stage 10 rotor path ring

