Export Control
EAR Export Classification: Not subject to the EAR per 15 C.F.R. Chapter 1, Part 734.3(b)(3), except for the following Service Bulletins which are currently published as EAR Export Classification 9E991: SBE70-0992, SBE72-0483, SBE72-0580, SBE72-0588, SBE72-0640, SBE73-0209, SBE80-0024 and SBE80-0025.Copyright
© IAE International Aero Engines AG (2001, 2014 - 2021) The information contained in this document is the property of © IAE International Aero Engines AG and may not be copied or used for any purpose other than that for which it is supplied without the express written authority of © IAE International Aero Engines AG. (This does not preclude use by engine and aircraft operators for normal instructional, maintenance or overhaul purposes.).Applicability
All
Common Information
TASK 72-41-20-440-005-C00 HPC Rear Cases And Vanes Assembly- Assemble The HPC Stage 11 Stator Vanes To The Cases, Assembly-005, SBE 72-0627
General
Fig/item numbers in parentheses in the procedure agree with those used in the IPC. Only the primary Fig/item numbers are used. For the Service Bulletin alpha variants refer to the IPC.
For all parts identified in a different Chapter/Section/Subject, the applicable Chapter/Section/Subject comes before the Fig/item number.
For standard torque data and procedures refer to the SPM TASK 70-41-00-400-501, SPM TASK 70-41-01-400-501 and SPM TASK 70-41-02-410-501.
Special torque data and assembly tolerances are included in the procedure.
Lubricate all threads and abutment faces of nuts and bolts with CoMat 10-077 APPROVED ENGINE OILS, unless other lubricants are referred to in the procedure.
After assembly apply CoMat 07-038 AIR DRYING ENAMEL to any damaged surface protection, joint flanges and parts used to attach. Use the correct color of the air drying enamel. Refer to the SPM TASK 70-63-02-380-501.
The number for each radial location must be identified in a clockwise direction. These start at the engine top position when you look from the rear of the engine, unless stated differently in the procedure.
Refer to Figure for a sectional view of the HP compressor rear cases and vanes.
Make sure all the flange faces and tool faces that touch are very clean.
The Fits and Clearances, NEW PART DIMENSIONS and REJECT IF MORE THAN columns will be used by most operators. This permits the full use of the maximum wear allowance and a reduction in the number of parts which are rejected, is possible.
The column WORN PART DIMENSIONS (Non-select) is included for operators who want to have full interchangeability. If this column is used an increase in the number of parts which are rejected is possible.
After the part has been in service for some time the REJECT IF MORE THAN and WORN PART DIMENSIONS could be changed. The operator must tell IAE and if agreed the manual will be changed.
The abbreviation lntf shows an interference or tight fit. This causes REJECT IF MORE THAN to become REJECT IF LESS THAN.
The abbreviation clear shows a clearance fit.
This TASK gives the procedures to assemble the HP Compressor Stage 11 cases, the vanes, liners and stator vane stops. The subsequent TASKS give the procedures to assemble the remaining HP Compressor rear cases and vanes.
TASK 72-41-20-440-001-C00 (ASSEMBLY-001) Assemble the HP Compressor Stage 7 Cases and Stator Vanes.
TASK 72-41-20-440-002-C00 (ASSEMBLY-002) Assemble the HP Compressor Stage 8 Stator Vanes.
TASK 72-41-20-440-003-C00 (ASSEMBLY-003) Assemble the HP Compressor Stage 9 Stator Vanes.
TASK 72-41-20-440-004-C00 (ASSEMBLY-004) Assemble the HP Compressor Stage 10 Stator Vanes.
TASK 72-41-20-440-006-C00 (ASSEMBLY-006, CONFIG-003) Machine the Stator Vane Tips and the Rotor Path Ring Liners.
TASK 72-41-20-440-007-C00 (ASSEMBLY-007, CONFIG-003) Disassemble the HP Compressor Rear Cases and Vanes.
NOTE
NOTE
Preliminary Requirements
Pre-Conditions
NONESupport Equipment
| Name | Manufacturer | Part Number / Identification | Quantity | Remark |
|---|---|---|---|---|
| Heating blanket | LOCAL | Heating blanket | ||
| IAE 1R18213 Alignment checking pin | 0AM53 | IAE 1R18213 | 1 | |
| IAE 1R18501 Stop alignment tool | 0AM53 | IAE 1R18501 | 1 | |
| IAE 1R18827 Extractor | 0AM53 | IAE 1R18827 | 3 | |
| IAE 1R19693 Assembly tool | 0AM53 | IAE 1R19693 | 1 | |
| IAE 1R19694 Assembly tool | 0AM53 | IAE 1R19694 | 1 |
Consumables, Materials and Expendables
| Name | Manufacturer | Part Number / Identification | Quantity | Remark |
|---|---|---|---|---|
| CoMat 07-038 AIR DRYING ENAMEL | k3504 | CoMat 07-038 | ||
| CoMat 10-077 APPROVED ENGINE OILS | LOCAL | CoMat 10-077 |
Spares
NONESafety Requirements
NONEProcedure
Refer to Figure.
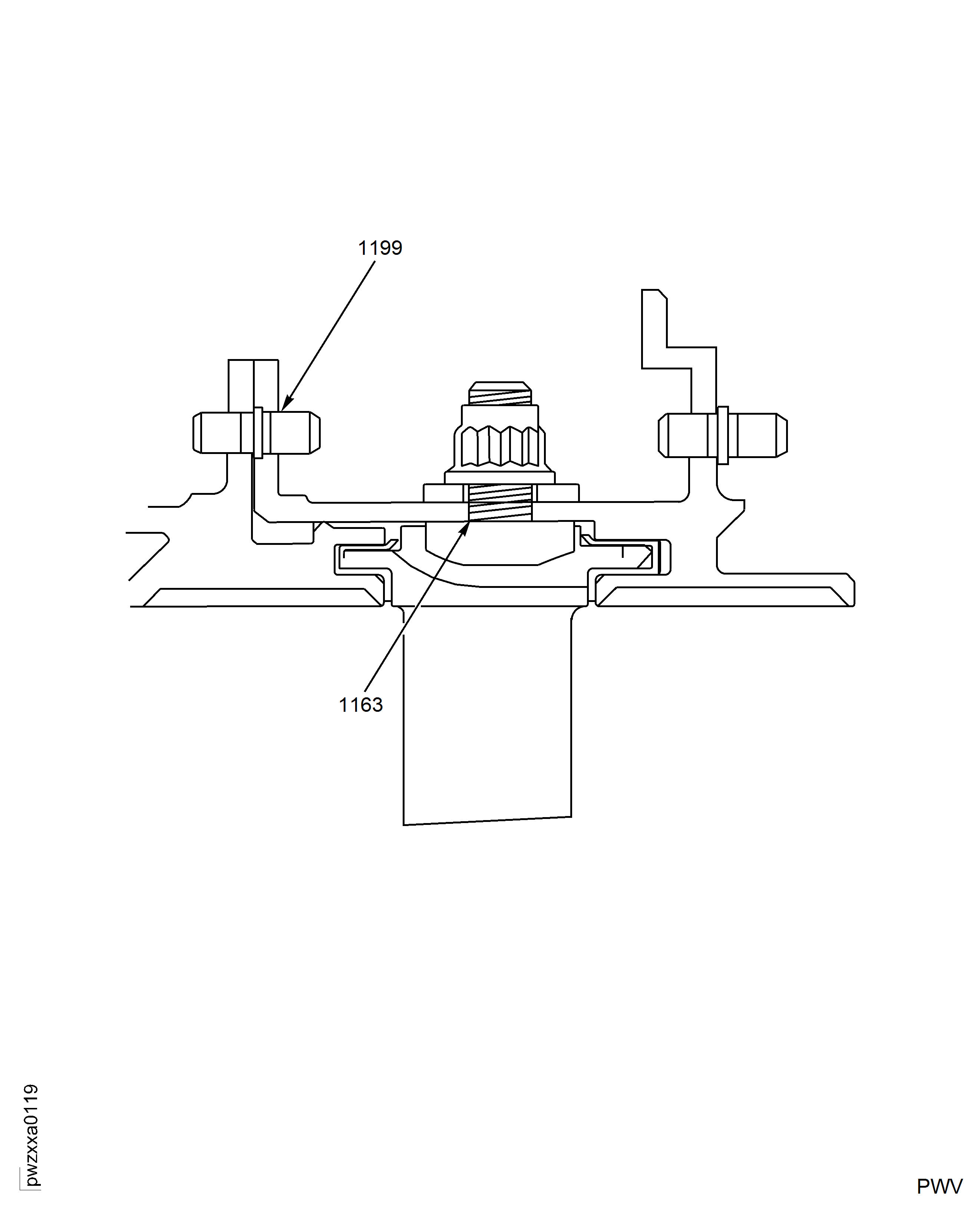
Reference dimensions at Location 1163. If required use the data written as a Note in TASK 72-41-21-200-000.
Table 1. Fits and Clearances (all dimensions are in inches) NEW PART
WORN PART
DIMENSIONS
DIMENSIONS
PART IDENT
Size
Clearance
(Non-select)
REJECT IF
MORE THAN
LOCATION 1163
Stage 11 Stator Vane Stop HPC Ring Cases And Related Parts HPC Ring Cases And Related Parts (72-41-21, 04-590)
Location In The Stage 12 Rotor Path Case Assembly HPC Ring Cases And Related Parts HPC Ring Cases And Related Parts (72-41-21, 04-600)
Stage 11 Stator Vane Stop Shank Diameter
0.2474
Clear
0.2494
0.0010
Stage 11 Case Stop Location Hole Bore
0.2504
0.0061
0.2535
Clear
Table 2. Fits and Clearances (all dimensions are in millimeters) NEW PART
WORN PART
DIMENSIONS
DIMENSIONS
PART IDENT
Size
Clearance
(Non-select)
REJECT IF
MORE THAN
LOCATION 1163
Stage 11 Stator Vane Stop HPC Ring Cases And Related Parts HPC Ring Cases And Related Parts (72-41-21, 04-590)
Location In The Stage 12 Rotor Path Case Assembly HPC Ring Cases And Related Parts HPC Ring Cases And Related Parts (72-41-21, 04-600)
Stage 11 Stator Vane Stop Shank Diameter
6.285
Clear
6.335
0.025
Stage 11 Case Stop Location Hole Bore
6.360
0.155
6.440
Clear
SUBTASK 72-41-20-220-226-001 Reference Fits and Clearances of the HP Compressor Rear Cases and Vanes at Location 1163
Refer to Figure.
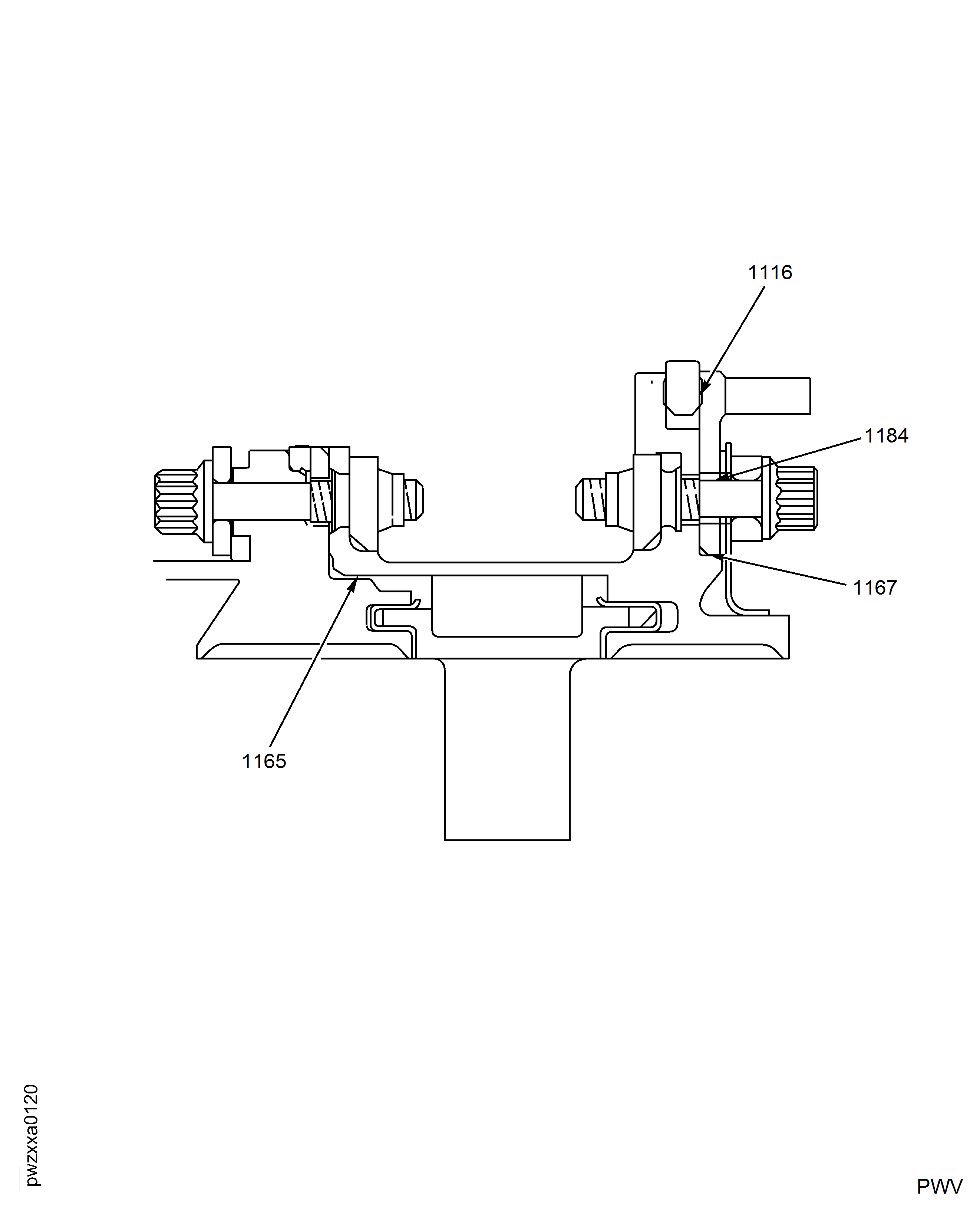
Reference dimensions at Location 1184. If required use the data written as a Note in TASK 72-41-21-200-000.
Table 3. Fits and Clearances (all dimensions are in inches) NEW PART
WORN PART
DIMENSIONS
DIMENSIONS
PART IDENT
Size
Clearance
(Non-select)
REJECT IF
MORE THAN
LOCATION 1184
Cross Key Location Ring HPC Ring Cases And Related Parts HPC Ring Cases And Related Parts (72-41-21, 04-750)
Location With The Stage 12 Rotor Path Case Assembly Location Dowel HPC Ring Cases And Related Parts HPC Ring Cases And Related Parts (72-41-21, 04-625)
Cross Key Location Ring Location Hole Bore
0.1638
Clear
0.1709
0.0054
Stage 12 Rotor Path Case Assembly Location Dowel Diameter
0.1580
0.0129
0.1584
Clear
Table 4. Fits and Clearances (all dimensions are in inches) NEW PART
WORN PART
DIMENSIONS
DIMENSIONS
PART IDENT
Size
Clearance
(Non-select)
REJECT IF
MORE THAN
LOCATION 1184
Cross Key Location Ring HPC Ring Cases And Related Parts HPC Ring Cases And Related Parts (72-41-21, 04-750)
Location With The Stage 12 Rotor Path Case Assembly Location Dowel HPC Ring Cases And Related Parts HPC Ring Cases And Related Parts (72-41-21, 04-625)
Cross Key Location Ring Location Hole Bore
4.160
Clear
4.340
0.250
Stage 12 Rotor Path Case Assembly Location Dowel Diameter
4.012
0.322
4.024
Clear
SUBTASK 72-41-20-220-226-002 Reference Fits and Clearances of the HP Compressor Rear Cases and Vanes at Location 1184
Refer to Figure.
Reference dimensions at Location 1167. If required use the data written as a Note in TASK 72-41-22-200-000.
Table 5. Fits and Clearances (all dimensions are in inches) NEW PART
WORN PART
DIMENSIONS
DIMENSIONS
PART IDENT
Size
Clearance
(Non-select)
REJECT IF
MORE THAN
LOCATION 1167
Cross Key Location Ring HPC Ring Cases And Related Parts HPC Ring Cases And Related Parts (72-41-21, 04-745)
Location With The Stage 12 Rotor Path Case Assembly HPC Ring Cases And Related Parts HPC Ring Cases And Related Parts (72-41-21, 04-600)
Cross Key Location Ring Bore
21.4165
lntf
21.4173
0.0000
Stage 12 Rotor Path Case Assembly Diameter
21.4165
0.0071
21.4213
lntf
Table 6. Fits and Clearances (all dimensions are in inches) NEW PART
WORN PART
DIMENSIONS
DIMENSIONS
PART IDENT
Size
Clearance
(Non-select)
REJECT IF
MORE THAN
LOCATION 1167
Cross Key Location Ring HPC Ring Cases And Related Parts HPC Ring Cases And Related Parts (72-41-21, 04-745)
Location With The Stage 12 Rotor Path Case Assembly HPC Ring Cases And Related Parts HPC Ring Cases And Related Parts (72-41-21, 04-600)
Cross Key Location Ring Bore
543.98
lntf
544.00
0.00
Stage 12 Rotor Path Case Assembly Diameter
543.98
0.18
544.10
lntf
SUBTASK 72-41-20-220-226-003 Reference Fits and Clearances of the HP Compressor Rear Cases and Vanes at Location 1167
Refer to Figure.
Reference dimensions at Location 1116. If required use the data written as a Note in TASK 72-41-22-200-000.
Table 7. Fits and Clearances (all dimensions are in inches) NEW PART
WORN PART
DIMENSIONS
DIMENSIONS
PART IDENT
Size
Clearance
(Non-select)
REJECT IF
MORE THAN
LOCATION 1116
Sealing Ring HPC Ring Cases And Related Parts HPC Ring Cases And Related Parts (72-41-21, 04-745)
Location With The Stage 12 Rotor Path Case Assembly HPC Ring Cases And Related Parts HPC Ring Cases And Related Parts (72-41-21, 04-600)
Sealing Ring Width
0.1565
Clear
0.1585
0.0006
Stage 12 Rotor Path Case Assembly Dimension
0.1591
0.0036
0.1601
Clear
Table 8. Fits and Clearances (all dimensions are in inches) NEW PART
WORN PART
DIMENSIONS
DIMENSIONS
PART IDENT
Size
Clearance
(Non-select)
REJECT IF
MORE THAN
LOCATION 1116
Sealing Ring HPC Ring Cases And Related Parts HPC Ring Cases And Related Parts (72-41-21, 04-745)
Location With The Stage 12 Rotor Path Case Assembly HPC Ring Cases And Related Parts HPC Ring Cases And Related Parts (72-41-21, 04-600)
Sealing Ring Width
3.975
Clear
4.025
0.015
Stage 12 Rotor Path Case Assembly Dimension
4.040
0.091
4.066
Clear
SUBTASK 72-41-20-220-226-004 Reference Fits and Clearances of the HP Compressor Rear Cases and Vanes at Location 1116
Refer to Figure.
Reference dimensions at Location 1165. If required use the data written as a Note in TASK 72-41-22-200-000.
Table 9. Fits and Clearances (all dimensions are in inches) NEW PART
WORN PART
DIMENSIONS
DIMENSIONS
PART IDENT
Size
Clearance
(Non-select)
REJECT IF
MORE THAN
LOCATION 1165
Stage 12 Rotor Path Case Assembly HPC Ring Cases And Related Parts HPC Ring Cases And Related Parts (72-41-21, 04-600)
Location With The Stage 11 Rotor Path Case Assembly HPC Ring Cases And Related Parts HPC Ring Cases And Related Parts (72-41-21, 04-350)
Stage 12 Rotor Path Case Assembly Inner Bore
21.3437
lntf
21.3484
0.0020
Stage 11 Rotor Path Case Assembly Spiggot Diameter
21.3504
0.0114
21.3551
lntf
Table 10. Fits and Clearances (all dimensions are in inches) NEW PART
WORN PART
DIMENSIONS
DIMENSIONS
PART IDENT
Size
Clearance
(Non-select)
REJECT IF
MORE THAN
LOCATION 1165
Stage 12 Rotor Path Case Assembly HPC Ring Cases And Related Parts HPC Ring Cases And Related Parts (72-41-21, 04-600)
Location With The Stage 11 Rotor Path Case Assembly HPC Ring Cases And Related Parts HPC Ring Cases And Related Parts (72-41-21, 04-350)
Stage 12 Rotor Path Case Assembly Inner Bore
542.13
lntf
542.25
0.05
Stage 11 Rotor Path Case Assembly Spiggot Diameter
542.30
0.29
542.42
lntf
SUBTASK 72-41-20-220-226-005 Reference Fits and Clearances of the HP Compressor Rear Cases and Vanes at Location 1165
Refer to Figure.
Reference dimensions at Location 1199. If required use the data written as a Note in TASK 72-41-21-200-000.
Table 11. Fits and Clearances (all dimensions are in inches) NEW PART
WORN PART
DIMENSIONS
DIMENSIONS
PART IDENT
Size
Clearance
(Non-select)
REJECT IF
MORE THAN
LOCATION 1199
Stage 12 Rotor Path Case Assembly HPC Ring Cases And Related Parts HPC Ring Cases And Related Parts (72-41-21, 04-600)
Location With The Stage 11 Rotor Path Case Assembly Location Dowel HPC Ring Cases And Related Parts HPC Ring Cases And Related Parts (72-41-21, 04-380)
Stage 12 Rotor Path Case Assembly Location Hole Bore
0.1638
Clear
0.1709
0.0054
Stage 11 Rotor Path Case Assembly Location Pin Diameter
0.1580
0.0129
0.1584
Clear
Table 12. Fits and Clearances (all dimensions are in inches) NEW PART
WORN PART
DIMENSIONS
DIMENSIONS
PART IDENT
Size
Clearance
(Non-select)
REJECT IF
MORE THAN
LOCATION 1199
Stage 12 Rotor Path Case Assembly HPC Ring Cases And Related Parts HPC Ring Cases And Related Parts (72-41-21, 04-600)
Location With The Stage 11 Rotor Path Case Assembly Location Dowel HPC Ring Cases And Related Parts HPC Ring Cases And Related Parts (72-41-21, 04-380)
Stage 12 Rotor Path Case Assembly Location Hole Bore
4.160
Clear
4.340
0.136
Stage 11 Rotor Path Case Assembly Location Pin Diameter
4.012
0.328
4.024
Clear
SUBTASK 72-41-20-220-226-006 Reference Fits and Clearances of the HP Compressor Rear Cases and Vanes at Location 1199
Refer to Figure.
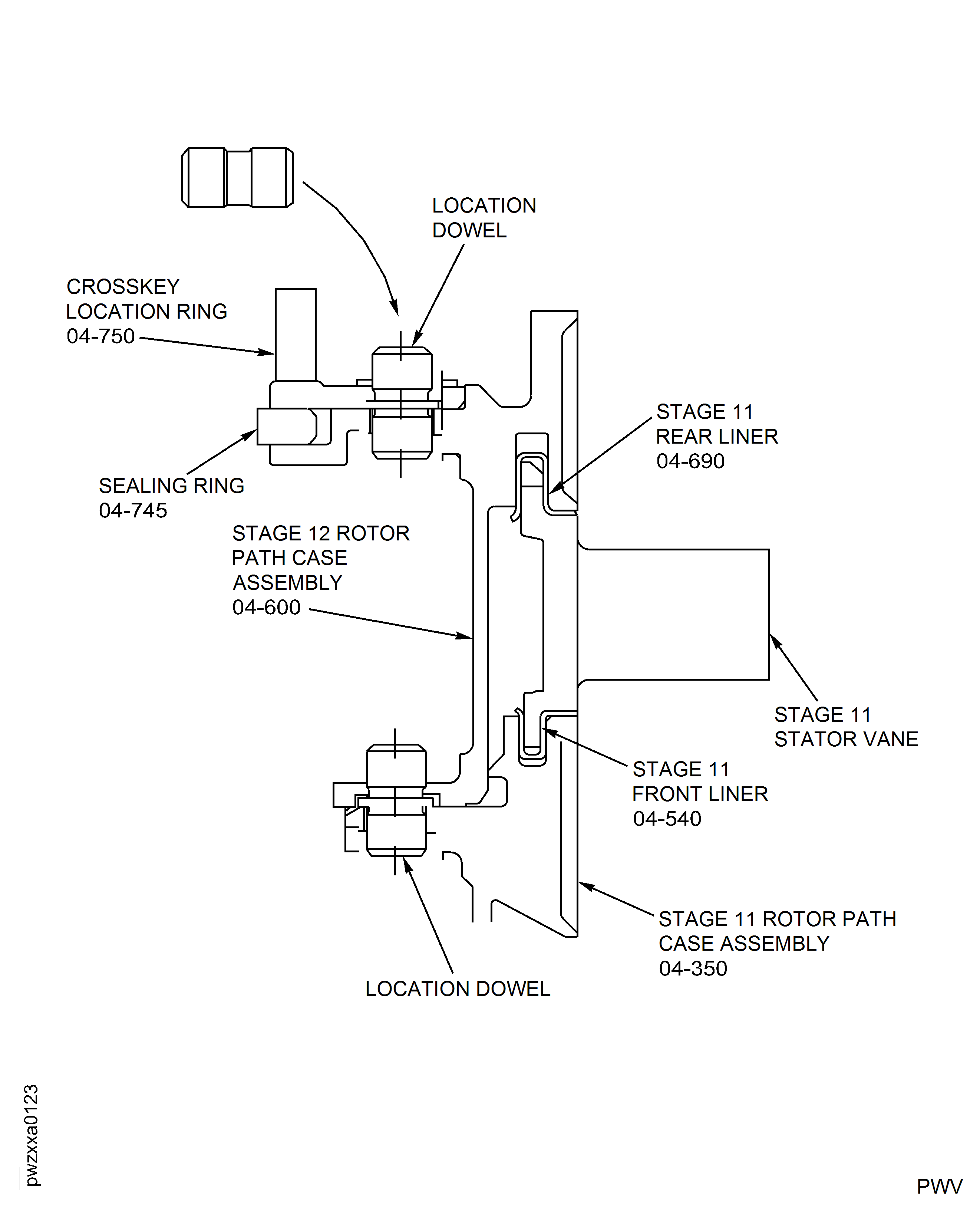
Put the Stage 11 Rotor Path Case Assembly front flange down on a clean work surface.
Use IAE 1R19693 Assembly tool 1 off to install the Stage 11 front liner. Make sure the liner touches the Stage 11 Rotor Path Case Assembly rear flange.
Measure and write down a record of the Stage 11 front liner split line clearance. The split line clearance must be 0.185 in. to 0.217 in. (4.70 mm to 5.50 mm).
Install the new HPC Ring Cases and Related Parts HPC Ring Cases And Related Parts (72-41-21, 04-540) Stage 11 front liner 1 off, into the slot in the rear flange of the Stage 11 Rotor Path Case Assembly.
Put the Stage 12 Rotor Path Case Assembly HPC Ring Cases And Related Parts HPC Ring Cases And Related Parts (72-41-21, 04-600) rear flange down on to a clean work surface.
Use IAE 1R19694 Assembly tool 1 off to install the new HPC Ring Cases And Related Parts HPC Ring Cases And Related Parts (72-41-21, 04-690) Stage 11 rear liner. Make sure the liner touches the Stage 12 Rotor Path Case Assembly front flange.
Measure and write down a record of the liner split line clearance. This must be 0.185 in. to 0.217 in. (4.70 mm to 5.50 mm).
Install the new HPC Ring Cases And Related Parts HPC Ring Cases And Related Parts (72-41-21, 04-690) Stage 11 rear liner 1 off, in to the slot in the front flange of the Stage 12 Rotor Path Case Assembly.
SUBTASK 72-41-20-440-281-001 Install the Stage 11 Stator Vane Front and Rear Liners
Refer to Figure.
Use the IAE 1R18501 Stop alignment tool 1 off and align the Stage 11 stator vane stop in the Stage 12 Rotor Path Case Assembly .
Install a washer HPC Ring Cases And Related Parts HPC Ring Cases And Related Parts (72-41-21, 04-589) and a nut HPC Ring Cases And Related Parts HPC Ring Cases And Related Parts (72-41-21, 04-588) on to the Stage 11 stator vane stop.
Torque the nut to 85 lbfin to 105 lbfin (10.00 Nm to 12.00 Nm).
Install the Stage 11 stator vane stops HPC Ring Cases And Related Parts HPC Ring Cases And Related Parts (72-41-21, 04-590) in to the Stage 12 Rotor Path Case Assembly HPC Ring Cases And Related Parts HPC Ring Cases And Related Parts (72-41-21, 04-600).
SUBTASK 72-41-20-440-281-002 Install the Stator Vane Stops in the Stage 12 Rotor Path Case Assembly
Install the four Stage 11 stop vanes in to the Stage 12 Rotor Path Case Assembly HPC Ring Cases And Related Parts HPC Ring Cases And Related Parts (72-41-21, 04-600) at the Stage 11 stator vane stops HPC Ring Cases And Related Parts HPC Ring Cases And Related Parts (72-41-21, 04-590). Engage the vanes in the Stage 12 Rotor Path Case Assembly. Make sure the Stage 11 stator vane stops are engaged in the slots in the Stage 11 stop vanes.
Push each of the Stage 11 stop vanes forward until the vane platform touches the Stage 11 rear liner HPC Ring Cases And Related Parts HPC Ring Cases And Related Parts (72-41-21, 04-690).
Push each Stage 11 stop vane in a clockwise direction until the slot in the vane platform touches the Stage 11 stator vane stop.
Install the Stage 11 stop vanes HPC Stator Vanes HPC Stator Vanes (72-41-22, 06-350).
Install the vanes in a clockwise direction. Engage each of the vanes in the Stage 12 Rotor Path Case Assembly. Make sure the platform of the first vane that is installed touches the platform of the Stage 11 stop vane. Push each subsequent vane clockwise as it is installed until the vane platforms touch.
Push each vane forward until the vane platform touches the Stage 11 front liner.
Install two Stage 11 stator vanes HPC Stator Vanes HPC Stator Vanes (72-41-22, 06-400).
Install one Stage 11 stator vane HPC Stator Vanes HPC Stator Vanes (72-41-22, 06-448).
Install two Stage 11 stator vanes HPC Stator Vanes HPC Stator Vanes (72-41-22, 06-400).
Install one Stage 11 undersize vane HPC Stator Vanes HPC Stator Vanes (72-41-22, 06-450).
Install one Stage 11 stator vane HPC Stator Vanes HPC Stator Vanes (72-41-22, 06-400).
Install one Stage 11 stator vane HPC Stator Vanes HPC Stator Vanes (72-41-22, 06-448).
Install two Stage 11 stator vanes HPC Stator Vanes HPC Stator Vanes (72-41-22, 06-400).
Install one Stage 11 stator vane HPC Stator Vanes HPC Stator Vanes (72-41-22, 06-448).
Install one Stage 11 stator vane HPC Stator Vanes HPC Stator Vanes (72-41-22, 06-400).
Install one Stage 11 undersize vane HPC Stator Vanes HPC Stator Vanes (72-41-22, 06-450).
Install one Stage 11 stator vane HPC Stator Vanes HPC Stator Vanes (72-41-22, 06-400).
Install one Stage 11 stator vane HPC Stator Vanes HPC Stator Vanes (72-41-22, 06-448).
Install two Stage 11 stator vanes HPC Stator Vanes HPC Stator Vanes (72-41-22, 06-400).
Install one Stage 11 stator vane HPC Stator Vanes HPC Stator Vanes (72-41-22, 06-448).
Install one Stage 11 stator vane HPC Stator Vanes HPC Stator Vanes (72-41-22, 06-400).
Install one Stage 11 undersize vane HPC Stator Vanes HPC Stator Vanes (72-41-22, 06-450).
Install one Stage 11 stator vane HPC Stator Vanes HPC Stator Vanes (72-41-22, 06-400).
Install one Stage 11 stator vane HPC Stator Vanes HPC Stator Vanes (72-41-22, 06-448).
Install one Stage 11 stator vane HPC Stator Vanes HPC Stator Vanes (72-41-22, 06-400).
Install one Stage 11 stator vane HPC Stator Vanes HPC Stator Vanes (72-41-22, 06-448).
Install two Stage 11 stator vanes HPC Stator Vanes HPC Stator Vanes (72-41-22, 06-400).
Install one Stage 11 retaining stator vane HPC Stator Vanes HPC Stator Vanes (72-41-22, 06-150).
Install the Stage 11 stator vanes between the two Stage 11 stop vanes adjacent to the 11 o'clock and 2 o'clock positions. Use the subsequent sequence.
Install the Stage 11 stator vanes HPC Stator Vanes HPC Stator Vanes (72-41-22, 06-400), HPC Stator Vanes HPC Stator Vanes (72-41-22, 06-448) and HPC Stator Vanes HPC Stator Vanes (72-41-22, 06-450) between the Stage 11 stop vanes adjacent to the 5 o'clock and 8 o'clock positions, and between the Stage 11 stop vanes adjacent to the 8 o'clock and 11 o'clock positions. Use the sequence given in Step.
Install one Stage 11 stator vane HPC Stator Vanes HPC Stator Vanes (72-41-22, 06-400).
Install one Stage 11 stator vanes HPC Stator Vanes HPC Stator Vanes (72-41-22, 06-448).
Install one Stage 11 stator vane HPC Stator Vanes HPC Stator Vanes (72-41-22, 06-400).
Install the Stage 11 left hand intrascope stator vane HPC Stator Vanes HPC Stator Vanes (72-41-22, 06-200).
Install the Stage 11 right hand intrascope stator vane HPC Stator Vanes HPC Stator Vanes (72-41-22, 06-250).
Install two Stage 11 stator vanes HPC Stator Vanes HPC Stator Vanes (72-41-22, 06-400).
Install one Stage 11 stator vanes HPC Stator Vanes HPC Stator Vanes (72-41-22, 06-448).
Install one Stage 11 stator vane HPC Stator Vanes HPC Stator Vanes (72-41-22, 06-400).
Install one Stage 11 undersize stator vane HPC Stator Vanes HPC Stator Vanes (72-41-22, 06-450).
Install one Stage 11 stator vanes HPC Stator Vanes HPC Stator Vanes (72-41-22, 06-448).
Install one Stage 11 stator vane HPC Stator Vanes HPC Stator Vanes (72-41-22, 06-400).
Install one Stage 11 stator vanes HPC Stator Vanes HPC Stator Vanes (72-41-22, 06-448).
Install one Stage 11 stator vane HPC Stator Vanes HPC Stator Vanes (72-41-22, 06-400).
Install one Stage 11 undersize vane HPC Stator Vanes HPC Stator Vanes (72-41-22, 06-450).
Install one Stage 11 stator vane HPC Stator Vanes HPC Stator Vanes (72-41-22, 06-400).
Install one Stage 11 stator vanes HPC Stator Vanes HPC Stator Vanes (72-41-22, 06-448).
Install one Stage 11 stator vane HPC Stator Vanes HPC Stator Vanes (72-41-22, 06-400).
Install one Stage 11 stator vanes HPC Stator Vanes HPC Stator Vanes (72-41-22, 06-448).
Install one Stage 11 stator vane HPC Stator Vanes HPC Stator Vanes (72-41-22, 06-400).
Install one Stage 11 undersize vane HPC Stator Vanes HPC Stator Vanes (72-41-22, 06-450).
Install two Stage 11 stator vanes HPC Stator Vanes HPC Stator Vanes (72-41-22, 06-400).
Install one Stage 11 stator vanes HPC Stator Vanes HPC Stator Vanes (72-41-22, 06-448).
Install two Stage 11 stator vanes HPC Stator Vanes HPC Stator Vanes (72-41-22, 06-400).
Install one Stage 11 retaining stator vane HPC Stator Vanes HPC Stator Vanes (72-41-22, 06-150).
Install the Stage 11 stator vanes between the two Stage 11 stop vanes adjacent to the 2 o'clock and 5 o'clock positions. Use the subsequent sequence.
Install IAE 1R18213 Alignment checking pin 1 off through the Stage 12 case borescope access hoIe. Make sure the alignment checking pin easily goes into the intrascope vanes hole.
Install the Stage 11 stator vanes.
SUBTASK 72-41-20-440-281-003 Install the Stage 11 Stator Vanes
Refer to Figure.
Put the Stage 12 Rotor Path Case Assembly HPC Ring Cases And Related Parts HPC Ring Cases And Related Parts (72-41-21, 04-600) rear flange down on a clean work surface.
Install the Heating blanket on to the Stage 12 Rotor Path Case Assembly.
Heat the Stage 12 Rotor Path Case Assembly to 167 deg F to 212 deg F (75 deg C to 100 deg C).
Remove the Heating blanket.

WARNING
YOU MUST PUT ON THE CORRECT PROTECTIVE GLOVES BEFORE YOU TOUCH THE STAGE 12 ROTOR PATH CASE ASSEMBLY.Install the Stage 12 Rotor Path Case Assembly on to the Stage 11 Rotor Path Case Assembly. Align the pin hole in the Stage 12 Rotor Path Case Assembly with the location pin in the Stage 11 Rotor Path Case Assembly.
Install the Stage 12 Rotor Path Assembly on to the Stage 11 Rotor Path Case Assembly and stator vanes. Engage the Stage 11 stator vanes front platforms in the liner in the Stage 11 Cone And Rotor Path Assembly.
Tighten the nuts in the correct sequence to pull the Stage 12 Rotor Path Case Assembly on to the Stage 11 Rotor Path Case Assembly.
Let the assembly become cool.
Do a check to make sure all the Stage 11 stator vanes can be moved in their locations. Any vane that cannot be moved must be replaced.
SUBTASK 72-41-20-440-281-004 Install the Stage 12 Rotor Path Case Assembly
Refer to Figure.
Measure and write down a record of the interplatform clearances at the Stage 11 stop vanes. Measure all four clearances.
SUBTASK 72-41-20-440-281-005 Measure the Interplatform Clearances
NOTE
To get the specified interplatform clearance at the four Stage 11 stop vanes HPC Stator Vanes HPC Stator Vanes (72-41-22, 06-350) use the Stage 11 undersize vanes HPC Stator Vanes HPC Stator Vanes (72-41-22, 06-450).NOTE
A maximum of ten undersize vanes can be used between the two adjacent stop vanes. These must be set at equal distances between the stop vanes.Remove the eight slave nuts and bolts which attach the Stage 12 Rotor Path Case Assembly HPC Ring Cases And Related Parts HPC Ring Cases And Related Parts (72-41-21, 04-600) to the Stage 11 Path Case Assembly HPC Ring Cases And Related Parts HPC Ring Cases And Related Parts (72-41-21, 04-350).
Install the Heating blanket on to the Stage 12 Rotor Path Case Assembly.
Heat the Stage 12 Rotor Path Case Assembly to 167 deg F to 212 deg F (75 deg C to 100 deg C).
Remove the Heating blanket.

WARNING
YOU MUST PUT ON THE CORRECT PROTECTIVE GLOVES BEFORE YOU TOUCH THE STAGE 12 ROTOR PATH CASE ASSEMBLY.
CAUTION
UNDERSIZE VANES MUST NOT BE INSTALLED ADJACENT TO THE STOP VANES, THE RETAINING VANES, THE INTRASCOPE VANES OR OTHER UNDERSIZE VANES.
CAUTION
UNDERSIZE VANES MUST NOT BE INSTALLED BETWEEN THE STAGE 11 INTRASCOPE VANES AND THE STAGE 11 STOP VANE ADJACENT TO THE 6 O'CLOCK POSITION.Remove the Stage 11 stator vanes HPC Stator Vanes HPC Stator Vanes (72-41-22, 06-448) and install the Stage 11 undersize vanes as necessary. One Stage 11 undersize vane will give an increase or decrease in the interplatform clearance of 0.016 in. (0.40 mm).
Install the Stage 12 Rotor Path Case Assembly as given in Step.
Measure and write a record of the interplatform clearances at the Stage 11 stop vanes as given in Step.
Remove the Stage 12 Rotor Path Case Assembly.
SUBTASK 72-41-20-440-281-006 Install the Stage 11 Undersize Vanes
Refer to Figure.
Locate the sealing ring HPC Ring Cases And Related Parts HPC Ring Cases And Related Parts (72-41-21, 04-745) on the Stage 12 Rotor Path Case Assembly HPC Ring Cases And Related Parts HPC Ring Cases And Related Parts (72-41-21, 04-600).
Remove the eight slave boIts installed in Step.
Put the cross key location ring front flange down on a clean work surface.
Install the Heating blanket on to the cross key location ring.
Heat the cross key location ring to 167 deg F to 212 deg F (75 deg C to 100 deg C).
Remove the heating blanket.

WARNING
YOU MUST PUT ON THE CORRECT PROTECTIVE GLOVES BEFORE YOU TOUCH THE CROSS KEY LOCATION RING.Install the cross key location ring on to the Stage 12 Rotor Path Case Assembly. Align the dowel hole in the cross key location ring with the location dowel in the Stage 12 Rotor Path Case Assembly.
Install the cross key location ring HPC Ring Cases And Related Parts HPC Ring Cases And Related Parts (72-41-21, 04-750).
Install the 47 bolts and 47 washers HPC Assembly HPC Assembly (72-41-00,01-646) through the Stage 12 rotor path ring.
lnstall 47 nuts HPC Assembly HPC Assembly (72-41-00, 01-642) and lightly torque the nuts.
Torque the 47 bolts, in the correct sequence to 36 lbfin to 45 lbfin (4.00 Nm to 5.00 Nm).
Install the 47 bolts HPC Assembly HPC Assembly (72-41-00, 01-644).
SUBTASK 72-41-20-440-281-007 Install the Sealing Ring, the Cross Key Location Ring
Figure: View through the HP Compressor Rear Cases and Vanes
View through the HP Compressor Rear Cases and Vanes

Figure: Fits and Clearances Locations
Fits and Clearances Locations

Figure: Locations for the Fits and Clearances
Locations for the Fits and Clearances

Figure: Install the Stage 11 Stator Vane Front and Rear Liners
Install the Stage 11 Stator Vane Front and Rear Liners

Figure: Install the Stator Vane Stops in the Stage 12 Rotor Path Case Assembly
Install the Stator Vane Stops in the Stage 12 Rotor Path Case Assembly

Figure: Install the Stage 11 Stator Vanes, Undersize Vanes and Stage 12 Rotor Path Case Assembly
Install the Stage 11 Stator Vanes, Undersize Vanes and Stage 12 Rotor Path Case Assembly

Figure: Install the Stage 11 Stator Vanes and Stage 12 Rotor Path Case Assembly
Install the Stage 11 Stator Vanes and Stage 12 Rotor Path Case Assembly

Figure: Install the Stage 11 Stator Vanes and Stage 12 Rotor Path Case Assembly
Install the Stage 11 Stator Vanes and Stage 12 Rotor Path Case Assembly

Figure: Install the Stage 11 Undersize Vanes
Install the Stage 11 Undersize Vanes

Figure: Measure the lnterplatform Clearances
Measure the lnterplatform Clearances

