Export Control
EAR Export Classification: Not subject to the EAR per 15 C.F.R. Chapter 1, Part 734.3(b)(3), except for the following Service Bulletins which are currently published as EAR Export Classification 9E991: SBE70-0992, SBE72-0483, SBE72-0580, SBE72-0588, SBE72-0640, SBE73-0209, SBE80-0024 and SBE80-0025.Copyright
© IAE International Aero Engines AG (2001, 2014 - 2021) The information contained in this document is the property of © IAE International Aero Engines AG and may not be copied or used for any purpose other than that for which it is supplied without the express written authority of © IAE International Aero Engines AG. (This does not preclude use by engine and aircraft operators for normal instructional, maintenance or overhaul purposes.).Applicability
All
Common Information
TASK 72-00-31-200-006-A00 LPC Fan Module - Examine The Inlet Cone, The Inlet Cone Fairing, And The LPC Fan Module (Level 2 Inspection Limits), Inspection-006
General
This TASK gives the procedure for the inspection of LP compressor (fan) module below soft time as given in the engine management program.
A ** following repair referenced in this inspection indicates that the repair is not yet published in the current revision of the manual and the part must be rejected. Contact IAE for additional information concerning FAA approved repair date.
Where applicable the inspections are done as well as those given in the interface inspections. Refer to TASK 72-00-00-200-000 to make sure the module can be put back into service to prevent further module disassembly.
The module will be sufficiently disassembled for the components to be examined as specified in accordance with this procedure. Refer to TASK 72-31-00-030-001.
The policy that is necessary for inspection is given in SPM TASK 70-20-01-200-501.
The practices and processes referred to in the procedure by the TASK/SUBTASK number are in the SPM.
Clean the inlet cone assembly. Refer to TASK 72-38-11-100-000. Degrease the inlet cone assembly, make sure that all dirt and debris have been removed before doing the inspection. Refer to SPM TASK 70-11-03-300-503.
Clean the inlet cone fairing assembly. Refer to TASK 72-38-11-100-000. Degrease the front cone retaining ring, make sure that all dirt and debris have been removed before doing the inspection. Refer to SPM TASK 70-11-03-300-503.
Clean the front blade retaining ring. Refer to TASK 72-31-13-100-001. Degrease the front blade retaining ring, make sure that all dirt and debris have been removed before doing the inspection. Refer to the SPM TASK 70-11-03-300-503.
Clean the annulus filler. Degrease the annulus filler, make sure that all dirt and debris have been removed before doing the inspection. Refer to SPM TASK 70-11-03-300-503.
Clean the fan blades. Refer to Step.
Clean the fan disc. Refer to Step.
Clean the rear blade retaining ring. Refer to TASK 72-31-12-100-000. Degrease the rear blade retaining ring, make sure that all dirt and debris have been removed before doing the inspection. Refer to SPM TASK 70-11-03-300-503.
It is not necessary to separate the rear retaining ring from the fan disc to carry out this inspection, unless it has already been done.
Reference
Refer to SPM for data on these items:
Definition of Damage, SPM TASK 70-02-02-350-501.
Inspection of Parts, SPM TASK 70-20-01-200-501.
NOTE
Preliminary Requirements
Pre-Conditions
NONESupport Equipment
NONEConsumables, Materials and Expendables
| Name | Manufacturer | Part Number / Identification | Quantity | Remark |
|---|---|---|---|---|
| CoMat 02-099 LINT-FREE CLOTH | LOCAL | CoMat 02-099 | ||
| CoMat 05-021 WATERPROOF SILICON CARBIDE | 44197 | CoMat 05-021 |
Spares
NONESafety Requirements
NONEProcedure
Pre SBE 70-0293: Varnish coating colored gray
Eroded.
More than in Step
Scored, gouged or grooved.
Pre SBE 70-0293: More than in (a)
SBE 70-0293: More than in Step
Missing coating (polyurethane and/or varnish coating).
Examine the outer surface at location 1.
More than in Step
Galled.
Examine the flange face at location 4.
SUBTASK 72-00-31-220-148 Examine the Inlet Cone

CAUTION
YOU MUST DO THE INSPECTIONS THAT FOLLOW IN CONJUNCTION WITH THE INTERFACE INSPECTIONS DEFINED IN TASK 72-38-11-200-000.Refer to Figure.
SBE 72-0318: Examine the strip seal at location 5.
SUBTASK 72-00-31-220-149 Examine the Inlet Cone Fairing
Refer to: Figure.
More than in Step
Galled.
Examine the blade abutment face at location 1.
More than in Step
Galled.
Examine the filler abutment face at location 2.
More than in Step
Galled.
Examine the disc abutment face at location 3.
More than in Step
Galled.
Examine the inlet cone abutment face at location 4.
More than in Step
Galled.
Examine the front face at location 5.
More than in Step
Scored.
Examine the snap diameter at location 8.
More than in Step
Scored.
Examine the snap diameter at location 9.
More than in Step
Nicks, dents or scratches.
Examine the outside diameter at location 10.
More than in Step
Scored.
Examine the pin holes at location 11.
Other than in Step
Examine the shank nuts at location 14.
More than in Step
Nicked, dented, scratched or gouged.
Examine the shank nut anti rotation land at location 19.
More than in Step
Gouged or rubbed.
Examine the locating pin holes at location 20.
SUBTASK 72-00-31-220-150 Examine the Front Blade Retaining Ring

CAUTION
YOU MUST DO THE INSPECTIONS THAT FOLLOW IN CONJUNCTION WITH THE INTERFACE INSPECTIONS DEFINED IN TASK 72-00-31-220-001.More than in Step
Nicked, dented, scratched or corrosion pitted.
More than in step Step
Missing anti-erosion coating.
More than in Step
Worn.
Repair, VRS1061 TASK 72-00-31-300-007 (REPAIR-007)
Missing dry film lubricant
Examine the trunnion surface at location 3.
Seals that are loose or not there
SUBTASK 72-00-31-220-151 Examine the Annulus Fillers

CAUTION
YOU MUST DO THE INSPECTIONS THAT FOLLOW IN CONJUNCTION WITH THE INTERFACE INSPECTIONS DEFINED IN TASK 72-00-31-220-001.Do not soak. Use a soft bristle brush or swab. Refer to the SPM TASK 70-11-26-300-503
Remove the soft dirt and the dust
Use clean dry air blast or CoMat 02-099 LINT-FREE CLOTH
Dry
NOTE
It is not necessary to remove existing dry film lubricant or the chocking pads from the blade root.Remove the soft dirt and dust from the fan blade.
Examine the fan blade for bends. Refer to Figure.
Surface texture smoother than CoMat 05-021 WATERPROOF SILICON CARBIDE
More than in Step
Leading edge condition.
Examine the leading edge profile. Refer to Figure.
Examine the fan blade at area Cr. Refer to Figure.
More than in Step
SBE 72-0375 or SBE 72-0384: Examine the root of the fan blade for Metco 58 coating of the dovetail root flank at location 6. Refer to Figure and Figure.
More than in Step
SBE 72-0375 or SBE 72-0384: Localised gouges and chips in Metco 58 coating.
SBE 72-0375 or SBE 72-0384: Flaking or debond of Metco 58 coating from the root flange
NOTE
Make sure that SBE 72-0386 is complied with appropriate intervals.Examine the fan blade roots. Refer to Figure.
SUBTASK 72-00-31-220-152 Examine the LP Compressor Blades (Fan Blades)

CAUTION
YOU MUST DO THE INSPECTIONS THAT FOLLOW IN CONJUNCTION WITH THE INTERFACE INSPECTIONS DEFINED IN TASK 72-00-31-220-002.Refer to Figure.
More than in Step
Galled.
Repair, VRS1134 TASK 72-00-31-300-008 (REPAIR-008)
Missing dry film lubricant
Examine the dovetail sides at location 1.
More than in Step
Corrosion pitting.
Examine the curvic teeth at location 2.
Do the torque check for reuse of the shank nuts. Refer to the SPM TASK 70-42-01-400-501.
Other than in Step
SUBTASK 72-00-31-220-153 Examine the Stage 1 Fan Disc (Fan Disc)
Refer to: Figure.
More than in Step
Worn.
Repair, VRS1135 TASK 72-00-31-300-009 (REPAIR-009)
Missing of dry film lubricant
Examine the locating holes at location 2.
More than in Step
Worn.
Examine the pin holes at location 4.
SUBTASK 72-00-31-220-154 Examine the Rear Blade Retaining Ring
Figure: Pre SBE 70-0293: Location on the Inlet Cone Assembly
Pre SBE 70-0293: Location on the Inlet Cone Assembly

Figure: Pre SBE 70-0293: Location on the Inlet Cone Assembly
Pre SBE 70-0293: Location on the Inlet Cone Assembly

Figure: Location on the Inlet Cone Fairing
Location on the Inlet Cone Fairing

Figure: Location on the Front Blade Retaining Ring
Location on the Front Blade Retaining Ring

Figure: Location of Dry Film Lubricant on the Annulus Filler
Sheet 1

Figure: Location of Dry Film Lubricant on the Annulus Filler
Sheet 2

Figure: Locations on the Fan Blade Assembly
Locations on the Fan Blade Assembly

Figure: Fan Blade Damage
Fan Blade Damage

Figure: Area F - Feather Tip Feature
Area F - Feather Tip Feature

Figure: Maximum Serviceable Limits
Maximum Serviceable Limits

Figure: Fan Blade Typical Leading Edge Profiles
Fan Blade Typical Leading Edge Profiles

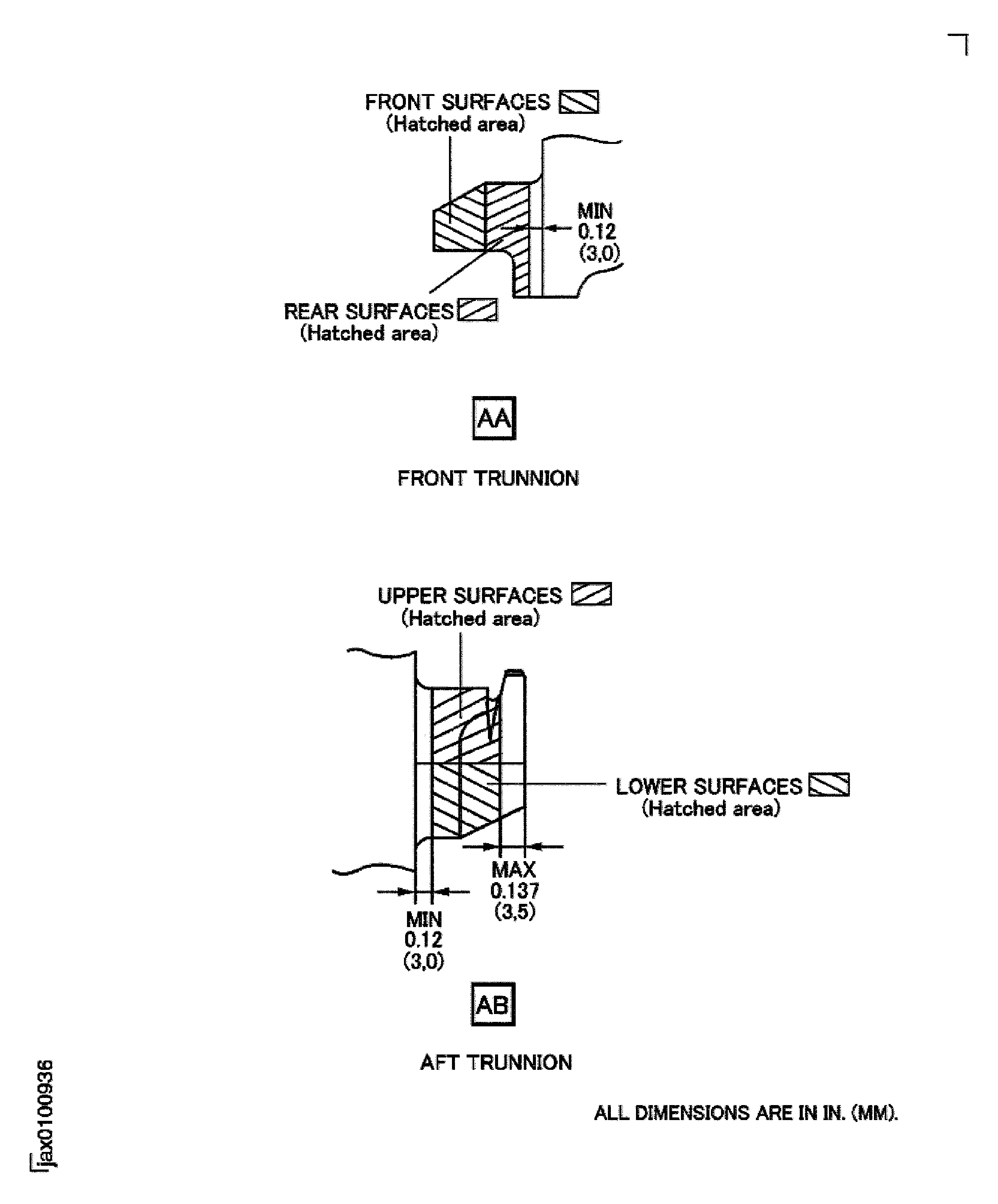
Figure: Dry Film Lubricant Areas
Dry Film Lubricant Areas

Figure: Fan Disc Inspection Locations
Fan Disc Inspection Locations

Figure: Location on the Rear Blade Retaining Ring
Location on the Rear Blade Retaining Ring

