Export Control
EAR Export Classification: Not subject to the EAR per 15 C.F.R. Chapter 1, Part 734.3(b)(3), except for the following Service Bulletins which are currently published as EAR Export Classification 9E991: SBE70-0992, SBE72-0483, SBE72-0580, SBE72-0588, SBE72-0640, SBE73-0209, SBE80-0024 and SBE80-0025.Copyright
© IAE International Aero Engines AG (2001, 2014 - 2021) The information contained in this document is the property of © IAE International Aero Engines AG and may not be copied or used for any purpose other than that for which it is supplied without the express written authority of © IAE International Aero Engines AG. (This does not preclude use by engine and aircraft operators for normal instructional, maintenance or overhaul purposes.).Applicability
All
Common Information
TASK 72-45-14-200-001-C00 HPT Stage 1 Blade - Examine, Inspection-001
General
This TASK gives the procedure for the inspection of the Stage 1 HPT Blade. For the other part of the Stage 1 HPT Blade assembly, refer to TASK 72-45-14-200-000 (INSPECTION-000).
Fig/item numbers in parentheses in the procedure agree with those used in the IPC.
The policy that is necessary for inspection is given in SPM TASK 70-20-00-200-501.
All the parts must be cleaned before any part is examined. Refer to SPM TASK 70-10-00-100-501.
Repair, VRS3702 TASK 72-45-14-300-030 (REPAIR-030), contains a special cleaning and inspection procedure for the under-platform stress corrosion. You must do this repair in conjunction with the inspection requirements in this task.
All parts must be visually examined for damage, corrosion and wear. Any defects that are not identified in the procedure must be referred to IAE.
The procedure for those parts which must have a crack test is given in SUBTASK 72-45-14-230-064. Do the test for cracks only if the visual examination of the blade is unsatisfactory.
Do not discard any part until you are sure there are no repairs available. Refer to the instructions in Repair before a discarded part is used again or oversize parts are installed.
Parts which should be discarded can be held although no repair is available. The repair of a discarded part could be shown to be necessary at a later date.
All parts must be examined to make sure that all the repairs have been completed satisfactorily.
The practices and processes referred to in the procedure by the TASK numbers are in SPM.
References
Refer to SPM for data on these items.
Definitions of Damage, SPM TASK 70-02-02-350-501
Metal Temperature Analysis (Nickel Base Alloys), SPM TASK 70-02-03-220-501
Procedure to Moderately Clean, SPM TASK 70-11-03-300-503
Cleaning, SPM TASK 70-12-09-120-501
Fluorescent Penetrant Inspection, SPM TASK 70-23-08-230-501
Shotpeening, SPM TASK 70-38-13-380-501
Radiograph Inspection Procedure, SPM TASK 70-26-01-260-501
Airflow - Turbine Blades and Vanes, SPM TASK 70-72-01-720-501
Ultrasonic Clean all Metal (But not Magnesium), SPM TASK 70-13-01-100-501
Inspection of Parts, SPM TASK 70-20-01-200-501
Precipitation Heat Treatment of Nickel Castings, SPM TASK 70-37-27-370-501.
Some data on these items is contained in this TASK. For more data on these items refer to SPM.
Method of Testing for Crack Indications:
Chemical Processes.
Surface Protection.
NOTE
NOTE
Preliminary Requirements
Pre-Conditions
NONESupport Equipment
| Name | Manufacturer | Part Number / Identification | Quantity | Remark |
|---|---|---|---|---|
| Oven | LOCAL | |||
| Oven | LOCAL | (Air furnace) | ||
| IAE 2P16372 Stage 1 HPT Blade Length Gage | 0AM53 | IAE 2P16372 | 1 | |
| IAE 2P16508 Reference card | 0AM53 | IAE 2P16508 | 1 |
Consumables, Materials and Expendables
| Name | Manufacturer | Part Number / Identification | Quantity | Remark |
|---|---|---|---|---|
| CoMat 03-010 ARGON GAS | LOCAL | CoMat 03-010 | ||
| CoMat 03-117 ARGON GAS | NEW | CoMat 03-117 | ||
| CoMat 03-118 ARGON GAS | LOCAL | CoMat 03-118 | ||
| CoMat 05-029 CAST STEEL SHOT, S110 | LOCAL | CoMat 05-029 | ||
| CoMat 05-030 CAST STEEL SHOT DELETED | LOCAL | CoMat 05-030 | ||
| CoMat 05-031 CAST STEEL SHOT DELETED | LOCAL | CoMat 05-031 | ||
| CoMat 05-032 CAST STEEL SHOT, S170 | 55807 | CoMat 05-032 | ||
| CoMat 05-033 CAST STEEL SHOT DELETED | LOCAL | CoMat 05-033 | ||
| CoMat 05-034 CAST STEEL SHOT DELETED | LOCAL | CoMat 05-034 | ||
| CoMat 05-138 SHOT, CAST STEEL, S110 | 81349 | CoMat 05-138 | ||
| CoMat 05-176 CAST STEEL SHOT, S170 | 42736 | CoMat 05-176 | ||
| CoMat 05-177 CUT WIRE SHOT,CW-14 | LOCAL | CoMat 05-177 | ||
| CoMat 05-178 CUT WIRE SHOT, CW-20 | LOCAL | CoMat 05-178 | ||
| CoMat 05-234 CAST STEEL SHOT, HIGH HARDNESS, S110 | LOCAL | CoMat 05-234 |
Spares
NONESafety Requirements
CAUTION
Procedure
Repair, VRS3816 TASK 72-45-14-300-041 (REPAIR-041) or Repair, VRS3824 TASK 72-45-14-300-043 (REPAIR-043).
Other than Step.
Examine the blade platform area for corrosion and burned areas.
Remove the coating, Repair, VRS3816 TASK 72-45-14-300-041 (REPAIR-041) or Repair, VRS3824 TASK 72-45-14-300-043 (REPAIR-043) and examine the cracks again. Reject if Step is not satisfied.
Other than Step.
Repair, VRS3816 TASK 72-45-14-300-041 (REPAIR-041) or Repair, VRS3824 TASK 72-45-14-300-043 (REPAIR-043).
Other than Step.
Examine the blade platform area for cracks, nicked coating, cracked coating and chipped coating. Use a white light and 10X magnification to examine for cracks.
Repair, VRS3816 TASK 72-45-14-300-041 (REPAIR-041) or Repair, VRS3824 TASK 72-45-14-300-043 (REPAIR-043).
Other than Step.
Examine the blade platform area for dents at Locations 2 and 3.
SUBTASK 72-45-14-220-080 Examine the Stage 1 HPT Blade (01-010) Blade Platform Area
Repair, VRS3816 TASK 72-45-14-300-041 (REPAIR-041) or Repair, VRS3824 TASK 72-45-14-300-043 (REPAIR-043).
Other than Step.
Examine the blade airfoil surfaces for burned areas, corrosion and erosion.
Repair, VRS3816 TASK 72-45-14-300-041 (REPAIR-041) or Repair, VRS3824 TASK 72-45-14-300-043 (REPAIR-043).
Repair, VRS3816 TASK 72-45-14-300-041 (REPAIR-041) or Repair, VRS3824 TASK 72-45-14-300-043 (REPAIR-043).
Nicked or chipped coating after Step and limits are not met.
Examine the blade airfoil surfaces for nicked and chipped coating.
Remove the coating, Repair, VRS3816 TASK 72-45-14-300-041 (REPAIR-041) or Repair, VRS3824 TASK 72-45-14-300-043 (REPAIR-043) and examine for cracks again. Reject if Step is not satisfied.
Other than Step.
Cracks in Area A.
Remove the coating, Repair, VRS3816 TASK 72-45-14-300-041 (REPAIR-041) or Repair, VRS3824 TASK 72-45-14-300-043 (REPAIR-043) and examine for cracks again. Reject if Step is not satisfied.
Other than Step.
Cracks in Area B.
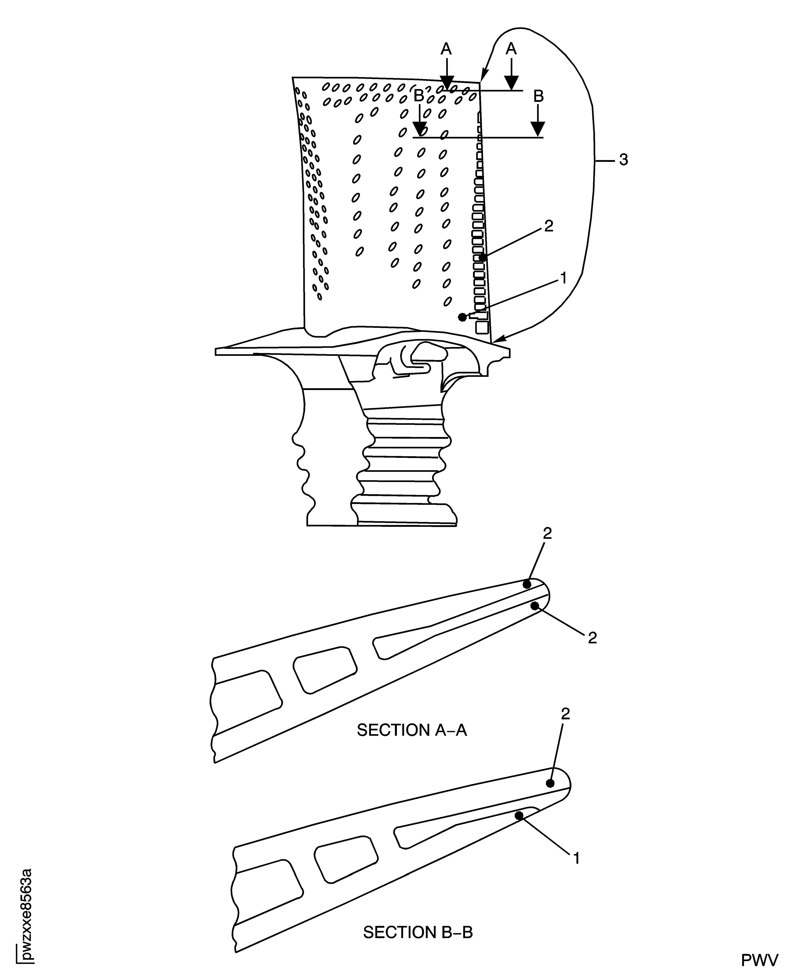
Examine the blade concave and convex surfaces and the leading edge cooling air holes for cracks. Use a white light and a 10X magnification.
Repair, VRS3816 TASK 72-45-14-300-041 (REPAIR-041) or Repair, VRS3824 TASK 72-45-14-300-043 (REPAIR-043).
Examine the blade concave and convex surfaces for dents.
SUBTASK 72-45-14-220-081 Examine the Stage 1 HPT Blade (01-010) Blade Airfoil
Refer to Figure.
Repair, VRS3702 TASK 72-45-14-300-030 (REPAIR-030).
Other than Step.
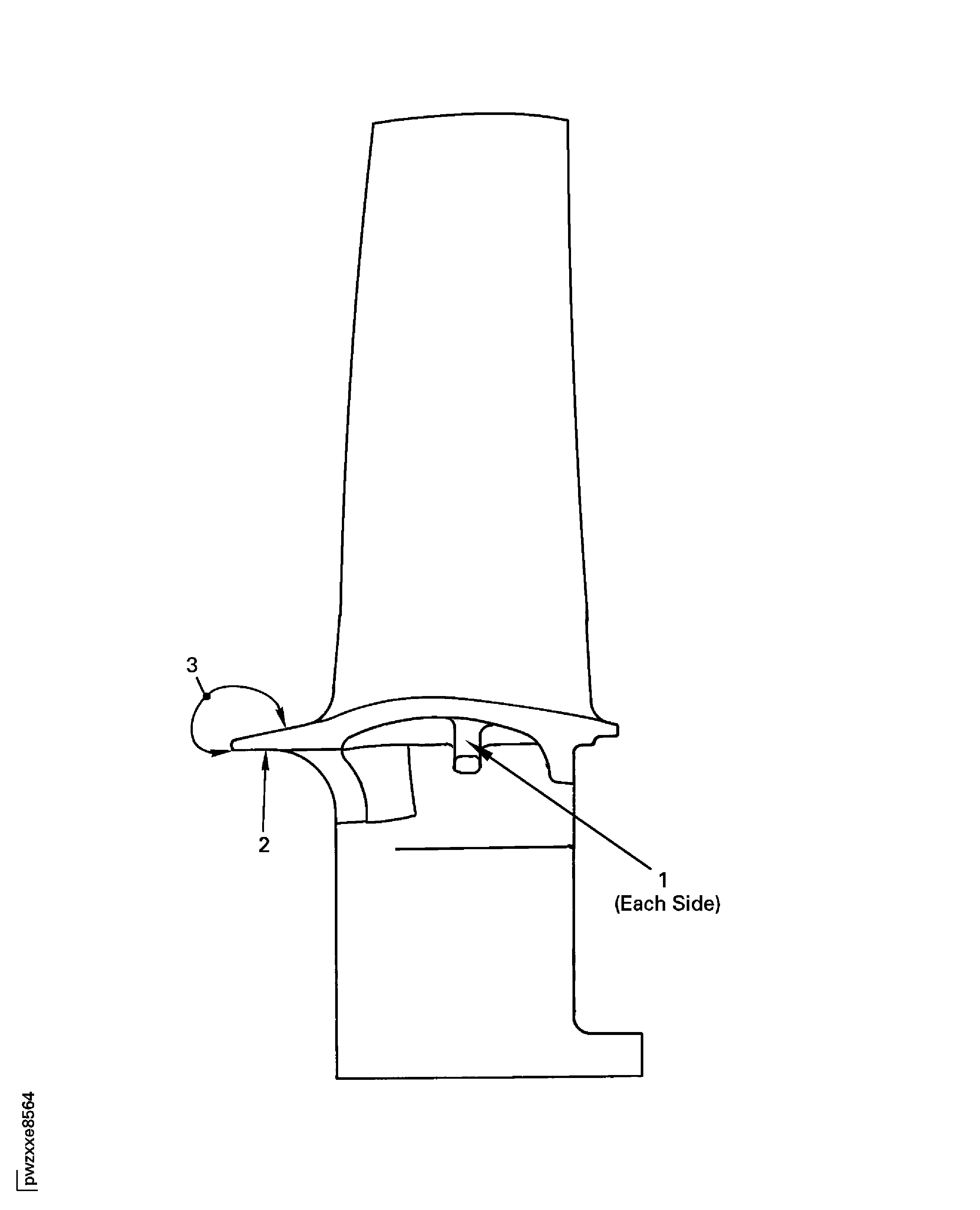
Examine the blade underplatform area for cracks and corrosion.
VRS3816 TASK 72-45-14-300-041 (REPAIR-041), or Repair, VRS3824 TASK 72-45-14-300-043 (REPAIR-043).
Other than Step.
Examine the blade underplatform area to confirm the presence of the protective coating in Area 1 using the heat tint examination in Step.
SUBTASK 72-45-14-220-082 Examine the Stage 1 HPT Blade (01-010) Underplatform Area
Refer to Figure.
Repair, VRS3810 TASK 72-45-14-300-040 (REPAIR-040) or Repair, VRS3816 TASK 72-45-14-300-041 (REPAIR-041) or Repair, VRS3824 TASK 72-45-14-300-043 (REPAIR-043).
Other than Step.
Examine the blade abrasive tip for chips that expose base metal.
Repair, VRS3810 TASK 72-45-14-300-040 (REPAIR-040) or Repair, VRS3816 TASK 72-45-14-300-041 (REPAIR-041), or Repair, VRS3824 TASK 72-45-14-300-043 (REPAIR-043).
Other than Step.
Examine the blade abrasive tip for cracks.
Repair, VRS3810 TASK 72-45-14-300-040 (REPAIR-040) or Repair, VRS3816 TASK 72-45-14-300-041 (REPAIR-041), or Repair, VRS3824 TASK 72-45-14-300-043 (REPAIR-043).
Other than Step.
Examine the blade abrasive tip for taper on the trailing edge at Location 4.
SUBTASK 72-45-14-220-083 Examine the Stage 1 HPT Blade (01-010) Abrasive Tip
Install the blade assembly into the IAE 2P16372 Stage 1 HPT Blade Length Gage 1 off.
Repair, VRS3810 TASK 72-45-14-300-040 (REPAIR-040) or Repair, VRS3816 TASK 72-45-14-300-041 (REPAIR-041) or Repair, VRS3824 TASK 72-45-14-300-043 (REPAIR-043).
Other than Step.
Use the dial indicator to measure the distance from the end surface of the gage to the surface of the trailing edge pin.
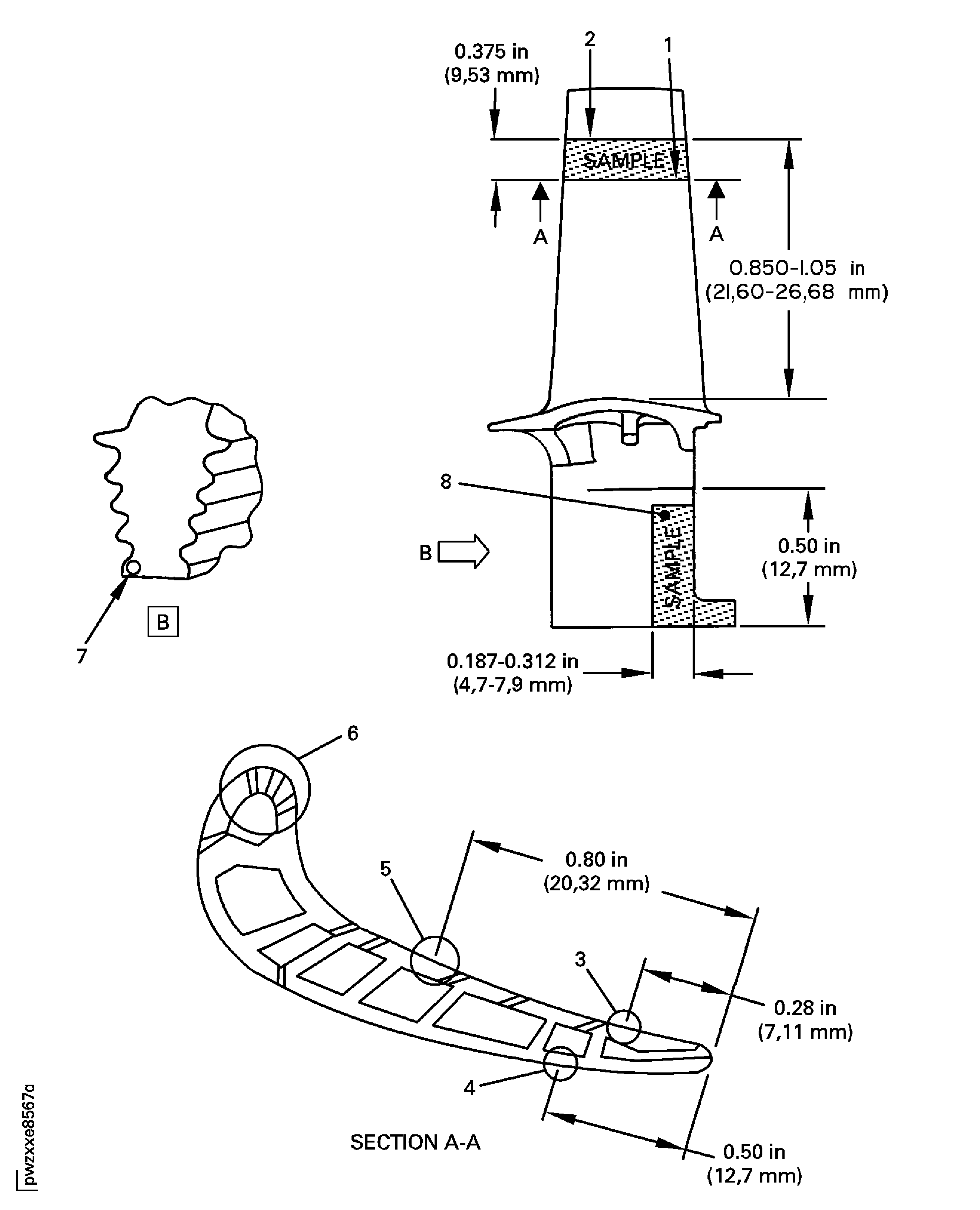
Examine the blade assembly for the blade length dimension.
SUBTASK 72-45-14-220-084 Examine the Stage 1 HPT Blade Assembly (01-010) Blade Length
Refer to Figure.
Repair, VRS3816 TASK 72-45-14-300-041 (REPAIR-041) or Repair, VRS3824 TASK 72-45-14-300-043 (REPAIR-043).
NOTE
An example of a crack is at Location 1.
Cracks at the trailing edge at Location 3
Examine the blade trailing edge for cracks. Use a white light and a 10X magnification.
Use a wire probe and power flush or pencil grit blast and high pressure air blast or Repair, VRS3357 TASK 72-45-14-300-005 (REPAIR-005).
Plugging.
Examine the blade trailing edge cooling air slots for plugging.
SUBTASK 72-45-14-220-062 Examine the Stage 1 HPT Blade (01-010) Trailing Edge
Refer to Figure.
Repair, VRS3816 TASK 72-45-14-300-041 (REPAIR-041) or Repair, VRS3824 TASK 72-45-14-300-043 (REPAIR-043).
Other than Step.
Examine the blade surface at Locations 2 and 3, for signs of rub with the stage 1 HPT duct segment seal or the stage 1 HPT vane platform.
SUBTASK 72-45-14-220-085 Examine the Stage 1 HPT Blade (01-010) Leading Edge Platform
Other than Step.
Examine the blade root attachment area for erosion, corrosion and pitting at Location 2.
Other than Step.
Examine the blade root attachment area for fretting and galling at Location 2.
Other than Step.
Examine the blade root attachment area for contact wear that is not equal (tooth to tooth and side to side) at Location 2.
Repair, VRS3042 TASK 72-45-14-300-030 (REPAIR-030).
Cracks on the top serration.
Other than Step.
Examine the blade root attachment area for pitting, nicks and cracks at Locations 2. Use a white light and a 10X magnification to examine for cracks.
Repair, VRS3702 TASK 72-45-14-300-030 (REPAIR-030).
Any corrosion or pitting in Areas 6 or 13. Area 6 includes fillet radius of three damper posts and buttresses
Repair, VRS3702 TASK 72-45-14-300-030 (REPAIR-030).
Other than Step.
Examine the blade underplatform area for corrosion and pitting.
SUBTASK 72-45-14-220-087 Examine the Stage 1 HPT Blade (01-010) Root Attachment Area
Other than Step.
Examine the blade root area for pitting at Location 1.
SUBTASK 72-45-14-220-088 Examine the Stage 1 HPT Blade (01-010) Root Area
Refer to Figure.
Repair, VRS3202 TASK 72-45-14-300-001 (REPAIR-001), or Repair, VRS3816 TASK 72-45-14-300-041 (REPAIR-041) or Repair, VRS3824 TASK 72-45-14-300-043 (REPAIR-043).
Sharp nicks.
Examine the blade root area for the blends and dents.
SUBTASK 72-45-14-220-067 Examine the Stage 1 HPT Blade Root Area
Refer to Figure.
NOTE
Blades that were at temperatures more than the limit of 2100 deg F (1148.9 deg C) at Location 3, all other locations have a limit of 2050 deg F (1121.1 deg C) for a short time will cause a change in the alloy microstructure of the blade.
In the case of an EGT overtemperature, such that the AMM requires metallurgical analysis, the stage 2 HPT blades must be examined for overtemperature even if the Stage 1 HPT Blades are not rejected for overtemperature.
Cut the blade at Location 1 to get the airfoil sample to be analyzed. Refer to SPM TASK 70-02-03-220-501.
NOTE
The small vee shaped groove will make a mark for the blade airfoil sample surface to be analyzed.Attach and polish the blade samples by SPM TASK 70-02-03-220-501 as follows:
Examine the microstructure of the blade samples, refer to SPM TASK 70-02-03-220-501 and SPM TASK 70-02-11-220-501.
SUBTASK 72-45-14-280-061 Examine the Stage 1 HPT Blade (01-010) for Overtemperature

CAUTION
FAILURE TO STRESS RELIEVE THE BLADE BEFORE FLUORESCENT PENETRANT EXAMINATION CAN CAUSE DAMAGE TO THE BLADE.Heat the blade to between 1950 deg F and 2000 deg F (1086 deg C and 1093 deg C) in an oven and hold for 30 minutes minimum to four hours in a vacuum or argon protected atmosphere. Use CoMat 03-010 ARGON GAS, CoMat 03-117 ARGON GAS or CoMat 03-118 ARGON GAS. Refer to SPM TASK 70-37-26-370-501.

WARNING
IT IS THE RESPONSIBILITY OF THE OPERATOR TO OBTAIN AND OBSERVE THE MANUFACTURERS MATERIAL SAFETY SHEETS FROM THE CONSUMABLE MATERIALS INFORMATION SUCH AS HAZARDOUS INGREDIENTS, PHYSICAL/CHEMICAL CHARACTERISTICS, FIRE, EXPLOSION, REACTIVITY, HEALTH HAZARD DATA, PRECAUTIONS FOR SAFE HANDLING, USE AND CONTROL MEASURES AND ALSO TO TAKE LOCAL REGULATIONS INTO CONSIDERATION.Stress relief the blade.
If you find any crack indications, make a temporary mark on the indications with one of the approved temporary markers in SPM TASK 70-09-00-400-501.
Heat the blade to between 1575 deg F and 1625 deg F (857 deg C and 885 deg C) in an oven and keep at this temperature for 32 hours. Refer to SPM TASK 70-37-27-370-501.
Precipitation heat treat (PHT) the blade assembly.
Use CoMat 05-029 CAST STEEL SHOT, S110, CoMat 05-030 CAST STEEL SHOT DELETED, CoMat 05-031 CAST STEEL SHOT DELETED, CoMat 05-032 CAST STEEL SHOT, S170, CoMat 05-033 CAST STEEL SHOT DELETED, CoMat 05-034 CAST STEEL SHOT DELETED, CoMat 05-138 SHOT, CAST STEEL, S110, CoMat 05-176 CAST STEEL SHOT, S170, CoMat 05-234 CAST STEEL SHOT, HIGH HARDNESS, S110 or CoMat 05-177 CUT WIRE SHOT,CW-14, CoMat 05-178 CUT WIRE SHOT, CW-20. Peen with an intensity of 6A. Refer to SPM TASK 70-38-13-380-501, SUBTASK 70-38-13-380-006.
Shot peen the blade root area by SPM TASK 70-38-13-380-501. Refer to Figure.
SUBTASK 72-45-14-230-064-001 Examine the Stage 1 HPT Blade (01-010) for Cracks
NOTE
Do this procedure only if the visual examination of the blade is unsatisfactory.
If you cannot do this procedure, do the procedure given in SUBTASK 72-45-14-230-064-002.

CAUTION
FAILURE TO STRESS RELIEVE THE BLADE BEFORE FLUORESCENT PENETRANT EXAMINATION CAN CAUSE DAMAGE TO THE BLADE.NOTE
Do this procedure only if the visual examination of the blade is unsatisfactory.
If you cannot do this procedure, do the procedure given in SUBTASK 72-45-14-230-064-001.
When you cannot stress relieve the blade, you must send the blade to the approved source that follows:
PRATT and WHITNEY AFTERMARKET SERVICES (PWAS)
Connecticut Airfoil Repair Operations (CARO)
400 Main St., Well 11
East Hartford, CT 06108-0969 USA
Tel: (860) 565-3922
Fax: (860) 557-8247
SUBTASK 72-45-14-230-064-002 Examine the Stage 1 HPT Blade (01-010) for Cracks
Moderately clean the blade by SPM TASK 70-11-03-300-503.

CAUTION
DO NOT DRY BLAST THE BLADE COATED AREA TOO MUCH. THIS CAUSES THE COATING TO BE REMOVED.Clean the blade by SPM TASK 70-12-09-120-501.
Repair, VRS3816 TASK 72-45-14-300-041 (REPAIR-041) or Repair, VRS3824 TASK 72-45-14-300-043 (REPAIR-043).
Blue color that is not shiny shows the blade has no coating.
Heat tint.
Examine the blade coating for heat tint.
SUBTASK 72-45-14-280-062 Examine the Stage 1 HPT Blade (01-010) Coating by Heat Tint
Refer to Figure.
Do a radiographic inspection in Positions A and B, Figure by SPM TASK 70-26-01-260-501.
NOTE
Surface indications that are acceptable to the visual inspection is not cause to be rejected by radiographic inspection.Power flush or Repair, VRS3357 TASK 72-45-14-300-005 (REPAIR-005).
NOTE
If there are any indications of shot peen and/or other forms of foreign material, e.g. metal chips or broken wire that are distinguishable by their shape, form or density, the parts shall be rejected.After cleaning the internal cavities refer to VRS3357, TASK 72-45-14-300-005 (REPAIR-005), unwanted metal and material are acceptable provided the size, density and location of the indication(s) has remained unchanged from step (2)(b). Refer to the limits in Table 801.
Unwanted material in the internal cavities.
Make an analysis on the radiographic indications.
Examine the blade for internal cracks and unwanted material by radiographic inspection.
SUBTASK 72-45-14-260-054 Examine the Stage 1 HPT Blade (01-010) for Internal Cracks and Unwanted Material by Radiographic Inspection
Do the airflow check by Repair, VRS3701 TASK 72-45-14-300-029 (REPAIR-029).
SUBTASK 72-45-14-280-068 Examine the Stage 1 HPT Blade Assembly (01-010) by the Airflow Check
NOTE
Do all the inspections and repairs on the blade assembly before you do the airflow check.Examine the base of the underplatform damper pins for casting voids by visual inspection with a white light and a minimum of 3X magnification. These voids must be smooth, shallow in depth and flat-bottomed. IAE 2P16508 Reference card 1 off shows an example of an acceptable casting void. These casting voids are a maximum of 0.030 in. (0.76 mm) in diameter. Any quantity of voids is permitted.
Examine the base of the underplatform damper pins for anomalies by visual inspection with a white light and a minimum of 10X magnification. Acceptable anomalies have a length of 0.070 in. (1.77 mm) or less. Indications that go from the centerline of the damper pin radius to the blade root, are not acceptable. Indications on the blade root are not acceptable. Any quantity of linear anomalies is permitted. IAE 2P16508 Reference card 1 off shows examples of acceptable linear anomalies. Cracks inside or which start from linear anomalies are not permitted. Fluorescent penetrant inspect questionable indications. Acceptable linear anomalies will not retain fluorescent penetrant fluid.
SUBTASK 72-45-14-230-060 Examine the Stage 1 HPT Blade (01-010) for Casting Flow Lines and Imperfections
Refer to Figure.
Other than Step.
Do the dimensional inspection to examine the blade width dimension at Location 1.
SUBTASK 72-45-14-220-102 Examine the Stage 1 HPT Blade (01-010) for Blade Width Dimensions

CAUTION
YOU MUST DO AN INSPECTION FOR ALL THE SIXTY FOUR (64) BLADES INDIVIDUALLY. IF THE INDIVIDUAL INSPECTION IS UNSATISFACTOY, IT CAN CAUSE FIT PROBLEMS DURING ASSEMBLY PROCEDURE.
Figure: Stage 1 HPT Blade Platform Inspection Locations
Stage 1 HPT Blade Platform Inspection Locations

Figure: Stage 1 HPT Blade Airfoil Inspection Locations
Stage 1 HPT Blade Airfoil Inspection Locations

Figure: Stage 1 HPT Blade Underplatform Coating Inspection Locations
Stage 1 HPT Blade Underplatform Coating Inspection Locations

Figure: Stage 1 HPT Blade Abrasive Tip Inspection Locations
Stage 1 HPT Blade Abrasive Tip Inspection Locations

Figure: Stage 1 HPT Blade Trailing Edge Inspection Locations
Stage 1 HPT Blade Trailing Edge Inspection Locations

Figure: Stage 1 HPT Blade Platform Surfaces Inspection Locations
Stage 1 HPT Blade Platform Surfaces Inspection Locations

Figure: Stage 1 HPT Blade Root and Attachment Area Inspection Locations
Sheet 1

Figure: Stage 1 HPT Blade Root and Attachment Area Inspection Locations
Sheet 2

Figure: Stage 1 HPT Blade Root and Attachment Area Inspection Locations
Sheet 3

Figure: Stage 1 HPT Blade Metal Temperature Analysis Locations
Stage 1 HPT Blade Metal Temperature Analysis Locations

Figure: Stage 1 HPT Blade Assembly Shot Peen Locations
Stage 1 HPT Blade Assembly Shot Peen Locations

Figure: Excess Metal and Foreign Material Limits (After Cleaning)
Excess Metal and Foreign Material Limits (After Cleaning)

Figure: Stage 1 HPT Blade Radiographic Positions Inspection Locations
Stage 1 HPT Blade Radiographic Positions Inspection Locations

Figure: X-ray Inspection Internal Cavity
X-ray Inspection Internal Cavity

Figure: Stage 1 HPT Blade Assembly Casting Flow Line Inspection
Stage 1 HPT Blade Assembly Casting Flow Line Inspection

Figure: Stage 1 HPT Blade Root and Attachment Area Inspection Locations
Stage 1 HPT Blade Root and Attachment Area Inspection Locations

Figure: Stage 1 HPT Blade Dimensional Inspection for Blade Width
Stage 1 HPT Blade Dimensional Inspection for Blade Width

