Export Control
EAR Export Classification: Not subject to the EAR per 15 C.F.R. Chapter 1, Part 734.3(b)(3), except for the following Service Bulletins which are currently published as EAR Export Classification 9E991: SBE70-0992, SBE72-0483, SBE72-0580, SBE72-0588, SBE72-0640, SBE73-0209, SBE80-0024 and SBE80-0025.Copyright
© IAE International Aero Engines AG (2001, 2014 - 2021) The information contained in this document is the property of © IAE International Aero Engines AG and may not be copied or used for any purpose other than that for which it is supplied without the express written authority of © IAE International Aero Engines AG. (This does not preclude use by engine and aircraft operators for normal instructional, maintenance or overhaul purposes.).Applicability
All
Common Information
TASK 72-31-11-200-002-D00 LPC Fan Blade - Examine The LPC Fan Blade
General
This TASK gives the procedure for the inspection of the LPC rotor blade assembly. For the other LP compressor blades and fillers parts, refer to TASK 72-31-11-200-000 (INSPECTION/CHECK-000).
The policy that is necessary for inspection is given in the SPM TASK 70-20-01-200-501.
All the parts must be cleaned before any part is examined. Refer to TASK 72-31-11-100-000 (CLEANING-000).
All parts must be visually examined for damage, corrosion and wear. Any defects that are not identified in the procedure must be referred to IAE.
The procedure for those parts which must have a crack test is given in Step. Do the test before the part is visually examined.
Following the crack test procedure make sure that fluorescent penetrant is thoroughly removed from fan blade root coating
Do not discard any part until you are sure there are no repairs available. Refer to the instructions in Repair before a discarded part is used again or oversize parts are installed.
Parts which should be discarded can be held although no repair is available. The repair of a discarded part could be shown to be necessary at a later date.
All parts must be examined to make sure that all the repairs have been completed satisfactorily.
The practices and processes referred to in the procedure by the TASK numbers are in the SPM.
References
Refer to the SPM for data on these items.
Definitions of Damage, SPM TASK 70-02-02-350-501
Inspection of Parts, SPM TASK 70-20-01-200-501
Some data on these items is contained in this TASK. For more data on these items refer to the SPM.
Method of Testing for Crack Indications
Chemical Processes
Surface Protection
NOTE
Preliminary Requirements
Pre-Conditions
NONESupport Equipment
| Name | Manufacturer | Part Number / Identification | Quantity | Remark |
|---|---|---|---|---|
| IAE 3R19397 Perspex template c/c Assembly A and B | 0AM53 | IAE 3R19397 | 1 | |
| IAE 3R19399 Perspex template c/c Assembly A and B | 0AM53 | IAE 3R19399 | 1 |
Consumables, Materials and Expendables
NONESpares
NONESafety Requirements
NONEProcedure
Transient acoustic propagating (TAP) examine for crack. Refer to TASK 72-00-00-200-000 (INSPECTION/CHECK-000).
PART IDENT
TASK/SUBTASK
LPC rotor blade assembly
TASK 72-00-00-200-000 (INSPECTION/CHECK)
SUBTASK 72-31-11-280-056 Examine the LPC Rotor Blade Assembly (01-300) for Cracks Indications
Do the eddy current inspection of the leading edge for cracks, refer to TASK 72-00-00-200-000 (INSPECTION/CHECK).
PART IDENT
TASK/SUBTASK
LPC rotor blade assembly
TASK 72-00-00-200-000 (INSPECTION/CHECK)
SUBTASK 72-31-11-250-007 Examine the LPC Rotor Blade Assembly (01-300) for Leading Edge Cracks
Do the ultrasonic inspection of the dovetail for debond at location 6. Refer to TASK 72-00-00-200-000 (INSPECTION/CHECK).
PART IDENT
TASK/SUBTASK
LPC rotor blade assembly
TASK 72-00-00-200-000 (INSPECTION/CHECK)
SUBTASK 72-31-11-270-010 Examine the LPC Rotor Blade Assembly (01-300) for Debond at Dovetail Location
Do the C scan inspection and examine for panel defects and cracks. Refer to TASK 72-00-00-200-000 (INSPECTION/CHECK).
PART IDENT
TASK/SUBTASK
LPC rotor blade assembly
TASK 72-00-00-200-000 (INSPECTION/CHECK)
SUBTASK 72-31-11-220-149 Examine the LPC Rotor Blade Assembly (01-300) for Panel Defects
Clean the parts. Refer to TASK 72-31-11-100-000, (CLEANING-000).
Moderately clean the components (immersion), repeat three times. Refer to the SPM TASK 70-11-03-300-503, SUBTASK 70-11-03-300-001-001.
Following the crack test procedure make sure that fluorescent penetrant is thoroughly removed from fan blade root coating.
SUBTASK 72-31-11-230-077 Examine the LPC Rotor Blade Assembly (01-300) for Cracks
Repair, VRS1003TASK 72-31-11-300-008 (REPAIR-008)
Non-critical areas.
More than in Step and up to 0.012 in (0.30 mm) in depth
Repair, VRS1003 TASK 72-31-11-300-008 (REPAIR-008)
More than inStep
Critical area 1.
Repair, VRS1003, TASK 72-31-11-300-008 (REPAIR-008)
More than in Step
Critical area 2.
Accept and apply Repair, VRS1724 TASK 72-31-11-300-026 (REPAIR-026)
More than in Step and up to 0.015 in. (0.38 mm) in depth provided panel thickness is not more than 10 percent below the minimum limit quoted on the template after the blend repair
Repair, VRS1003 TASK 72-31-11-300-008 (REPAIR-008)
More than in Step
Critical area 3.
Accept and apply Repair, VRS1724 TASK 72-31-11-300-026 (REPAIR-026)
More than in Step and up to 0.015 in. (0.38 mm) in depth provided panel thickness is not more than 5 percent below the minimum limit quoted on the template after the blend repair
Repair, VRS1003 TASK 72-31-11-300-008(REPAIR-008)
More than in Step
Critical area 4.
Nicked, scored, scratched or dented.
Repair, VRS1025 TASK 72-31-11-300-010 (REPAIR-010)
More than in Step
Surface finish.
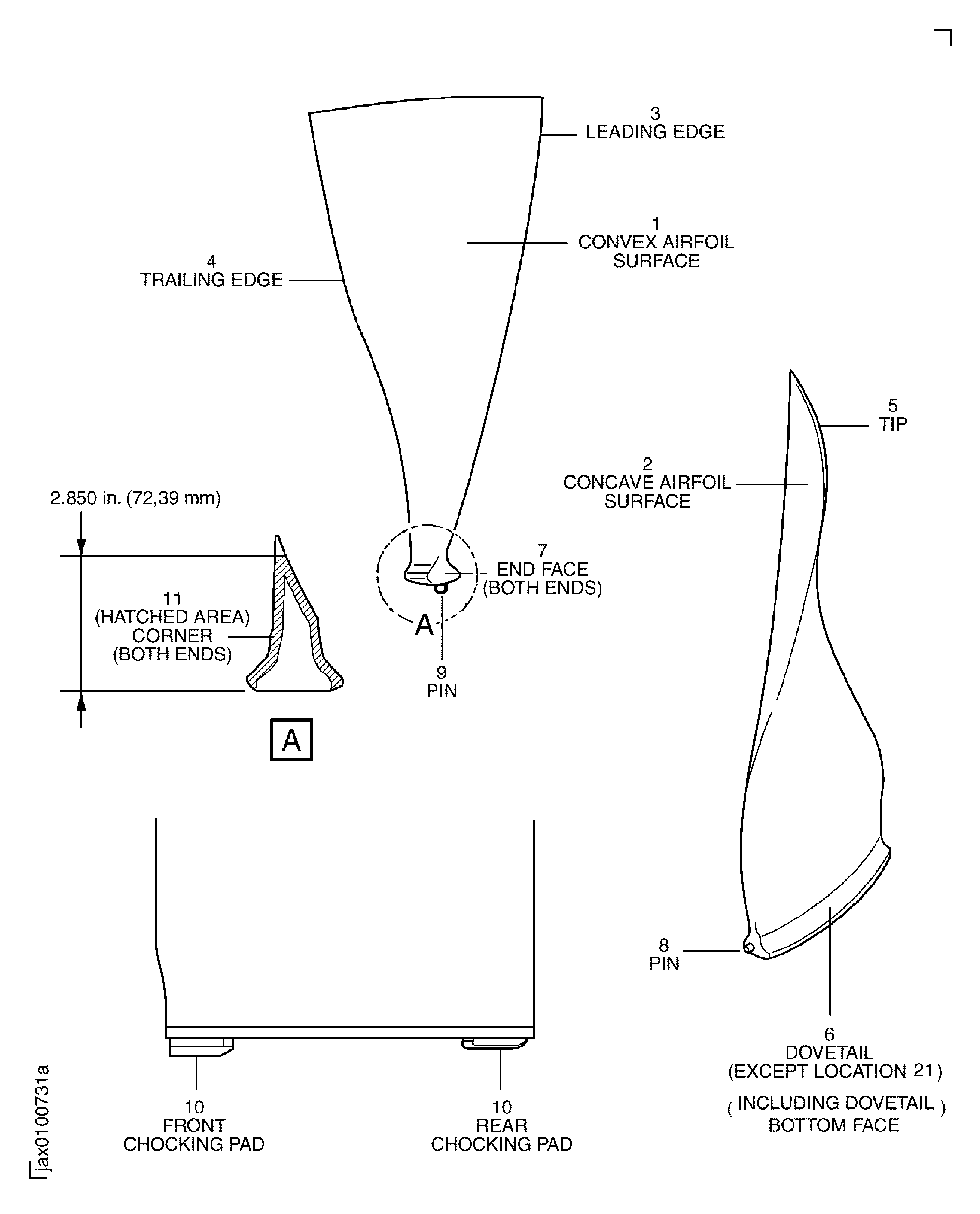
Examine the concave and convex airfoil surfaces at locations 1 and 2.
Repair, VRS1003, TASK 72-31-11-300-008 (REPAIR-008)
More than in Step
Galled or scored.
NOTE
This inspection gives an acceptance limit with no dressing requirement. If airfoil dressing is specified at another part of inspection, then all damage must be repaired.Examine the concave and convex airfoil surfaces at locations 1 and 2 in the contact area with the annulus filler.
SUBTASK 72-31-11-220-150 Examine the LPC Rotor Blade Assembly (01-300) Concave and Convex Airfoil Surfaces
Repair, VRS1064, TASK 72-31-11-300-030 (REPAIR-030)
Non-critical area.
Eroded.
Repair, VRS1002, TASK 72-31-11-300-007 (REPAIR-007)
Examine the leading edge at location 3.
SUBTASK 72-31-11-220-151 Examine the LPC Rotor Blade Assembly (01-300) Leading Edge
Repair, VRS1002 TASK 72-31-11-300-007 (REPAIR-007)
Damage not in Step
Examine the trailing edge at location 4.
SUBTASK 72-31-11-220-152 Examine the LPC Rotor Blade Assembly (01-300) Trailing Edge
Repair, VRS1002 TASK 72-31-11-300-007 (REPAIR-007)
Damaged
Examine the blade tip at location 5.
SUBTASK 72-31-11-220-153 Examine the Rotor Blade Assembly (01-300) Blade Tip
Repair, VRS1066 TASK 72-31-11-300-031 (REPAIR-031)
Less than 0.016 in. (0.42 mm) in depth
More than in Step
Nicked, scored, scratched or dented.
Examine the dovetail at location 6 except location 21.
Repair VRS1067 TASK 72-31-11-300-032, (REPAIR-032)
More than in Step provided the underlying titanium is not scored
More than in Step
Scoring of root flank Metco 58 coating.
Repair, VRS1067 TASK 72-31-11-300-032, (REPAIR-032)
More than in Step provided the underlying titanium is not nicked or dented
More than in Step
Localised gouges or chips in Metco 58 coating.
Repair, VRS1067 TASK 72-31-11-300-032, (REPAIR-032)
Flaking or debond of Metco 58 from root flanks
Examine the dovetail at location 21.
SUBTASK 72-31-11-220-231 Examine the LPC Rotor Blade Assembly (01-300) Dovetail
Repair, VRS1066 TASK 72-31-11-300-031, (REPAIR-031)
Up to 0.006 in (0.15 mm) in depth
More than in Step
Nicked, scored, scratched, dented or galled.
Examine the faces at location 7.
SUBTASK 72-31-11-220-154 Examine the LPC Rotor Blade Assembly (01-300) Dovetail End Faces
Repair, VRS1028 TASK 72-31-11-300-013, (REPAIR-013)
Unbond
Repair, VRS1028 TASK 72-31-11-300-013, (REPAIR-013)
Missing
Examine the chocking pads at location 10.
SUBTASK 72-31-11-220-157 Examine the LPC Rotor Blade Assembly (01-300) Chocking Pads
Repair, VRS1066 TASK 72-31-11-300-031, (REPAIR-031)
Up to 0.012 in (0.30 mm) in depth
Nicked, scored, scratched, dented or galled.
Examine the corner at location 11.
SUBTASK 72-31-11-220-158 Examine the LPC Rotor Blade Assembly (01-300) Corner
Refer to Figure.
Repair, VRS1021 TASK 72-31-11-300-011, (REPAIR-011)
On completion of all the blade repairs, apply dry film lubricant at dovetail location
SUBTASK 72-31-11-380-063 Apply Dry Film Lubricant at Dovetail Location
Figure: Locations on the LPC Rotor Blade Assembly
Sheet 1

Figure: Locations on the LPC Rotor Blade Assembly
Sheet 2

Figure: Locations on the LPC Rotor Blade Assembly
Sheet 3

Figure: Locations on the LPC Rotor Blade Assembly
Sheet 4

Figure: LPC Rotor Blade Assembly
LPC Rotor Blade Assembly

Figure: LPC Rotor Blade Assembly
LPC Rotor Blade Assembly

