Export Control
EAR Export Classification: Not subject to the EAR per 15 C.F.R. Chapter 1, Part 734.3(b)(3), except for the following Service Bulletins which are currently published as EAR Export Classification 9E991: SBE70-0992, SBE72-0483, SBE72-0580, SBE72-0588, SBE72-0640, SBE73-0209, SBE80-0024 and SBE80-0025.Copyright
© IAE International Aero Engines AG (2001, 2014 - 2021) The information contained in this document is the property of © IAE International Aero Engines AG and may not be copied or used for any purpose other than that for which it is supplied without the express written authority of © IAE International Aero Engines AG. (This does not preclude use by engine and aircraft operators for normal instructional, maintenance or overhaul purposes.).Applicability
All
Common Information
TASK 72-41-15-200-001-B00 HP Compressor Stage 3 Rotor Blade - Examine, Inspection-001
General
This TASK gives the procedure for the inspection of the HP Compressor Stage 3 Rotor Blades.
Nicks and dents 0.005 in. (0.13 mm) or less are acceptable without limit to the airfoil and gas washed surface of the platforms.
Fig/item numbers in parentheses in the procedure agree with those given in the IPC. Only the primary Fig/item numbers are used. For the service bulletin alpha variants refer to the IPC.
The policy that is necessary for inspection is given in SPM TASK 70-20-01-200-501.
All the parts must be cleaned before any part is examined.
All the parts must be visually examined for damage, corrosion and wear. Any defects that are not identified in the procedure must be referred to IAE.
The procedure for those parts which must have a crack test is given in Step Do the crack test before the part is visually examined.
Do not discard any part until you are sure there are no repairs available. Refer to the instructions in repair before a discarded part is used again or oversize parts are installed.
Parts which should be discarded can be held although no repair is available. The repair of a discarded part can be shown to be necessary at a subsequent date.
All the parts must be examined to make sure that all the repairs have been completed satisfactorily.
The practices and processes referred to in the procedure by the TASK/SUBTASK number are in SPM.
References
Refer to SPM for data on these items:
Definition of Damage, SPM TASK 70-02-02-350-501,
Inspection of Parts, SPM TASK 70-20-01-200-501.
Some data on these items are contained in this TASK. For more data on these items refer to SPM:
Method of Testing for Crack Indications,
Chemical Processes,
Surface Protection.
Preliminary Requirements
Pre-Conditions
NONESupport Equipment
| Name | Manufacturer | Part Number / Identification | Quantity | Remark |
|---|---|---|---|---|
| Transducer | LOCAL | Transducer | 8 mm diameter - to suit IAE 3R19815 | |
| Indicator tower | LOCAL | Indicator tower | to suit IAE 3R19815 | |
| IAE 3R19817 Master blade | 0AM53 | IAE 3R19817 | 1 | |
| IAE 3R19815 Clapper width checking fixture | 0AM53 | IAE 3R19815 | 1 | |
| IAE 3R19816 Inspection jaws | 0AM53 | IAE 3R19816 | 1 |
Consumables, Materials and Expendables
NONESpares
NONESafety Requirements
NONEProcedure
Clean the parts. Refer to TASK 72-41-15-100-000 (CLEANING-000).
SUBTASK 72-41-15-230-098 Examine the Stage 3 Rotor Blades for Cracks
Repair, VRS6635 TASK 72-41-15-300-053 (REPAIR-053) if necessary. Repair, VRS6236 TASK 72-41-15-300-035 (REPAIR-035) or Repair, VRS9297 TASK 72-41-15-300-058 (REPAIR-058). Repair, VRS6616 TASK 72-41-15-300-052 (REPAIR-052) if necessary.
More than Step
Make sure the hard coating is intact and check the clapper abutment face for wear.
Repair, VRS6635 TASK 72-41-15-300-053 (REPAIR-053) if necessary. Repair, VRS6236 TASK 72-41-15-300-035 (REPAIR-035) or Repair, VRS9297 TASK 72-41-15-300-058 (REPAIR-058). Repair, VRS6616 TASK 72-41-15-300-052 (REPAIR-052) if necessary.
Less than Step
Measure the clapper width along plane AM.
SUBTASK 72-41-15-220-280 Examine the Stage 3 Rotor Blades Clapper Hard Coating at Location 10
Refer to Figure.
Repair, VRS6009 TASK 72-41-15-300-001 (REPAIR-001)
Eroded
Repair, VRS6009 TASK 72-41-15-300-001 (REPAIR-001)
More than in Step
Nicks or dents
Accept.
If stylus does not hesitate or catch along the airfoil chord.
Reject.
If stylus hesitates or catches on the airfoil chord.
Along the Airfoil Chord - Inspect with SPM TASK 70-21-00-220-501 with a 0.020 in. (0.50 mm) radius stylus.
Reject.
Along the span of the airfoil surface.
Scored.
SUBTASK 72-41-15-220-269 Examine the Stage 3 Rotor Blades Concave and Convex Airfoil Surfaces at Locations 1 and 2
Refer to Figure.
Other than in Step if the repair identification symbol and /2 is engraved adjacent to the part number
Repair, VRS6065 TASK 72-41-15-300-020 (REPAIR-020)
Examine the blade root to find if VRS6065 is completed
SUBTASK 72-41-15-220-270-A00 Examine the Stage 3 Rotor Blades Concave and Convex Airfoil Surface Finish at Locations 1 and 2 (SBE 72-0487)
Refer to Figure.
Other than in Step if the repair identification symbol and /2 is engraved adjacent to the part number
Repair, VRS6065 TASK 72-41-15-300-020 (REPAIR-020)
Examine the blade root to find if VRS6065 has been completed
SUBTASK 72-41-15-220-270-B00 Examine the Stage 3 Rotor Blades Concave and Convex Airfoil Surface Finish at Locations 1 and 2 (SBE 72-0561)
Refer to Figure.
Repair, VRS6009 TASK 72-41-15-300-001 (REPAIR-001)
Cracked or eroded
Repair, VRS6009 TASK 72-41-15-300-001 (REPAIR-001)
More than in Step
Nicks or dents
SUBTASK 72-41-15-220-271 Examine the Stage 3 Rotor Blades Leading Edge at Location 3
Refer to Figure.
Repair, VRS6009 TASK 72-41-15-300-001 (REPAIR-001)
Eroded
Repair, VRS6009 TASK 72-41-15-300-001 (REPAIR-001)
More than in Step
Nicks or dents
SUBTASK 72-41-15-220-272 Examine the Stage 3 Rotor Blades Trailing Edge at Location 4
Refer to Figure.
Repair, VRS6049 TASK 72-41-15-300-011 (REPAIR-011) or Repair, VRS6534 TASK 72-41-15-300-055 (REPAIR-055).
Cracked.
Within the limits in TASK 72-41-10-040-001-B00 or TASK 72-41-10-040-001-C00.
Repair, VRS6049 TASK 72-41-15-300-011 (REPAIR-011) or Repair, VRS6534 TASK 72-41-15-300-055 (REPAIR-055).
Identified as too short in TASK 72-41-10-040-001-B00 or TASK 72-41-10-040-001-C00.
Rubbed or worn.
NOTE
This is an alternative to Step. If measurements taken during limits from disassembly (TASK 72-41-10-040-001-B00 or TASK 72-41-10-040-001-C00) have not been supplied, Step can be skipped.
SUBTASK 72-41-15-220-273 Examine the Stage 3 Rotor Blades Tips at Location 1046
Refer to Figure.
More than in Step.
Galled.
If the width is more than in Step.
Worn.
SUBTASK 72-41-15-220-274-A00 Examine the Stage 3 Rotor Blades Groove at Location 1010 (SBE 72-0487)
Refer to Figure.
More than in Step.
Galled.
If the width is more than in Step.
Worn.
SUBTASK 72-41-15-220-274-B00 Examine the Stage 3 Rotor Blades Groove at Location 1010 (SBE 72-0561)
Reject.
Scored, galled, imperfections, nicks or dents.
Location 12 - dovetail top edge of bedding.
Reject.
Galled.
Accept.
If stylus does not hesitate or catch.
Reject.
If stylus hesitates or catches.
Scored - Inspect with SPM TASK 70-21-00-220-501 with a 0.020 in. (0.50 mm) radius stylus.
Accept.
If stylus does not hesitate or catch and the imperfection does not display sharp edges, raised material, burrs, or a dark bottom.
Reject.
If stylus hesitates or catches, the imperfection displays sharp edges, raised material, burrs, or a dark bottom.
Imperfections - Inspect with SPM TASK 70-21-00-220-501 with a 0.020 in. (0.50 mm) radius stylus.
Accept.
If stylus does not hesitate or catch and the nick or dent does not display sharp edges, raised material, or burrs.
Reject.
If stylus hesitates or catches, the nick or dent displays sharp edges, raised material, or burrs.
Nicks and dents - Inspect with SPM TASK 70-21-00-220-501 with a 0.020 in. (0.50 mm) radius stylus.
Location 13 - dovetail shank.
Reject.
Gouges, galled or fretted.
Accept.
If stylus does not hesitate or catch.
Reject.
If stylus hesitates or catches.
Scratched and scored - Inspect with SPM TASK 70-21-00-220-501 with a 0.020 in. (0.50 mm) radius stylus.
Accept.
If stylus does not hesitate or catch and the imperfection does not display sharp edges, raised material, burrs, or a dark bottom.
Reject.
If stylus hesitates or catches, the imperfection displays sharp edges, raised material, burrs, or a dark bottom.
Imperfections - Inspect with SPM TASK 70-21-00-220-501 with a 0.020 in. (0.50 mm) radius stylus.
Accept.
If stylus does not hesitate or catch and the nick or dent does not display sharp edges, raised material, or burrs.
Reject.
If stylus hesitates or catches, the nick or dent displays sharp edges, raised material, or burrs.
Nicks and dents - Inspect with SPM TASK 70-21-00-220-501 with a 0.020 in. (0.50 mm) radius stylus.
Location 14 - dovetail end face adjacent to blade groove at location 1010.
Reject.
Gouges, galled or fretted.
Accept.
If stylus does not hesitate or catch.
Reject.
If stylus hesitates or catches.
Scratched or scored - Inspect with SPM TASK 70-21-00-220-501 with a 0.020 in. (0.50 mm) radius stylus.
Accept.
If stylus does not hesitate or catch and the imperfection does not display sharp edges, raised material, burrs, or a dark bottom.
Reject.
If stylus hesitates or catches, the imperfection displays sharp edges, raised material, burrs, or a dark bottom.
Imperfections - Inspect with SPM TASK 70-21-00-220-501 with a 0.020 in. (0.50 mm) radius stylus.
Accept.
If stylus does not hesitate or catch and the nick or dent does not display sharp edges, raised material, or burrs.
Reject.
If stylus hesitates or catches, the nick or dent displays sharp edges, raised material, or burrs.
Nicks and dents - Inspect with SPM TASK 70-21-00-220-501 with a 0.020 in. (0.50 mm) radius stylus.
Locations 15 and 16 - dovetail end face edges and area adjacent to blade groove at Location 1010.
Reject.
Galled.
Accept.
If stylus does not hesitate or catch.
Reject.
If stylus hesitates or catches.
Scored - Inspect with SPM TASK 70-21-00-220-501 with a 0.020 in. (0.50 mm) radius stylus.
Accept.
If stylus does not hesitate or catch and the imperfection does not display sharp edges, raised material, burrs, or a dark bottom.
Reject.
If stylus hesitates or catches, the imperfection displays sharp edges, raised material, burrs, or a dark bottom.
Imperfections - Inspect with SPM TASK 70-21-00-220-501 with a 0.020 in. (0.50 mm) radius stylus.
Accept.
If stylus does not hesitate or catch and the nick or dent does not display sharp edges, raised material, or burrs.
Reject.
If stylus hesitates or catches, the nick or dent displays sharp edges, raised material, or burrs.
Nicks and dents - Inspect with SPM TASK 70-21-00-220-501 with a 0.020 in. (0.50 mm) radius stylus.
Location 5 - all other remaining faces and/or areas on dovetail excluding the bedding area (pressure face).
SUBTASK 72-41-15-220-275 Examine the Stage 3 Rotor Blades Dovetail at Location 5, 12, 13, 14, 15 and 16 (SBE 72-0487)
NOTE
Damage of any kind is not allowed on the bedding area (also known as the pressure face) of the dovetail.Reject.
Scored, galled, imperfections, nicks or dents.
Location 12 - dovetail top edge of bedding.
Reject.
Galled.
Accept.
If stylus does not hesitate or catch.
Reject.
If stylus hesitates or catches.
Scored - Inspect with SPM TASK 70-21-00-220-501 with a 0.020 in. (0.50 mm) radius stylus.
Accept.
If stylus does not hesitate or catch and the imperfection does not display sharp edges, raised material, burrs, or a dark bottom.
Reject.
If stylus hesitates or catches, the imperfection displays sharp edges, raised material, burrs, or a dark bottom.
Imperfections - Inspect with SPM TASK 70-21-00-220-501 with a 0.020 in. (0.50 mm) radius stylus.
Accept.
If stylus does not hesitate or catch and the nick or dent does not display sharp edges, raised material, or burrs.
Reject.
If stylus hesitates or catches, the nick or dent displays sharp edges, raised material, or burrs.
Nicks and dents - Inspect with SPM TASK 70-21-00-220-501 with a 0.020 in. (0.50 mm) radius stylus.
Location 13 - dovetail shank.
Reject.
Gouges, galled, or fretted.
Accept.
If stylus does not hesitate or catch.
Reject.
If stylus hesitates or catches.
Scratched or scored - Inspect with SPM TASK 70-21-00-220-501 with a 0.020 in. (0.50 mm) radius stylus.
Accept.
If stylus does not hesitate or catch and the imperfection does not display sharp edges, raised material, burrs, or a dark bottom.
Reject.
If stylus hesitates or catches, the imperfection displays sharp edges, raised material, burrs, or a dark bottom.
Imperfections - Inspect with SPM TASK 70-21-00-220-501 with a 0.020 in. (0.50 mm) radius stylus.
Accept.
If stylus does not hesitate or catch and the nick or dent does not display sharp edges, raised material, or burrs.
Reject.
If stylus hesitates or catches, the nick or dent displays sharp edges, raised material, or burrs.
Nicks and dents - Inspect with SPM TASK 70-21-00-220-501 with a 0.020 in. (0.50 mm) radius stylus.
Locations 15 and 16 - dovetail end face edges and area adjacent to blade groove at Location 1010.
Reject.
Galled.
Accept.
If stylus does not hesitate or catch.
Reject.
If stylus hesitates or catches.
Scored - Inspect with SPM TASK 70-21-00-220-501 with a 0.020 in. (0.50 mm) radius stylus.
Accept.
If stylus does not hesitate or catch and the imperfection does not display sharp edges, raised material, burrs, or a dark bottom.
Reject.
If stylus hesitates or catches, the imperfection displays sharp edges, raised material, burrs, or a dark bottom.
Imperfections - Inspect with SPM TASK 70-21-00-220-501 with a 0.020 in. (0.50 mm) radius stylus.
Accept.
If stylus does not hesitate or catch and the nick or dent does not display sharp edges, raised material, or burrs.
Reject.
If stylus hesitates or catches, the nick or dent displays sharp edges, raised material, or burrs.
Nicks and dents - Inspect with SPM TASK 70-21-00-220-501 with a 0.020 in. (0.50 mm) radius stylus.
Location 5 - all other remaining faces and/or areas on dovetail excluding the bedding area (pressure face).
SUBTASK 72-41-15-220-276 Examine the Stage 3 Rotor Blades Dovetail at Location 5, 12, 13, 14, 15 and 16 (SBE 72-0561)
NOTE
Damage of any kind is not allowed on the bedding area (also known as the pressure face) of the dovetail.Refer to Figure.
More than in Step.
Galled.
Accept.
If stylus does not hesitate or catch.
Reject.
If stylus hesitates or catches.
Scored - Inspect with SPM TASK 70-21-00-220-501 with a 0.020 in. (0.50 mm) radius stylus.
Accept.
If stylus does not hesitate or catch and the imperfection does not display sharp edges, raised material, burrs, or a dark bottom.
Reject.
If stylus hesitates or catches, the imperfection displays sharp edges, raised material, burrs, or a dark bottom.
Imperfections - Inspect with SPM TASK 70-21-00-220-501 with a 0.020 in. (0.50 mm) radius stylus.
Accept.
If stylus does not hesitate or catch and the nick or dent does not display sharp edges, raised material, or burrs.
Reject.
If stylus hesitates or catches, the nick or dent displays sharp edges, raised material, or burrs.
Nicks and dents - Inspect with SPM TASK 70-21-00-220-501 with a 0.020 in. (0.50 mm) radius stylus.
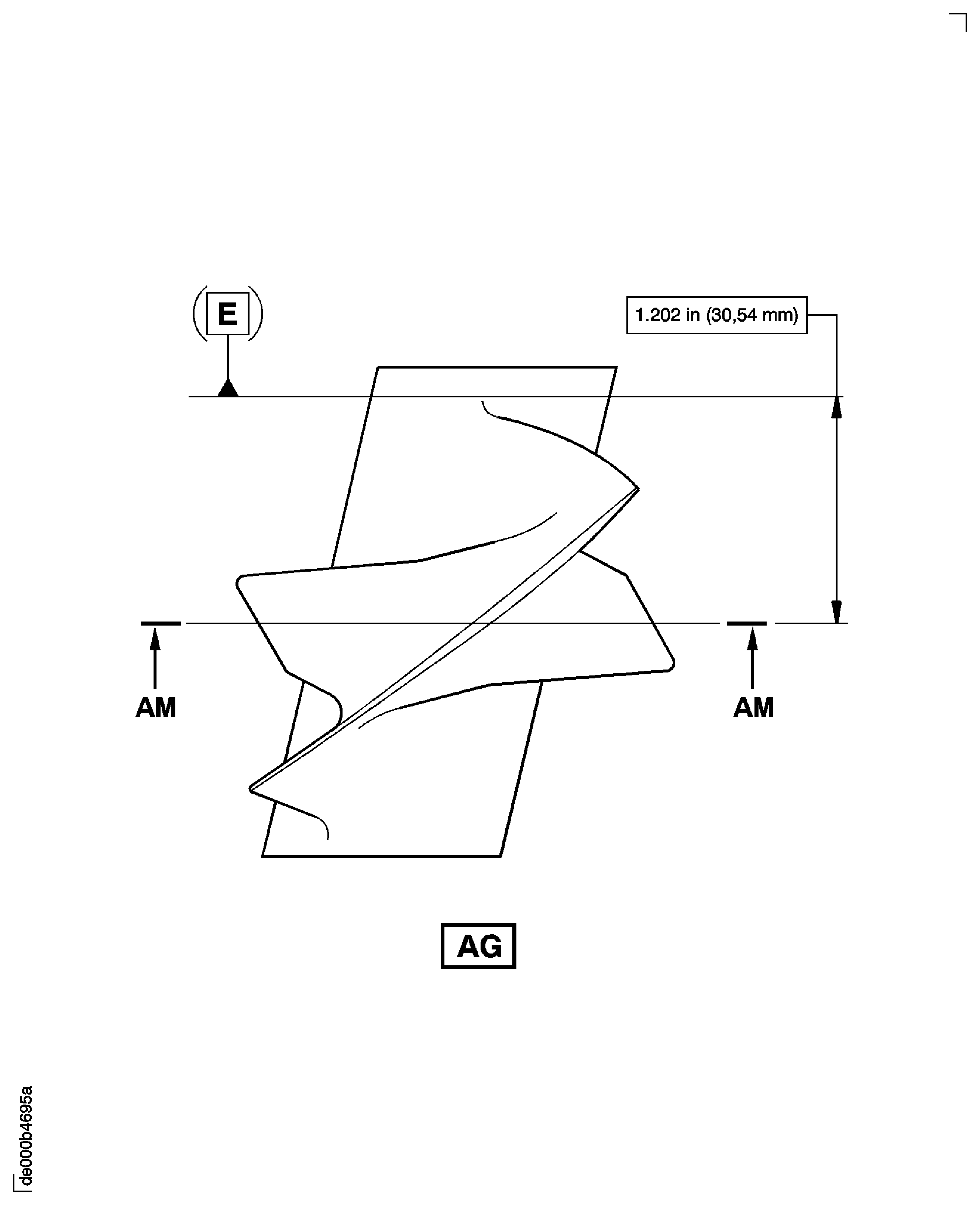
SUBTASK 72-41-15-220-277 Examine the Stage 3 Rotor Blades Cheeks at Locations 6 and 7
Refer to Figure.
Reject.
If stylus hesitates or catches on the platform surface or the criteria in Step is not maintained.
Scored - Inspect with SPM TASK 70-21-00-220-501 with a 0.020 in. (0.50 mm) radius stylus.
Accept.
If stylus does not hesitate or catch and the imperfection does not display sharp edges, raised material, burrs, or a dark bottom.
Reject.
If stylus hesitates or catches, the imperfection displays sharp edges, raised material, burrs, or a dark bottom.
Imperfections - Inspect with SPM TASK 70-21-00-220-501 with a 0.020 in. (0.50 mm) radius stylus.
Accept.
If stylus does not hesitate or catch and the nick or dent does not display sharp edges, raised material, or burrs.
Reject.
If stylus hesitates or catches, the nick or dent displays sharp edges, raised material, or burrs.
Nicks and dents - Inspect with SPM TASK 70-21-00-220-501 with a 0.020 in. (0.50 mm) radius stylus.
SUBTASK 72-41-15-220-613 Examine the Stage 3 Rotor Blades Front and Rear Lip at Location 17
Refer to Figure.
More than in Step.
On top/gas washed face of the platform.
Accept.
If stylus does not hesitate or catch and the nick or dent does not display sharp edges, raised material, or burrs.
Reject.
If stylus hesitates or catches, the nick or dent displays sharp edges, raised material, or burrs.
On the bottom/non-gas washed face of the platform - Inspect with SPM TASK 70-21-00-220-501 with a 0.020 in. (0.50 mm) radius stylus.
Nicks or dents.
Accept.
If stylus does not hesitate or catch on the platform surface.
Reject.
If stylus hesitates or catches on the platform surface.
On top/gas washed face of the platform - Inspect with SPM TASK 70-21-00-220-501 with a 0.020 in. (0.50 mm) radius stylus.
Reject.
If stylus hesitates or catches on the platform surface or the criteria in Step is not maintained.
On the bottom/non-gas washed face of the platform - Inspect with SPM TASK 70-21-00-220-501 with a 0.020 in. (0.50 mm) radius stylus.
Scored.
Accept.
If stylus does not hesitate or catch and the imperfection does not display sharp edges, raised material, burrs, or a dark bottom.
Reject.
If stylus hesitates or catches, the imperfection displays sharp edges, raised material, burrs, or a dark bottom.
On the bottom/non-gas washed face of the platform - Inspect with SPM TASK 70-21-00-220-501 with a 0.020 in. (0.50 mm) radius stylus.
Imperfections
SUBTASK 72-41-15-220-278 Examine the Stage 3 Rotor Blades Platform at Location 8
Refer to Figure.
More than in Step.
SUBTASK 72-41-15-220-425 Examine the Stage 3 Rotor Blades Platform Surface Finish at Location 8 (SBE 72-0561)
Refer to Figure.
Repair, VRS6009 TASK 72-41-15-300-001 (REPAIR-001)
More than in Step.
Nicks or dents
Accept.
If stylus does not hesitate or catch.
Reject.
If stylus hesitates or catches.
Scored - Inspect with SPM TASK 70-21-00-220-501 with a 0.020 in. (0.50 mm) radius stylus.
Accept.
If stylus does not hesitate or catch and the imperfection does not display sharp edges, raised material, burrs, or a dark bottom.
Reject.
If stylus hesitates or catches, the imperfection displays sharp edges, raised material, burrs, or a dark bottom.
Imperfections - Inspect with SPM TASK 70-21-00-220-501 with a 0.020 in. (0.50 mm) radius stylus.
SUBTASK 72-41-15-220-279 Examine the Stage 3 Rotor Blades Root Radius at Location 9
Refer to Figure.
SUBTASK 72-41-15-220-281 Examine the Stage 3 Rotor Blades Balancing Plug Hole at Location 11
Refer to Figure.
SUBTASK 72-41-15-220-282 Examine the Stage 3 Rotor Blades Chordal Checks
Refer to Figure.
Repair, VRS6049 TASK 72-41-15-300-011 (REPAIR-011) or Repair, VRS6534 TASK 72-41-15-300-055 (REPAIR-055).
Between 5.7425 in. (145.860 mm) and 5.7682 in. (146.514 mm).
Less than the minimum repair limit given in Repair, VRS6049 TASK 72-41-15-300-011 (REPAIR-011) or Repair, VRS6534 TASK 72-41-15-300-055 (REPAIR-055).
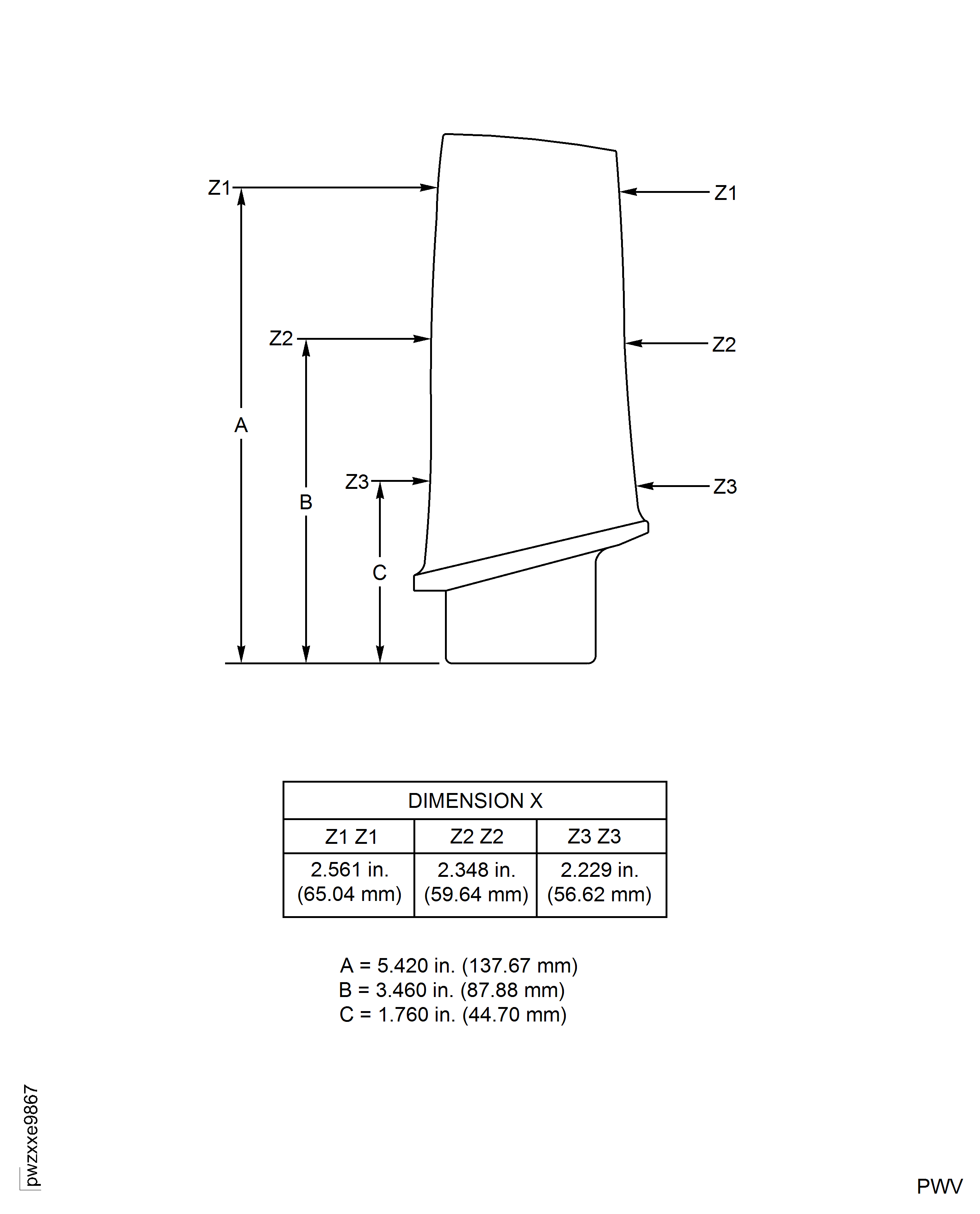
SUBTASK 72-41-15-220-485 Examine the Stage 3 Rotor Blades, Length Checks
NOTE
This is an alternative to measurements taken during disassembly (TASK 72-41-10-040-001-B00 or TASK 72-41-10-040-001-C00). If Step has been accomplished, Step can be skipped.Repair, VRS6486 TASK 72-41-15-300-046 (REPAIR-046)
Apply the dry film lubricant to the blade dovetail
SUBTASK 72-41-15-380-102 Apply the Dry Film Lubricant to the Stage 3 Rotor Blades
Figure: Stage 3 Rotor Blades - Inspection Locations And Orientation
Stage 3 Rotor Blades - Inspection Locations And Orientation

Figure: Stage 3 Rotor Blades - Inspection Locations
Stage 3 Rotor Blades - Inspection Locations

Figure: Stage 3 Rotor Blades - Chordal Checks
Stage 3 Rotor Blades - Chordal Checks

Figure: Stage 3 Rotor Blades - Measure Length "X"
Stage 3 Rotor Blades - Measure Length "X"

Figure: Stage 3 Rotor Blades - Inspection Locations
Stage 3 Rotor Blades - Inspection Locations

Figure: SBE 72-0487 and SBE 72-0561: Examine the Stage 3 Rotor Blades
SBE 72-0487 and SBE 72-0561: Examine the Stage 3 Rotor Blades

Figure: SBE 72-0487 and SBE 72-0561: Examine the Stage 3 Rotor Blades
SBE 72-0487 and SBE 72-0561: Examine the Stage 3 Rotor Blades

Figure: Pre SBE 72-0481, SBE 72-0481 and Pre SBE 72-0487: Stage 3 Rotor Blades Clapper Checking Fixture
Pre SBE 72-0481, SBE 72-0481 and Pre SBE 72-0487: Stage 3 Rotor Blades Clapper Checking Fixture

