Export Control
EAR Export Classification: Not subject to the EAR per 15 C.F.R. Chapter 1, Part 734.3(b)(3), except for the following Service Bulletins which are currently published as EAR Export Classification 9E991: SBE70-0992, SBE72-0483, SBE72-0580, SBE72-0588, SBE72-0640, SBE73-0209, SBE80-0024 and SBE80-0025.Copyright
© IAE International Aero Engines AG (2001, 2014 - 2021) The information contained in this document is the property of © IAE International Aero Engines AG and may not be copied or used for any purpose other than that for which it is supplied without the express written authority of © IAE International Aero Engines AG. (This does not preclude use by engine and aircraft operators for normal instructional, maintenance or overhaul purposes.).Applicability
V2500-A5
Common Information
TASK 72-00-32-020-002-B00 LPC/Intermediate Case Module - Remove The Electrical Harnesses, Removal-002
General
Refer to the TASKs which follow for the other related procedures:
TASK 72-00-32-020-001-B00 (REMOVAL-001, CONFIG-002) - Remove the hydraulic tubes, the thermal anti-ice (TAI) duct and the pneumatic starter duct from the LP compressor/intermediate case module,
TASK 72-00-32-020-003-B00 (REMOVAL-003, CONFIG-002) - Remove the LP compressor/intermediate case tubes and the electrical harness raceways,
TASK 72-00-32-020-004 (REMOVAL-004, CONFIG-001) - Remove the LP compressor/intermediate case components,
TASK 72-00-32-020-005 (REMOVAL-005, CONFIG-002) remove the LP compressor/intermediate case brackets and the bifurcation panel.
Fig/item numbers in parentheses in the procedure agree with those used in the IPC. Only the primary Fig/item numbers are used. For the service bulletin alpha variants refer to the IPC.
For all parts identified in a different Chapter/Section/Subject, the applicable Chapter/Section/Subject comes before the Fig/item number.
Remove and discard the lockwire before the component is disconnected.
Apply the approved CoMat 10-058 PENETRATING OIL before the removal of threaded parts. Let the parts soak before removal.
During the removal procedure make sure that the harnesses are held temporarily along their different lengths. This is to prevent too much strain on the harnesses, cables and electrical connectors.
During the removal procedure put the special plastic caps on the electrical connectors and receptacles. This is to give protection from unwanted fluids or materials.
During the removal procedure remove the lacing tape which attaches the different harnesses to each other.
Seal all openings when the tubes or components are disconnected to prevent contamination from unwanted material.
All the tubes, hoses and ducts removed in this procedure must have their maintenance completed, as given in the Component Maintenance Manual (CMM-THD-V2500-1IA).
NOTE
Preliminary Requirements
Pre-Conditions
NONESupport Equipment
| Name | Manufacturer | Part Number / Identification | Quantity | Remark |
|---|---|---|---|---|
| IAE 1R19416 EEC harness wrench | 0AM53 | IAE 1R19416 | 1 | |
| IAE 1J12018 EEC harness wrench | 0AM53 | IAE 1J12018 |
Consumables, Materials and Expendables
| Name | Manufacturer | Part Number / Identification | Quantity | Remark |
|---|---|---|---|---|
| CoMat 02-126 LOCKWIRE | LOCAL | CoMat 02-126 | ||
| CoMat 06-086 TIES | 18992 | CoMat 06-086 | ||
| CoMat 10-058 PENETRATING OIL | 0AM53 | CoMat 10-058 |
Spares
NONESafety Requirements
NONEProcedure
Refer to Figure.
SUBTASK 72-00-32-020-194 Remove the EEC Flexible Hoses and the Tube 235
Refer to Figure.
Disconnect the 4017KS-A from the fuel temperature thermocouple FUEL TEMPERATURE THERMOCOUPLE(73-35-15,01-100).
SUBTASK 72-00-32-020-245-A00 Disconnect the EEC Harness Connector 4017KS-A (Pre SBE 73-0071 and Pre SBE 71-0183)
Remove the four nuts FUEL TEMPERATURE THERMOCOUPLE (73-35-15, 01-130 and FUEL TEMPERATURE THERMOCOUPLE 01-140) and disconnect the thermocouple harness from the thermocouple FUEL TEMPERATURE THERMOCOUPLE (73-35-15, 01-100).
Remove the two bolts FUEL TEMPERATURE THERMOCOUPLE (73-35-15, 01-110) that secure the thermocouple. Disconnect the harness ground connectors and refit the bolts.
Disconnect the terminal connectors from the FCOC fuel temperature thermocouple. Refer to Figure.
SUBTASK 72-00-32-020-245-B00 Disconnect the EEC Harness Terminal Connector 4017KS-A (SBE 73-0071 and SBE 71-0183)
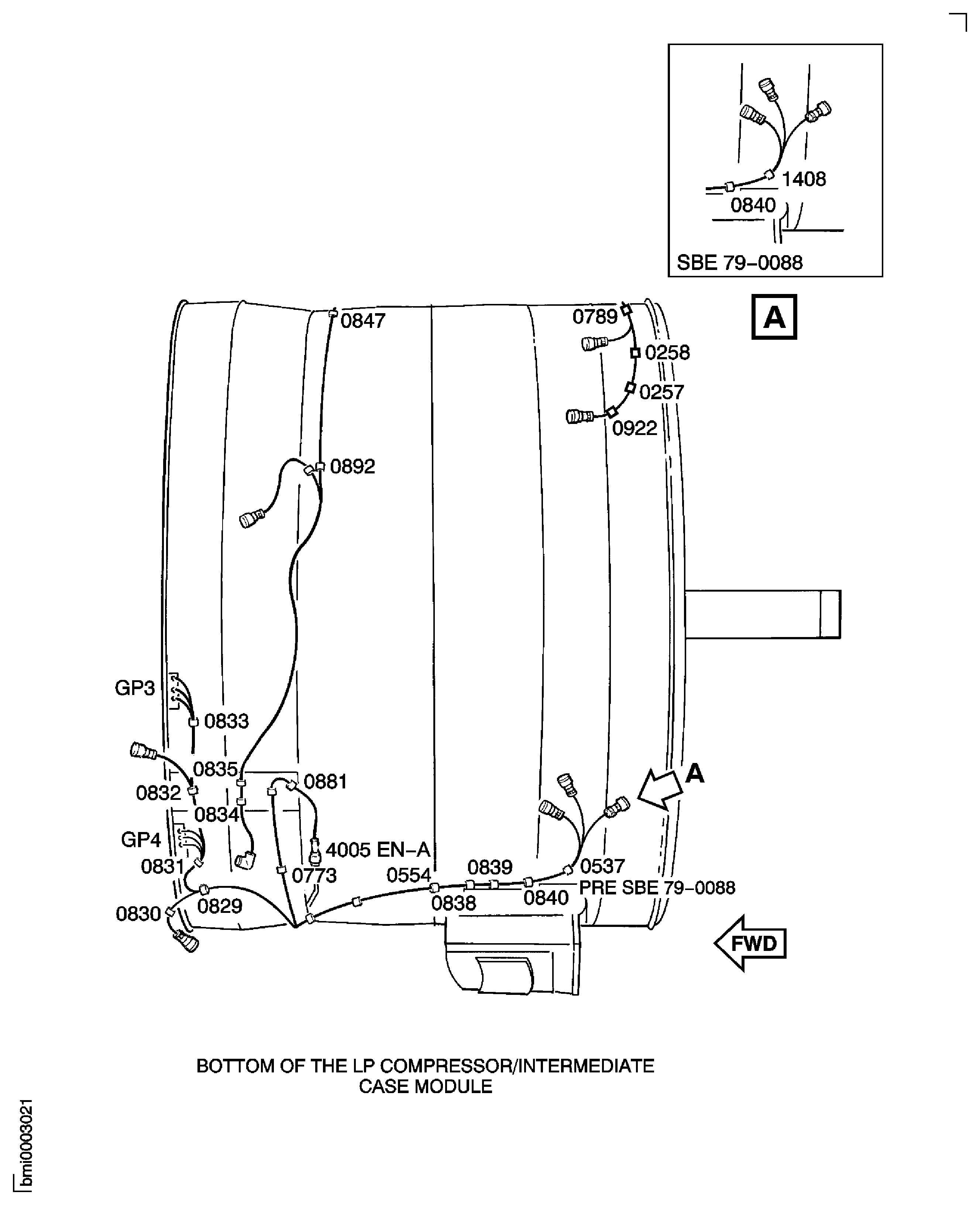
Pre SBE 79-0088: Remove the lacing tape, adjacent to clip position 0568, which attaches the EEC harness and the ignition supply harness together.
SBE 79-0088: Remove the lacing tape, adjacent to clip position 1414, which attaches the EEC harness and the ignition supply harness together.
NOTE
After the removal of the EEC harness, temporarily attach the split sleeves to the EEC harness.Pre SBE 79-0088: Remove the bonded clips and the split sleeves at the clip positions 0535, 0536, 0538 and 1064. Remove the tape which attaches the harness to the ignition supply harness.
SBE 79-0088: Remove the bonded clips and the split sleeves at the clip positions 1447, 1448, 1449 and 1450. Remove the tape which attaches the harness to the ignition supply harness.
NOTE
Remove the ignition supply harness with the EEC harness. Refer to Step.Disconnect the EEC harness EEC Fan Harness (71-51-41, 01-005) from the LP compressor/intermediate case module as follows:
4000KS-J2 to 4000KS-J5 and 4000KS-J8 to 4000KS-J11 from the EEC with the IAE 1R19416 EEC harness wrench 1 off,
4100KS-E and 4100KS-A from the relay box,
4000VC-A and 4001VC-A EEC Fan Harness And Ignition Supply Harness (71-51-42, 01-005) from the electrical harness receptacles attached to the flange brackets,
4016KS-A from the ACOC oil temperature thermocouple,
4020KS2-A from the HP compressor stage 7 solenoid valve (108.8 degrees),
4020KS3-A from the HP compressor stage 7 solenoid valve (228 degrees),
4020KS1-A from the HP compressor stage 7 solenoid valve (51.9 degrees),
4029KS-A from the HP stage 7 and 10 air solenoid valve STAGE 10 AIR SOLENOID VALVE (36-11-57, 01-100),
4023KS-A from the HP compressor stage 10 solenoid valve AIR-HPC STAGE 10 SOLENOID VALVE (75-32-53, 01-400),
4028KS-A from the stage 10 air solenoid valve AIR-STAGE 10 AIR SOLENOID VALVE (75-23-52, 01-100),
4019KS-A and 4019KS-B from the ACOC air modulating valve,
4010KS-A from the fuel flow transmitter,
4015KS-A from the IDG FCOC,
4018KS-A from the fuel diverter and return valve,
4018KS-B from the fuel diverter and return valve and.
Disconnect the electrical connectors as follows:
Pre SBE 79-0088: Remove the two bolts and the two nuts which attach the tube 153 to the bifurcation panel,
SBE 79-0088: Remove the two bolts and the two nuts which attach the tube 153 to the bifurcation panel.
Pre SBE 79-0088: Remove the bolt, the washer, the nut and the clip at the clip position 1078.
SBE 79-0088: Remove the bolt, the washer, the nut and the clip at the clip position 1420.
Pre SBE 79-0088: Remove the lacing tape which attaches the harness bundles together between the clip positions 1170 and 0256. Remove the right side harness between the bifurcation panel tubes.
SBE 79-0088: Remove the lacing tape which attaches the harness bundles together between the clip positions 1459 and 0256. Remove the right side harness between the bifurcation panel tubes.
NOTE
During this procedure do not disconnect the electrical harness receptacles from the LP compressor/intermediate case EEC harness.Disconnect the electrical harness receptacles.
SUBTASK 72-00-32-020-195 Remove the EEC Harness (Pre SBE 79-0088 and SBE 79-0088)
Disconnect the ignition supply harness Ignition Supply Harness (71-51-44, 01-005) as follows:
Disconnect the electrical connectors as follows:
4100KS-D and 4100KS-C from the relay box and.
4002VC-A and 4003VC-A EEC Fan Harness And Ignition Supply Harness (71-51-42, 01-005) from the electrical harness receptacles attached to the brackets.
Remove the four nuts, the four bolts and the two flame trap brackets which attach the combined fume and fireseal to the bifurcation panel. Remove the core engine part of the harness through the bifurcation panel. Safety the different parts of the combined fume and fireseal together with CoMat 02-126 LOCKWIRE.
SUBTASK 72-00-32-020-196 Remove the Ignition Supply Harness
NOTE
Remove the EEC and ignition supply harness with the general services harness. Refer to Step.Disconnect the general services harness General Services Harness (71-51-43, 01-005) as follows:
4001EN-A from the scavenge filter differential pressure switch.
1074GK-A from the hydraulic pressure switch.
4000EN-A from the low oil pressure switch.
4003EN-A from the oil pressure transmitter.
4100KS-B from from the relay box.
4005EN-A from the No.4 bearing pressure transducer.
Disconnect the electrical connectors, as follows:
SUBTASK 72-00-32-020-197 Remove the General Services Harness
Disconnect the EEC and ignition supply harness EEC Fan Harness And Ignition Supply Harness (71-51-42, 01-005) as follows:
4000KS-J1 and 4000KS-J7 from the EEC with the IAE 1J12018 EEC harness wrench 1 off.
Disconnect the electrical connectors as follows:
NOTE
Hole No.1 is at 12.5 degrees from the engine top position on the flange FB when you look from the rear of the engine.Remove the bolt and the nut which attaches the terminal module to the flange FB at the hole 9, Figure.
SUBTASK 72-00-32-020-198 Remove the EEC and Ignition Supply Harness (Pre SBE 71-0165, SBE 71-0165 and SBE 71-0177)
Pre SBE 71-0271: Remove the bolts, the washers, the nuts and the clips at the clip positions 0876 to 0880.
SBE 71-0271: Remove the bolts, the washers, the nuts and the clips at the clip positions 0876 to 0880 and 1210.
Disconnect the vibration harnesses Vibration Indication Harness (77-32-43, 01-100 and Vibration Indication Harness 02-100) as follows:
NOTE
The three bolts hold the transducer and the baseplate Vibration Transducer (77-32-15, 01-410) together as a loose assembly.Loosen the three bolts Vibration Transducer (77-32-15, 01-400) which attach the transducer to the LP compressor/intermediate case.
Remove the transducer with the three bolts, the baseplate and the packing Vibration Transducer (77-32-15, 01-420). Discard the packing.
Disconnect the vibration transducer Vibration Transducer (77-32-15, 01-100) as follows:
SUBTASK 72-00-32-020-199 Remove the Vibration Harnesses/Transducer,.nd
Temporarily attach the IDG cable connector to a safe position on the LP compressor/intermediate case with CoMat 06-086 TIES.
NOTE
The 400VC to IDG cable assembly removed in this procedure must have its maintenance completed, as given in the Component Maintenance Manual (CMM-EHC-V2500-1IA).Remove the CoMat 06-086 TIES which hold the IDG cable connector and remove remaining cable assembly.
SUBTASK 72-00-32-020-200 Remove the 400VC to IDG Cable Assembly
Figure: Remove the EEC flexible hoses and the tube 235
Remove the EEC flexible hoses and the tube 235

Figure: Pre SBE 79-0088: Remove the EEC Harness
Sheet 1

Figure: SBE 79-0088: Remove the EEC harness
Sheet 2

Figure: Remove the EEC Harness
Sheet 3

Figure: SBE 73-0071 : Remove the EEC Harness
Sheet 4

Figure: Remove the EEC Harness
Sheet 5

Figure: Remove the EEC Harness
Sheet 6

Figure: Remove the EEC Harness
Sheet 7

Figure: Pre SBE 79-0088: Remove the EEC Harness
Sheet 8

Figure: SBE 79-0088: Remove the EEC Harness
Sheet 9

Figure: Pre SBE 79-0088: Remove the EEC Harness
Sheet 10

Figure: SBE 79-0088: Remove the EEC Harness
Sheet 11

Figure: Remove the ignition supply harness
Sheet 1

Figure: Remove the ignition supply harness
Sheet 2

Figure: Pre SBE 79-0088: Remove the Ignition Supply Harness
Sheet 3

Figure: SBE 79-0088: Remove the Ignition Supply Harness
Sheet 4

Figure: Remove the General Services Harness
Sheet 1

Figure: Remove the general services harness
Sheet 2

Figure: Remove the general services harness
Sheet 3

Figure: Remove the general services harness
Sheet 4

Figure: Remove the general services harness
Sheet 5

Figure: Remove the terminal module
Remove the terminal module

Figure: Remove the EEC and ignition supply harness
Sheet 1

Figure: Remove the EEC and ignition supply harness
Sheet 2

Figure: SBE 71-0165 and SBE 71-0177: Remove the EEC and ignition supply harness
Sheet 3

Figure: Remove the vibration harnesses/transducer
Sheet 1

Figure: Remove the vibration harnesses/transducer
Sheet 2

Figure: Remove the 400VC to IDG cable assembly
Sheet 1

Figure: Remove the 400VC to IDG cable assembly
Sheet 2

