Export Control
EAR Export Classification: Not subject to the EAR per 15 C.F.R. Chapter 1, Part 734.3(b)(3), except for the following Service Bulletins which are currently published as EAR Export Classification 9E991: SBE70-0992, SBE72-0483, SBE72-0580, SBE72-0588, SBE72-0640, SBE73-0209, SBE80-0024 and SBE80-0025.Copyright
© IAE International Aero Engines AG (2001, 2014 - 2021) The information contained in this document is the property of © IAE International Aero Engines AG and may not be copied or used for any purpose other than that for which it is supplied without the express written authority of © IAE International Aero Engines AG. (This does not preclude use by engine and aircraft operators for normal instructional, maintenance or overhaul purposes.).Applicability
V2500-A5
Common Information
TASK 72-00-32-020-003-C00 LPC/Intermediate Case Module - Remove The Tubes And Electrical Harness Raceways, Removal-003 - SBE 79-0088
General
Refer to the TASKs which follow for the other related procedures:
TASK 72-00-32-020-001-B00 - Remove the hydraulic tubes, the thermal anti-ice (TAI) duct, the pneumatic starter duct and the EEC cooling ducts from the LP compressor/intermediate case module.
TASK 72-00-32-020-002-B00 - Remove the LP compressor/intermediate case electrical harnesses.
TASK 72-00-32-020-004 - Remove the LP compressor/intermediate case components.
TASK 72-00-32-020-005-B00 - Remove the LP compressor/intermediate case brackets and the bifurcation panel.
Fig./item numbers in parentheses in the procedure agree with those used in the IPC. Only the primary Fig./item numbers are used. For Service Bulletin alpha variants refer to the IPC.
Apply the approved CoMat 10-058 PENETRATING OIL before the removal of threaded parts. Let the parts soak before removal.
Discard all rubber seal rings, split cotter pins, keywashers and gaskets removed in this procedure.
Remove and discard the lockwire before the tube or connector is disconnected.
All the tubes, hoses and ducts removed in this procedure must have their maintenance completed, as given in the Component Maintenance Manual (CMM-THD-V2500-1IA).
Seal all openings when the tubes are disconnected to prevent contamination from unwanted material.
NOTE
Preliminary Requirements
Pre-Conditions
NONESupport Equipment
| Name | Manufacturer | Part Number / Identification | Quantity | Remark |
|---|---|---|---|---|
| IAE 1R18001 Wrench | 0AM53 | IAE 1R18001 | 1 | |
| IAE 1R18002 Wrench | 0AM53 | IAE 1R18002 | 1 | |
| IAE 1R18003 Wrench | 0AM53 | IAE 1R18003 | 1 |
Consumables, Materials and Expendables
| Name | Manufacturer | Part Number / Identification | Quantity | Remark |
|---|---|---|---|---|
| CoMat 10-058 PENETRATING OIL | X222X | CoMat 10-058 | ||
| CoMat 10-077 APPROVED ENGINE OILS | X333X | CoMat 10-077 |
Spares
NONESafety Requirements
NONEProcedure
Remove the locknut which attaches the tube 239 to the bracket Fuel System Air Tubes (73-22-49, 03-790).
Remove the two bolts and the bracket Fuel System Air Tubes (73-22-49, 03-790). Temporarily install and tighten the two bolts in the two bracket clipnuts.
SUBTASK 72-00-32-020-358 Remove the Tube 239, the Fuel System Air Tube
Disconnect the tube 127 from the tube 126 with the IAE 1R18003 Wrench 1 off.
SUBTASK 72-00-32-020-255 Remove the Tubes 193, 126 and 128 the Scavenge Oil Tubes
Refer to Figure.
SUBTASK 72-00-32-020-256 Remove the Tubes 122 and 119, the Pressure Oil Tubes
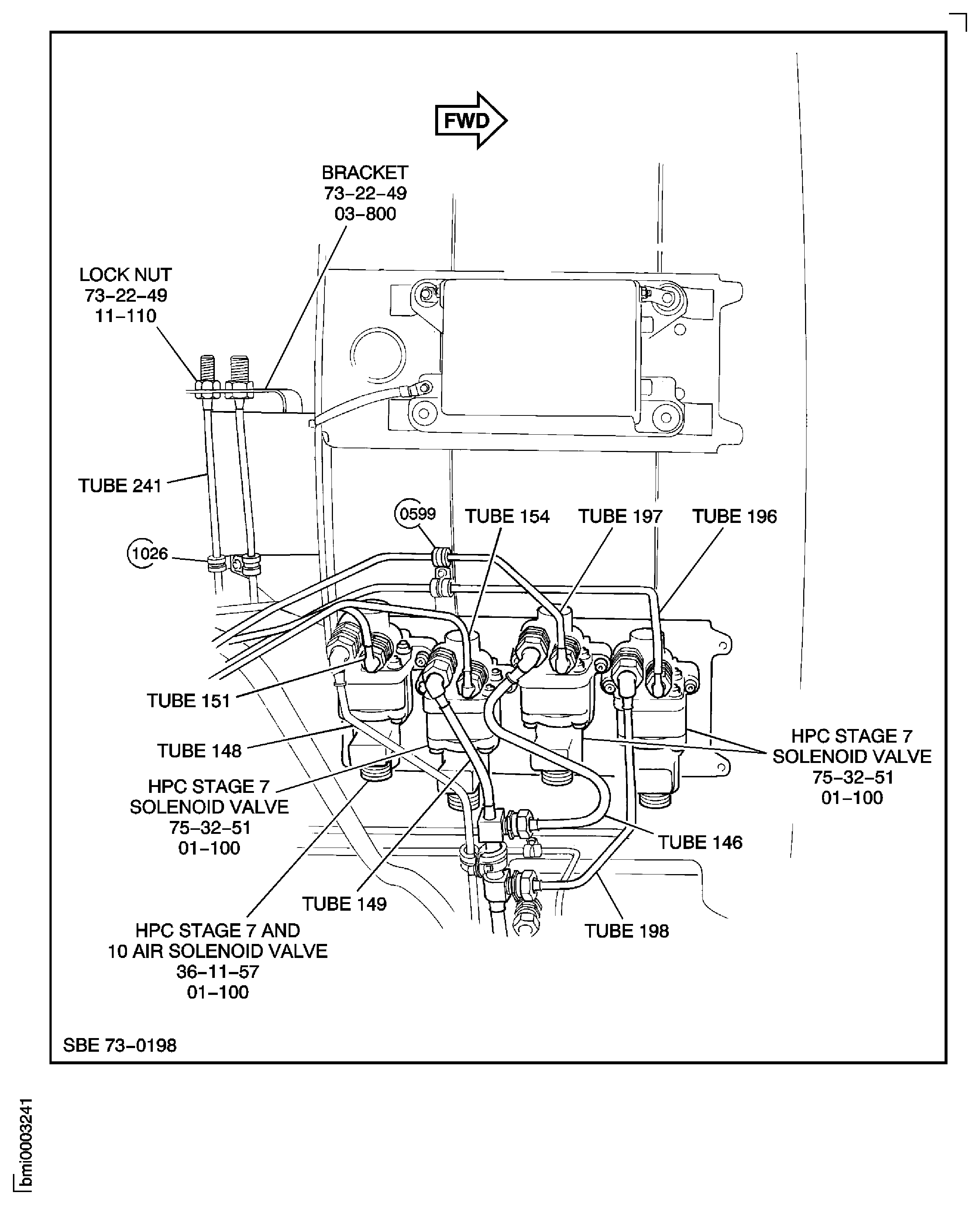
Disconnect the tube 148 from the HPC stage 7 and 10 air solenoid valve STAGE 10 AIR SOLENOID VALVE (36-11-57, 01-100) and the tube 149. Remove the tube 148.
Disconnect the tube 147 from the HPC stage 10 solenoid valve AIR-HPC STAGE 10 SOLENOID VALVE (75-32-53, 01-400) and the tube 149. Remove the tube 147.
SUBTASK 72-00-32-020-257 Remove the Tubes 146 to 148 and 198, the HP Compressor (HPC) Bleed Air Tubes
Refer to Figure.
Disconnect the tube 150 from the stage 10 air solenoid valve AIR-STAGE 10 AIR SOLENOID VALVE (75-23-52, 01-100) and the tube 149. Remove the tube 150.
SUBTASK 72-00-32-020-362 Remove the Tube 150 from the Turbine Cooling Controlled Air Tube System (Pre SBE 75-0081)
Disconnect the tube 151 from the HPC stage 7 and 10 air solenoid valve STAGE 10 AIR SOLENOID VALVE (36-11-57, 01-100). Disconnect the tube 236 from the tube 151. Remove the tube 151.
Disconnect the tube 195 (the turbine cooling controlled air tube) from the stage 10 air solenoid valve AIR-STAGE 10 AIR SOLENOID VALVE (75-23-52, 01-100). Disconnect the tube 163 from the tube 195.
SUBTASK 72-00-32-020-261-A00 Remove the Right Side Tubes 164, 195, 196, 197, 151, 154 and 241 (Pre SBE 75-0081)
Disconnect the tube 151 from the HPC stage 7 and 10 air solenoid valve STAGE 10 AIR SOLENOID VALVE (36-11-57, 01-100). Disconnect the tube 236 from the tube 151. Remove the tube 151.
SUBTASK 72-00-32-020-261-B00 Remove the Right Side Tubes 164, 196, 197, 151, 154 and 241 (SBE 75-0081)
Refer to Figure.
Disconnect and remove the tube 125 from the tube 169 with the IAE 1R18003 Wrench 1 off.
Remove the three bolts LP Compressor (LPC) - Intermediate Structure Module (72-32-00, 01-130) which attach the tube 169 to the LP compressor/intermediate case module and the hot vent tube INTERMEDIATE STRUCTURE OIL & AIR TRANSFER TUBES (72-32-96, 01-100). Remove the tube 169 and the sealing ring.
Lubricate the three bolts (removed in the previous step) with CoMat 10-077 APPROVED ENGINE OILS. Install and tighten the three bolts in the module.
SUBTASK 72-00-32-020-262 Remove the Tubes 125 and 169, the Oil Scavenge Tubes
Pre SBE 73-0198: Remove the bolts, the washers, the nut, the clipnut and the clips at the clip positions 1028 and 1027.
SBE 73-0198: Remove the bolts, the washers, the nut, the clipnut and the clips at the clip positions 1482, 1481 and 1017.
Pre SBE 73-0198: Disconnect the tube 135 from the tube 137. Remove the locknut at the bracket and then remove the tube 135.
SBE 73-0198: Disconnect the tube 135 from the tube 137. Loosen the P3 union at the bracket and then remove the tube 135.
NOTE
The clip position 0793 is temporarily installed during TASK 72-00-32-020-001-B00 to attach the tube 142 to the flange FA bracket.Remove the bolts, the washers, the nuts, the clipnuts and the clips at the clip positions 1053, 1054, 1055, 0603, 0793 and 0794. Remove the tube 142 and the hose 220.
SUBTASK 72-00-32-020-263 Remove the Hose 220 and Tubes 159, 135 and 142, the Fuel System Air Tubes (Pre SBE 73-0198 and SBE 73-0198)
Pre SBE 75-0081: Disconnect the tube 162 from the tube 163. Remove the tube 163.
SUBTASK 72-00-32-020-368-A00 Remove the Bottom Right Side Tubes 163, 188, 236, 155, 160, 242, 165, 158, 144 and 137 (Pre SBE 73-0198 and Pre SBE 75-0081)
Pre SBE 75-0081: Disconnect the tube 162 from the tube 163. Remove the tube 163.
SUBTASK 72-00-32-020-368-B00 Remove the Bottom Right Side Tubes 163, 188, 236, 155, 160, 242, 165, 158, 144 and 137 (SBE 73-0198 and Pre SBE 75-0081)
Pre SBE 73-0198: Remove the bolts, the washers, the nuts and the clips at the clip positions 1418 and 1420.
SBE 73-0198: Remove the bolts, the washers, the nuts and the clips at the clip positions 1418, 1420 and 1431.
Pre SBE 73-0198: Remove the bolt, the washer, the nut and the clip at the clip position 1431.
SUBTASK 72-00-32-020-369 Remove the Bifurcation Panel Tubes 145, 166, 156, 161, 143 and 216 (Pre SBE 73-0198 and SBE 73-0198)
Remove the bolts, the washers, the spacers, the nuts and the clips at the clip positions 0246, 1065 and 1445. Temporarily attach the raceway Fan Harness Support Raceways (71-51-50, 01-100) to the tube 177 clip with the bolt, the washer and the nut at the clip position 0246.
SUBTASK 72-00-32-020-370 Remove the Tubes 192, 93 and 106 from the Fuel System
Refer to Figure.
Pre SBE 79-0005: Remove the bolt and clipnut from the bracket Air Cooled Oil Cooler (ACOC) And Inlet Duct (79-21-42, 01-086) at the clip position 0533.
SBE 79-0005: Remove the bolt and clipnut from the bracket Air Cooled Oil Cooler (ACOC) And Inlet Duct (79-21-42, 01-070) at the clip position 0533.
Remove the raceway Fan Harness Support Raceways (71-51-50, 01-500).
SUBTASK 72-00-32-020-371 Remove the Raceway (71-51-50,01-500)
Refer to Figure.
NOTE
The fuel flow transmitter bonding lead which is attached to the raceway bonding lug and is removed during TASK 72-00-32-020-003-B00 (REMOVAL-003, CONFIG-002).Remove the three bolts which attach the tube 109 to the fuel flow transmitter. Remove the bracket, the tube 109 and the packing.
Remove the tube 109 and the fuel flow transmitter.
Disconnect the tube 95 from the tube 94 with the IAE 1R18001 Wrench Remove the two bolts and the two nuts which attach the tube 95 to the bifurcation panel. Remove the tube 95.
SUBTASK 72-00-32-020-269 Remove the Tubes 109, 94, 95 and the Fuel Flow Transmitter from the Fuel System
NOTE
Some fuel drainage could occur during this procedure. It is recommended that an applicable container is available.Refer to Figure.
Remove the raceway Fan Harness Support Raceways (71-51-50, 01-700).
SUBTASK 72-00-32-020-374 Remove the Raceway (01-700)
Pre SBE 75-0081: Remove the two bolts and the two nuts which attach the tube 162 to the bifurcation panel. Remove the tube 162.
SUBTASK 72-00-32-020-375 Remove the Bifurcation Panel Tubes 162, 243, 157, 138, 153 and 168 (Pre SBE 75-0081 and SBE 75-0081)
Refer to Figure.
SUBTASK 72-00-32-020-273 Remove the Electrical Harness Raceway (01-100)
SUBTASK 72-00-32-020-276-A00 Remove the Tubes 244, 245, 246, 247 and 248, the Dedicated Alternator Cooling Air Tubes (SBE 75-0010 and Pre SBE 72-0160)
SUBTASK 72-00-32-020-276-B00 Remove the Tubes 244, 246, 247 and 248, the Dedicated Alternator Cooling Air Tubes (SBE 72-0160)
Refer to Figure.
Disconnect the tube 171 from the tube 117 with the IAE 1R18003 Wrench 1 off. Remove the tube 171, the seal housing and the three sealing rings.
SUBTASK 72-00-32-020-277 Remove the Tubes 171 and 170, the Fuel System Tubes
Refer to Figure.
SUBTASK 72-00-32-020-278 Remove the Tubes 98, 99, 97 and 96, the IDG Oil Cooling Tubes
Disconnect the tube 114 from the tube 113 with the IAE 1R18002 Wrench 1 off. Remove the tube 114 and the sealing ring.
Disconnect the tube 113 from the tube 177 with the IAE 1R18001 Wrench Remove the bolt, the washer, the clipnut and the clip at the clip position 1430. Remove the tube 113.
SUBTASK 72-00-32-020-279 Remove the Tubes 114, 115, 111, 113, 177 and 120, the Pressure Oil Tubes
NOTE
Some oil drainage could occur during this procedure. It is recommended that an applicable container is available.Disconnect the tube 172 from the tube 117 with the IAE 1R18003 Wrench 1 off.
Remove the Tubes 117 and 172, the Fuel System Tubes as follows:
SUBTASK 72-00-32-020-280-A00 Remove the Tubes 117 and 172, the Fuel System Tubes (Pre SBE 73-0078)
Disconnect the tube 172 from the tube 117 with the IAE 1R18003 Wrench .
Remove the three bolts which attach the tube Control Fuel Tubes(73-11-49, 02-300) to the FCOC. Remove the nuts and bolts that attach the tube Control Fuel Tubes (73-11-49, 02-300) to the tube 117.
Remove the restrictor and the restrictor retainer ring from the tube Control Fuel Tubes (73-11-49, 02-300).
Remove the Tubes 172, 117 and Control Fuel Tubes (73-11-49, 02-300) the Fuel System Tubes as follows:
SUBTASK 72-00-32-020-280-B00 Remove the Tubes 172, 117 and (73-11-49,02-300) the Fuel System Tubes (SBE 73-0078)
Refer to Figure.
SUBTASK 72-00-32-020-282 Remove the Vibration Transducer Raceway (77-32-15,05-300)
Refer to Figure.
SUBTASK 72-00-32-020-283 Remove the Vibration Harness Raceway (77-32-43,05-100)
Refer to Figure.
SUBTASK 72-00-32-020-284 Remove the EEC and Ignition Supply Harness Raceway (71-51-42,05-100)
Figure: Pre SBE 73-0140: Remove the Tube 239, the Fuel System Air Tube
Sheet 1

Figure: SBE 73-0140: Remove the Tube 239, the Fuel System Air Tube
Sheet 2

Figure: Pre SBE 75-0081: Remove the LP Compressor/Intermediate Case Right Side Tubes
Sheet 1

Figure: SBE 75-0081: Remove the LP Compressor/Intermediate Case Right Side Tubes
Sheet 2

Figure: Pre SBE 73-0198 and Pre SBE 75-0081: Remove the LP Compressor/Intermediate Case Right Side Tubes
Sheet 3

Figure: Pre SBE 73-0198 and SBE 75-0081: Remove the LP Compressor/Intermediate Case Right Side Tubes
Sheet 4

Figure: SBE 73-0198 and Pre SBE 75-0081: Remove the LP Compressor/Intermediate Case Right Side Tubes
Sheet 5

Figure: SBE 73-0198 and SBE 75-0081: Remove the LP Compressor/Intermediate Case Right Side Tubes
Sheet 6

Figure: Pre SBE 73-0198: Remove the LP Compressor/Intermediate Case Right Side Tubes
Sheet 7

Figure: SBE 73-0198: Remove the LP Compressor/Intermediate Case Right Side Tubes
Sheet 8

Figure: Pre SBE 75-0081: Remove the LP Compressor/Intermediate Case Right Side Tubes
Sheet 9

Figure: SBE 75-0081: Remove the LP Compressor/Intermediate Case Right Side Tubes
Sheet 10

Figure: Remove the LP Compressor/Intermediate Case Right Side Tubes
Sheet 11

Figure: Remove the LP Compressor/Intermediate Case Right Side Tubes
Sheet 12

Figure: Remove the Tubes 119 and 122, the Pressure Oil Tubes
Remove the Tubes 119 and 122, the Pressure Oil Tubes

Figure: Remove the Tubes 125 and 169, the Oil Scavenge Tubes
Remove the Tubes 125 and 169, the Oil Scavenge Tubes

Figure: Pre SBE 73-0198: Remove the Tubes 159, 135 and 142, the Fuel System Air Tubes and the Hose 220
Sheet 1

Figure: SBE 73-0198: Remove the Tubes 159, 135 and 142, the Fuel System Air Tubes and the Hose 220
Sheet 2

Figure: Pre SBE 73-0198: Remove the Tubes 159 and 135, the Fuel System Air Tubes
Sheet 3

Figure: SBE 73-0198: Remove the Tubes 159 and 135, the Fuel System Air Tubes
Sheet 4

Figure: Pre SBE 73-0198: Remove the LP Compressor/Intermediate Case Right Rear Side Tubes
Sheet 1

Figure: SBE 73-0198: Remove the LP Compressor/Intermediate Case Right Rear Side Tubes
Sheet 2

Figure: Pre SBE 73-0198: Remove the LP Compressor/Intermediate Case Right Rear Side Tubes
Sheet 3

Figure: Pre SBE 73-0198: Remove the LP Compressor/Intermediate Case Right Rear Side Tubes
Sheet 4

Figure: SBE 73-0198: Remove the LP Compressor/Intermediate Case Right Rear Side Tubes
Sheet 5

Figure: SBE 73-0198: Remove the LP Compressor/Intermediate Case Right Rear Side Tubes
Sheet 6

Figure: Pre SBE 73-0198 and Pre SBE 75-0081: Remove the LP Compressor/Intermediate Case Right Rear Side Tubes
Sheet 7

Figure: Pre SBE 73-0198 and SBE 75-0081: Remove the LP Compressor/Intermediate Case Right Rear Side Tubes
Sheet 8

Figure: SBE 73-0198 and Pre SBE 75-0081: Remove the LP Compressor/Intermediate Case Right Rear Side Tubes
Sheet 9

Figure: SBE 73-0198 and SBE 75-0081: Remove the LP Compressor/Intermediate Case Right Rear Side Tubes
Sheet 10

Figure: Pre SBE 73-0198 and Pre SBE 75-0081: Remove the LP Compressor/Intermediate Case Right Rear Side Tubes
Sheet 11

Figure: Pre SBE 73-0198 and SBE 75-0081: Remove the LP Compressor/Intermediate Case Right Rear Side Tubes
Sheet 12

Figure: SBE 73-0198 and Pre SBE 75-0081: Remove the LP Compressor/Intermediate Case Right Rear Side Tubes
Sheet 13

Figure: SBE 73-0198 and SBE 75-0081: Remove the LP Compressor/Intermediate Case Right Rear Side Tubes
Sheet 14

Figure: Pre SBE 73-0198 and Pre SBE 75-0081: Remove the Tubes at the Bifurcation Panel
Sheet 1

Figure: Pre SBE 75-0081: Remove the Tubes at the Bifurcation Panel
Sheet 2

Figure: Pre SBE 73-0198 and SBE 75-0081: Remove the Tubes at the Bifurcation Panel
Sheet 3

Figure: SBE 75-0081: Remove the Tubes at the Bifurcation Panel
Sheet 4

Figure: SBE 73-0198 and Pre SBE 75-0081: Remove the Tubes at the Bifurcation Panel
Sheet 5

Figure: SBE 73-0198 and SBE 75-0081: Remove the Tubes at the Bifurcation Panel
Sheet 6

Figure: Pre SBE 73-0198: Remove the Tubes at the Bifurcation Panel
Sheet 7

Figure: SBE 73-0198: Remove the Tubes at the Bifurcation Panel
Sheet 8

Figure: Pre SBE 73-0198 and Pre SBE 75-0081: Remove the Tubes at the Bifurcation Panel
Sheet 9

Figure: Pre SBE 73-0198 and SBE 75-0081: Remove the Tubes at the Bifurcation Panel
Sheet 10

Figure: SBE 73-0198 and Pre SBE 75-0081: Remove the Tubes at the Bifurcation Panel
Sheet 11

Figure: SBE 73-0198 and SBE 75-0081: Remove the Tubes at the Bifurcation Panel
Sheet 12

Figure: Pre SBE 75-0081: Remove the Tubes at the Bifurcation Panel
Sheet 13

Figure: SBE 75-0081: Remove the Tubes at the Bifurcation Panel
Sheet 14

Figure: Remove the Tubes 109, 94, 95 and the Fuel Flow Transmitter from the Fuel System LP Compressor/Intermediate case
Remove the Tubes 109, 94, 95 and the Fuel Flow Transmitter from the Fuel System LP Compressor/Intermediate case

Figure: Remove the Raceway (71-51-50,01-700)
Remove the Raceway (71-51-50,01-700)

Figure: Remove the Raceway (71-51-50, 01-100 and 71-51-50,01-500)
Sheet 1

Figure: Remove the Raceway (71-51-50, 01-100 and 71-51-50,01-500)
Sheet 2

Figure: Remove the Raceway (71-51-50, 01-100 and 71-51-50,01-500)
Sheet 3

Figure: Remove the Tubes 208, 209, 207, 206 and 205, the Scavenge Oil Tubes
Sheet 1

Figure: Remove the Tubes 208, 209, 207, 206 and 205, the Scavenge Oil Tubes
Sheet 2

Figure: Remove the Tubes 208, 209, 207, 206 and 205, the Scavenge Oil Tubes
Sheet 3

Figure: Pre SBE 72-0160: Remove the Tubes 244, 245, 246, 247 and 248, the Dedicated Alternator Cooling Air Tubes
Sheet 1

Figure: SBE 72-0160: Remove the Tubes 244, 245, 246, 247 and 248, the Dedicated Alternator Cooling Air Tubes
Sheet 2

Figure: Remove the Tubes 244, 245, 246, 247 and 248, the Dedicated Alternator Cooling Air Tubes
Sheet 3

Figure: Remove the Tubes 171 and 170, the Fuel System Tubes
Remove the Tubes 171 and 170, the Fuel System Tubes

Figure: Remove the Tubes 98, 99, 97 and 96, the IDG Oil Cooling Tubes
Remove the Tubes 98, 99, 97 and 96, the IDG Oil Cooling Tubes

Figure: Remove the Tubes 114, 115, 111, 113, 177 and 120, the Pressure Oil Tubes
Sheet 1

Figure: Remove the Tubes 114, 115, 111, 113, 177 and 120, the Pressure Oil Tubes
Sheet 2

Figure: Remove the Tubes 114, 115, 111, 113, 177 and 120, the Pressure Oil Tubes the Pressure Oil Tubes
Sheet 3

Figure: Pre SBE 73-0078: Remove the Tubes 117 and 172, the Fuel System Tubes
Sheet 1

Figure: SBE 73-0078: Remove the Tubes 117 and 172, the Fuel System Tubes
Sheet 2

Figure: Remove the Tubes 175, 176, 174 and 110, the Power Plant Fuel Tubes
Remove the Tubes 175, 176, 174 and 110, the Power Plant Fuel Tubes

Figure: Remove the Tubes 175, 176, 174 and 110, the Power Plant Fuel Tubes
Sheet 2

Figure: Remove the Vibration Transducer Raceway (71-51-42, 05-300)
Remove the Vibration Transducer Raceway (71-51-42, 05-300)

Figure: Remove the Vibration Harness Raceway (77-32-43, 05-100)
Remove the Vibration Harness Raceway (77-32-43, 05-100)

Figure: Remove the EEC and Ignition Supply Harness Raceway (71-51-42, 05-100)
Remove the EEC and Ignition Supply Harness Raceway (71-51-42, 05-100)

