Export Control
EAR Export Classification: Not subject to the EAR per 15 C.F.R. Chapter 1, Part 734.3(b)(3), except for the following Service Bulletins which are currently published as EAR Export Classification 9E991: SBE70-0992, SBE72-0483, SBE72-0580, SBE72-0588, SBE72-0640, SBE73-0209, SBE80-0024 and SBE80-0025.Copyright
© IAE International Aero Engines AG (2001, 2014 - 2021) The information contained in this document is the property of © IAE International Aero Engines AG and may not be copied or used for any purpose other than that for which it is supplied without the express written authority of © IAE International Aero Engines AG. (This does not preclude use by engine and aircraft operators for normal instructional, maintenance or overhaul purposes.).Applicability
All
Common Information
TASK 72-31-11-200-001-B00 Annulus Filler - Examine The Annulus Filler
General
This TASK gives the procedure for the inspection of the annulus fillers. For the other LP compressor blades and fillers parts, refer to TASK 72-31-11-200-000 (INSPECTION/CHECK-000).
The policy that is necessary for inspection is given in the SPM TASK 70-20-01-200-501.
All the parts must be cleaned before any part is examined. Refer to the SPM TASK 70-11-03-100-501.
All the parts must be visually examined for damage, corrosion and wear. Any defects that are not identified in the procedure must be referred to IAE.
The procedure for those parts which must have a crack test is given in Step. Do the test before the part is visually examined.
Do not discard any part until you are sure there are no repairs available. Refer to the instructions in Repair before a discarded part is used again or oversize parts are installed.
Parts which should be discarded can be held although no repair is available. The repair of a discarded part could be shown to be necessary at a later date.
All parts must be examined to make sure that all the repairs have been completed satisfactorily.
The practices and processes referred to in the procedure by the TASK/SUBTASK numbers are in the SPM.
References
Refer to the SPM for data on these items.
Definitions of Damage, the SPM TASK 70-02-02-350-501
Inspection of Parts, the SPM TASK 70-20-01-200-501
Some data on these items is contained in this TASK. For more data on these items refer to the SPM.
Method of Testing for Crack Indications
Chemical Processes
Surface Protection
Preliminary Requirements
Pre-Conditions
NONESupport Equipment
NONEConsumables, Materials and Expendables
NONESpares
NONESafety Requirements
NONEProcedure
NOTE
Make sure that the dry film lubricant on the annulus fillers is removed before fluoresent penetrant inspection. Refer to TASK 72-31-11-100-000 (CLEANING-000).NOTE
Removal of the anodize coat may be required to complete the inspection. Refer to TASK 72-31-11-100-000 (CLEANING-000).Clean the part. Refer to TASK 72-31-11-100-000 (CLEANING-000).
Apply the anodize coat after subsequent inspection, if removed. Refer to repair, VRS1019 TASK 72-31-11-300-019 (REPAIR-019).
SUBTASK 72-31-11-230-058 Examine the Annulus Filler (01-100) for Cracks
Refer to Figure.
Repair, VRS1004 TASK 72-31-11-300-001 (REPAIR-001)
Up to 0.010 in. (0.25 mm) in depth
More than in Step
Nicked.
Repair, VRS1004 TASK 72-31-11-300-001 (REPAIR-001)
Up to 0.010 in. (0.25 mm) in depth
More than in Step
Dented.
Repair, VRS1004 TASK 72-31-11-300-001 (REPAIR-001)
Up to 0.010 in. (0.25 mm) in depth
More than in Step
Scratched.
Repair, VRS1016 TASK 72-31-11-300-027 (REPAIR-027) or Repair, VRS1009 TASK 72-31-11-300-002 (REPAIR-002)
Up to 1.0 sqin (6.54 sqcm) in total
Repair, VRS1009 TASK 72-31-11-300-002 (REPAIR-002)
More than in Step
Missing anti-erosion coating.
Repair, VRS1004 TASK 72-31-11-300-001 (REPAIR-001)
Up to 0.010 in. (0.25 mm) in depth
More than in Step
Corrosion pitted.
Examine the platform at location 6.
SUBTASK 72-31-11-220-078 Examine the Annulus Fillers (01-100) Platform
Refer to Figure.
Repair, VRS1007 TASK 72-31-11-300-003 (REPAIR-003)
Missing or damaged
Examine the seal at location 3.
SUBTASK 72-31-11-220-079 Examine the Annulus Fillers (01-100) Seal
Refer to Figure.
Repair, VRS1007 TASK 72-31-11-300-003 (REPAIR-003)
Missing or damaged
Examine the bumper at location 7.
SUBTASK 72-31-11-220-080 Examine the Annulus Fillers (01-100) Bumper
Refer to Figure.
Repair, VRS1004 TASK 72-31-11-300-001 (REPAIR-001)
Up to 0.0035 in. (0.09 mm) in depth
More than in Step
Nicked.
Repair, VRS1004 TASK 72-31-11-300-001 (REPAIR-001)
Up to 0.0059 in. (0.15 mm) in depth
More than in Step
Scratched, galled and dented.
Repair, VRS1008 TASK 72-31-11-300-004 (REPAIR-004)
Missing dry film lubricant
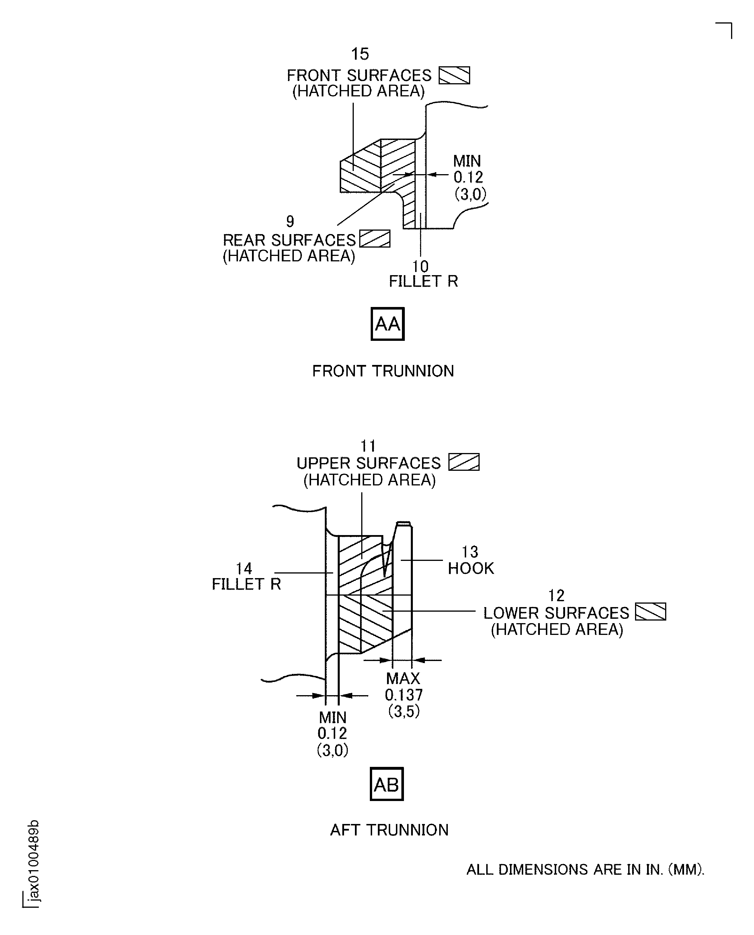
Examine the trunnion front surfaces at location 15.
Repair, VRS1004 TASK 72-31-11-300-001 (REPAIR-001)
Up to 0.002 in. (0.05 mm) in depth
More than in Step
Scratched, galled and dented.
Repair, VRS1008 TASK 72-31-11-300-004 (REPAIR-004)
Missing dry film lubricant
Examine the trunnion rear surfaces at location 9.
Repair, VRS1008 TASK 72-31-11-300-004 (REPAIR-004)
Missing dry film lubricant
Examine the fillet R at location 10.
SUBTASK 72-31-11-220-171 Examine the Annulus Fillers (01-100) Front Trunnion
Refer to Figure.
Repair, VRS1004 TASK 72-31-11-300-001 (REPAIR-001)
Up to 0.0078 in. (0.20 mm) in depth
More than in Step
Nicked.
Repair, VRS1004 TASK 72-31-11-300-001 (REPAIR-001)
Up to 0.010 in. (0.26 mm) in depth
More than in Step
Scratched, galled and dented.
Repair, VRS1008 TASK 72-31-11-300-004 (REPAIR-004)
Missing dry film lubricant
Examine the trunnion upper surfaces at location 11.
Repair, VRS1004 TASK 72-31-11-300-001 (REPAIR-001)
Up to 0.0141 in. (0.37 mm) in depth
More than in Step
Scratched, galled, nicked and dented.
Repair, VRS1008 TASK 72-31-11-300-004 (REPAIR-004)
Missing dry film lubricant
Examine the trunnion lower surfaces at location 12.
Repair, VRS1004 TASK 72-31-11-300-001 (REPAIR-001)
Up to 0.035 in. (0.90 mm) in depth
More than in Step
Scratched, galled, nicked and dented.
Examine the hook at location 13.
SUBTASK 72-31-11-220-172 Examine the Annulus Fillers (01-100) Aft Trunnion
Refer to Figure.
Repair, VRS1004 TASK 72-31-11-300-001 (REPAIR-001)
Up to 0.003 in. (0.07 mm) in depth
More than in Step
Galled.
Examine the front and rear faces at locations 2 and 8.
SUBTASK 72-31-11-220-082 Examine the Annulus Fillers (01-100) Front and Rear Faces
Refer to Figure.
Repair, VRS1010 TASK 72-31-11-300-005 (REPAIR-005)
Distorted or damaged
Examine the pin at location 1.
SUBTASK 72-31-11-220-083 Examine the Annulus Fillers (01-100) Pin
Refer to Figure.
Repair, VRS1013 TASK 72-31-11-300-014 (REPAIR-014)
Damaged
Examine the thread insert at location 4.
SUBTASK 72-31-11-220-084 Examine the Annulus Fillers (01-100) Thread Insert
Refer to Figure.
Repair, VRS1008 TASK 72-31-11-300-014 (REPAIR-004)
Missing dry film lubricant
Examine the coating surface at location 5.
SUBTASK 72-31-11-220-085 Examine the Annulus Fillers (01-100) Coating Surface
Refer to Figure.
Repair, VRS1004 TASK 72-31-11-300-001 (REPAIR-001)
Not more than 0.010 in. (0.25 mm)
More than in Step
Nicked, dented, scratched or corrosion pitted
Examine the remaining surfaces at location 16.
SUBTASK 72-31-11-220-235 Examine the Annulus Fillers (01-100) Remaining Surface
Figure: Location on the Annulus Filler
Sheet 1

Figure: Location on the Annulus Filler
Sheet 2

