Export Control
EAR Export Classification: Not subject to the EAR per 15 C.F.R. Chapter 1, Part 734.3(b)(3), except for the following Service Bulletins which are currently published as EAR Export Classification 9E991: SBE70-0992, SBE72-0483, SBE72-0580, SBE72-0588, SBE72-0640, SBE73-0209, SBE80-0024 and SBE80-0025.Copyright
© IAE International Aero Engines AG (2001, 2014 - 2021) The information contained in this document is the property of © IAE International Aero Engines AG and may not be copied or used for any purpose other than that for which it is supplied without the express written authority of © IAE International Aero Engines AG. (This does not preclude use by engine and aircraft operators for normal instructional, maintenance or overhaul purposes.).Applicability
V2500-A5
Common Information
TASK 72-00-60-020-002-B00 External Gearbox Module - Remove The Tubes And Electrical Harnesses From The External Gearbox, Removal-002
General
This TASK gives the procedure to remove the necessary dressings to permit removal of the external gearbox. For related data refer to TASK 72-00-60-020-001.
Fig./item numbers in parentheses in the procedure agree with those used in the IPC. Only the primary Fig./item numbers are used. For the service bulletin alpha variants refer to the IPC.
For all parts identified in a different Chapter/Section/Subject, the applicable Chapter/Section/Subject comes before the Fig./item number.
Apply the approved penetrating oil before the removal of threaded parts and parts with an interference fit. Let the parts soak before removal. For the approved oils and procedures, refer to the SPM TASK 70-64-00-640-501.
Seal all openings when tubes are disconnected, to prevent contamination from unwanted material.
Discard all rubber seal rings removed in this procedure.
Remove and discard the lockwire before the tube or connector is disconnected.
When electrical connectors are disconnected special plastic caps must be installed.
All tubes, hoses and ducts removed in this procedure must have their maintenance completed, as given in the Component Maintenance Manual (CMM-THD-V2500-1IA).
NOTE
Preliminary Requirements
Pre-Conditions
NONESupport Equipment
NONEConsumables, Materials and Expendables
NONESpares
NONESafety Requirements
NONEProcedure
Refer to Figure.
SUBTASK 72-00-60-020-176-A00 Remove the Clips at the Electrical Connectors 4005EV-A and 4005EV-B (Pre SBE 71-0111)
SUBTASK 72-00-60-020-176-B00 Remove the Lockwire at the Electrical Connectors (SBE 71-0111)
SBE 71-0111: Power plant - EEC harness fan/core - deletion of clipping at VSVA and PMA harness connectors and introduction of wire locking to secure the connectors.
SBE 71-0118 : Remove the bolts, washers, nuts, the spacer, clipnuts and clips from the clip positions 0787, 0788, 0789 and 1189.
Pre SBE 71-0288 Pre SBE 73-0219 and SBE 73-0235: Remove the bolt EEC Fan Harness (71-51-41,01-870), the washers EEC Fan Harness (71-51-41,01-871) and EEC Fan Harness (71-51-41,01-876), the spacers EEC Fan Harness (71-51-41,01-874) and EEC Fan Harness (71-51-41,01-875), the clips EEC Fan Harness (71-51-41,01-873) and Control Fuel Tubes (73-11-49,26-190) and the nut EEC Fan Harness (71-51-41,01-877) at the clipping point 0789.
Pre SBE 71-0288 and SBE 73-0219: Remove the bolt EEC Fan Harness (71-51-41,01-870), the washers EEC Fan Harness (71-51-41,01-871) and EEC Fan Harness (71-51-41,01-876), the spacers EEC Fan Harness (71-51-41,01-874) and EEC Fan Harness (71-51-41,01-875), the clips EEC Fan Harness (71-51-41,01-873), (73-11-47,04-552) and Control Fuel Tubes (73-11-49,26-190) and the nut EEC Fan Harness (71-51-41,01-877) at the clipping point 0789.
SBE 71-0288 Pre SBE 73-0219 and SBE 73-0235: Remove the bolt EEC Fan Harness (71-51-41,01-870), the spacers EEC Fan Harness (71-51-41,01-874) and EEC Fan Harness (71-51-41,01-875), the clips EEC Fan Harness (71-51-41,01-873) and Control Fuel Tubes (73-11-49,26-190), the washer EEC Fan Harness (71-51-41,01-876) and the nut EEC Fan Harness (71-51-41,01-877) at the clipping point 0789.
SBE 71-0288 and SBE 73-0219: Remove the bolt EEC Fan Harness (71-51-41,01-870), the spacers EEC Fan Harness (71-51-41,01-874) and EEC Fan Harness (71-51-41,01-875), the clips EEC Fan Harness (71-51-41,01-873), (73-11-47,04-552) and Control Fuel Tubes (73-11-49,26-190), the washer EEC Fan Harness (71-51-41,01-876) and the nut EEC Fan Harness (71-51-41,01-877) at the clipping point 0789.
Remove the electrical harnesses from the clip positions that follow:
SUBTASK 72-00-60-020-106 Move the Electrical Harness Clear of the External Gearbox (SBE 71-0118, Pre SBE 71-0288, SBE 71-0288, Pre SBE 73-0219SBE 73-0235 and SBE 73-0219)
Refer to Figure.
Remove the three bolts that attach the breather duct ENGINE-GEARBOX BREATHER OUTLET DUCT (72-61-49,01-010) to the deoiler, remove the breather duct and remove the packing.
SUBTASK 72-00-60-020-107 Remove the Deoiler Breather Duct
Refer to Figure.
Remove the coupling STARTING-STARTER DUCT (80-13-49,01-510) from the interface of the lower duct STARTING-STARTER DUCT (80-13-49,01-500) and the pneumatic starter STARTING-PNEUMATIC STARTER (80-13-41,01-200).
Hold the lower duct and remove the coupling STARTING-PNEUMATIC STARTER VALVE (80-13-51,01-210) from the interface at the lower duct and the starter valve STARTING-PNEUMATIC STARTER VALVE (80-13-51,01-200).
Remove the lower duct and remove the seals STARTING-STARTER DUCT (80-13-49, 01-520 and STARTING-PNEUMATIC STARTER VALVE80-13-51, 01-220).
SUBTASK 72-00-60-020-108 Remove the Pneumatic Starter Lower Duct Assembly
Pre SBE 79-0088 Pre SBE 73-0219 and SBE 73-0235: Remove the bolt Control Fuel Tubes (73-11-49,10-141), the washers Control Fuel Tubes (73-11-49,10-142), the clips EEC Fan Harness (71-51-41,01-129) and (71-51-41,10-144), the spacer Control Fuel Tubes (73-11-49,10-146) and Control Fuel Tubes (73-11-49,10-148) at the clipping point 1040.
SBE 79-0088 Pre SBE 73-0219 and SBE 73-0235: Remove the bolt Control Fuel Tubes (73-11-49,10-165), the washer Control Fuel Tubes (73-11-49,10-166), the clip Control Fuel Tubes (73-11-49,10-168) and the nut Control Fuel Tubes (73-11-49,10-172) at the clipping point 1461.
Pre SBE 79-0088 and SBE 73-0219: Remove the bolt Control Fuel Tubes (73-11-49,10-165), the washers Control Fuel Tubes (73-11-49,10-166), the clips Control Fuel Tubes (73-11-49,10-168) and (73-11-47,04-144), the spacer Control Fuel Tubes (73-11-49,10-170) and the nut Control Fuel Tubes (73-11-49,10-172) at the clipping point 1461.
SBE 79-0088 and SBE 73-0219: Remove the bolt Control Fuel Tubes (73-11-49,10-165), the washers Control Fuel Tubes (73-11-49,10-166), the clips Control Fuel Tubes (73-11-49,10-168) and (73-11-47,04-144), the spacer Control Fuel Tubes (73-11-49,10-170) and the nut Control Fuel Tubes (73-11-49,10-172) at the clipping point 1461.
SUBTASK 72-00-60-020-110 Remove the HP Servo Fuel Tube (89) (Pre SBE 79-0088, SBE 79-0088, Pre SBE 73-0219SBE 73-0235 and SBE 73-0219)
NOTE
Some fuel drainage could occur during this procedure. It is recommended that an applicable container be available.Refer to: Figure
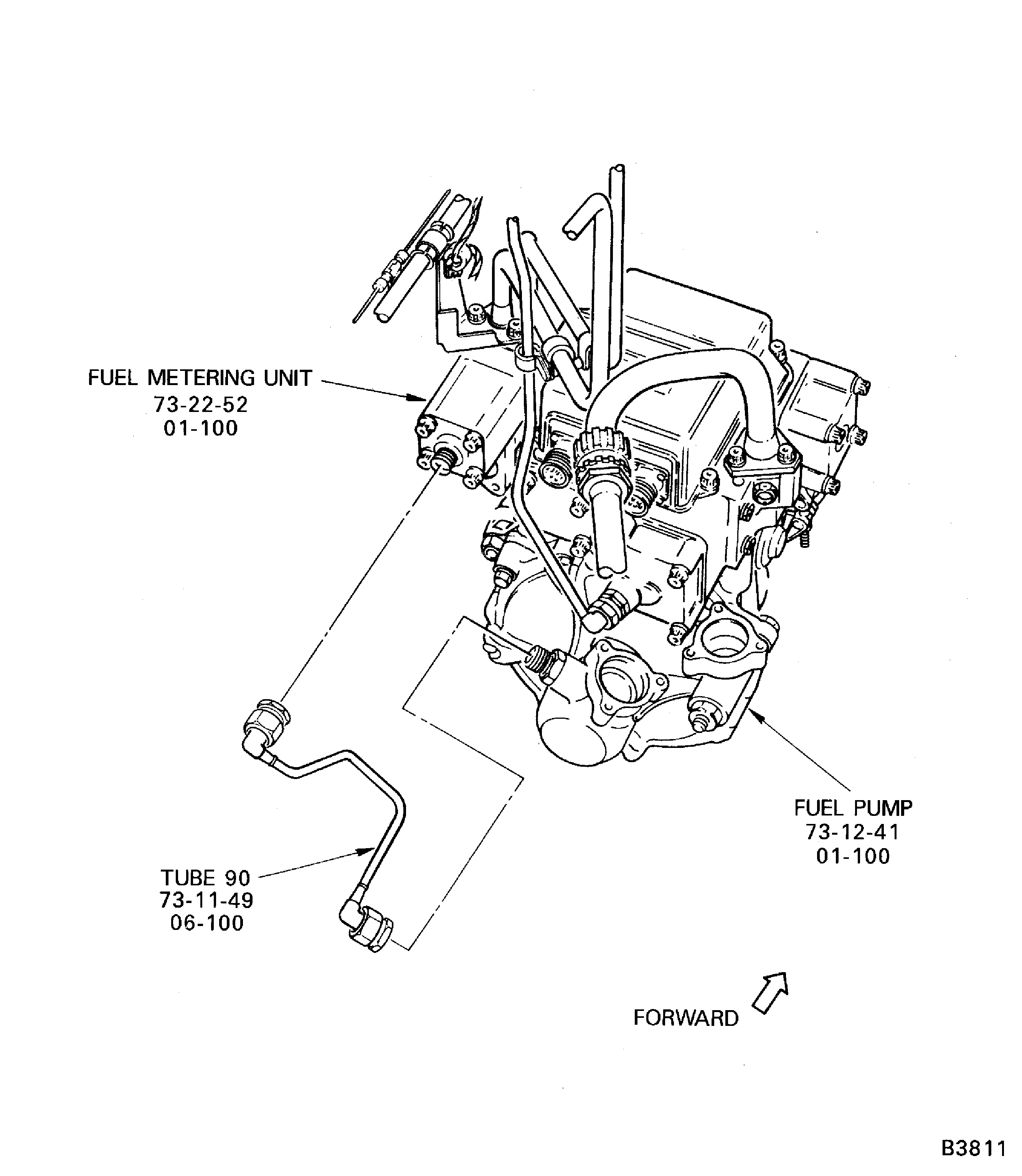
SUBTASK 72-00-60-020-111 Remove the LP Fuel Tube (90)
Pre SBE 73-0219 and SBE 73-0235: Remove the bolt Control Fuel Tubes (73-11-49,26-157), the washer Control Fuel Tubes (73-11-49,26-158), the clip Control Fuel Tubes (73-11-49,26-160) and the nut Control Fuel Tubes (73-11-49,26-164) at the clipping point 0921.
SBE 73-0219: Remove the bolt Control Fuel Tubes (73-11-49,26-157), the washers Control Fuel Tubes (73-11-49,26-158), the clips Control Fuel Tubes (73-11-49,26-160) and (73-11-47,04-544) and the nut Control Fuel Tubes (73-11-49,26-164) at the clipping point 0921.
Pre SBE 73-0219 and SBE 73-0235: Remove the bolt Control Fuel Tubes (73-11-49,26-173), the clips OIL-PRESSURE OIL TUBES-ENGINE (79-21-49,05-184) and Control Fuel Tubes (73-11-49,26-176), the spacer Control Fuel Tubes (73-11-49,26-178) and the clip nut Control Fuel Tubes (73-11-49,26-180) at the clipping point 1072.
SBE 73-0219: Remove the bolt Control Fuel Tubes (73-11-49,26-173), the washers Control Fuel Tubes (73-11-49,26-174), the clips (73-11-47,04-560), OIL-PRESSURE OIL TUBES-ENGINE (79-21-49,05-100) and Control Fuel Tubes (73-11-49,26-176), the spacers Control Fuel Tubes (73-11-49, 26-179) and Control Fuel Tubes (73-11-49,26-178) and the clip nut Control Fuel Tubes (73-11-49,26-180) at the clipping point 1072.
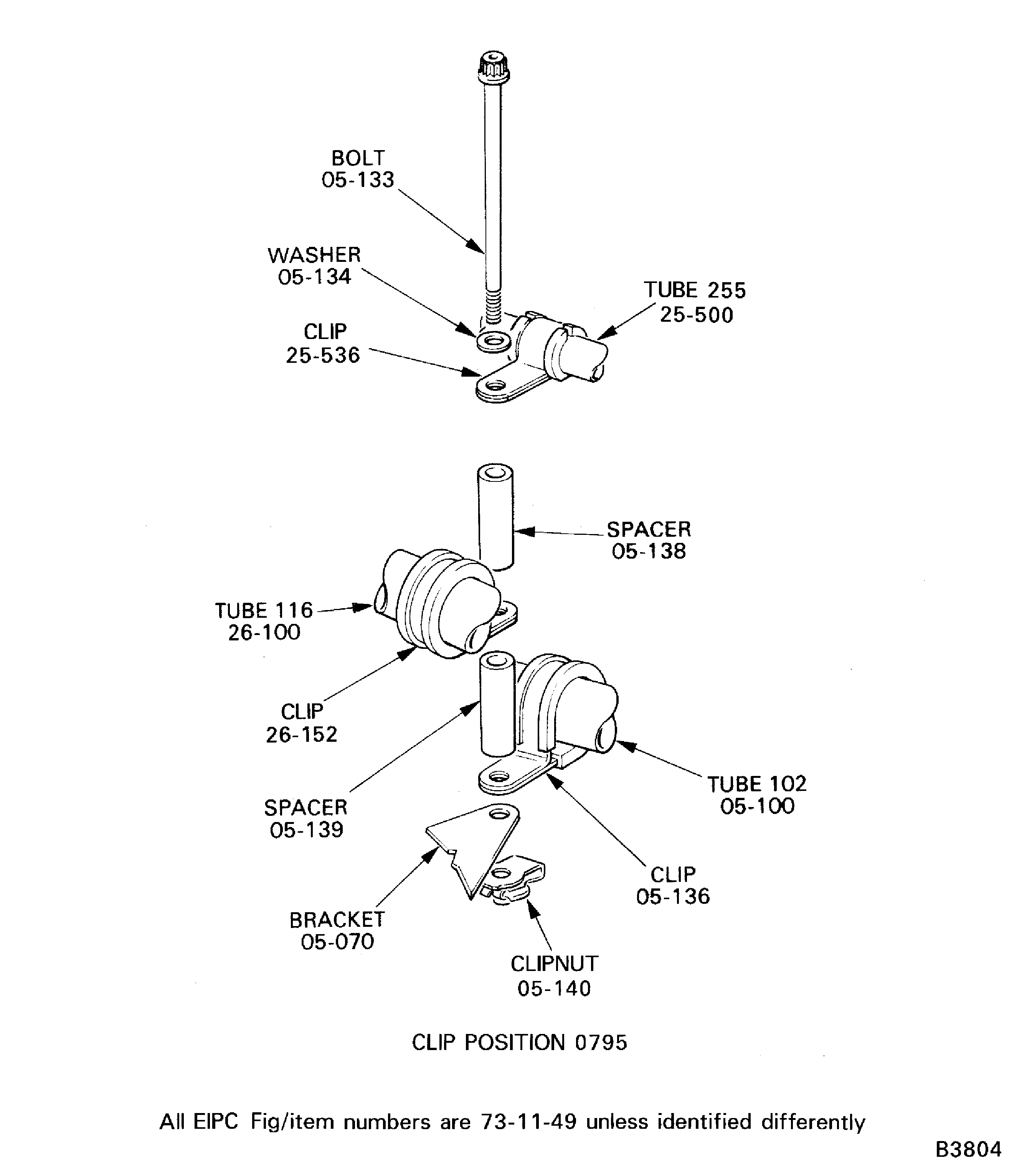
Remove the three bolts that attach the tube 116 and the bracket Control Fuel Tubes (73-11-49, 26-090) to the FMU and remove the sealing ring.
SUBTASK 72-00-60-020-115 Remove the FMU Spill Tube (116) (Pre SBE 73-0219SBE 73-0235 and SBE 73-0219)
NOTE
Some fuel drainage could occur during this procedure. It is recommended that an applicable container be available.Refer to Figure.
SUBTASK 72-00-60-020-117 Disconnect the Oil Feed Tube (112)
NOTE
Some oil drainage could occur during this procedure. It is recommended that an applicable container be available.Refer to Figure.
SUBTASK 72-00-60-020-118 Disconnect the Oil Scavenge Tube (123)
NOTE
Some oil drainage could occur during this procedure. It is recommended that an applicable container be available.Refer to Figure.
Remove the three bolts that attach the tube 110 to the fuel pump and remove the sealing ring and the bracket Main Fuel Supply Fuel Tubes (73-11-47,01-070).
SUBTASK 72-00-60-020-121 Disconnect the LP Fuel Tubes (110 and 117)
Refer to Figure.
SUBTASK 72-00-60-020-122 Disconnect the Fuel Flow Transmitter Inlet Tube (109)
NOTE
Some fuel drainage could occur during this procedure. It is recommended that an applicable container be available.Refer to Figure.
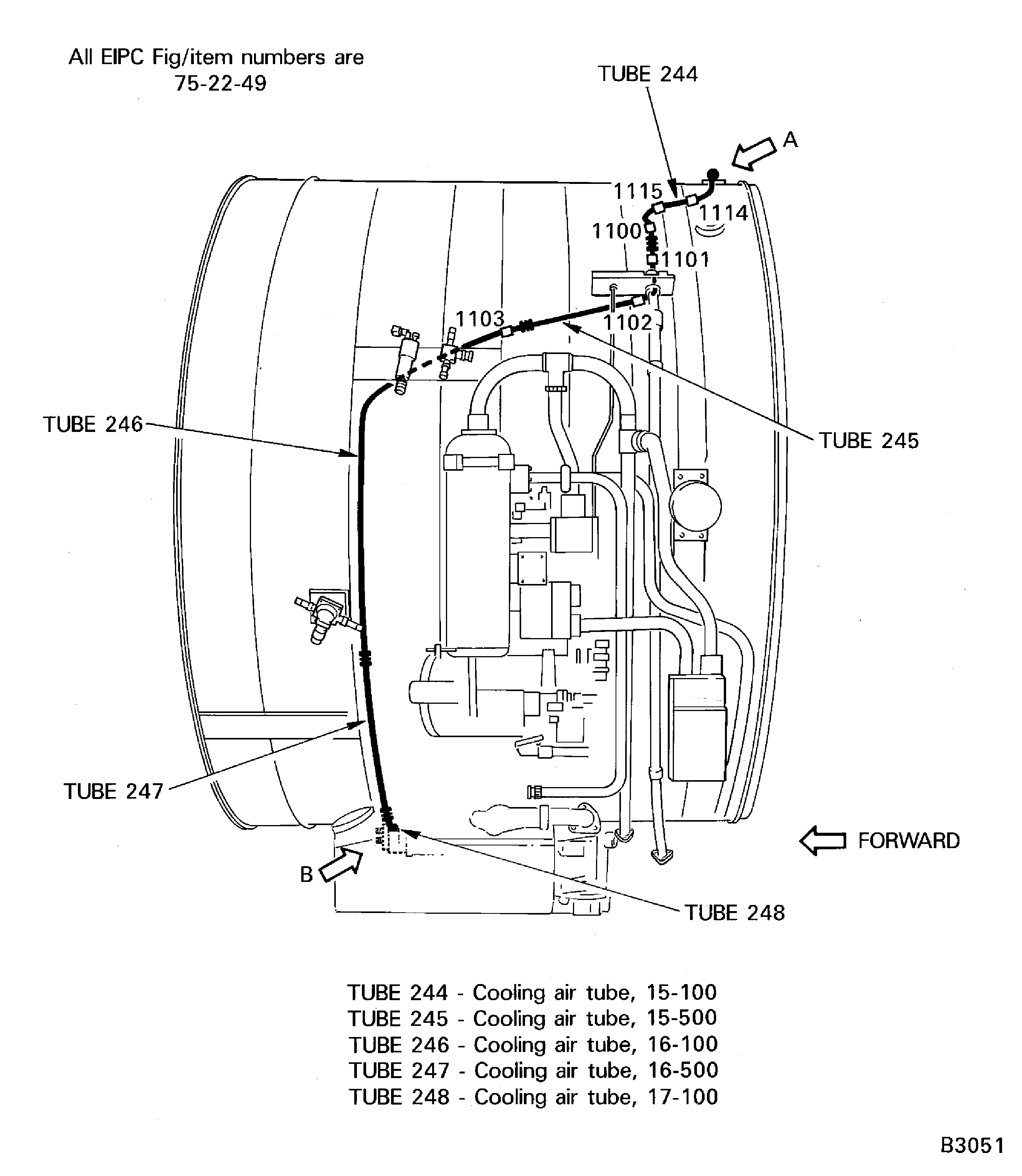
Disconnect the tube 248 from the dedicated alternator stator. Refer to TASK 72-00-60-050-001-B00 (REMOVAL-005, CONFIG-002).
Disconnect the tube 248 from the tube 247 and remove the tube 248, refer to TASK 72-00-32-020-003-B00 (REMOVAL-003, CONFIG-002).
Remove the clip positions 0779, 0845, 0847, 0893 and 0849 which attach the harnesses to the tube 247. Refer to TASK 72-00-32-020-002-B00 (REMOVAL-002, CONFIG-002).
Refer to TASK 72-00-32-020-003-B00 (REMOVAL-003, CONFIG-002) for the procedure to remove the remaining cooling air tubes.
SUBTASK 72-00-60-020-177 Remove the Tubes 247 and 248, the Dedicated Alternator Cooling Air Tubes
Refer to Figure.
SUBTASK 72-00-60-020-124 Disconnect the No. 4 Bearing Scavenge Tubes (126 and 128)
NOTE
Some oil drainage could occur during this procedure. It is recommended that an applicable container be available.Refer to Figure.
SUBTASK 72-00-60-020-125 Disconnect the No. 1, 2 and 3 Bearing Compartment Vent Tube (125)
NOTE
Some oil drainage could occur during this procedure. It is recommended that an applicable container be available.Refer to Figure.
SUBTASK 72-00-60-020-127 Disconnect the Hydraulic Pump Hoses

WARNING
DO NOT GET HYDRAULIC FLUID ON YOUR SKIN OR IN YOUR EYES. YOU MUST USE PROTECTIVE GOGGLES AND GLOVES. REFER TO THE MAKERS SPECIAL SAFETY INSTRUCTIONS.Refer to TASK 72-00-60-020-003-001 or TASK 72-00-60-020-003-002.
SUBTASK 72-00-60-020-128 Remove the External Gearbox
SBE 79-0069: Introduction of re-routed oil tubes and revised clipping above the external gearbox.
SBE 79-0069: Remove the bolts, the washer, the clipnut, the nut and the clips from the clip positions 1108 and 1401.
SBE 79-0069: Remove the bolt and the nut from the clip position 1402.
SBE 79-0069: Remove the bolts, the washer, the clipnut, the nut and the clips from the clip positions 1110 and 1400.
SUBTASK 72-00-60-020-129 Remove the ACOC Oil Tubes (118 and 121) from the External Gearbox (Pre SBE 79-0069 and SBE 79-0069)
With an applicable tool, hold the oil distributor OIL-PRESSURE OIL TUBES-GEARBOX (79-21-48,01-700) to prevent movement, disconnect the tube 112 from the oil distributor on the gearbox and remove the tube 112.
SUBTASK 72-00-60-020-131 Remove the Oil Feed Tube (112) from the External Gearbox
Remove the three bolts and washers that attach the tube 173 to the oil tank. Remove the tube 173 from the gearbox. Remove the preformed packing from the deoiler tube connection and remove the bracket OIL-OIL TANK (79-11-41,01-247).
NOTE
The parts of the tank pressurization valve must have their maintenance completed, as given in the Component Maintenance Manual (CMM-MECH-V2500-1IA).Disengage and remove the tank pressurization valve OIL-OIL TANK VALVE (79-11-51,01-001) from the tube 173.
SUBTASK 72-00-60-020-132 Remove the Oil Tank Breather Tube (173)
Disconnect the tube 181 at the angle gearbox and at the oil distributor OIL-PRESSURE OIL TUBES-GEARBOX (79-21-48,01-700) and remove the tube 181.
With an applicable tool, hold the oil distributor OIL-PRESSURE OIL TUBES-GEARBOX (79-21-48,01-700) to prevent movement and remove the tubes that follow:
SUBTASK 72-00-60-020-133 Remove the External Gearbox Oil Distribution Tubes
Refer to Figure.
NOTE
The two magnetic chip detectors removed from the scavenge tubes (107 and 123) were positions 2 and 3.
SUBTASK 72-00-60-020-134 Remove the Magnetic Chip Detector Assemblies from the External Gearbox
Remove the two bolts and washers that attach the bracket Gearbox Scavenge Oil Tubes (79-22-48,05-470) to the oil inlet manifold (tube 180). Remove the bracket and install the two bolts and washers again. Tighten by hand.
Remove the two nuts that attach the bracket Fuel Pumps (73-12-41,01-080) to the fuel pump mount. Remove the bracket and install the two nuts again. Tighten by hand.
Remove the four nuts that attach the brackets Angle Gearbox Assembly (72-60-40, 01-057 and Angle Gearbox Assembly72-60-40, 01-056) to the angle gearbox. Remove the bracket ELECTRICAL POWER-IDG OIL COOLING TUBES (24-21-49,02-900) and install the bracket Angle Gearbox Assembly (72-60-40,01-056) and the four nuts again. Tighten by hand.
SUBTASK 72-00-60-020-135 Remove all the Non-Modular Brackets from the External Gearbox
Refer to Figure.
SBE 71-0118 : Remove the clip bracket OIL-OIL QUANTITY TRANSMITTER (79-31-15,01-015).
NOTE
The oil quantity transmitter must have its maintenance completed, as given in the Ragen Data Component Maintenance Manual (79-31-15).
SUBTASK 72-00-60-020-136 Remove the Oil Quantity Transmitter (SBE 71-0118)
SBE 71-0118: Engine - Revised clipping to provide increased clearance between oil quantity transmitter and EEC harness
Figure: Disconnect the Electrical Harness from the External Gearbox
Disconnect the Electrical Harness from the External Gearbox

Figure: Disconnect the Electrical Harness from the External Gearbox
Disconnect the Electrical Harness from the External Gearbox

Figure: Disconnect the Electrical Harness from the External Gearbox
Disconnect the Electrical Harness from the External Gearbox

Figure: Disconnect the Electrical Harness from the External Gearbox
Disconnect the Electrical Harness from the External Gearbox

Figure: Disconnect the Electrical Harness from the External Gearbox
Disconnect the Electrical Harness from the External Gearbox

Figure: Disconnect the Electrical Harness from the External Gearbox
Disconnect the Electrical Harness from the External Gearbox

Figure: Pre SBE 71-0288: Disconnect the Electrical Harness from the External Gearbox
Pre SBE 71-0288: Disconnect the Electrical Harness from the External Gearbox

Figure: Disconnect the Electrical Harness from the External Gearbox
Disconnect the Electrical Harness from the External Gearbox

Figure: Disconnect the Electrical Harness from the External Gearbox
Disconnect the Electrical Harness from the External Gearbox

Figure: SBE 71-0288: Disconnect the Electrical Harness from the External Gearbox
SBE 71-0288: Disconnect the Electrical Harness from the External Gearbox

Figure: Remove the Oil Quantity Transmitter
Remove the Oil Quantity Transmitter

Figure: Remove the Gearbox Deoiler Breather Duct
Remove the Gearbox Deoiler Breather Duct

Figure: Remove the Pneumatic Starter Lower Duct Assembly
Remove the Pneumatic Starter Lower Duct Assembly

Figure: Remove the HP Servo Fuel Tube (89)
Remove the HP Servo Fuel Tube (89)

Figure: Remove the HP Servo Fuel Tube (89)
Remove the HP Servo Fuel Tube (89)

Figure: Remove the HP Servo Fuel Tube (89)
Remove the HP Servo Fuel Tube (89)

Figure: Remove the LP Fuel Tube (90) and the Fuel Pump Drain Tube (104)
Remove the LP Fuel Tube (90) and the Fuel Pump Drain Tube (104)

Figure: Remove the Fuel Servo Return Tube (103)
Remove the Fuel Servo Return Tube (103)

Figure: Remove the fuel Servo Return Tube (103)
Remove the fuel Servo Return Tube (103)

Figure: Remove the Fuel Servo Return Tube (103)
Remove the Fuel Servo Return Tube (103)

Figure: Remove the LP Fuel Tubes (102 and 116)
Remove the LP Fuel Tubes (102 and 116)

Figure: Remove the LP Fuel Tubes (102 and 116)
Remove the LP Fuel Tubes (102 and 116)

Figure: Remove the LP Fuel Tubes (102 and 116)
Remove the LP Fuel Tubes (102 and 116)

Figure: Remove the LP Fuel Tubes (102 and 116)
Remove the LP Fuel Tubes (102 and 116)

Figure: Remove the HP Fuel Tubes (91, 254 and 255)
Remove the HP Fuel Tubes (91, 254 and 255)

Figure: Remove the HP Servo Fuel Tubes (91, 254 and 255)
Remove the HP Servo Fuel Tubes (91, 254 and 255)

Figure: Remove the HP Servo Fuel Tubes (91, 254 and 255)
Remove the HP Servo Fuel Tubes (91, 254 and 255)

Figure: Remove the No.1, 2 and 3 Bearing Compartment Scavenge Tube Assembly
Remove the No.1, 2 and 3 Bearing Compartment Scavenge Tube Assembly

Figure: Remove the No.1, 2 and 3 Bearing Compartment Scavenge Tube Assembly
Remove the No.1, 2 and 3 Bearing Compartment Scavenge Tube Assembly

Figure: Remove the No.1, 2 and 3 Bearing Compartment Scavenge Tube Assembly
Remove the No.1, 2 and 3 Bearing Compartment Scavenge Tube Assembly

Figure: Disconnect the Oil Pump Scavenge Tube (123)
Disconnect the Oil Pump Scavenge Tube (123)

Figure: Remove the Air Modulating Valve Fuel Supply Tube (187)
Remove the Air Modulating Valve Fuel Supply Tube (187)

Figure: Remove the Air Modulating Valve Fuel Supply Tube (187)
Remove the Air Modulating Valve Fuel Supply Tube (187)

Figure: Disconnect the FCOC Oil Tubes (115 and 118)
Disconnect the FCOC Oil Tubes (115 and 118)

Figure: Disconnect the FCOC Oil Tubes (115 and 118)
Disconnect the FCOC Oil Tubes (115 and 118)

Figure: Disconnect the FCOC Oil Tubes (115 and 118)
Disconnect the FCOC Oil Tubes (115 and 118)

Figure: Disconnect the FCOC LP Fuel Tubes (110 and 117)
Disconnect the FCOC LP Fuel Tubes (110 and 117)

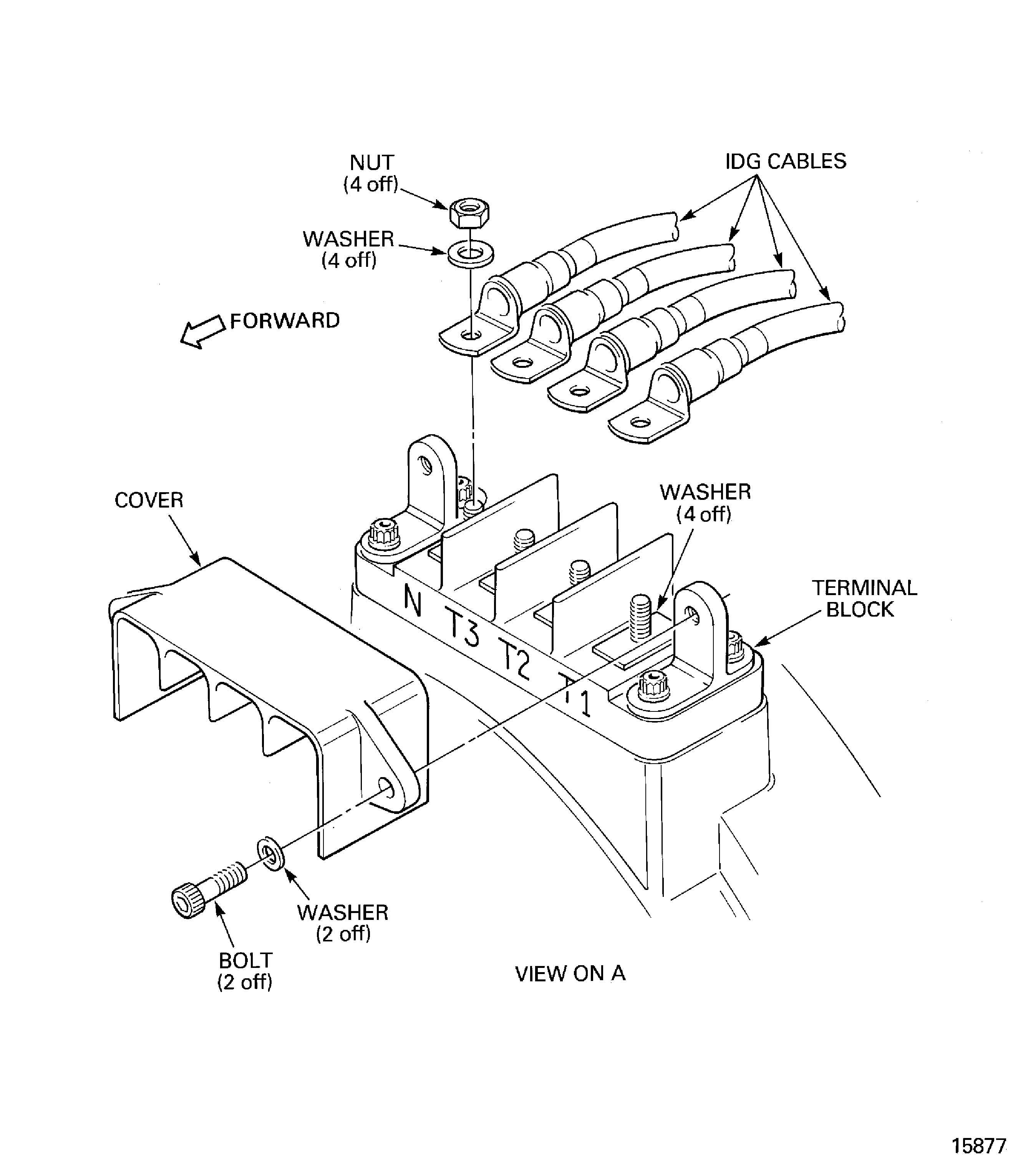
Figure: Remove the IDG Oil Cooling Tubes (100 and 101)
Remove the IDG Oil Cooling Tubes (100 and 101)

Figure: Remove the IDG Oil Cooling Tubes (100 and 101)
Remove the IDG Oil Cooling Tubes (100 and 101)

Figure: Remove the IDG Oil Cooling Tubes (100 and 101)
Remove the IDG Oil Cooling Tubes (100 and 101)

Figure: Disconnect the No.4 Bearing Scavenge Valve Tubes (126 and 128)
Disconnect the No.4 Bearing Scavenge Valve Tubes (126 and 128)

Figure: Disconnect the No.1, 2 and 3 Bearing Compartment Vent Tube (125)
Disconnect the No.1, 2 and 3 Bearing Compartment Vent Tube (125)

Figure: Disconnect the Scavenge Filter Differential Pressure Switch Tubes (208 and 209)
Disconnect the Scavenge Filter Differential Pressure Switch Tubes (208 and 209)

Figure: Disconnect the Scavenge Filter Differential Pressure Switch Tubes (208 and 209)
Disconnect the Scavenge Filter Differential Pressure Switch Tubes (208 and 209)

Figure: Disconnect the Hydraulic Pump Hoses
Disconnect the Hydraulic Pump Hoses

Figure: Remove the ACOC Oil Tubes (118 and 121) from the External Gearbox
Remove the ACOC Oil Tubes (118 and 121) from the External Gearbox

Figure: Remove the ACOC Oil Tubes (118 and 121) from the External Gearbox
Remove the ACOC Oil Tubes (118 and 121) from the External Gearbox

Figure: Remove the ACOC Oil Tubes (118 and 121) from the External Gearbox
Remove the ACOC Oil Tubes (118 and 121) from the External Gearbox

Figure: Remove the ACOC Oil Tubes (118 and 121) from the External Gearbox
Remove the ACOC Oil Tubes (118 and 121) from the External Gearbox

Figure: SBE 79-0069: Remove the ACOC Oil Tubes (118 and 121) from the External Gearbox
SBE 79-0069: Remove the ACOC Oil Tubes (118 and 121) from the External Gearbox

Figure: SBE 79-0069: Remove the ACOC Oil Tubes (118 and 121) from the External Gearbox
SBE 79-0069: Remove the ACOC Oil Tubes (118 and 121) from the External Gearbox

Figure: Remove the Oil Scavenge Tube (123) from the External Gearbox
Remove the Oil Scavenge Tube (123) from the External Gearbox

Figure: Remove the Gearbox Oil Feed Tube (112) from the External Gearbox
Remove the Gearbox Oil Feed Tube (112) from the External Gearbox

Figure: Remove the Oil Tank Breather Tube (173) from the External Gearbox
Remove the Oil Tank Breather Tube (173) from the External Gearbox

Figure: Remove the Oil Tank Breather Tube (173) from the External Gearbox
Remove the Oil Tank Breather Tube (173) from the External Gearbox

Figure: Remove the External Gearbox Oil Distribution Tubes
Remove the External Gearbox Oil Distribution Tubes

Figure: The External Gearbox Magnetic Chip Detectors - Location and Removal
The External Gearbox Magnetic Chip Detectors - Location and Removal

Figure: Remove the None-Modular Brackets from the External Gearbox
Remove the None-Modular Brackets from the External Gearbox

Figure: Remove the Non-Modular Brackets from the External Gearbox
Remove the Non-Modular Brackets from the External Gearbox

Figure: Pre SBE 71-0111: Remove the Clips at the Electrical Connectors
Pre SBE 71-0111: Remove the Clips at the Electrical Connectors

Figure: Remove the Dedicated Alternator Cooling Air Tubes
Remove the Dedicated Alternator Cooling Air Tubes

