Export Control
EAR Export Classification: Not subject to the EAR per 15 C.F.R. Chapter 1, Part 734.3(b)(3), except for the following Service Bulletins which are currently published as EAR Export Classification 9E991: SBE70-0992, SBE72-0483, SBE72-0580, SBE72-0588, SBE72-0640, SBE73-0209, SBE80-0024 and SBE80-0025.Copyright
© IAE International Aero Engines AG (2001, 2014 - 2021) The information contained in this document is the property of © IAE International Aero Engines AG and may not be copied or used for any purpose other than that for which it is supplied without the express written authority of © IAE International Aero Engines AG. (This does not preclude use by engine and aircraft operators for normal instructional, maintenance or overhaul purposes.).Applicability
All
Common Information
TASK 72-41-23-200-001-D00 HPC Rear Outer Case - Examine, lnspection-001
General
This TASK gives the procedure for the inspection of the Rear Outer Case.
Fig/item numbers in parentheses in the procedure agree with those used in the IPC. Only the primary Fig/item numbers are used. For the service bulletin alpha variant refer to the IPC.
The policy that is necessary for inspection is given in SPM TASK 70-20-01-200-501.
All the parts must be cleaned before any part is examined.
All the parts must be visually examined for damage, corrosion and wear. Any defects that are not identified in the procedure must be referred to IAE.
The procedure for the parts which must have a crack test is given in Step. Do the crack test before the part is visually examined.
Do not discard any part until you are sure there are no repairs available. Refer to the instructions in repair before a discarded part is used again or oversize parts are installed.
Parts which should be discarded can be held although no repair is available. The repair of a discarded part could be shown to be necessary at a subsequent date.
All parts must be examined to make sure that all the repairs are completed satisfactorily.
The practices and processes referred to in the procedure by the TASK/SUBTASK numbers are in SPM.
References
Refer to SPM for data on these items:
Definitions of damage, SPM TASK 70-02-02-350-501.
Inspection of parts, SPM TASK 70-20-01-200-501.
Some data on these items is contained in this TASK. For more data on these items refer to the SPM:
Method of Testing for Crack Indications.
Chemical processes.
Surface protection.
Preliminary Requirements
Pre-Conditions
NONESupport Equipment
NONEConsumables, Materials and Expendables
NONESpares
NONESafety Requirements
NONEProcedure
Remove shank nuts. Refer to repair, VRS6279 TASK 72-41-23-300-011 (REPAIR-011).
Clean the parts. Refer to TASK 72-41-23-100-000 (CLEANING-000).
Refer to repair, VRS6530 TASK 72-41-23-300-024 (REPAIR-024).
Cracked at rear flange Face 1.
Reject.
Cracked at all other locations.
Do the test for cracks on the part that are given below.
PART IDENT
TASK/SUBTASK
Rear outer case
SUBTASK 72-41-23-230-250 Examine the Rear Outer Case for Cracks
Refer to Figure.
Refer to repair, VRS6104 TASK 72-41-23-300-001 (REPAIR-001).
More than in Step.
Galled
Refer to repair, VRS6104 TASK 72-41-23-300-001 (REPAIR-001).
More than in Step.
Worn
Refer to repair, VRS6104 TASK 72-41-23-300-001 (REPAIR-001).
More than in Step.
Scored.
Refer to repair, VRS6104 TASK 72-41-23-300-001 (REPAIR-001).
More than in Step with local damage not more than 0.008 in. (0.203 mm) in depth, separated by more than 1.772 in. (45.000 mm) between damage area centers.
Refer to repair, VRS6528 TASK 72-41-23-300-023 (REPAIR-023).
More than in Step with general damage not more than 0.008 in. (0.203 mm) in depth separated by less than 1.772 in. (45.000 mm) between damage area centers.
Reject
More than 0.008 in. (0.203 mm) in depth
Faces 1 and 4
Refer to repair, VRS6104 TASK 72-41-23-300-001 (REPAIR-001).
More than in Step and not more than 0.010 in (0.254 mm) in depth, with damage segregation not necessary.
Reject
More than 0.010 in. (0.254 mm) in depth
Faces 2 and 3
Pitted and surface damaged
SUBTASK 72-41-23-220-201 Examine the Rear Outer Case Front and Rear Flanges at Face Locations 1 to 4
Refer to Figure.
Refer to repair, VRS6538 TASK 72-41-23-300-025 (REPAIR-025).
More than in Step.
Scored
Refer to repair, VRS6538 TASK 72-41-23-300-025 (REPAIR-025).
More than in Step.
Scratched
Refer to repair, VRS6538 TASK 72-41-23-300-025 (REPAIR-025).
Chipped.
Refer to repair, VRS6538 TASK 72-41-23-300-025 (REPAIR-025).
More than in Step.
Worn.
Accept.
If cracks are not found.
Refer to repair, VRS6538 TASK 72-41-23-300-025 (REPAIR-025).
If cracks are found.
Cracked.
SUBTASK 72-41-23-220-202 Examine the Rear Outer Case (72-41-23, 02-400) Coated Face at Location 5
Refer to Figure.
Refer to repair, VRS6104 TASK 72-41-23-300-001 (REPAIR-001).
Burred edges
Refer to repair, VRS6104 TASK 72-41-23-300-001 (REPAIR-001).
Scratched
Refer to repair, VRS6528 TASK 72-41-23-300-023 (REPAIR-023).
More than in Step and not more than 0.027 in. (0.686 mm) in depth.
Reject
More than 0.027 in. (0.686 mm) in depth
Hole 6 - bore surface.
Refer to repair, VRS6528 TASK 72-41-23-300-023 (REPAIR-023).
More than in Step and not more than 0.020 in. (0.508 mm) in depth
Reject
More than 0.020 in. (0.508 mm) in depth
Hole 7 - counter bore surface
Reject
More than in Step.
Hole 7 - shank nut neck bore (diameter 0.336 in. (8.54 mm) nominal).
Reject
More than in Step.
Hole 7 - conical surfaces.
Refer to repair, VRS6528 TASK 72-41-23-300-023 (REPAIR-023).
More than in Step and not more than 0.020 in. (0.508 mm) in depth.
Reject
More than 0.020 in. (0.508 mm) in depth
Hole 8 - bore surface.
Reject
More than in Step.
Hole 9 - shank nut neck bore (diameter 0.336 in. (8.54 mm) nominal)
Reject
More than in Step.
Hole 9 - conical surfaces
Pitted and surface damaged
SUBTASK 72-41-23-220-203 Examine the Rear Outer Case Boltholes at Locations 6 to 9
Refer to Figure.
Refer to repair, VRS6104 TASK 72-41-23-300-001 (REPAIR-001).
From impact damage not more than 0.041 in. (1.040 mm) in depth in dowel hole axial direction
Reject
More than in Step.
Burred and/or raised edges
Reject
More than in Step.
Location 10 - dowel hole diameter
Reject
More than in Step.
Location 11 - dowel hole diameter
Reject
More than in Step.
Pitted and surface damaged.
SUBTASK 72-41-23-220-204 Examine the Rear Outer Case Dowel Holes at Locations 10 and 11
Refer to Figure.
Refer to repair, VRS6104 TASK 72-41-23-300-001 (REPAIR-001).
More than in Step.
Galled surfaces
Refer to repair, VRS6104 TASK 72-41-23-300-001 (REPAIR-001).
More than in Step.
Scored surfaces
Refer to repair, VRS6104 TASK 72-41-23-300-001 (REPAIR-001).
More than in Step with local pitting not more than 0.030 in. (0.762 mm) in depth, separated by more than 1.772 in. (45.000 mm) between damage area centers.
Refer to repair, VRS6528 TASK 72-41-23-300-023 (REPAIR-023).
More than in Step with general pitting not more than 0.030 in. (0.762 mm) in depth, separated by less than 1.772 in. (45.000 mm) between damage area centers.
Reject
More than 0.030 in. (0.762 mm) in depth
External boss surfaces
Refer to repair, VRS6104 TASK 72-41-23-300-001 (REPAIR-001).
More than in Step and not more than 0.012 in. (0.305 mm) in depth and in radius 0.236 in. (6.000 mm) of hole center.
Internal casing surface local to fastener holes.
Pitted surfaces
Refer to repair, VRS6104 TASK 72-41-23-300-001 (REPAIR-001).
Burred edges
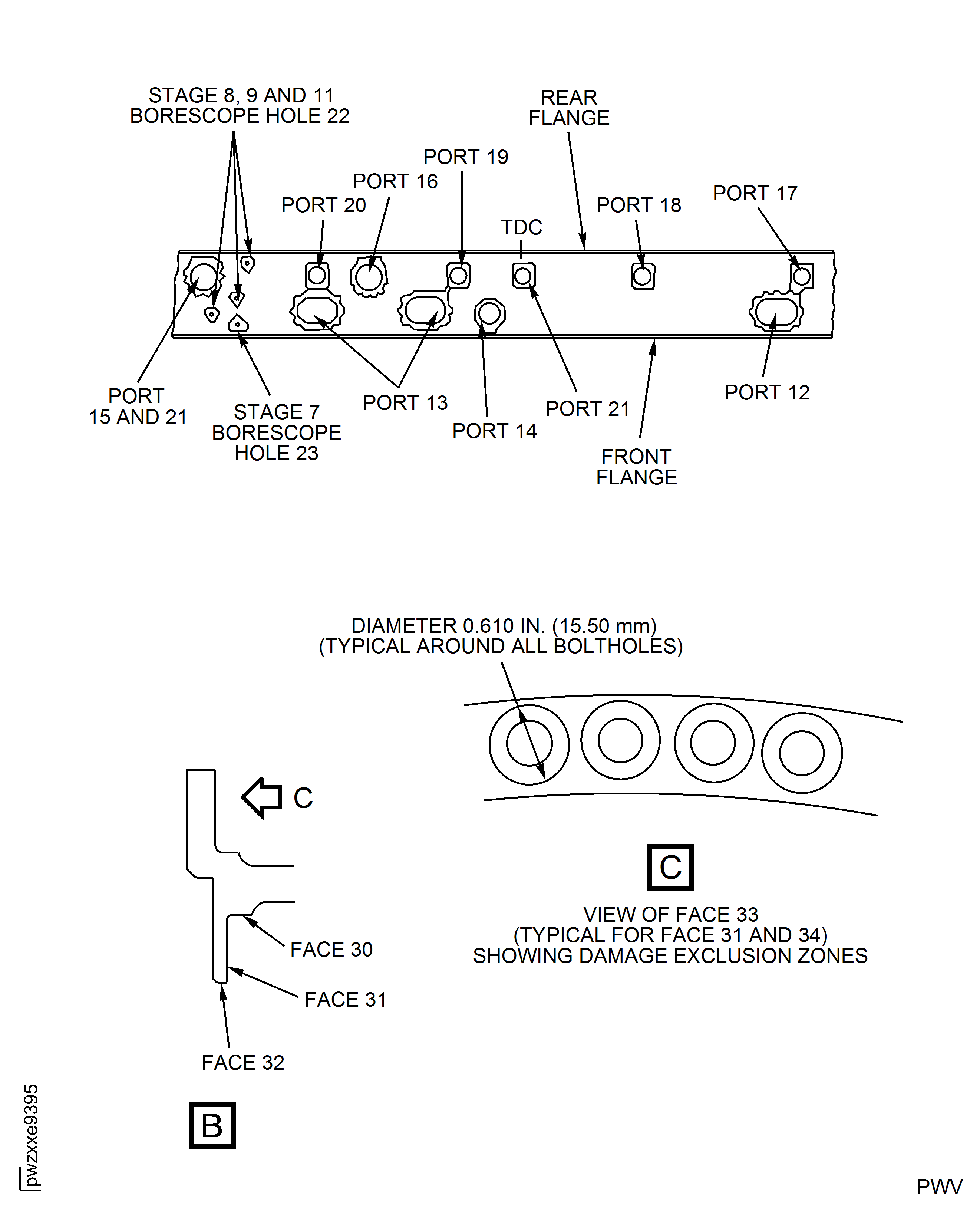
SUBTASK 72-41-23-220-206 Examine the Rear Outer Case Bleed Ports at Locations 12 to 16 and Cooling Air Ports at Locations 17 to 21
Refer to Figure.
Refer to repair, VRS6104 TASK 72-41-23-300-001 (REPAIR-001).
More than in Step
Scored
Refer to repair, VRS6104 TASK 72-41-23-300-001 (REPAIR-001).
More than in Step
Galled
Refer to repair, VRS6104 TASK 72-41-23-300-001 (REPAIR-001).
More than in Step with local pitting not more than 0.030 in. (0.762 mm) in depth, separated by more than 1.772 in. (45.000 mm) between damage area centers.
Refer to repair, VRS6528 TASK 72-41-23-300-023 (REPAIR-023).
More than in Step with general pitting not more than 0.030 in. (0.762 mm) in depth, separated by less than 1.772 in. (45.000 mm) between damage area centers.
Reject
More than 0.030 in. (0.762 mm) in depth
External boss surfaces
Refer to repair, VRS6104 TASK 72-41-23-300-001 (REPAIR-001).
More than in Step and not more than 0.012 in. (0.305 mm) in depth and in radius 0.236 in. (6.000 mm) of hole centre
Internal casing surface local to fastener holes
Refer to Repair, VRS6528 TASK 72-41-23-300-023 (REPAIR-023).
More than in Step.
Borescope bores
Pitted and surface damaged
Refer to repair, VRS6104 TASK 72-41-23-300-001 (REPAIR-001).
Burred edges
SUBTASK 72-41-23-220-208 Examine the Rear Outer Case Stage 7 to 11 Borescope Holes at Locations 22 and 23
Refer to Figure.
Refer to REPAIR-011 (VRS6279) TASK 72-41-23-300-011.
Loose
Refer to REPAIR-011 (VRS6279) TASK 72-41-23-300-011.
Damaged
SUBTASK 72-41-23-220-209 Examine the Rear Outer Case Shank Nuts at Locations 24 and 25
Refer to Figure.
Refer to REPAIR-021 (VRS6278) TASK 72-41-23-300-021.
Burred
Refer to REPAIR-021 (VRS6278) TASK 72-41-23-300-021.
Scored
Refer to REPAIR-021 (VRS6278) TASK 72-41-23-300-021.
Loose
SUBTASK 72-41-23-220-210 Examine the Rear Outer Case Pins at Location 26
Refer to REPAIR-019 (VRS6306) TASK 72-41-23-300-019.
Broken
Refer to REPAIR-019 (VRS6306) TASK 72-41-23-300-019.
Loose
Refer to REPAIR-019 (VRS6306) TASK 72-41-23-300-019.
Worn
Refer to REPAIR-019 (VRS6306) TASK 72-41-23-300-019.
Crossed thread
Refer to REPAIR-019 (VRS6306) TASK 72-41-23-300-019.
Stripped thread
SUBTASK 72-41-23-220-211 Examine the Rear Outer Case Screw Thread Inserts
Refer to REPAIR-022 (VRS6526) TASK 72-41-23-300-022.
Worn.
Refer to REPAIR-022 (VRS6526) TASK 72-41-23-300-022.
Missing threads or serrations
Refer to REPAIR-022 (VRS6526) TASK 72-41-23-300-022.
Damaged
Repair, VRS6540 72-41-23-300-026 (REPAIR-026).
Damaged due to oversized inserts.
Repair, VRS6526 TASK 72-41-23-300-022 (REPAIR-022).
Inspect for KEENSERTS.
SUBTASK 72-41-23-220-212 Examine the Rear Outer Case Screw Thread Insert Holes
Refer to REPAIR-003 (VRS6178) TASK 72-41-23-300-003.
Damaged
SUBTASK 72-41-23-220-213 Examine the Rear Outer Case Surface Protection
Refer to Figure.
Refer to repair, VRS6538 TASK 72-41-23-300-025 (REPAIR-025).
More than in Step.
Scored
Refer to repair, VRS6538 TASK 72-41-23-300-025 (REPAIR-025).
More than in Step.
Worn
Refer to repair, VRS6538 TASK 72-41-23-300-025 (REPAIR-025).
Chipped.
Refer to repair, VRS6538 TASK 72-41-23-300-025 (REPAIR-025).
More than in Step.
Scratched
Accept.
If cracks are not found.
Refer to repair, VRS6538 TASK 72-41-23-300-025 (REPAIR-025).
If cracks are found.
Cracked.
SUBTASK 72-41-23-220-214 Examine the Rear Outer Case Face at Location 1117
Refer to Figure.
Refer to repair, VRS6104 TASK 72-41-23-300-001 (REPAIR-001).
More than in Step.
Scored
Refer to repair, VRS6104 TASK 72-41-23-300-001 (REPAIR-001).
More than in Step.
Galled
Refer to repair, VRS6104 TASK 72-41-23-300-001 (REPAIR-001).
Not more than 0.002 in. (0.051 mm) in depth for an arc length of 1.968 in. (50.000 mm) in 7.874 in. (200.000 mm) circumferential length
Reject
More than in Step.
Pitted and Surface damaged
Refer to REPAIR-013 (VRS6339) TASK 72-41-23-300-013.
More than in Step.
Worn
SUBTASK 72-41-23-220-215 Examine the Rear Outer Case Face at Location 27
Refer to Figure.
Refer to repair, VRS6104 TASK 72-41-23-300-001 (REPAIR-001).
More than in Step with local pitting not more than 0.013 in. (0.330 mm) in depth, separated by more than 1.772 in. (45.000 mm) between damage area centers and not in the damage exclusion zone diameter 0.610 in. (15.500 mm) centered on fastener hole
Refer to repair, VRS6528 TASK 72-41-23-300-023 (REPAIR-023).
More than in Step with general pitting not more than 0.016 in. (0.406 mm) in depth or pitting in the exclusion zone
Reject
More than 0.016 in. (0.406 mm) in depth
Face 33
Refer to repair, VRS6104 TASK 72-41-23-300-001 (REPAIR-001).
More than in Step with local pitting not more than 0.013 in. (0.330 mm) in depth, separated by more than 1.772 in. (45.000 mm) between damage area centers and not in the damage exclusion zone diameter 0.610 in. (15.500 mm) centered on fastener hole
Refer to repair, VRS6528 TASK 72-41-23-300-023 (REPAIR-023).
More than in Step with general pitting not more than 0.020 in. (0.508 mm) in depth or pitting in the exclusion zone
Reject
More than 0.020 in. (0.508 mm) in depth
Face 34.
Pitted and surface damaged.
SUBTASK 72-41-23-220-216 Examine the Rear Outer Case Front Flange Rear Face and Rear Flange Front Face at Locations 33 and 34
Refer to Figure.
Refer to repair, VRS6104 TASK 72-41-23-300-001 (REPAIR-001).
More than in Step with local pitting not more than 0.012 in. (0.305 mm) in depth, separated by more than 1.772 in. (45.000 mm) between damage area centers and not in the damage exclusion zone diameter 0.630 in. (16.000 mm) centered on fastener hole
Refer to repair, VRS6528 TASK 72-41-23-300-023 (REPAIR-023).
More than in Step with general pitting not more than 0.024 in. (0.610 mm) in depth
Reject
More than 0.024 in. (0.610 mm) in depth
Face 30 (recess diameter)
Refer to repair, VRS6104 TASK 72-41-23-300-001 (REPAIR-001).
More than in Step with local pitting not more than 0.010 in. (0.254 mm) in depth
Refer to repair, VRS6528 TASK 72-41-23-300-023 (REPAIR-023).
More than in Step with heavy pitting not more than 0.017 in. (0.432 mm) in depth or pitting in the exclusion zone
Reject
More than 0.017 in. (0.432 mm) in depth
Face 31 (rear face)
Refer to repair, VRS6104 TASK 72-41-23-300-001 (REPAIR-001).
More than in Step with light pitting not more than 0.030 in. (0.762 mm) in depth
Refer to repair, VRS6528 TASK 72-41-23-300-023 (REPAIR-023).
More than in Step with heavy pitting not more than 0.045 in. (1.143 mm) in depth
Reject
More than 0.045 in. (1.143 mm) in depth
Face 32 (inner diameter)
Pitted and surface damaged
SUBTASK 72-41-23-220-217 Examine the Rear Outer Case Front Inner Flange Recess Diameter, Rear Face and Internal Diameter at Locations 30, 31 and 32
Refer to repair, VRS6104 TASK 72-41-23-300-001 (REPAIR-001).
More than in Step.
Nicked, dented and scratched.
SUBTASK 72-41-23-220-218 Examine the Rear Outer Case all Remaining Machined Surfaces
Refer to repair, VRS6104 TASK 72-41-23-300-001 (REPAIR-001).
More than in Step.
Nicked, dented and scratched.
SUBTASK 72-41-23-220-219 Examine the Rear Outer Case all Remaining Cast Surfaces
Refer to REPAIR-003 (VRS6178) TASK 72-41-23-300-003.
Apply surface protection
Refer to REPAIR-011 (VRS6279) TASK 72-41-23-300-011.
Replace shank nuts
SUBTASK 72-41-23-220-220 Replace Surface Protection and Shank Nuts
Figure: Rear Outer Case - Inspection Locations
Rear Outer Case - Inspection Locations

Rear Outer Case - Inspection Locations

