Export Control
EAR Export Classification: Not subject to the EAR per 15 C.F.R. Chapter 1, Part 734.3(b)(3), except for the following Service Bulletins which are currently published as EAR Export Classification 9E991: SBE70-0992, SBE72-0483, SBE72-0580, SBE72-0588, SBE72-0640, SBE73-0209, SBE80-0024 and SBE80-0025.Copyright
© IAE International Aero Engines AG (2001, 2014 - 2021) The information contained in this document is the property of © IAE International Aero Engines AG and may not be copied or used for any purpose other than that for which it is supplied without the express written authority of © IAE International Aero Engines AG. (This does not preclude use by engine and aircraft operators for normal instructional, maintenance or overhaul purposes.).Applicability
V2500-A1
Common Information
TASK 72-41-30-440-007-A00 HPC Front Case And Vane Assembly - Install The Stage 6 Variable Stator Vanes, Assembly-007
General
For all parts identified in a different Chapter/Section/Subject, the applicable Chapter/Section/Subject comes before the Fig/item number.
For standard torque data and procedures, refer to the SPM TASK 70-41-00-400-501, SPM TASK 70-41-01-400-501 and SPM TASK 70-41-02-400-501.
Special torque data and assembly tolerances are included in the procedure.
Lubricate all threads and touch faces of nuts and bolts with CoMat 10-077 APPROVED ENGINE OILS unless other lubricants are referred to in the procedure.
To identify, lubricate and install seal rings refer to the SPM TASK 70-44-01-400-501.
After assembly apply CoMat 07-038 AIR DRYING ENAMEL to any damaged surface protection, joint flanges and parts used to attach. Use the correct colour of the air drying enamel. Refer to the SPM TASK 70-63-02-380-501.
The number for each radial location must be identified in a clockwise direction. These start at the engine top position when you look from the rear of the engine, unless stated differently in the procedure.
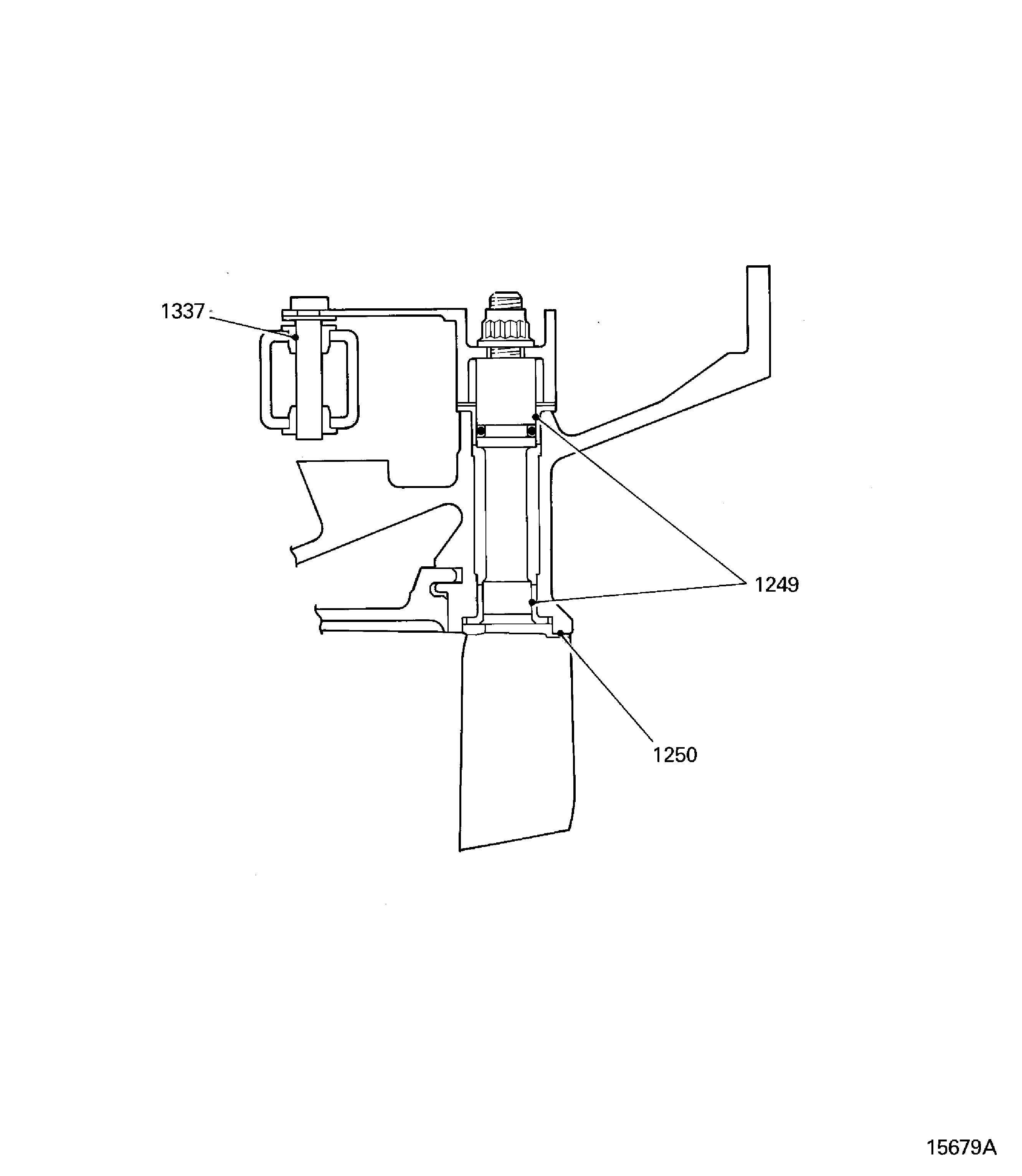
Pre SBE 72-0027: Refer to Figure for a sectional view of the HP Compressor front case.
SBE 72-0027: Refer to Figure for a sectional view of the HP Compressor front case.
The Fits and Clearances, NEW PART DIMENSIONS and REJECT IF MORE THAN columns will be used by most operators. This permits the full use of the maximum wear allowance and a reduction in the number of parts which are rejected, is possible.
As long as REJECT IF MORE THAN columns do not include reject values, NEW PART DIMENSIONS do not have to be measured before assembly, as there are no reject-if criteria. Values are only valid for new parts, not for worn parts.
The column WORN PART DIMENSIONS (Non-select) is included for operators who want to have full interchangeability. If this column is used an increase in the number of parts which are rejected is possible.
After the part has been in service for some time the REJECT IF MORE THAN and WORN PART DIMENSIONS could be changed. The operator must tell IAE and if agreed the manual will be changed.
The abbreviation Intf shows an interference or tight fit. This causes REJECT IF MORE THAN to become REJECT IF LESS THAN.
The abbreviation clear shows a clearance fit.
This TASK gives the procedure to install the Stage 6 VSV. The subsequent TASKS give the procedure to assemble the HP Compressor front cases.
Install the Stage 3 to 6 Rotor Path Rings Pre SBE 72-0027TASK 72-41-30-440-001-A00 (ASSEMBLY-001).
Install the Stage 5 and 6 Rotor Path Rings SBE 72-0027TASK 72-41-30-440-001-B00 (ASSEMBLY-001).
Measure and then machine the Stage 6 VSV and the Stage 3 to 6 Rotor Path Linings TASK 72-41-30-440-002-A00 (ASSEMBLY-002).
Install the VIGV TASK 72-41-30-440-003-A00 (ASSEMBLY-003).
Install the Stage 3 VSV TASK 72-41-30-440-004-A00 (ASSEMBLY-004).
Install the Stage 4 VSV TASK 72-41-30-440-005-A00 (ASSEMBLY-005).
Install the Stage 4 VSV TASK 72-41-30-440-005-A00 (ASSEMBLY-005).
Install the Stage 5 VSV TASK 72-41-30-440-006-A00 (ASSEMBLY-006).
TASK 72-41-30-440-008-A00 (ASSEMBLY-008)
Measure the HP Compressor Front Cases TASK 72-41-30-440-009-A00 (ASSEMBLY-009).
Disassemble the HP Compressor Front Cases TASK 72-41-30-440-010-A00 (ASSEMBLY-010).
Check and Set VSV System with Optimised Build and Setting Clearances - SBE 72-0402TASK 72-41-30-440-011-A00 (ASSEMBLY-011).
NOTE
NOTE
Preliminary Requirements
Pre-Conditions
NONESupport Equipment
| Name | Manufacturer | Part Number / Identification | Quantity | Remark |
|---|---|---|---|---|
| Hot air gun | LOCAL | Hot air gun | ||
| IAE 1R18255 Seal fitting tool | 0AM53 | IAE 1R18255 | 1 | |
| IAE 1R18263 Bushing assembly tool | 0AM53 | IAE 1R18263 | 1 | |
| IAE 1R18274 Air plug gage | 0AM53 | IAE 1R18274 | 1 | |
| IAE 1R18275 Setting ring | 0AM53 | IAE 1R18275 | 1 | |
| IAE 1R18276 Setting ring | 0AM53 | IAE 1R18276 | 1 | |
| IAE 1R18280 Air gage unit | 0AM53 | IAE 1R18280 | 1 | |
| IAE 1R18423 Rigging pin | 0AM53 | IAE 1R18423 | 6 | |
| IAE 1R18896 Rigging pin | 0AM53 | IAE 1R18896 | 6 | |
| IAE 1R18580 Pusher installation tool | 0AM53 | IAE 1R18580 | ||
| IAE 1R18575 Bushing assembly tool | 0AM53 | IAE 1R18575 | ||
| IAE 1R18573 Cylinder, hydraulic | 0AM53 | IAE 1R18573 |
Consumables, Materials and Expendables
| Name | Manufacturer | Part Number / Identification | Quantity | Remark |
|---|---|---|---|---|
| CoMat 07-038 AIR DRYING ENAMEL | k3504 | CoMat 07-038 | ||
| CoMat 10-077 APPROVED ENGINE OILS | LOCAL | CoMat 10-077 | ||
| CoMat 10-108 HIGH PERFORMANCE PENETRATING LUBRICANT WITH TEFLON (R) | LOCAL | CoMat 10-108 |
Safety Requirements
NONEProcedure
Refer to Figure.
SBE 70-0165: Engine - Additional source for Stage 6 Variable Stator Vane spindle bushings.
Reference dimensions at location 1249. If required use the data written as a note in TASK 72-41-31-200-000 and TASK 72-41-32-200-000.
Table 1. Fits and Clearances (all dimensions are in inches) NEW PART
WORN PART
DIMENSIONS
DIMENSIONS
PART IDENT
Size
Clearance
Non-select
REJECT IF
MORE THAN
LOCATION 1249
Stage 6 Bush Pre SBE 70-0165:
ENGINE-HP COMPRESSOR SPLIT CASES (72-41-31, 01-280), ENGINE-HP COMPRESSOR SPLIT CASES (01-281) And ENGINE-HP COMPRESSOR SPLIT CASES(01-282)
SBE 70-0165: (72-41-31, 01-280, 01-281, 01-282, 01-285, 01-286 and 01-287) Location On The Stage 6 VSV
ENGINE-HP COMPRESSOR VARIABLE VANES (72-41-32, 05-500 and ENGINE-HP COMPRESSOR VARIABLE VANES (05-600)
Stage 6 Bush Bore Stage 6 VSV Spindle Diameter
0.4724
0.4735
0.0018
0.4685
0.0050
0.4705
Table 2. Fits and Clearances (all dimensions are in millimeters) NEW PART
WORN PART
DIMENSIONS
DIMENSIONS
PART IDENT
Size
Clearance
Non-select
REJECT IF
MORE THAN
LOCATION 1249
Stage 6 Bush Pre SBE 70-0165:
ENGINE-HP COMPRESSOR SPLIT CASES (72-41-31, 01-280), ENGINE-HP COMPRESSOR SPLIT CASES (01-281) And ENGINE-HP COMPRESSOR SPLIT CASES (01-282)
SBE 70-0165: (72-41-31, 01-280, 01-281, 01-282, 01-285, 01-286 and 01-287) Location On The Stage 6 VSV
ENGINE-HP COMPRESSOR VARIABLE VANES (72-41-32, 05-500 and ENGINE-HP COMPRESSOR VARIABLE VANES (05-600)
Stage 6 Bush Bore
12.000
12.027
0.048
Stage 6 VSV Spindle Diameter
11.900
0.127
11.952
SUBTASK 72-41-30-220-099 Reference Fits and Clearances of the HP Compressor Front Cases and Vanes at Location 1249 (Pre SBE 70-0165 and SBE 70-0165)
Refer to Figure.
Reference dimensions at location 1337. If required use the data written as a note in TASK 72-41-34-200-000.
Table 3. Fits and Clearances (all dimensions are in inches) NEW PART
WORN PART
DIMENSIONS
DIMENSIONS
PART IDENT
Size
Clearance
Non-select
REJECT IF
MORE THAN
LOCATION 1337
Stage 6 VSV Lever (72-41-34, 06-100) Location In The BushACTUATING MECHANISM HP COMPRESSOR VARIABLE VANES (72-41-34, 06-460) And ACTUATING MECHANISM HP COMPRESSOR VARIABLE VANES (06-560)
Stage 6 lever Diameter
0.1960
0.1965
0.0004
Bush Bore
0.1969
0.0016
0.1976
Table 4. Fits and Clearances (all dimensions are in millimeters) NEW PART
WORN PART
DIMENSIONS
DIMENSIONS
PART IDENT
Size
Clearance
Non-select
REJECT IF
MORE THAN
LOCATION 1337
Stage 6 VSV Lever (72-41-34, 06-100) Location In The BushACTUATING MECHANISM HP COMPRESSOR VARIABLE VANES (72-41-34, 06-460 And ACTUATING MECHANISM HP COMPRESSOR VARIABLE VANES06-560)
Stage 6 Lever Diameter
4.978
4.990
0.01
Bush Bore
5.000
0.04
5.018
SUBTASK 72-41-30-220-100 Reference Fits and Clearances of the HP Compressor Front Cases and Vanes at Location 1337
Install the four bolts ACTUATING MECHANISM HP COMPRESSOR VARIABLE VANES (72-41-34, 06-682) to attach the two Stage 6 centralizing pads to the Stage 6 upper actuating ring.
Install the two Stage 6 centralizing pads ACTUATING MECHANISM HP COMPRESSOR VARIABLE VANES (72-41-34, 06-680) on to the Stage 6 upper actuating ring ACTUATING MECHANISM HP COMPRESSOR VARIABLE VANES (72-41-34, 06-440).
Install the two Stage 6 centralizing pads in to the Stage 6 lower actuating ring ACTUATING MECHANISM HP COMPRESSOR VARIABLE VANES (72-41-34, 06-540).
Put the two brackets ACTUATING MECHANISM HP COMPRESSOR VARIABLE VANES (72-41-34, 06-780) and ACTUATING MECHANISM HP COMPRESSOR VARIABLE VANES (06-790) in to position on the upper and lower Stage 6 actuating rings ACTUATING MECHANISM HP COMPRESSOR VARIABLE VANES (72-41-34, 06-440) and ACTUATING MECHANISM HP COMPRESSOR VARIABLE VANES (06-540). Refer to the detail at E.
Install the two hollow dowels ACTUATING MECHANISM HP COMPRESSOR VARIABLE VANES (72-41-34, 06-786) and the two bolts ACTUATING MECHANISM HP COMPRESSOR VARIABLE VANES (72-41-34, 06-782) to attach the two brackets to the upper and lower Stage 6 actuating rings.
Put the bracket ACTUATING MECHANISM HP COMPRESSOR VARIABLE VANES (72-41-34, 06-790) in to position on the upper Stage 6 actuating ring. Refer to the detail at F.
Install the two hollow dowels ACTUATING MECHANISM HP COMPRESSOR VARIABLE VANES (72-41-34, 06-796) and the two bolts ACTUATING MECHANISM HP COMPRESSOR VARIABLE VANES (72-41-34, 06-792) to attach the bracket to the upper Stage 6 actuating ring.
Install the rigging pin brackets.
SUBTASK 72-41-30-440-086 Install the Stage 6 Centralizing Pads and Rigging Pin Brackets
Connect the IAE 1R18274 Air plug gage 1 off to the IAE 1R18280 Air gage unit 1 off. Connect an air supply to the air gage unit.
Install IAE 1R18275 Setting ring 1 off on to the air plug gage. Refer to Figure. The two air jets, on the air plug gage, must be approximately in the center of the setting ring bore.
Install IAE 1R18276 Setting ring 1 off on to the air plug gage. The two air jets, on the air plug gage, must be approximately in the center of the setting ring bore.
Set the tools to measure the bush location bores.
SUBTASK 72-41-30-220-147 Measure the Stage 6 VSV Spindle Bushes Location Bores
SBE 70-0165: Engine - Additional source for Stage 6 Variable Stator Vane spindle bushings
Pre SBE 70-0165: From the values written in Step use the correct size of bush.
Red segment - Fig/Item 72-41-31, 01-280.
Yellow segment - Fig/Item 72-41-31, 01-281.
Black segment - Fig/Item 72-41-31, 01-282.
SBE 70-0165: From the values written in Step use the correct size of bush.
Red segment - Fig/Item 72-41-31, 01-280 or 72-41-31, 01-285.
Yellow segment - Fig/Item 72-41-31, 01-281 or 72-41-31, 01-286.
Black segment - Fig/Item 72-41-31, 01-282 or 72-41-31, 01-287.
Use IAE 1R18263 Bushing assembly tool 1 off to install the bushes. Refer to Figure.
Install the Stage 6 VSV outer bushes.
SUBTASK 72-41-30-440-125-001 Install the Stage 6 VSV Spindle Bushes using IAE 1R18263 Bush Assembly Tool (Pre SBE 70-0165 and SBE 70-0165)
Pre SBE 70-0165: From the values written in Step use the correct size of bush.
Red segment - Fig/Item 72-41-31, 01-280.
Yellow segment - Fig/Item 72-41-31, 01-281.
Black segment - Fig/Item 72-41-31, 01-282.
SBE 70-0165: From the values written in Step use the correct size of bush.
Red segment - Fig/Item 72-41-31, 01-280 or 72-41-31, 01-285.
Yellow segment - Fig/Item 72-41-31, 01-281 or 72-41-31, 01-286.
Black segment - Fig/Item 72-41-31, 01-282 or 72-41-31, 01-287.
Install the IAE 1R18580 Pusher installation tool 1 off in to the Stage 6 VSV bush location at the No. 1 position. Make sure the pusher is correctly located on the HP Compressor front case inner surface.
Install the IAE 1R18575 Bushing assembly tool 1 off, on the pusher.
Install the IAE 1R18573 Cylinder, hydraulic 1 off, on the pusher until the cylinder comes against the bush assembly tool. Refer to Figure.
Install the Stage 6 VSV outer bushes.
SUBTASK 72-41-30-440-125-002 Install the Stage 6 VSV Spindle Bushes using IAE 1R18580, IAE 1R18575 and IAE 1R18573 Bush Assembly Tools
Refer to Figure.
Install the 84 seals ENGINE-HP COMPRESSOR VARIABLE VANES (72-41-32, 05-495) on the 84 Stage 6 stator vane spindles ENGINE-HP COMPRESSOR VARIABLE VANES (72-41-32, 05-500) and ENGINE-HP COMPRESSOR VARIABLE VANES (05-600).
Lubricate the seal with CoMat 10-077 APPROVED ENGINE OILS.
Procedure to install the seals on the Stage 6 stator vane spindles with IAE 1R18255 Seal fitting tool 1 off.
SUBTASK 72-41-30-440-087 Install the Seals on the Stage 6 Stator Vane Spindles
Pre SBE 72-0402: It is not necessary to lubricate the Stage 6 locations with CoMat 10-108 HIGH PERFORMANCE PENETRATING LUBRICANT WITH TEFLON (R) during this SUBTASK.
SBE 72-0402: Lubricate the Stage 6 locations during these assembly operations with CoMat 10-108 HIGH PERFORMANCE PENETRATING LUBRICANT WITH TEFLON (R) as specified in TASK 72-41-30-440-011-A00, SUBTASK 72-41-30-440-208.
Install 84 inner half bush ENGINE-HP COMPRESSOR SPLIT CASES (72-41-31, 01-290) on spindles of the 40 Stage 6 stator vanes ENGINE-HP COMPRESSOR VARIABLE VANES (72-41-32, 05-500) and the two Stage 6 stator vanes ENGINE-HP COMPRESSOR VARIABLE VANES (72-41-32, 05-600).
Temporarily mark each vane with its position number before it is installed.
NOTE
The two Stage 6 Stator Vanes ENGINE-HP COMPRESSOR VARIABLE VANES (72-41-32, 05-600) go at the positions 1 and 42 adjacent to the split line flanges.
The inner half bushes split line must be at right angles to the engine horizontal center line.
Install the Stage 6 stator vanes in the upper half HP Compressor front case. The stator vanes must be installed in their correct positions.
Install the 40 Stage 6 stator vanes ENGINE-HP COMPRESSOR VARIABLE VANES (72-41-32, 05-500) and the two Stage 6 stator vanes ENGINE-HP COMPRESSOR VARIABLE VANES (72-41-32, 05-600) in the lower half HP Compressor front case as given in Step to Step.
Install the Stage 6 stator vanes in the lower half HP Compressor front case. The stator vanes must be installed in their correct positions.
NOTE
The two Stage 6 stator vanes ENGINE-HP COMPRESSOR VARIABLE VANES (72-41-32, 05-600) must be installed at the positions 43 and 84.Put two spacers ACTUATING MECHANISM HP COMPRESSOR VARIABLE VANES (72-41-34, 06-060) on the spindle of each Stage 6 stator vanes.
The four actuating levers ACTUATING MECHANISM HP COMPRESSOR VARIABLE VANES (72-41-34, 06-140) go at the positions 1, 42, 43 and 84.
The 12 actuating levers ACTUATING MECHANISM HP COMPRESSOR VARIABLE VANES (72-41-34, 06-120) go at the positions 2 to 4, 39 to 41, 44 to 46 and 81 to 83.
The 68 actuating levers ACTUATING MECHANISM HP COMPRESSOR VARIABLE VANES (72-41-34, 06-100) go at the positions 5 to 38 and 47 to 80.
Install the 84 Stage 6 Actuating Levers on the spindles of the Stage 6 stator vanes.
Measure and write down a record of the end float, dimension A Figure. Measure between the actuating lever and the installed spacers.
NOTE
Temporarily mark the Stage 6 actuating levers with their position numbers. These must be the same as the numbers on the Stage 6 stator vanes.
Measure and write down the Stage 6 stator vanes end float.
SUBTASK 72-41-30-440-088 Install the Stage 6 Variable Stator Vanes in the HP Compressor Front Case (Pre SBE 72-0402 and SBE 72-0402)
Pre SBE 72-0402: It is not necessary to lubricate the Stage 6 locations with CoMat 10-108 HIGH PERFORMANCE PENETRATING LUBRICANT WITH TEFLON (R) during this SUBTASK.
SBE 72-0402: Lubricate the stage 6 locations during these assembly operations with CoMat 10-108 HIGH PERFORMANCE PENETRATING LUBRICANT WITH TEFLON (R) as specified in TASK 72-41-30-440-011-A00, SUBTASK 72-41-30-440-208.
Put the Stage 6 upper actuating ring ACTUATING MECHANISM HP COMPRESSOR VARIABLE VANES (72-41-34, 06-140) in to position on the upper half HP Compressor front case. Install three IAE 1R18423 Rigging pin 6 off or IAE 1R18896 Rigging pin 6 off to attach the Stage 6 actuating ring to the upper half HP Compressor front case.
Install two spacers ACTUATING MECHANISM HP COMPRESSOR VARIABLE VANES (72-41-34, 06-060) thru ACTUATING MECHANISM HP COMPRESSOR VARIABLE VANES (72-41-34, 06-078) on to the spindle of each Stage 6 stator vane at the positions 5 to 38. The thickness of the spacers that are to be installed are equal to:
Install the 34 slave Stage 6 actuating levers ACTUATING MECHANISM HP COMPRESSOR VARIABLE VANES (72-41-34, 06-100) in the locations in the Stage 6 upper actuating ring. Engage the actuating levers on the Stage 6 stator vane spindles.
Install the 34 nuts ACTUATING MECHANISM HP COMPRESSOR VARIABLE VANES (72-41-34, 06-103) to attach the Stage 6 actuating levers to the Stage 6 stator vanes at the positions 5 to 38.
Install the Stage 6 actuating ring and the actuating levers on to the upper half HP Compressor front case.
Install the Stage 6 lower actuating ring ACTUATING MECHANISM HP COMPRESSOR VARIABLE VANES (72-41-34, 06-540) and the Stage 6 actuating levers, at the positions 47 to 80 as given in Step to Step.
Install the Stage 6 actuating ring and the Stage 6 actuating levers on to the lower half HP Compressor front case.
SUBTASK 72-41-30-440-089 Install the HP Compressor Stage 6 Actuating Rings (Pre SBE 72-0402 and SBE 72-0402)
Figure: Pre SBE 72-0027: View through the HP Compressor front case
Sheet 1

Figure: SBE 72-0027: View through the HP Compressor front case
Sheet 2

Figure: Locations for the fits and clearances
Locations for the fits and clearances

Figure: Install the Stage 6 centralizing pads and the rigging pin brackets
Sheet 1

Figure: Install the Stage 6 centralizing pads and the rigging pin brackets
Sheet 2

Figure: Details of the air gage unit
Sheet 1

Figure: Details of the air gage unit
Sheet 2

Figure: Details of the setting ring and air plug gage
Details of the setting ring and air plug gage

Figure: Install the Stage 6 VSV outer bushes
Sheet 1

Figure: Install the Stage 6 VSV outer bushes
Sheet 2

Figure: Install the seals on the Stage 6 Stator Vanes
Install the seals on the Stage 6 Stator Vanes

Figure: Positions for the Stage 6 Stator Vanes
Positions for the Stage 6 Stator Vanes

Figure: Install the Stage 6 Stator Vanes
Install the Stage 6 Stator Vanes

Figure: Measure the Stage 6 Stator Vane end float
Measure the Stage 6 Stator Vane end float

