Export Control
EAR Export Classification: Not subject to the EAR per 15 C.F.R. Chapter 1, Part 734.3(b)(3), except for the following Service Bulletins which are currently published as EAR Export Classification 9E991: SBE70-0992, SBE72-0483, SBE72-0580, SBE72-0588, SBE72-0640, SBE73-0209, SBE80-0024 and SBE80-0025.Copyright
© IAE International Aero Engines AG (2001, 2014 - 2021) The information contained in this document is the property of © IAE International Aero Engines AG and may not be copied or used for any purpose other than that for which it is supplied without the express written authority of © IAE International Aero Engines AG. (This does not preclude use by engine and aircraft operators for normal instructional, maintenance or overhaul purposes.).Applicability
V2500-A1
Common Information
TASK 72-41-30-440-003-A00 HPC Front Case And Vane Assembly - Install The Variable Inlet Guide Vanes, Assembly-003
General
For all parts identified in a different Chapter/Section/Subject, the applicable Chapter/Section/Subject comes before the Fig/item number.
All of the temporary marks made in this procedure must be removed after completion of this task.
For standard torque data and procedures, refer to SPM TASK 70-41-00-400-501, SPM TASK 70-41-01-400-501 and SPM TASK 70-41-02-400-501.
Special torque data and assembly tolerances are included in the procedure.
Lubricate all threads and touch faces of nuts and bolts with CoMat 10-077 APPROVED ENGINE OILS, unless other lubricants are referred to in the procedure.
To identify, lubricate and install seal rings, refer to SPM TASK 70-44-01-400-501.
After assembly apply CoMat 07-038 AIR DRYING ENAMEL to any damaged surface protection, joint flanges and parts used to attach. Use the correct colour of the air drying enamel. Refer to the SPM TASK 70-63-02-380-501.
The number for each radial location must be identified in a clockwise direction. These start at the engine top position when you look from the rear of the engine, unless stated differently in the procedure.
Pre SBE 72-0027: Refer to Figure for a sectional view of the HP Compressor Front Case.
SBE 72-0027: Refer to Figure for a sectional view of the HP Compressor Front Case.
The Fits and Clearances, NEW PARTS DIMENSIONS and REJECT IF MORE THAN columns will be used by most operators. This permits the full use of the maximum wear allowance and a reduction in the number of parts which are rejected, is possible.
As long as REJECT IF MORE THAN columns do not include reject values, NEW PART DIMENSIONS do not have to be measured before assembly, as there are no reject-if criteria. Values are only valid for new parts, not for worn parts.
The column WORN PART DIMENSION (Non-select) is included for operators who want to have full interchangeability. If this column is used an increase in the number of parts which are rejected is possible.
After the part has been in service for some time the REJECT IF MORE THAN and WORN PART DIMENSIONS could be changed. The operator must tell IAE and if agreed the manual will be changed.
The abbreviation Intf shows an interference or tight fit. This causes REJECT IF MORE THAN to become REJECT IF LESS THAN.
The abbreviation clear shows a clearance fit.
This TASK gives the procedure to install the variable inlet guide vanes (VIGV). The subsequent TASKS give the procedure to assemble HP Compressor Front Cases.
Install the Stage 3 to 6 Rotor Path Rings Pre SBE 72-0027 by TASK 72-41-30-440-001-A00 (ASSEMBLY-001).
Install the Stage 5 and 6 Rotor Path Rings SBE 72-0027 by TASK 72-41-30-440-001-B00 (ASSEMBLY-001).
Measure and then machine Stage 6 VSV and the Stage 3 to 6 Rotor Path Linings by TASK 72-41-30-440-002-A00 (ASSEMBLY-002).
Install the Stage 3 VSV by TASK 72-41-30-440-004-A00 (ASSEMBLY-004).
Install the Stage 4 VSV by TASK 72-41-30-440-005-A00 (ASSEMBLY-005).
Install the Stage 5 VSV by TASK 72-41-30-440-006-A00 (ASSEMBLY-006).
Install the Stage 6 VSV by TASK 72-41-30-440-007-A00 (ASSEMBLY-007).
Install the VIGV and the Stage 3 to 6 Connector Assemblies by TASK 72-41-30-440-008-A00 (ASSEMBLY-008).
Measure the HP Compressor Front Cases by TASK 72-41-30-440-009-A00 (ASSEMBLY-009).
Disassemble the HP Compressor Front Cases by TASK 72-41-30-440-010-A00 (ASSEMBLY-010).
Check and Set VSV System with Optimised Build and Setting Clearances - SBE 72-0402 by TASK 72-41-30-440-011-A00 (ASSEMBLY-011).
NOTE
NOTE
Preliminary Requirements
Pre-Conditions
NONESupport Equipment
| Name | Manufacturer | Part Number / Identification | Quantity | Remark |
|---|---|---|---|---|
| IAE 1R18248 Rigging pin | 0AM53 | IAE 1R18248 | 4 | |
| IAE 1R18638 Rigging pin | 0AM53 | IAE 1R18638 | 4 | |
| IAE 1R18250 Split ring assembly | 0AM53 | IAE 1R18250 | 1 | |
| IAE 1R18260 Bushing assembly tool | 0AM53 | IAE 1R18260 | 1 | |
| IAE 1R18277 Air plug gage | 0AM53 | IAE 1R18277 | 1 | |
| IAE 1R18278 Setting ring | 0AM53 | IAE 1R18278 | 1 | |
| IAE 1R18279 Setting ring | 0AM53 | IAE 1R18279 | 1 | |
| IAE 1R18280 Air gage unit | 0AM53 | IAE 1R18280 | 1 | |
| IAE 1R18295 Bushing assembly tool | 0AM53 | IAE 1R18295 | 1 | |
| IAE 1R18423 Rigging pin | 0AM53 | IAE 1R18423 | 4 | |
| IAE 1R18892 Rigging pin | 0AM53 | IAE 1R18892 | 4 | |
| IAE 1R19633 Split ring assembly | 0AM53 | IAE 1R19633 | 1 | |
| IAE 1R18579 Pusher installation tool | 0AM53 | IAE 1R18579 | ||
| IAE 1R18576 Pusher installation tool | 0AM53 | IAE 1R18576 | ||
| IAE 1R18577 Bushing installation tool | 0AM53 | IAE 1R18577 | ||
| IAE 1R18573 Cylinder, hydraulic | 0AM53 | IAE 1R18573 | ||
| IAE 1R18582 Pusher installation tool | 0AM53 | IAE 1R18582 | ||
| IAE 1R19633 Split ring assembly | 0AM53 | IAE 1R19633 |
Consumables, Materials and Expendables
| Name | Manufacturer | Part Number / Identification | Quantity | Remark |
|---|---|---|---|---|
| CoMat 02-363 MARKING PEN | LOCAL | CoMat 02-363 | ||
| CoMat 04-007 SILICONE GREASE | LOCAL | CoMat 04-007 | ||
| CoMat 07-038 AIR DRYING ENAMEL | k3504 | CoMat 07-038 | ||
| CoMat 10-077 APPROVED ENGINE OILS | X333X | CoMat 10-077 | ||
| CoMat 10-108 HIGH PERFORMANCE PENETRATING LUBRICANT WITH TEFLON (R) | LOCAL | CoMat 10-108 |
Spares
NONESafety Requirements
NONEProcedure
Refer to Figure.
SBE 70-0052: Engine - Additional source for variable stator vane spindle bushings.
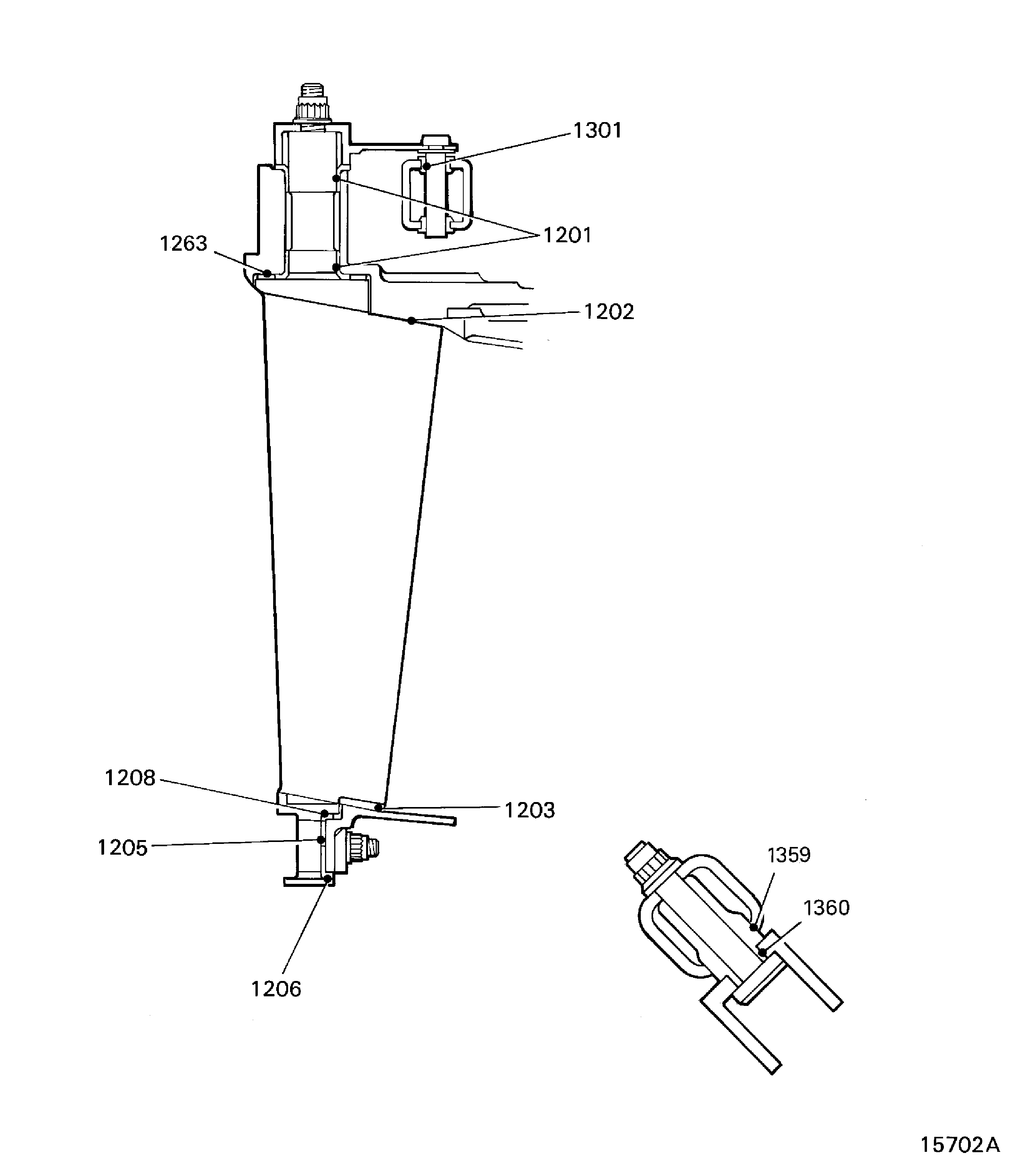
Reference dimensions at location 1201. If required use the data written as a note in TASK 72-41-32-200-000 and TASK 72-41-31-200-000.
Table 1. Fits and Clearances (all dimensions are in inches) NEW PART
WORN PART
DIMENSIONS
DIMENSIONS
PART IDENT
Size
Clearance
Non-select
REJECT IF
MORE THAN
LOCATION 1201
VIGV ENGINE-HP COMPRESSOR VARIABLE VANES (72-41-32, 01-500 And 01-600), Spindle Location In The Pre SBE 70-0052:
VIGV Bush ENGINE-HP COMPRESSOR SPLIT CASES (72-41-31, 01-241, 01-242 Or 01-243), Or
VIGV Bush ENGINE-HP COMPRESSOR SPLIT CASES (72-41-31, 01-241, 01-242, 01-243, 01-245, 01-246 Or 01-247)
VIGV Spindle Diameter
0.5472
0.5492
0.0018
VIGV Bush Bore
0.5511
0.0050
0.5522
Table 2. Fits and Clearances (all dimensions are in millimeters) NEW PART
WORN PART
DIMENSIONS
DIMENSIONS
PART IDENT
Size
Clearance
Non-select
REJECT IF
MORE THAN
LOCATION 1201
VIGV ENGINE-HP COMPRESSOR VARIABLE VANES (72-41-32, 01-500 And 01-600), Spindle Location In The Pre SBE 70-0052:
VIGV Bush ENGINE-HP COMPRESSOR SPLIT CASES (72-41-31, 01-241, 01-242 Or 01-243), Or
VIGV Bush ENGINE-HP COMPRESSOR SPLIT CASES (72-41-31, 01-241, 01-242, 01-243, 01-245, 01-246 Or 01-247)
VIGV Spindle Diameter
13.900
13.952
0.048
VIGV Bush Bore
14.000
0.127
14.027
SUBTASK 72-41-30-220-061 Reference Fits and Clearances of the HP Compressor Front Cases and Vanes at Location 1201 (Pre SBE 70-0052 and SBE 70-0052)
Refer to Figure.
Reference dimensions at location 1205. If required use the data written as a note in TASK 72-41-32-200-000 and TASK 72-41-33-200-000.
Table 3. Fits and Clearances (all dimensions are in inches) NEW PART
WORN PART
DIMENSIONS
DIMENSIONS
PART IDENT
Size
Clearance
Non-select
REJECT IF
MORE THAN
LOCATION 1205
VIGV ENGINE-HP COMPRESSOR VARIABLE VANES (72-41-32, 01-500 And 01-600), Spindle
Location In The Half Bush ENGINE-HP COMPRESSOR VARIABLE VANE INNER SHROUDS (72-41-33, 01-190)
VIGV Spindle Diameter
0.2709
0.2730
0.0025
Half Bush Bore
0.2756
0.0055
0.2765
Table 4. Fits and Clearances (all dimensions are in millimeters) NEW PART
WORN PART
DIMENSIONS
DIMENSIONS
PART IDENT
Size
Clearance
Non-select
REJECT IF
MORE THAN
LOCATION 1205
VIGV ENGINE-HP COMPRESSOR VARIABLE VANES (72-41-32, 01-500 And 01-600), Spindle
Location In The Half Bush ENGINE-HP COMPRESSOR VARIABLE VANE INNER SHROUDS (72-41-33, 01-190)
VIGV Spindle Diameter
6.881
6.993
0.067
Half Bush Bore
7.000
0.141
7.022
SUBTASK 72-41-30-220-064 Reference Fits and Clearances of the HP Compressor Front Cases and Vanes at Location 1205
Refer to Figure.
Reference dimensions at location 1206. If required use the data written as a note in TASK 72-41-32-200-000 and TASK 72-41-33-200-000.
Table 5. Fits and Clearances (all dimensions are in inches) NEW PART
WORN PART
DIMENSIONS
DIMENSIONS
PART IDENT
Size
Clearance
Non-select
REJECT IF
MORE THAN
LOCATION 1206
VIGV ENGINE-HP COMPRESSOR VARIABLE VANES (72-41-32, 01-500 And 01-600), Inner Spindle
Location In The Half Bush ENGINE-HP COMPRESSOR VARIABLE VANE INNER SHROUDS (72-41-33, 01-190)
VIGV Inner Spindle Length
5.14027
Intf
5.15641
0.00037
Half Bush Outer Length
5.13104
0.02537
5.13990
Table 6. Fits and Clearances (all dimensions are in millimeters) NEW PART
WORN PART
DIMENSIONS
DIMENSIONS
PART IDENT
Size
Clearance
Non-select
REJECT IF
MORE THAN
LOCATION 1206
VIGV ENGINE-HP COMPRESSOR VARIABLE VANES (72-41-32, 01-500 And 01-600), Inner Spindle
Location In The Half Bush ENGINE-HP COMPRESSOR VARIABLE VANE INNER SHROUDS (72-41-33, 01-190)
VIGV Inner Spindle Length
130.5630
Intf
130.9730
0.0095
Half Bush Outer Length
130.3285
0.6445
130.5535
SUBTASK 72-41-30-220-065 Reference Fits and Clearances of the HP Compressor Front Cases and Vanes at Location 1206
Refer to Figure.
Reference dimensions at location 1208. If required use the data written as a note in TASK 72-41-32-200-000 and TASK 72-41-33-200-000.
Table 7. Fits and Clearances (all dimensions are in inches) NEW PART
WORN PART
DIMENSIONS
DIMENSIONS
PART IDENT
Size
Clearance
Non-select
REJECT IF
MORE THAN
LOCATION 1208
VIGV ENGINE-HP COMPRESSOR VARIABLE VANES (72-41-32, 01-500 And 01-600), Inner Spindle
Location In The Half Bush ENGINE-HP COMPRESSOR VARIABLE VANE INNER SHROUDS (72-41-33, 01-190)
VIGV Inner Spindle Length
6.059
6.064
0.0078
Half Bush Outer Length
6.072
0.0251
6.084
Table 8. Fits and Clearances (all dimensions are in millimeters) NEW PART
WORN PART
DIMENSIONS
DIMENSIONS
PART IDENT
Size
Clearance
Non-select
REJECT IF
MORE THAN
LOCATION 1208
VIGV ENGINE-HP COMPRESSOR VARIABLE VANES (72-41-32, 01-500 And 01-600), Inner Spindle
Location In The Half Bush ENGINE-HP COMPRESSOR VARIABLE VANE INNER SHROUDS (72-41-33, 01-190)
VIGV Inner Spindle Length
153.902
154.032
0.200
Half Bush Outer Length
154.232
0.640
154.542
SUBTASK 72-41-30-220-066 Reference Fits and Clearances of the HP Compressor Front Cases and Vanes at Location 1208
Refer to Figure.
Reference dimensions at location 1301. If required use the data written as a note in TASK 72-41-34-200-000.
Table 9. Fits and Clearances (all dimensions are in inches) NEW PART
WORN PART
DIMENSIONS
DIMENSIONS
PART IDENT
Size
Clearance
Non-select
REJECT IF
MORE THAN
LOCATION 1301
VIGV Lever ACTUATING MECHANISM HP COMPRESSOR VARIABLE VANES (72-41-34, 02-100 And 02-140)
Location In The Bush ACTUATING MECHANISM HP COMPRESSOR VARIABLE VANES (72-41-34, 02-460 And 02-560)
VIGV Lever Pin Diameter
0.2353
0.2358
0.0004
Bush Inner Bore
0.2362
0.0016
0.2369
Table 10. Fits and Clearances (all dimensions are in millimeters) NEW PART
WORN PART
DIMENSIONS
DIMENSIONS
PART IDENT
Size
Clearance
Non-select
REJECT IF
MORE THAN
LOCATION 1301
VIGV Lever ACTUATING MECHANISM HP COMPRESSOR VARIABLE VANES (72-41-34, 02-100 And 02-140)
Location In The Bush ACTUATING MECHANISM HP COMPRESSOR VARIABLE VANES (72-41-34, 02-460 And 02-560)
VIGV Lever Pin Diameter
5.978
5.990
0.01
Bush Inner Bore
6.000
0.04
6.018
SUBTASK 72-41-30-220-067 Reference Fits and Clearances of the HP Compressor Front Cases and Vanes at Location 1301
Refer to Figure.
SBE 70-0052: Engine - Additional source for variable stator vane spindle bushings.
Reference dimensions at location 1263. If required use the data written as a note in TASK 72-41-30-200-000 and TASK 72-41-31-200-000.
Table 11. Fits and Clearances (all dimensions in inches) NEW PART
WORN PART
DIMENSIONS
DIMENSIONS
PART IDENT
Size
Clearance
Non-select
REJECT IF
MORE THAN
LOCATION 1263
Pre SBE 70-0052:
VIGV Bush ENGINE-HP COMPRESSOR SPLIT CASES (72-41-31, 01-241, 01-242 Or 01-243), Or SBE 70-0052:
VIGV Bush ENGINE-HP COMPRESSOR SPLIT CASES (72-41-31, 01-241, 01-242, 01-243 01-245, 01-246 Or 01-247)
Location With The Sealing Washer ENGINE-HP COMPRESSOR FRONT CASES AND VANES (72-41-30, 01-100)
VIGV Bush Inner Flange Thickness
0.055
0.058
0.003
Sealing Washer Thickness
0.049
0.009
0.052
Table 12. Fits and Clearances (all dimensions in millimetres) NEW PART
WORN PART
DIMENSIONS
DIMENSIONS
PART IDENT
Size
Clearance
Non-select
REJECT IF
MORE THAN
LOCATION 1263
Pre SBE 70-0052:
VIGV Bush ENGINE-HP COMPRESSOR SPLIT CASES (72-41-31, 01-241, 01-242 Or 01-243), Or SBE 70-0052:
VIGV Bush ENGINE-HP COMPRESSOR SPLIT CASES (72-41-31, 01-241, 01-242, 01-243 01-245, 01-246 Or 01-247)
Location With The Sealing Washer ENGINE-HP COMPRESSOR FRONT CASES AND VANES (72-41-30, 01-100)
VIGV Bush Inner Flange Thickness
1.387
1.463
0.077
Sealing Washer Thickness
1.250
0.213
1.310
SUBTASK 72-41-30-220-138 Reference Fits and Clearances of the HP Compressor Front Cases and Vanes at Location 1263 (Pre SBE 70-0052 and SBE 70-0052)
Refer to Figure.
Reference dimensions at location 1359. If required use the data written as a note in TASK 72-41-34-200-000.
Table 13. Fits and Clearances (all dimensions in inches) NEW PART
WORN PART
DIMENSIONS
DIMENSIONS
PART IDENT
Size
Clearance
Non-select
REJECT IF
MORE THAN
LOCATION 1359
Upper And Lower VIGV Acutating Rings ACTUATING MECHANISM HP COMPRESSOR VARIABLE VANES (72-41-34, 02-440 And 02-540)
Location With The Spacer ACTUATING MECHANISM HP COMPRESSOR VARIABLE VANES (72-41-34, 02-786 And 02-796)
Upper And Lower VIGV Actuating Ring Spacer Hole Bore
0.5512
Intf
0.5522
0.0009
Spacer Diameter
0.5517
Clear
0.5521
0.0005
Table 14. Fits and Clearances (all dimensions in millimetres) NEW PART
WORN PART
DIMENSIONS
DIMENSIONS
PART IDENT
Size
Clearance
Non-select
REJECT IF
MORE THAN
LOCATION 1359
Upper And Lower VIGV Actuating Rings ACTUATING MECHANISM HP COMPRESSOR VARIABLE VANES (72-41-34, 02-440 And 02-540)
Location With The Spacer ACTUATING MECHANISM HP COMPRESSOR VARIABLE VANES (72-41-34, 02-786 And 02-796)
Upper And Lower VIGV Actuating Ring Spacer Hole Bore
14.000
Intf
14.027
0.023
Spacer Diameter
14.012
Clear
14.023
0.015
SUBTASK 72-41-30-220-139 Reference Fits and Clearances of the HP Compressor Front Cases and Vanes at Location 1359
Refer to Figure.
Reference dimensions at location 1360. If required use the data written as a note in TASK 72-41-34-200-000.
Table 15. Fits and Clearances (all dimensions in inches) NEW PART
WORN PART
DIMENSIONS
DIMENSIONS
PART IDENT
Size
Clearance
Non-select
REJECT IF
MORE THAN
LOCATION 1360
VIGV Rig Pin Bracket ACTUATING MECHANISM HP COMPRESSOR VARIABLE VANES (72-41-34, 02-780 And 02-790)
Location With The Spacer ACTUATING MECHANISM HP COMPRESSOR VARIABLE VANES (72-41-34, 02-786 And 02-796)
VIGV Rig Pin Bracket Spacer Hole Bore
0.3150
Intf
0.3158
0.0007
Spacer Diameter
0.3154
Clear
0.3157
0.0004
Table 16. Fits and Clearances (all dimensions in millimetres) NEW PART
WORN PART
DIMENSIONS
DIMENSIONS
PART IDENT
Size
Clearance
Non-select
REJECT IF
MORE THAN
LOCATION 1360
VIGV Rig Pin Bracket ACTUATING MECHANISM HP COMPRESSOR VARIABLE VANES (72-41-34, 02-780 And 02-790)
Location With The Spacer ACTUATING MECHANISM HP COMPRESSOR VARIABLE VANES (72-41-34, 02-786 And 02-796)
VIGV Rig Pin Bracket Spacer Hole Bore
8.000
Intf
8.022
0.019
Spacer Diameter
8.010
Clear
8.019
0.012
SUBTASK 72-41-30-220-140 Reference Fits and Clearances of the HP Compressor Front Cases and Vanes at Location 1360
SBE 72-0385 or SBE 72-0416: Introduction of revised actuating rings with increased dowel locations.
Install the four bolts ACTUATING MECHANISM HP COMPRESSOR VARIABLE VANES (72-41-34, 02-682) and washers ACTUATING MECHANISM HP COMPRESSOR VARIABLE VANES (72-41-34, 02-684) to attach the two centralizing actuating housings to the upper VIGV actuating ring.
Install the two centralizing actuating housings ACTUATING MECHANISM HP COMPRESSOR VARIABLE VANES (72-41-34, 02-680) in to the upper VIGV actuating ring ACTUATING MECHANISM HP COMPRESSOR VARIABLE VANES (72-41-34, 02-440).
Install the two centralizing actuating housings in to the lower VIGV actuating ring ACTUATING MECHANISM HP COMPRESSOR VARIABLE VANES (72-41-34, 02-540).
Put the two spacers ACTUATING MECHANISM HP COMPRESSOR VARIABLE VANES (72-41-34, 02-786) through the two boltholes at the two locations identified C.
Install the four bolts ACTUATING MECHANISM HP COMPRESSOR VARIABLE VANES (72-41-34, 02-784) and nuts ACTUATING MECHANISM HP COMPRESSOR VARIABLE VANES (72-41-34, 02-782) to attach the brackets to the upper VIGV actuating ring. Make sure the bolt heads are correctly located against the brackets.
Pre SBE 72-0084: Install the rig pin location brackets ACTUATING MECHANISM HP COMPRESSOR VARIABLE VANES (72-41-34, 02-780) on to the upper VIGV actuating ring.
Put the two spacers ACTUATING MECHANISM HP COMPRESSOR VARIABLE VANES (72-41-34, 02-796) through the two boltholes at the location identified E.
Install the two bolts ACTUATING MECHANISM HP COMPRESSOR VARIABLE VANES (72-41-34, 02-794) and nuts ACTUATING MECHANISM HP COMPRESSOR VARIABLE VANES (72-41-34, 02-792) to attach the bracket to the lower VIGV actuating ring. Make sure the bolt heads are correctly located against the bracket.
Install the rig pin location bracket ACTUATING MECHANISM HP COMPRESSOR VARIABLE VANES (72-41-34, 02-790) on to the lower VIGV actuating ring.
SUBTASK 72-41-30-440-070 Assemble the VIGV Actuating Ringsand (Pre SBE 72-0385or SBE 72-0416 and SBE 72-0385or SBE 72-0416)
Connect the IAE 1R18277 Air plug gage 1 off to the IAE 1R18280 Air gage unit 1 off. Connect an air supply to the air gage unit.
Install IAE 1R18278 Setting ring 1 off on to the air plug gage. Refer to Figure. The two air jets, on the air plug gage, must be approximately in the center of the setting ring bore.
Install IAE 1R18279 Setting ring 1 off on to the air plug gage. The two air jets, on the air plug gage, must be approximately in the center of the setting ring bore.
Set the tools to measure the bushes location bores.
SUBTASK 72-41-30-220-143 Measure the VIGV Spindle Bushes Location Bores
Refer to Figure.
SBE 70-0052: Engine - Additional source for variable stator vane spindle bushings
Pre SBE 70-0052: From the values written down in Step use the correct size bush.
Red segment - Fig/item 72-41-31, 01-243.
Yellow segment - Fig/item 72-41-31, 01-241.
Black segment - Fig/item 72-41-31, 01-242.
SBE 70-0052: From the values written down in Step use the correct size bush.
Red segment - Fig/item 72-41-31, 01-243 or 72-41-31, 01-245.
Yellow segment - Fig/item 72-41-31, 01-241 or 72-41-31, 01-246.
Black segment - Fig/item 72-41-31, 01-242 or 72-41-31, 01-247.
Use IAE 1R18295 Bushing assembly tool 1 off to install the bushes. Refer to detail A on Figure.
Install the VIGV inner bushes.
Pre SBE 70-0052: Select the correct size of bush. Refer to Step.
SBE 70-0052: Select the correct size of bush. Refer to Step.
Use IAE 1R18260 Bushing assembly tool 1 off to install the bushes. Refer to detail B on Figure.
Install the nylon washer B, spacer, handle and ring removed in Step.
Install the VIGV outer bushes.
SUBTASK 72-41-30-440-121-001 Install the VIGV Spindle Bushes using IAE 1R18260 and IAE 1R18295 Bush Assembly Tools (Pre SBE 70-0052 and SBE 70-0052)
Refer to Figure.
SBE 70-0052: Engine - Additional source for variable stator vane spindle bushings
Pre SBE 70-0052: From the values written down in Step use the correct size of bush.
Red segment - Fig/item 72-41-31, 01-243.
Yellow segment - Fig/item 72-41-31, 01-241.
Black segment - Fig/item 72-41-31, 01-242.
SBE 70-0052: From the values written down in Step use the correct size of bush.
Red segment - Fig/item 72-41-31, 01-243 or 72-41-31, 01-245.
Yellow segment - Fig/item 72-41-31, 01-241 or 72-41-31, 01-246.
Black segment - Fig/item 72-41-31, 01-242 or 72-41-31, 01-247.
For the VIGV long vane bushes ENGINE-HP COMPRESSOR VARIABLE VANES (72-41-32, 01-500) use IAE 1R18579 Pusher installation tool 1 off. Refer to detail A on Figure.
For the VIGV short vane bushes ENGINE-HP COMPRESSOR VARIABLE VANES (72-41-32, 01-600) use IAE 1R18576 Pusher installation tool 1 off. Refer to detail B on Figure.
Use the correct installation tool.
Install the IAE 1R18577 Bushing installation tool 1 off, on the pusher.
Install the IAE 1R18573 Cylinder, hydraulic 1 off, on the pusher until the cylinder comes against the bush installation.
Install the VIGV inner bushes.
Pre SBE 70-0052: Select the correct size of bush. Refer to Step.
SBE 70-0052: Select the correct size of bush. Refer to Step.
Use the IAE 1R18582 Pusher installation tool 1 off to install the bushes for the VIGV long and short vanes. Refer to detail B on Figure.
Install the IAE 1R18577 Bushing installation tool on the pusher.
Install the IAE 1R18573 Cylinder, hydraulic on the pusher until the cylinder comes against the bush installation.
Install the VIGV outer bushes.
SUBTASK 72-41-30-440-121-002 Install the VIGV Spindle Bushes using IAE 1R18579, IAE 1R18576, IAE 1R18577, IAE 1R18573 and IAE 1R18582 Bush Assembly Tools (Pre SBE 70-0052 and SBE 70-0052)
Refer to Figure and Fig. 72-41-90-990-027.
Pre SBE 72-0402: It is not necessary to lubricate the VIGV locations with CoMat 10-108 HIGH PERFORMANCE PENETRATING LUBRICANT WITH TEFLON (R) during this SUBTASK.
SBE 72-0402: Lubricate the VIGV locations during these assembly operations with CoMat 10-108 HIGH PERFORMANCE PENETRATING LUBRICANT WITH TEFLON (R) as specified in TASK 72-41-30-440-011-A00, SUBTASK 72-41-30-440-208.
Install the 40 sealing washers ENGINE-HP COMPRESSOR FRONT CASES AND VANES (72-41-30, 01-100) on the inner bushes. Make sure the sealing washers are correctly located around the inner bush.
Refer to SPM TASK 70-09-01-400-501.
Temporary mark vane sequence number on each vane before it is installed.
NOTE
Do not vibropeen.NOTE
Install the two guide vanes ENGINE-HP COMPRESSOR VARIABLE VANES (72-41-32, 01-600) at the positions 10 and 11.Install the 18 guide vanes ENGINE-HP COMPRESSOR VARIABLE VANES (72-41-32, 01-500) and the two guide vanes ENGINE-HP COMPRESSOR VARIABLE VANES (72-41-32, 01-600) in to the bushes.
Install the guide vanes in the upper half HP Compressor Front Case.
Install the 20 guide vanes ENGINE-HP COMPRESSOR VARIABLE VANES (72-41-32, 01-500) as given in Step and Step.
Install the guide vanes in the lower half HP Compressor Front Case.
NOTE
There are no short spindled guide vanes installed in the lower half HP Compressor Front Case.Put two spacers ACTUATING MECHANISM HP COMPRESSOR VARIABLE VANES (72-41-34, 02-060) on the spindle of each guide vane.
The two actuating levers ACTUATING MECHANISM HP COMPRESSOR VARIABLE VANES (72-41-34, 02-140) go at the positions 10 and 11.
The eight actuating levers ACTUATING MECHANISM HP COMPRESSOR VARIABLE VANES (72-41-34, 02-120) go at the positions 1, 2, 19, 20, 21, 22, 39 and 40.
The 30 actuating levers ACTUATING MECHANISM HP COMPRESSOR VARIABLE VANES (72-41-34, 02-100) go at the positions 3 to 9, 12 to 18 and 23 to 38.
Install the 40 guide vane actuating levers on the spindles of the guide vanes and in to their locations in the actuating ring.
Install the 40 slave nuts to attach the actuating levers to the guide vanes. Torque the nuts to 85 lbfin to 105 lbfin (10.00 Nm to 12.00 Nm). The nuts that are used must have no run down torque.
NOTE
The guide vane actuating levers must be parallel with the casing center line when you torque the nuts. This is the null position.Measure and write a record of the end float, dimension A Figure. Measure between the actuating lever and the specified spacers.
NOTE
Temporarily mark the actuating levers with their position numbers. These must be the same as the numbers on the guide vanes location.
Measure and write down the guide vane end float.
SUBTASK 72-41-30-440-071 Install the VIGV in the HP Compressor Front Case (Pre SBE 72-0402 and SBE 72-0402)
Pre SBE 72-0402: It is not necessary to lubricate the VIGV locations with CoMat 10-108 HIGH PERFORMANCE PENETRATING LUBRICANT WITH TEFLON (R) during this SUBTASK.
SBE 72-0402: Lubricate the VIGV locations during these assembly operations with CoMat 10-108 HIGH PERFORMANCE PENETRATING LUBRICANT WITH TEFLON (R) as specified in TASK 72-41-30-440-011-A00, SUBTASK 72-41-30-440-208.
Install two of IAE 1R18423 Rigging pin 4 off or IAE 1R18892 Rigging pin 4 off and one of IAE 1R18248 Rigging pin 2 off or IAE 1R18638 Rigging pin 2 off to attach the actuating ring to the HP Compressor Front Case at the positions X.
Install two spacers ACTUATING MECHANISM HP COMPRESSOR VARIABLE VANES (72-41-34, 02-060) to ACTUATING MECHANISM HP COMPRESSOR VARIABLE VANES (72-41-34, 02-078) on to the spindle of each guide vane at the positions 3 to 18. The thickness of the spacers that are installed are equal to:
the removed spacer thickness + the end float - 0.003 in. to 0.005 in. (0.08 mm to 0.13 mm).
Write a record of the thickness of the spacers that are installed.
Install the actuating levers ACTUATING MECHANISM HP COMPRESSOR VARIABLE VANES (72-41-34, 02-100) and ACTUATING MECHANISM HP COMPRESSOR VARIABLE VANES (72-41-34, 02-140). Make sure the correct actuating lever goes on the correct guide vane at the positions 3 to 18.
Install the 16 nuts ACTUATING MECHANISM HP COMPRESSOR VARIABLE VANES (72-41-34, 02-103) and ACTUATING MECHANISM HP COMPRESSOR VARIABLE VANES (72-41-34, 02-143) on to the guide vanes at the positions 3 to 18.
Pre SBE 72-0385 or SBE 72-0416: Install the upper guide vane actuating ring ACTUATING MECHANISM HP COMPRESSOR VARIABLE VANES (72-41-34, 02-440) on to the upper half HP Compressor Front Case.
SBE 72-0385 or SBE 72-0416: Install the upper guide vane actuating ring ACTUATING MECHANISM HP COMPRESSOR VARIABLE VANES (72-41-34, 02-440) on to the upper half HP Compressor Front Case.
To attach the actuating ring to the lower half HP Compressor Front Case use the other two IAE 1R18423 Rigging pin 4 off or IAE 1R18892 Rigging pin 4 off and one IAE 1R18248 Rigging pin 2 off or IAE 1R18638 Rigging pin 2 off. Refer to Figure for the positions of the pins.
Install the lower guide vane actuating ring ACTUATING MECHANISM HP COMPRESSOR VARIABLE VANES (72-41-34, 02-540) on to the lower half HP Compressor Front Case.
NOTE
There are no short spindled guide vanes in the lower half HP Compressor Front Case.
SUBTASK 72-41-30-440-072 Install the VIGV Upper and Lower Actuating Rings (Pre SBE 72-0402, SBE 72-0402, Pre SBE 72-0385 or SBE 72-0416 and SBE 72-0385 or SBE 72-0416)
Refer to Figure.
SBE 72-0402: HP compressor variable vanes - inlet guide vane and stages 3 to 6 with optimised build and setting instructions.
SBE 72-0422: HP compressor variable inner shrouds - Introduction of revised one piece bushes
Pre SBE 72-0402 : It is not necessary to lubricate the VIGV locations with CoMat 10-108 HIGH PERFORMANCE PENETRATING LUBRICANT WITH TEFLON (R) during this SUBTASK.
SBE 72-0402 : Lubricate the VIGV locations during these assembly operations with CoMat 10-108 HIGH PERFORMANCE PENETRATING LUBRICANT WITH TEFLON (R) as specified in TASK 72-41-30-440-011-A00, SUBTASK 72-41-30-440-208.
Pre SBE 72-0422: Apply a thin layer of CoMat 04-007 SILICONE GREASE to the 20 half bushes ENGINE-HP COMPRESSOR VARIABLE VANE INNER SHROUDS (72-41-33, 01-190) outer surface.
SBE 72-0422: Apply a thin layer of CoMat 04-007 SILICONE GREASE to the 20 bushes ENGINE-HP COMPRESSOR VARIABLE VANE INNER SHROUDS (72-41-33, 01-190) outer surface.
NOTE
The rear upper half of the guide vane half shroud has four location dowels.Pre SBE 72-0422: Install the 20 half bushes in to the rear upper half of the guide vane half shroud ENGINE-HP COMPRESSOR VARIABLE VANE INNER SHROUDS (72-41-33, 01-200).
NOTE
The rear upper half of the guide vane half shroud has four location dowels.SBE 72-0422: Install the 20 bushes onto the stator vanes.
Pre SBE 72-0422: Install the guide vanes half shroud and half bushes on to the rear of the guide vanes at the inner pivot point.
SBE 72-0422: Install the guide vanes half shroud on to the rear of the guide vanes at the inner pivot point.
Pre SBE 72-0422: Install one half of IAE 1R18250 Split ring assembly on to the front of the guide vanes at the inner pivot point.
SBE 72-0422: Install one half of IAE 1R19633 Split ring assembly on to the front of the guide vanes at the inner pivot point.
Pre SBE 72-0422: Install the guide vane half shroud and the IAE 1R18250 Split ring assembly 1 off in to the upper half HP Compressor Front Case.
SBE 72-0422: Install the guide vane half shroud and the IAE 1R19633 Split ring assembly 1 off in to the upper half HP Compressor Front Case.
SUBTASK 72-41-30-440-073 Install the VIGV Shroud (Pre SBE 72-0402, SBE 72-0402, Pre SBE 72-0422 and SBE 72-0422)
Figure: Pre SBE 72-0027: View through the HP Compressor Front Cases
Sheet 1

Figure: SBE 72-0027: View through the HP Compressor Front Cases
Sheet 2

Figure: Locations for the fits and clearances
Locations for the fits and clearances

Figure: Pre SBE 72-0084: Install the centralizing actuating housings
Sheet 1

Figure: SBE 72-0084: Install the centralizing actuating housings
Sheet 2

Figure: Details of the air gage unit
Sheet 1

Figure: Details of the air gage unit
Sheet 2

Figure: Tools to measure the VIGV location bores
Tools to measure the VIGV location bores

Figure: Tools to install the spindle location bushes
Sheet 1

Figure: Tools to install the spindle location bushes
Sheet 2

Figure: Position for the variable inlet guide vanes
Position for the variable inlet guide vanes

Figure: Pre SBE 70-0052 and SBE 70-0052: Install the variable inlet guide vanes
Pre SBE 70-0052 and SBE 70-0052: Install the variable inlet guide vanes

Figure: Measure the guide vane end float
Measure the guide vane end float

Figure: The positions for the rigging pins
The positions for the rigging pins

