Export Control
EAR Export Classification: Not subject to the EAR per 15 C.F.R. Chapter 1, Part 734.3(b)(3), except for the following Service Bulletins which are currently published as EAR Export Classification 9E991: SBE70-0992, SBE72-0483, SBE72-0580, SBE72-0588, SBE72-0640, SBE73-0209, SBE80-0024 and SBE80-0025.Copyright
© IAE International Aero Engines AG (2001, 2014 - 2021) The information contained in this document is the property of © IAE International Aero Engines AG and may not be copied or used for any purpose other than that for which it is supplied without the express written authority of © IAE International Aero Engines AG. (This does not preclude use by engine and aircraft operators for normal instructional, maintenance or overhaul purposes.).Applicability
V2500-A1
Common Information
TASK 72-41-30-440-006-A00 HPC Front Case And Vane Assembly - Install The Stage 5 Variable Stator Vanes, Assembly-006
General
For all parts identified in a different Chapter/Section/Subject, the applicable Chapter/Section/Subject comes before the Fig/item number.
All of the temporary marks made in this procedure must be removed after completion of this task.
For standard torque data and procedures, refer to SPM TASK 70-41-00-400-501, SPM TASK 70-41-01-400-501 and SPM TASK 70-41-02-400-501.
Special torque data and assembly tolerances are included in the procedure.
Lubricate all threads and touch faces of nuts and bolts with CoMat 10-077 APPROVED ENGINE OILS unless other lubricants are referred to in the procedure.
To identify, lubricate and install seal rings, refer to SPM TASK 70-44-01-400-501.
After assembly apply CoMat 07-038 AIR DRYING ENAMEL to any damaged surface protection, joint flanges and parts used to attach. Use the correct colour of the air drying enamel. Refer to SPM TASK 70-63-02-380-501.
The number for each radial location must be identified in a clockwise direction. These start at the engine top position when you look from the rear of the engine, unless stated differently in the procedure.
Pre SBE 72-0027: Refer to Figure for a sectional view of the HP compressor front case.
SBE 72-0027: Refer to Figure for a sectional view of the HP compressor front case.
The Fits and Clearances, NEW PARTS DIMENSIONS and REJECT IF MORE THAN columns will be used by most operators. This permits the full use of the maximum wear allowance and a reduction in the number of parts which are rejected, is possible.
As long as REJECT IF MORE THAN columns do not include reject values, NEW PART DIMENSIONS do not have to be measured before assembly, as there are no reject-if criteria. Values are only valid for new parts, not for worn parts.
The column WORN PART DIMENSIONS (Non-select) is included for operators who want to have full interchangeability. If this column is used an increase in the number of parts which are rejected is possible.
After the part has been in service for some time the REJECT IF MORE THAN and WORN PART DIMENSIONS could be changed. The operator must tell IAE and if agreed the manual will be changed.
The abbreviation Intf shows an interference or tight fit. This causes REJECT IF MORE THAN to become REJECT IF LESS THAN.
The abbreviation clear shows a clearance fit.
This TASK gives the procedure to install the stage 5 VSV. The subsequent TASKS give the procedure to assemble HP compressor front cases.
Install the Stage 3 to 6 Rotor Path Rings Pre SBE 72-0027 by TASK 72-41-30-440-001-A00 (ASSEMBLY-001).
Install the Stage 5 and 6 Rotor Path Rings SBE 72-0027 by TASK 72-41-30-440-001-B00 (ASSEMBLY-001).
Measure and then machine the Stage 6 VSV and the stage 3 to 6 Rotor Path Linings by TASK 72-41-30-440-002-A00 (ASSEMBLY-002) .
Install the VIGV by TASK 72-41-30-440-003-A00 (ASSEMBLY-003).
Install the Stage 3 VSV by TASK 72-41-30-440-004-A00 (ASSEMBLY-004).
Install the Stage 4 VSV by TASK 72-41-30-440-005-A00 (ASSEMBLY-005).
Install the Stage 6 VSV by TASK 72-41-30-440-007-A00 (ASSEMBLY-007).
Install the VIGV and the Stage 3 to 6 Connector Assemblies by TASK 72-41-30-440-008-A00 (ASSEMBLY-008).
Measure the HP Compressor Front Cases by TASK 72-41-30-440-009-A00 (ASSEMBLY-009).
Disassemble the HP Compressor Front Cases by TASK 72-41-30-440-010-A00 (ASSEMBLY-010).
Check and Set VSV System with Optimised Build and Setting Clearances - SBE 72-0402 by TASK 72-41-30-440-011-A00 (ASSEMBLY-011).
NOTE
NOTE
Preliminary Requirements
Pre-Conditions
NONESupport Equipment
| Name | Manufacturer | Part Number / Identification | Quantity | Remark |
|---|---|---|---|---|
| IAE 1R18261 Bushing assembly tool | 0AM53 | IAE 1R18261 | 1 | |
| IAE 1R18262 Bushing assembly tool | 0AM53 | IAE 1R18262 | 1 | |
| IAE 1R18274 Air plug gage | 0AM53 | IAE 1R18274 | 1 | |
| IAE 1R18275 Setting ring | 0AM53 | IAE 1R18275 | 1 | |
| IAE 1R18276 Setting ring | 0AM53 | IAE 1R18276 | 1 | |
| IAE 1R18280 Air gage unit | 0AM53 | IAE 1R18280 | 1 | |
| IAE 1R18423 Rigging pin | 0AM53 | IAE 1R18423 | 6 | |
| IAE 1R18492 Seal fitting tool | 0AM53 | IAE 1R18492 | 1 | |
| IAE 1R18493 Seal fitting tool | 0AM53 | IAE 1R18493 | 1 | |
| IAE 1R18573 Cylinder, hydraulic | 0AM53 | IAE 1R18573 | ||
| IAE 1R18575 Bushing assembly tool | 0AM53 | IAE 1R18575 | ||
| IAE 1R18578 Pusher installation tool | 0AM53 | IAE 1R18578 | ||
| IAE 1R18895 Rigging pin | 0AM53 | IAE 1R18895 | 6 |
Consumables, Materials and Expendables
| Name | Manufacturer | Part Number / Identification | Quantity | Remark |
|---|---|---|---|---|
| CoMat 02-363 MARKING PEN | LOCAL | CoMat 02-363 | ||
| CoMat 04-007 SILICONE GREASE | LOCAL | CoMat 04-007 | ||
| CoMat 07-038 AIR DRYING ENAMEL | k3504 | CoMat 07-038 | ||
| CoMat 10-077 APPROVED ENGINE OILS | X333X | CoMat 10-077 | ||
| CoMat 10-108 HIGH PERFORMANCE PENETRATING LUBRICANT WITH TEFLON (R) | LOCAL | CoMat 10-108 |
Spares
| Name | Manufacturer | Part Number / Identification | Quantity | Remark |
|---|---|---|---|---|
| RING - SEALING, TOROIDAL | U1653 | AS43013-011 | 64 | 72-41-32, 04-495 |
Safety Requirements
NONEProcedure
Refer to Figure.
SBE 70-0052: Engine - Additional source for variable stator vane spindle bushings.
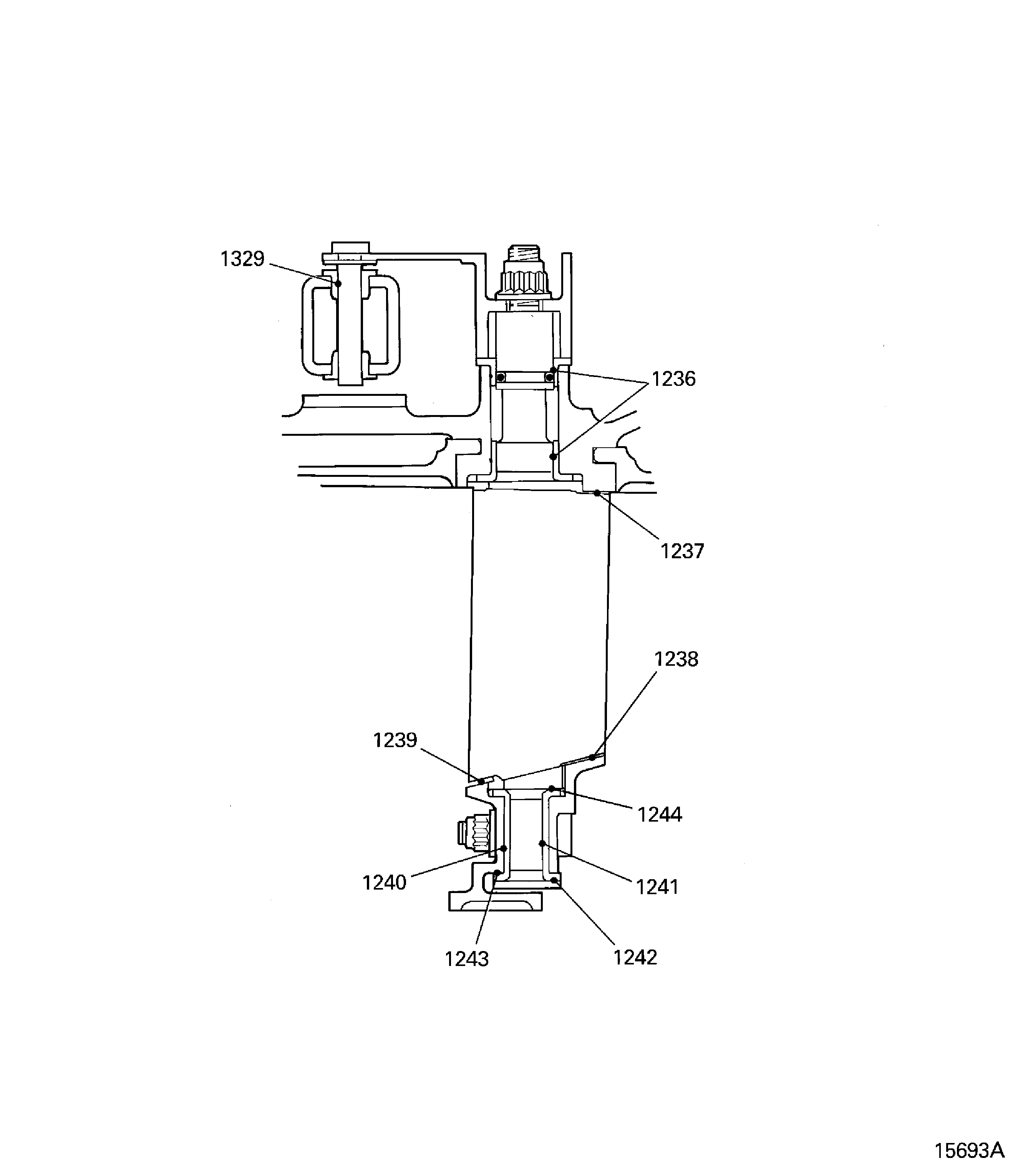
Reference dimensions at location 1236. If required use the data written as a note in TASK 72-41-31-200-000 and TASK 72-41-32-200-000.
Table 1. Fits and Clearances (all dimensions are in inches) NEW PART
WORN PART
DIMENSIONS
DIMENSIONS
PART IDENT
Size
Clearance
Non-select
REJECT IF
MORE THAN
LOCATION 1236
Stage 5 Outer Pivot Bush Pre SBE 70-0052: ENGINE-HP COMPRESSOR SPLIT CASES (72-41-31, 01-251, 01-252 And 01-253) SBE 70-0052: ENGINE-HP COMPRESSOR SPLIT CASES (72-41-31, 01-251, 01-252, 01-253, 01-255, 01-256 And 01-257)
Location At The Stage 5 VSV ENGINE-HP COMPRESSOR VARIABLE VANES (72-41-32, 04-500 And 04-600)
Stage 5 Outer Pivot Bush Bore
0.4724
0.4735
0.0018
Stage 5 VSV Spindle Diameter
0.4685
0.0050
0.4705
Table 2. Fits and Clearances (all dimensions are in millimeters) NEW PART
WORN PART
DIMENSIONS
DIMENSIONS
PART IDENT
Size
Clearance
Non-select
REJECT IF
MORE THAN
LOCATION 1236
Stage 5 Outer Pivot Bush Pre SBE 70-0052: ENGINE-HP COMPRESSOR SPLIT CASES (72-41-31, 01-251, 01-252 And 01-253)
SBE 70-0052: Location At The Stage 5 VSV ENGINE-HP COMPRESSOR VARIABLE VANES (72-41-32, 04-500 And 04-600)
Stage 5 Outer Pivot Bush Bore
12.000
12.027
0.048
Stage 5 VSV Spindle Diameter
11.900
0.127
11.952
SUBTASK 72-41-30-220-090 Reference Fits and Clearances of the HP Compressor Front Cases and Vanes at Location 1236 (Pre SBE 70-0052 and SBE 70-0052)
Refer to Figure.
Reference dimensions at location 1240. If required use the data written as a note in TASK 72-41-33-200-000.
Table 3. Fits and Clearances (all dimensions are in inches) NEW PART
WORN PART
DIMENSIONS
DIMENSIONS
PART IDENT
Size
Clearance
Non-select
REJECT IF
MORE THAN
LOCATION 1240
Stage 5 Half Bush ENGINE-HP COMPRESSOR VARIABLE VANE INNER SHROUDS (72-41-33, 04-190)
Location In The Stage 5 Shroud ENGINE-HP COMPRESSOR VARIABLE VANE INNER SHROUDS (72-41-33, 04-200)
Stage 5 Half Bush Bore
0.3551
0.3561
0.000
Stage 5 Shroud Diameter
0.3543
Intf
0.3551
0.0018
Table 4. Fits and Clearances (all dimensions are in millimeters) NEW PART
WORN PART
DIMENSIONS
DIMENSIONS
PART IDENT
Size
Clearance
Non-select
REJECT IF
MORE THAN
LOCATION 1240
Stage 5 Half Bush ENGINE-HP COMPRESSOR VARIABLE VANE INNER SHROUDS (72-41-33, 04-190)
Location In The Stage 5 Shroud ENGINE-HP COMPRESSOR VARIABLE VANE INNER SHROUDS (72-41-33, 04-200)
Stage 5 Half Bush Bore
9.022
9.047
0.000
Stage 5 Shroud Diameter
9.000
Intf
9.022
0.047
SUBTASK 72-41-30-220-091 Reference Fits and Clearances of the HP Compressor Front Cases and Vanes at Location 1240
Refer to Figure.
Reference dimensions at location 1241. If required use the data written as a note in TASK 72-41-32-200-000 and TASK 72-41-33-200-000.
Table 5. Fits and Clearances (all dimensions are in inches) NEW PART
WORN PART
DIMENSIONS
DIMENSIONS
PART IDENT
Size
Clearance
Non-select
REJECT IF
MORE THAN
LOCATION 1241
Stage 5 VSV ENGINE-HP COMPRESSOR VARIABLE VANES (72-41-32, 04-500 And 04-600)
Location In The Half Bush ENGINE-HP COMPRESSOR VARIABLE VANE INNER SHROUDS (72-41-33, 04-190)
Stage 5 VSV Inner Spindle Diameter
0.2709
0.2753
0.0003
Half Bush Bore
0.2756
0.0056
0.2765
Table 6. Fits and Clearances (all dimensions are in millimeters) NEW PART
WORN PART
DIMENSIONS
DIMENSIONS
PART IDENT
Size
Clearance
Non-select
REJECT IF
MORE THAN
LOCATION 1241
Stage 5 VSV ENGINE-HP COMPRESSOR VARIABLE VANES (72-41-32, 04-500 And 04-600)
Location In The Half Bush ENGINE-HP COMPRESSOR VARIABLE VANE INNER SHROUDS (72-41-33, 04-190)
Stage 5 VSV Inner Spindle Diameter
6.881
6.993
0.007
Half Bush Bore
7.000
0.141
7.022
SUBTASK 72-41-30-220-092 Reference Fits and Clearances of the HP Compressor Front Cases and Vanes at Location 1241
Refer to Figure.
Reference dimensions at location 1242. If required use the data written as a note in TASK 72-41-32-200-000 and TASK 72-41-33-200-000.
Table 7. Fits and Clearances (all dimensions are in inches) NEW PART
WORN PART
DIMENSIONS
DIMENSIONS
PART IDENT
Size
Clearance
Non-select
REJECT IF
MORE THAN
LOCATION 1242
Stage 5 VSV ENGINE-HP COMPRESSOR VARIABLE VANES (72-41-32, 04-500 And 04-600)
Location In The Half Bush ENGINE-HP COMPRESSOR VARIABLE VANE INNER SHROUDS (72-41-33, 04-190)
Stage 5 VSV Inner Spindle Length
7.1962
Intf
7.2124
0.0095
Half Bush Outer Length
7.2028
Clear
7.2117
0.0154
Table 8. Fits and Clearances (all dimensions are in millimeters) NEW PART
WORN PART
DIMENSIONS
DIMENSIONS
PART IDENT
Size
Clearance
Non-select
REJECT IF
MORE THAN
LOCATION 1242
Stage 5 VSV ENGINE-HP COMPRESSOR VARIABLE VANES (72-41-32, 04-500 And 04-600)
Location In The Half Bush ENGINE-HP COMPRESSOR VARIABLE VANE INNER SHROUDS (72-41-33, 04-190)
Stage 5 VSV Inner Spindle Length
182.7850
Intf
183.1950
0.2425
Half Bush Outer Length
182.9525
Clear
183.1775
0.3925
SUBTASK 72-41-30-220-093 Reference Fits and Clearances of the HP Compressor Front Cases and Vanes at Location 1242
Refer to Figure.
Reference dimensions at location 1243. If required use the data written as a note in TASK 72-41-33-200-000.
Table 9. Fits and Clearances (all dimensions are in inches) NEW PART
WORN PART
DIMENSIONS
DIMENSIONS
PART IDENT
Size
Clearance
Non-select
REJECT IF
MORE THAN
LOCATION 1243
Stage 5 Shroud ENGINE-HP COMPRESSOR VARIABLE VANE INNER SHROUDS (72-41-33, 04-200)
Location At The Half Bush ENGINE-HP COMPRESSOR VARIABLE VANE INNER SHROUDS (72-41-33, 04-190)
Stage 5 Shroud Half Bush Location Diameter
7.2720
7.2740
0.0052
Half Bush Inner Diameter
7.2591
0.0148
7.2668
Table 10. Fits and Clearances (all dimensions are in millimeters) NEW PART
WORN PART
DIMENSIONS
DIMENSIONS
PART IDENT
Size
Clearance
Non-select
REJECT IF
MORE THAN
LOCATION 1243
Stage 5 Shroud ENGINE-HP COMPRESSOR VARIABLE VANE INNER SHROUDS (72-41-33, 04-200)
Location At The Half Bush ENGINE-HP COMPRESSOR VARIABLE VANE INNER SHROUDS (72-41-33, 04-190)
Stage 5 Shroud Half Bush Location Diameter
184.7100
184.7600
0.1325
Half Bush Inner Diameter
184.3825
0.3775
184.5775
SUBTASK 72-41-30-220-094 Reference Fits and Clearances of the HP Compressor Front Cases and Vanes at Location 1243
Refer to Figure.
Reference dimensions at location 1244. If required use the data written as a note in TASK 72-41-32-200-000 and TASK 72-41-33-200-000.
Table 11. Fits and Clearances (all dimensions are in inches) NEW PART
WORN PART
DIMENSIONS
DIMENSIONS
PART IDENT
Size
Clearance
Non-select
REJECT IF
MORE THAN
LOCATION 1244
Stage 5 VSV ENGINE-HP COMPRESSOR VARIABLE VANES (72-41-32, 04-500 and 04-600)
Location In The Half Bush ENGINE-HP COMPRESSOR VARIABLE VANE INNER SHROUDS (72-41-33, 04-190)
Stage 5 VSV Inner Spindle Length
7.9322
Intf
7.9446
0.0057
Half Bush Outer Length
7.9330
Clear
7.9381
0.0115
Table 12. Fits and Clearances (all dimensions are in millimeters) NEW PART
WORN PART
DIMENSIONS
DIMENSIONS
PART IDENT
Size
Clearance
Non-select
REJECT IF
MORE THAN
LOCATION 1244
Stage 5 VSV ENGINE-HP COMPRESSOR VARIABLE VANES (72-41-32, 04-500 and 04-600)
Location In The Half Bush ENGINE-HP COMPRESSOR VARIABLE VANE INNER SHROUDS (72-41-33, 04-190)
Stage 5 VSV Inner Spindle Length
201.484
Intf
201.794
0.146
Half Bush Outer Length
201.500
Clear
201.630
0.294
SUBTASK 72-41-30-220-095 Reference Fits and Clearances of the HP Compressor Front Cases and Vanes at Location 1244
Refer to Figure.
Reference dimensions at location 1329. If required use the data written as a note in TASK 72-41-34-200-000.
Table 13. Fits and Clearances (all dimensions are in inches) NEW PART
WORN PART
DIMENSIONS
DIMENSIONS
PART IDENT
Size
Clearance
Non-select
REJECT IF
MORE THAN
LOCATION 1329
Stage 5 VSV Lever ACTUATING MECHANISM HP COMPRESSOR VARIABLE VANES (72-41-34, 05-100)
Location In The Bush ACTUATING MECHANISM HP COMPRESSOR VARIABLE VANES (72-41-34, 05-460 And 05-560)
Stage 5 VSV Lever Diameter
0.1960
0.1965
0.0004
Bush Bore
0.1969
0.0016
0.1976
Table 14. Fits and Clearances (all dimensions are in millimeters) NEW PART
WORN PART
DIMENSIONS
DIMENSIONS
PART IDENT
Size
Clearance
Non-select
REJECT IF
MORE THAN
LOCATION 1329
Stage 5 VSV Lever ACTUATING MECHANISM HP COMPRESSOR VARIABLE VANES (72-41-34, 05-100)
Location In The Bush ACTUATING MECHANISM HP COMPRESSOR VARIABLE VANES (72-41-34, 05-460 And 05-560)
Stage 5 VSV Lever Diameter
4.978
4.990
0.01
Bush Bore
5.000
0.04
5.018
SUBTASK 72-41-30-220-096 Reference Fits and Clearances of the HP Compressor Front Cases and Vanes at Location 1329
Refer to Figure.
Reference dimensions at location 1261. If required use the data written as a note in TASK 72-41-33-200-000.
Table 15. Fits and Clearances (all dimensions are in inches) NEW PART
WORN PART
DIMENSIONS
DIMENSIONS
PART IDENT
Size
Clearance
Non-select
REJECT IF
MORE THAN
LOCATION 1261
Stage 5 Half Shroud ENGINE-HP COMPRESSOR VARIABLE VANE INNER SHROUDS (72-41-33, 04-200)
0.1996
Location Pin Hole Bore
0.2007
0.0018
Grooved Headless Pin Diameter
0.1973
0.0034
0.1977
Table 16. Fits and Clearances (all dimensions are in millimeters) NEW PART
WORN PART
DIMENSIONS
DIMENSIONS
PART IDENT
Size
Clearance
Non-select
REJECT IF
MORE THAN
LOCATION 1261
Stage 5 Half Shroud ENGINE-HP COMPRESSOR VARIABLE VANE INNER SHROUDS (72-41-33, 04-200)
5.070
Location Pin Hole Bore
5.100
0.046
Grooved Headless Pin Diameter
5.012
0.088
5.024
SUBTASK 72-41-30-220-442 Reference Fits and Clearances of the HP Compressor Front Cases and Vanes at Location 1261
SBE 72-0385or SBE 72-0416: Introduction of revised actuating rings with increased dowel locations.
Install the four bolts ACTUATING MECHANISM HP COMPRESSOR VARIABLE VANES (72-41-34, 05-682) to attach the two stage 5 centralizing pads to the stage 5 upper actuating ring.
Install the two stage 5 centralizing pads ACTUATING MECHANISM HP COMPRESSOR VARIABLE VANES (72-41-34, 05-680) on to the stage 5 upper actuating ring ACTUATING MECHANISM HP COMPRESSOR VARIABLE VANES (72-41-34, 05-440).
Install the two stage 5 centralizing pads on to the stage 5 lower actuating ring ACTUATING MECHANISM HP COMPRESSOR VARIABLE VANES (72-41-34, 05-540).
Put the two brackets ACTUATING MECHANISM HP COMPRESSOR VARIABLE VANES (72-41-34, 05-760) in to position on the upper and lower stage 5 actuating rings ACTUATING MECHANISM HP COMPRESSOR VARIABLE VANES (72-41-34, 05-440 and ACTUATING MECHANISM HP COMPRESSOR VARIABLE VANES 05-540). Refer to the detail at E.
Install the four hollow dowels ACTUATING MECHANISM HP COMPRESSOR VARIABLE VANES (72-41-34, 05-766) and the four bolts ACTUATING MECHANISM HP COMPRESSOR VARIABLE VANES (72-41-34, 05-762) to attach the two brackets to the upper and lower stage 5 actuating rings.
Put the bracket ACTUATING MECHANISM HP COMPRESSOR VARIABLE VANES (72-41-34, 05-770) in to position on the upper stage 5 actuating ring. Refer to the detail at F.
Install the two hollow dowels ACTUATING MECHANISM HP COMPRESSOR VARIABLE VANES (72-41-34, 05-776) and the two bolts ACTUATING MECHANISM HP COMPRESSOR VARIABLE VANES (72-41-34, 05-772) to attach the bracket to the upper stage 5 actuating ring.
Pre SBE 72-0084: Install the rigging pin brackets.
Put the bracket ACTUATING MECHANISM HP COMPRESSOR VARIABLE VANES (72-41-34, 05-760) into position on the lower stage 5 actuating ring ACTUATING MECHANISM HP COMPRESSOR VARIABLE VANES (72-41-34, 05-540). Refer to the detail at E.
Install the two hollow dowels ACTUATING MECHANISM HP COMPRESSOR VARIABLE VANES (72-41-34, 05-766) and the two bolts ACTUATING MECHANISM HP COMPRESSOR VARIABLE VANES (72-41-34, 05-762) to attach the bracket to the lower stage 5 actuating ring.
SBE 72-0084: Install the rigging pin bracket.
SUBTASK 72-41-30-440-082 Assemble the Stage 5 Actuating Rings (Pre SBE 72-0385 or SBE 72-0416 and SBE 72-0385or SBE 72-0416)
Connect the IAE 1R18274 Air plug gage 1 off to the IAE 1R18280 Air gage unit 1 off. Connect an air supply to the air gage unit.
Install IAE 1R18275 Setting ring 1 off on to the air plug gage. Refer to Figure. The two air jets, on the air plug gage, must be approximately in the center of the setting ring bore.
Install IAE 1R18276 Setting ring 1 off on to the air plug gage. The two air jets, on the air plug gage must be approximately in the center of the setting ring bore.
Set the tools to measure the bushes location bores.
Install the air plug gage in to the stage 5 VSV outer bush location bore at the No. 1 position. Set the two air jets at approximately the center of the bush location bore. Refer to Figure.
Measure the stage 5 VSV bush location bores.
SUBTASK 72-41-30-220-146 Measure the Stage 5 VSV Spindle Bushes Location Bores
Refer to Figure.
SBE 70-0052: Engine - Additional source for variable stator vane spindle bushings
Pre SBE 70-0052: From the values written down in Step use the correct size of bush.
Red segment - Fig/Item 72-41-31, 01-253.
Yellow segment - Fig/Item 72-41-31, 01-251.
Black segment - Fig/Item 72-41-31, 01-252.
SBE 70-0052: From the values written down in Step use the correct size of bush.
Red segment - Fig/Item 72-41-31, 01-253 or 72-41-31, 01-255.
Yellow segment - Fig/Item 72-41-31, 01-251 or 72-41-31, 01-257.
Black segment - Fig/Item 72-41-31, 01-252 or 72-41-31, 01-256.
Use IAE 1R18262 Bushing assembly tool 1 off to install the bushes. Refer to detail A on Figure.
Install the stage 5 VSV inner bushes.
Pre SBE 70-0052: Select the correct size of bush. Refer to Step.
SBE 70-0052: Select the correct size of bush. Refer to Step.
Use IAE 1R18261 Bushing assembly tool 1 off to install the bushes. Refer to detail B on Figure.
Install the nylon washer B, spacer, handle and ring removed in Step.
Install the stage 5 VSV outer bushes.
SUBTASK 72-41-30-440-124-001 Install the Stage 5 VSV Spindle Bushes using IAE 1R18262 and IAE 1R18261 Bush Assembly Tools (Pre SBE 70-0052 and SBE 70-0052)
Refer to Figure.
SBE 70-0052: Engine - Additional source for variable stator vane spindle bushings
Pre SBE 70-0052: From the values written down in Step use the correct size of bush.
Red segment - Fig/Item 72-41-31, 01-253.
Yellow segment - Fig/Item 72-41-31, 01-251.
Black segment - Fig/Item 72-41-31, 01-252.
SBE 70-0052: From the values written down in Step use the correct size of bush.
Red segment - Fig/Item 72-41-31, 01-253 or 72-41-31, 01-255.
Yellow segment - Fig/Item 72-41-31, 01-251 or 72-41-31, 01-257.
Black segment - Fig/Item 72-41-31, 01-252 or 72-41-31, 01-256.
Install the IAE 1R18575 Bushing assembly tool 1 off, on the pusher.
Install the IAE 1R18573 Cylinder, hydraulic 1 off, on the pusher until the cylinder comes against the bush assembly tool.
Install the stage 5 VSV inner bushes.
Pre SBE 70-0052: Select the correct size of bush. Refer to Step.
SBE 70-0052: Select the correct size of bush. Refer to Step.
Put the bush of the correct dimension on the IAE 1R18578 Pusher installation tool 1 off.
Install the IAE 1R18575 Bushing assembly tool on the pusher.
Install the IAE 1R18573 Cylinder, hydraulic on the pusher until the cylinder comes against the bush assembly tool.
Install the stage 5 VSV outer bushes.
SUBTASK 72-41-30-440-124-002 Install the Stage 5 VSV Spindle Bushes using IAE 1R18581, IAE 1R18575, IAE 1R18573 and IAE 1R18578 Bush Installation Tools (Pre SBE 70-0052 and SBE 70-0052)
Pre SBE 72-0402: It is not necessary to lubricate the stage 5 locations with CoMat 10-108 HIGH PERFORMANCE PENETRATING LUBRICANT WITH TEFLON (R) during this SUBTASK.
SBE 72-0402: Lubricate the stage 5 locations during these assembly operations with CoMat 10-108 HIGH PERFORMANCE PENETRATING LUBRICANT WITH TEFLON (R) as specified in TASK 72-41-30-440-011-A00, SUBTASK 72-41-30-440-208.
Use IAE 1R18492 Seal fitting tool 1 off to install the sealing rings on to the stage 5 stator vanes ACTUATING MECHANISM HP COMPRESSOR VARIABLE VANES (72-41-34, 04-500).
Use IAE 1R18493 Seal fitting tool 1 off to install the sealing rings on to the stage 5 stator vanes ACTUATING MECHANISM HP COMPRESSOR VARIABLE VANES (72-41-34, 04-600).
Install the 64 sealing rings ENGINE-HP COMPRESSOR VARIABLE VANES (72-41-32, 04-495) on to the 64 stage 5 stator vanes ENGINE-HP COMPRESSOR VARIABLE VANES (72-41-32, 04-500) and ENGINE-HP COMPRESSOR VARIABLE VANES (72-41-32, 04-600). Refer to Figure.
Refer to SPM TASK 70-09-01-400-501.
Temporary mark vane sequence number on each vane before it is installed.
NOTE
Do not vibropeen.Install the 30 stage 5 stator vanes ENGINE-HP COMPRESSOR VARIABLE VANES (72-41-32, 04-500) and the two stage 5 stator vanes ENGINE-HP COMPRESSOR VARIABLE VANES (72-41-32, 04-600) in to the bushes in the upper half HP compressor front case.
NOTE
The two stage 5 stator vanes ENGINE-HP COMPRESSOR VARIABLE VANES (72-41-32, 04-600) with the long spindles must be installed at the positions 1 and 32.
Install the stage 5 stator vanes in the upper half HP compressor front case.
Install the 30 stage 5 stator vanes ENGINE-HP COMPRESSOR VARIABLE VANES (72-41-32, 04-500) and the two stage 5 stator vanes ENGINE-HP COMPRESSOR VARIABLE VANES (72-41-32, 04-600), in the lower half HP compressor front case as given in Step and Step.
NOTE
The two stage 5 stator vanes ENGINE-HP COMPRESSOR VARIABLE VANES (72-41-32, 04-600) with the long spindles must be installed at the positions 33 and 64.
Install the stage 5 stator vanes in the lower half HP compressor front case.
Put two spacers ACTUATING MECHANISM HP COMPRESSOR VARIABLE VANES (72-41-34, 03-060) on to the spindle of each stage 5 stator vane.
The four actuating levers ACTUATING MECHANISM HP COMPRESSOR VARIABLE VANES (72-41-34, 05-140) go at the positions 1, 32, 33 and 64.
The eight actuating levers ACTUATING MECHANISM HP COMPRESSOR VARIABLE VANES (72-41-34, 05-120) go at the positions 2, 3, 30, 31, 34, 35, 62 and 63.
The 52 actuating levers ACTUATING MECHANISM HP COMPRESSOR VARIABLE VANES (72-41-34, 05-100) go at the positions 4 to 29 and 36 to 61.
Install the 64 stage 5 actuating levers on to the spindles of the stage 5 stator vanes.
Install the 64 slave nuts to attach the stage 5 actuating levers to the stage 5 stator vanes. Torque the nuts to 85 lbfin to 105 lbfin (10.00 Nm to 12.00 Nm). The nuts that are used must have no run down torque.
NOTE
The stage 5 actuating levers must be parallel with the casing center line, when you torque the nuts. This is the null position.
Measure and write down the stage 5 stator vane end float.
SUBTASK 72-41-30-440-083 Install the Stage 5 Stator Vanes in the HP Compressor Front Case (Pre SBE 72-0402 and SBE 72-0402)
Pre SBE 72-0402 : It is not necessary to lubricate the stage 5 locations with CoMat 10-108 HIGH PERFORMANCE PENETRATING LUBRICANT WITH TEFLON (R) during this SUBTASK.
SBE 72-0402 : Lubricate the stage 5 locations during these assembly operations with CoMat 10-108 HIGH PERFORMANCE PENETRATING LUBRICANT WITH TEFLON (R) as specified in TASK 72-41-30-440-011-A00, SUBTASK 72-41-30-440-208.
Put the stage 5 upper actuating ring ACTUATING MECHANISM HP COMPRESSOR VARIABLE VANES (72-41-34, 05-440) in to position on the upper half HP compressor front case. Install three of the IAE 1R18423 Rigging pin 6 off or IAE 1R18895 Rigging pin 6 off to attach the stage 5 actuating ring to the upper half HP compressor front case.
NOTE
Set the stage 5 upper actuating ring adjacent to the stage 5 VSV at the positions 4 to 29.Install two spacers ACTUATING MECHANISM HP COMPRESSOR VARIABLE VANES (72-41-34, 05-060) thru ACTUATING MECHANISM HP COMPRESSOR VARIABLE VANES (72-41-34, 05-078) on to the spindle of each stage 5 stator vane at the positions 4 to 29. The thickness of the spacers that are necessary are equal to:
Install the 26 stage 5 actuating levers ACTUATING MECHANISM HP COMPRESSOR VARIABLE VANES (72-41-34, 05-100) in to the locations in the stage 5 upper actuating ring. Engage the stage 5 actuating levers on the stage 5 stator vane spindles.
Install the 26 nuts ACTUATING MECHANISM HP COMPRESSOR VARIABLE VANES (72-41-34, 05-103) to attach the stage 5 actuating levers to the stage 5 stator vanes.
Pre SBE 72-0385 or SBE 72-0416: Install the stage 5 upper actuating ring and the stage 5 actuating levers on to the upper half HP compressor front case.
SBE 72-0385 or SBE 72-0416: Install the stage 5 upper actuating ring and the stage 5 actuating levers on to the upper half HP compressor front case.
Install the stage 5 lower actuating ring ACTUATING MECHANISM HP COMPRESSOR VARIABLE VANES (72-41-34, 05-540) and the stage 5 actuating levers, at the positions 36 to 61, as given in Step to Step.
Install the stage 5 lower actuating ring and the stage 5 actuating levers on to the lower half HP compressor front case.
SUBTASK 72-41-30-440-084 Install the Stage 5 Actuating Rings (Pre SBE 72-0402, SBE 72-0402, Pre SBE 72-0385or SBE 72-0416 and SBE 72-0385or SBE 72-0416)
Refer to Figure.
SBE 72-0402: HP compressor variable vanes - inlet guide vane and stages 3 to 6 with optimised build and setting instructions.
SBE 72-0422: HP compressor variable inner shrouds - Introduction of revised one piece bushes
Pre SBE 72-0402 : It is not necessary to lubricate the stage 5 locations with CoMat 10-108 HIGH PERFORMANCE PENETRATING LUBRICANT WITH TEFLON (R) during this SUBTASK.
SBE 72-0402 : Lubricate the stage 5 locations during these assembly operations with CoMat 10-108 HIGH PERFORMANCE PENETRATING LUBRICANT WITH TEFLON (R) as specified in TASK 72-41-30-440-011-A00, SUBTASK 72-41-30-440-208.
Pre SBE 72-0422: Apply a thin layer of CoMat 04-007 SILICONE GREASE to the 64 half bushes ENGINE-HP COMPRESSOR VARIABLE VANE INNER SHROUDS (72-41-33, 04-190) outer surfaces.
SBE 72-0422: Apply a thin layer of CoMat 04-007 SILICONE GREASE to the 32 bushes ENGINE-HP COMPRESSOR VARIABLE VANE INNER SHROUDS (72-41-33, 04-190) outer surfaces.
Pre SBE 72-0422: Install the 64 half bushes on to one half of the stage 5 front and rear shroud ENGINE-HP COMPRESSOR VARIABLE VANE INNER SHROUDS (72-41-33, 04-200).
SBE 72-0422: Install the 32 bushes on to the stage 5 stator vanes.
Pre SBE 72-0422: Install the stage 5 front and rear shroud with the half bushes on to the stage 5 stator vanes at the inner pivot point.
NOTE
Make sure the locating pins are correctly engaged in the stage 5 front shroud.SBE 72-0422: Install the stage 5 front shroud and the rear shroud on to the stage 5 stator vanes and bushes at the inner pivot point.
NOTE
Make sure the locating pins are correctly engaged in the stage 5 front shroud.Install the 16 dee headed bolts ENGINE-HP COMPRESSOR VARIABLE VANE INNER SHROUDS (72-41-33, 04-138) and nuts ENGINE-HP COMPRESSOR VARIABLE VANE INNER SHROUDS (72-41-33, 04-130). These attach the stage 5 front and rear shroud to the stage 5 stator vanes.
NOTE
Make sure the flat on the head of the bolts is in the correct position.
Install the stage 5 front and rear shrouds in to the upper half compressor front case.
SUBTASK 72-41-30-440-085 Install the Stage 5 Variable Stator Vane (VSV) Half Shrouds (Pre SBE 72-0402, SBE 72-0402, Pre SBE 72-0422 and SBE 72-0422)
Figure: Pre SBE 72-0027: View through the HP compressor front case
Sheet 1

Figure: SBE 72-0027: View through the HP compressor front case
Sheet 2

Figure: Locations for the fits and clearances
Sheet 1

Figure: Locations for the fits and clearances
Sheet 2

Figure: Install the stage 5 actuating ring centralizing pads and rigging pin brackets
Sheet 1

Figure: Pre SBE 72-0084 Install the stage 5 actuating ring centralizing pad and rigging pin brackets
Sheet 2

Figure: SBE 72-0084 Install the stage 5 actuating ring centralizing pad and rigging pin brackets
Sheet 3

Figure: Details of the air gage unit
Sheet 1

Figure: Details of the air gage unit
Sheet 2

Figure: Details of the air plug gage and setting ring
Details of the air plug gage and setting ring

Figure: Install the stage 5 VSV spindle bushes
Sheet 1

Figure: Install the stage 5 stator vane spindle bushes
Sheet 2

Figure: Install the seals on the stage 5 stator vane seals
Install the seals on the stage 5 stator vane seals

Figure: The positions of the stage 5 stator vanes
The positions of the stage 5 stator vanes

Figure: Install the stage 5 stator vanes
Install the stage 5 stator vanes

Figure: Measure the stage 5 stator vane end float
Measure the stage 5 stator vane end float

