Export Control
EAR Export Classification: Not subject to the EAR per 15 C.F.R. Chapter 1, Part 734.3(b)(3), except for the following Service Bulletins which are currently published as EAR Export Classification 9E991: SBE70-0992, SBE72-0483, SBE72-0580, SBE72-0588, SBE72-0640, SBE73-0209, SBE80-0024 and SBE80-0025.Copyright
© IAE International Aero Engines AG (2001, 2014 - 2021) The information contained in this document is the property of © IAE International Aero Engines AG and may not be copied or used for any purpose other than that for which it is supplied without the express written authority of © IAE International Aero Engines AG. (This does not preclude use by engine and aircraft operators for normal instructional, maintenance or overhaul purposes.).Applicability
V2500-A1
Common Information
TASK 72-41-30-440-005-A00 HPC Front Case And Vane Assembly - Install The Stage 4 Variable Stator Vanes, Assembly-005
General
For all parts identified in a different Chapter/Section/Subject, the applicable Chapter/Section/Subject comes before the Fig/item number.
All of the temporary marks made in this procedure must be removed after completion of this task.
For standard torque data and procedures, refer to SPM TASK 70-41-01-400-501, SPM TASK 70-41-00-400-501 and SPM TASK 70-41-01-400-501.
Special torque data and assembly tolerances are included in the procedure.
Lubricate all threads and touch faces of nuts and bolts with CoMat 10-077 APPROVED ENGINE OILS, unless other lubricants are referred to in the procedure.
To identify, lubricate and install seal rings, refer to SPM TASK 70-64-02-640-501.
After assembly apply CoMat 07-038 AIR DRYING ENAMEL to any damaged surface protection, joint flanges and parts used to attach. Use the correct colour of the air drying enamel. Refer to SPM TASK 70-63-02-380-501.
The number for each radial location must be identified in a clockwise direction. These start at the engine top position when you look from the rear of the engine, unless stated differently in the procedure.
Pre SBE 72-0027: Refer to Figure for a sectional view of the HP compressor front case.
SBE 72-0027: Refer to Figure for a sectional view of the HP compressor front case.
The Fits and Clearances, NEW PART DIMENSIONS and REJECT IF MORE THAN columns will be used by most operators. This permits the full use of the maximum wear allowance and a reduction in the number of parts which are rejected, is possible.
As long as REJECT IF MORE THAN columns do not include reject values, NEW PART DIMENSIONS do not have to be measured before assembly, as there are no reject-if criteria. Values are only valid for new parts, not for worn parts.
The column WORN PART DIMENSIONS (Non-select) is included for operators who want to have full interchangeability. If this column is used an increase in the number of parts which are rejected is possible.
After the part has been in service for some time the REJECT IF MORE THAN and WORN PART DIMENSION could be changed. The operator must tell IAE and if agreed the manual will be changed.
The abbreviation Intf shows an interference or tight fit. This causes REJECT IF MORE THAN to become REJECT IF LESS THAN.
The abbreviation clear shows a clearance fit.
This TASK gives the procedure to install the stage 4 variable stator vanes (VSV). The subsequent TASKS give the procedure to assemble HP compressor front cases.
Install the Stage 3 to 6 Rotor Path Rings Pre SBE 72-0027 by TASK 72-41-30-440-001-A00 (ASSEMBLY-001).
Install the Stage 5 and 6 Rotor Path Rings SBE 72-0027 by TASK 72-41-30-440-001-B00 (ASSEMBLY-001).
Measure and then Machine the Stage 6 VSV and the Stage 3 to 6 Rotor Path Linings by TASK 72-41-30-440-002-A00 (ASSEMBLY-002).
Install the VIGV by TASK 72-41-30-440-003-A00 (ASSEMBLY-003).
Install the Stage 3 VSV by TASK 72-41-30-440-004-A00 (ASSEMBLY-004).
Install the Stage 5 VSV by TASK 72-41-30-440-006-A00 (ASSEMBLY-006).
Install the Stage 6 VSV by TASK 72-41-30-440-007-A00 (ASSEMBLY-007).
Install the VIGV and the Stage 3 to 6 Connector Assemblies by TASK 72-41-30-440-008-A00 (ASSEMBLY-008).
Measure the HP Compressor Front Cases by TASK 72-41-30-440-009-A00 (ASSEMBLY-009).
Disassemble the HP Compressor Front Cases by TASK 72-41-30-440-010-A00 (ASSEMBLY-010).
Check and Set VSV System with Optimised Build and Setting Clearances - SBE 72-0402 by TASK 72-41-30-440-011-A00 (ASSEMBLY-011).
NOTE
NOTE
Preliminary Requirements
Pre-Conditions
NONESupport Equipment
| Name | Manufacturer | Part Number / Identification | Quantity | Remark |
|---|---|---|---|---|
| IAE 1R18261 Bushing assembly tool | 0AM53 | IAE 1R18261 | 1 | |
| IAE 1R18262 Bushing assembly tool | 0AM53 | IAE 1R18262 | 1 | |
| IAE 1R18274 Air plug gage | 0AM53 | IAE 1R18274 | 1 | |
| IAE 1R18275 Setting ring | 0AM53 | IAE 1R18275 | 1 | |
| IAE 1R18276 Setting ring | 0AM53 | IAE 1R18276 | 1 | |
| IAE 1R18280 Air gage unit | 0AM53 | IAE 1R18280 | 1 | |
| IAE 1R18423 Rigging pin | 0AM53 | IAE 1R18423 | 6 | |
| IAE 1R18894 Rigging pin | 0AM53 | IAE 1R18894 | 6 | |
| IAE 1R18494 Seal fitting tool | 0AM53 | IAE 1R18494 | 1 | |
| IAE 1R18575 Bushing assembly tool | 0AM53 | IAE 1R18575 | ||
| IAE 1R18573 Cylinder, hydraulic | 0AM53 | IAE 1R18573 | ||
| IAE 1R18578 Pusher installation tool | 0AM53 | IAE 1R18578 |
Consumables, Materials and Expendables
| Name | Manufacturer | Part Number / Identification | Quantity | Remark |
|---|---|---|---|---|
| CoMat 02-363 MARKING PEN | LOCAL | CoMat 02-363 | ||
| CoMat 04-007 SILICONE GREASE | LOCAL | CoMat 04-007 | ||
| CoMat 07-038 AIR DRYING ENAMEL | k3504 | CoMat 07-038 | ||
| CoMat 10-077 APPROVED ENGINE OILS | X333X | CoMat 10-077 | ||
| CoMat 10-108 HIGH PERFORMANCE PENETRATING LUBRICANT WITH TEFLON (R) | LOCAL | CoMat 10-108 |
Spares
| Name | Manufacturer | Part Number / Identification | Quantity | Remark |
|---|---|---|---|---|
| Sealing ring | Sealing ring | 50 |
Safety Requirements
NONEProcedure
Refer to Figure.
SBE 70-0052: Engine - Additional source for variable stator vane spindle bushings.
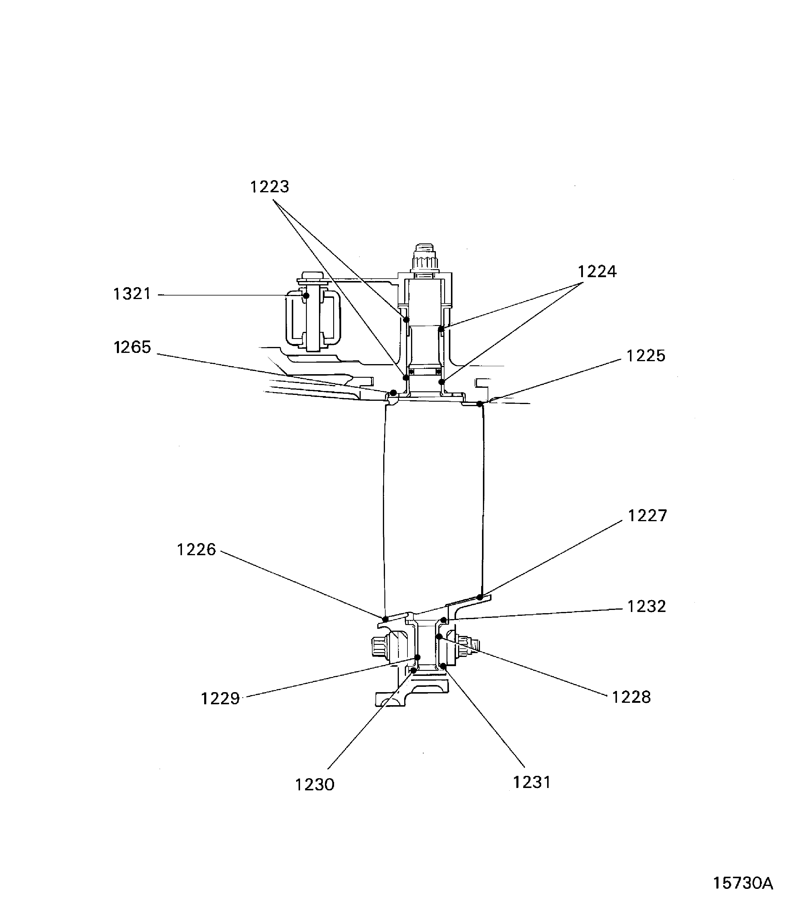
Reference dimensions at location 1224. If required use the data written as a note in TASK 72-41-31-200-000 and TASK 72-41-32-200-000.
Table 1. Fits and Clearances (all dimensions are in inches) NEW PART
WORN PART
DIMENSIONS
DIMENSIONS
PART IDENT
Size
Clearance
Non-select
REJECT IF
MORE THAN
LOCATION 1224
Stage 4 Outer Pivot Bush Pre SBE 70-0052: ENGINE-HP COMPRESSOR SPLIT CASES (72-41-31, 01-251, 01-252 And 01-253)
SBE 70-0052: ENGINE-HP COMPRESSOR SPLIT CASES (72-41-31, 01-251, 01-252, 01-253, 01-255, 01-256 and 01-257)
Locations At The Stage 4 VSV ENGINE-HP COMPRESSOR VARIABLE VANES (72-41-32, 03-500)
Stage 4 Outer Pivot Bush Internal Bore
0.4724
0.4735
0.0018
Stage 4 VSV Spindle Diameter
0.4685
0.0050
0.4705
Table 2. Fits and Clearances (all dimensions are in millimeters) NEW PART
WORN PART
DIMENSIONS
DIMENSIONS
PART IDENT
Size
Clearance
Non-select
REJECT IF
MORE THAN
LOCATION 1224
Stage 4 Outer Pivot Bush Pre SBE 70-0052: ENGINE-HP COMPRESSOR SPLIT CASES (72-41-31, 01-251, 01-252 And 01-253)
SBE 70-0052: ENGINE-HP COMPRESSOR SPLIT CASES (72-41-31, 01-251, 01-252, 01-253, 01-255, 01-256 And 01-257)
Locations At The Stage 4 VSV ENGINE-HP COMPRESSOR VARIABLE VANES (72-41-32, 03-500)
Stage 4 Outer Pivot Bush Internal Bore
12.000
12.027
0.048
Stage 4 VSV Spindle Diameter
11.900
0.127
11.952
SUBTASK 72-41-30-220-081 Reference Fits and Clearances of the HP Compressor Front Cases and Vanes at Location 1224 (Pre SBE 70-0052 and SBE 70-0052)
Refer to Figure.
Reference dimensions at location 1228. If required use the data written as a note in TASK 72-41-33-200-000.
Table 3. Fits and Clearances (all dimensions are in inches) NEW PART
WORN PART
DIMENSIONS
DIMENSIONS
PART IDENT
Size
Clearance
Non-select
REJECT IF
MORE THAN
LOCATION 1228
Half Bush ENGINE-HP COMPRESSOR VARIABLE VANE INNER SHROUDS (72-41-33, 03-190)
Location In The Stage 4 Half Shroud ENGINE-HP COMPRESSOR VARIABLE VANE INNER SHROUDS (72-41-33, 03-200)
Half Bush Bore
0.3551
0.3561
0.0000
Stage 4 Half Shroud Half Bush Location Diameter
0.3543
Intf
0.3551
0.0018
Table 4. Fits and Clearances (all dimensions are in millimeters) NEW PART
WORN PART
DIMENSIONS
DIMENSIONS
PART IDENT
Size
Clearance
Non-select
REJECT IF
MORE THAN
LOCATION 1228
Half Bush ENGINE-HP COMPRESSOR VARIABLE VANE INNER SHROUDS (72-41-33, 03-190)
Location In The Stage 4 Half Shroud ENGINE-HP COMPRESSOR VARIABLE VANE INNER SHROUDS (72-41-33, 03-200)
Half Bush Bore
9.022
9.047
0.000
Stage 4 Half Shroud Half Bush Location Diameter
9.000
Intf
9.022
0.047
SUBTASK 72-41-30-220-082 Reference Fits and Clearances of the HP Compressor Front Cases and Vanes at Location 1228
Refer to Figure.
Reference dimensions at location 1229. If required use the data written as a note in TASK 72-41-33-200-000.
Table 5. Fits and Clearances (all dimensions are in inches) NEW PART
WORN PART
DIMENSIONS
DIMENSIONS
PART IDENT
Size
Clearance
Non-select
REJECT IF
MORE THAN
LOCATION 1229
Stage 4 VSV ENGINE-HP COMPRESSOR VARIABLE VANES (72-41-32, 03-500)
Location At The Half Bush ENGINE-HP COMPRESSOR VARIABLE VANE INNER SHROUDS (72-41-33, 03-190)
Stage 4 VSV Inner Spindle Diameter
0.2709
0.2730
0.0025
Half Bush Bore
0.2756
0.0055
0.2765
Table 6. Fits and Clearances (all dimensions are in millimeters) NEW PART
WORN PART
DIMENSIONS
DIMENSIONS
PART IDENT
Size
Clearance
Non-select
REJECT IF
MORE THAN
LOCATION 1229
Stage 4 VSV ENGINE-HP COMPRESSOR VARIABLE VANES (72-41-32, 03-500)
Location At The Half Bush ENGINE-HP COMPRESSOR VARIABLE VANE INNER SHROUDS (72-41-33, 03-190)
Stage 4 VSV Inner Spindle Diameter
6.881
6.933
0.067
Half Bush Bore
7.000
0.141
7.022
SUBTASK 72-41-30-220-083 Reference Fits and Clearances of the HP Compressor Front Cases and Vanes at Location 1229
Refer to Figure.
Reference dimensions at location 1230. If required use the data written as a note in TASK 72-41-32-200-000 and TASK 72-41-33-200-000.
Table 7. Fits and Clearances (all dimensions are in inches) NEW PART
WORN PART
DIMENSIONS
DIMENSIONS
PART IDENT
Size
Clearance
Non-select
REJECT IF
MORE THAN
LOCATION 1230
Stage 4 VSV ENGINE-HP COMPRESSOR VARIABLE VANES (72-41-32, 03-500)
Location At The Half Bush ENGINE-HP COMPRESSOR VARIABLE VANE INNER SHROUDS (72-41-33, 03-190)
Stage 4 VSV Inner Spindle Length
6.4560
Intf
6.4721
0.0094
Half Bush Outer Length
6.4691
Clear
6.4626
0.0131
Table 8. Fits and Clearances (all dimensions are in millimeters) NEW PART
WORN PART
DIMENSIONS
DIMENSIONS
PART IDENT
Size
Clearance
Non-select
REJECT IF
MORE THAN
LOCATION 1230
Stage 4 VSV ENGINE-HP COMPRESSOR VARIABLE VANES (72-41-32, 03-500)
Location At The Half Bush ENGINE-HP COMPRESSOR VARIABLE VANE INNER SHROUDS (72-41-33, 03-190)
Stage 4 VSV Inner Spindle Length
163.9830
Intf
164.3930
0.2405
Half Bush Outer Length
164.3175
Clear
164.1525
0.3345
SUBTASK 72-41-30-220-084 Reference Fits and Clearances of the HP Compressor Front Cases and Vanes at Location 1230
Refer to Figure.
Reference dimensions at location 1231. If required use the data written as a note in TASK 72-41-33-200-000.
Table 9. Fits and Clearances (all dimensions are in inches) NEW PART
WORN PART
DIMENSIONS
DIMENSIONS
PART IDENT
Size
Clearance
Non-select
REJECT IF
MORE THAN
LOCATION 1231
Stage 4 Half Shroud ENGINE-HP COMPRESSOR VARIABLE VANE INNER SHROUDS (72-41-33, 03-200)
Location At The Half Bush ENGINE-HP COMPRESSOR VARIABLE VANE INNER SHROUDS (72-41-33, 03-190)
Stage 4 Half Shroud Internal Length
6.5314
6.5334
0.006
Half Bush Inner Length
6.5178
0.0156
6.5254
Table 10. Fits and Clearances (all dimensions are in millimeters) NEW PART
WORN PART
DIMENSIONS
DIMENSIONS
PART IDENT
Size
Clearance
Non-select
REJECT IF
MORE THAN
LOCATION 1231
Stage 4 Half Shroud ENGINE-HP COMPRESSOR VARIABLE VANE INNER SHROUDS (72-41-33, 03-200)
Location At The Half Bush ENGINE-HP COMPRESSOR VARIABLE VANE INNER SHROUDS (72-41-33, 03-190)
Stage 4 Half Shroud Internal Length
165.9000
165.9500
0.1525
Half Bush Inner Length
165.5525
0.3975
165.7475
SUBTASK 72-41-30-220-085 Reference Fits and Clearances of the HP Compressor Front Cases and Vanes at Location 1231
Refer to Figure.
Reference dimensions at location 1232. If required use the data written as a note in TASK 72-41-32-200-000 and TASK 72-41-33-200-000.
Table 11. Fits and Clearances (all dimensions are in inches) NEW PART
WORN PART
DIMENSIONS
DIMENSIONS
PART IDENT
Size
Clearance
Non-select
REJECT IF
MORE THAN
LOCATION 1232
Stage 4 VSV ENGINE-HP COMPRESSOR VARIABLE VANES (72-41-32, 03-500)
Location At The Half Bush ENGINE-HP COMPRESSOR VARIABLE VANE INNER SHROUDS (72-41-33, 03-190)
Stage 4 VSV Inner Spindle Length
3.2911
Intf
3.2962
0.0068
Half Bush Outer Length
3.2893
Clear
3.3015
0.0104
Table 12. Fits and Clearances (all dimensions are in millimeters) NEW PART
WORN PART
DIMENSIONS
DIMENSIONS
PART IDENT
Size
Clearance
Non-select
REJECT IF
MORE THAN
LOCATION 1232
Stage 4 VSV ENGINE-HP COMPRESSOR VARIABLE VANES (72-41-32, 03-500)
Location At The Half Bush ENGINE-HP COMPRESSOR VARIABLE VANE INNER SHROUDS (72-41-33, 03-190)
Stage 4 VSV Inner Spindle Length
83.594
Intf
83.724
0.174
Half Bush Outer Length
83.550
Clear
83.860
0.266
SUBTASK 72-41-30-220-086 Reference Fits and Clearances of the HP Compressor Front Cases and Vanes at Location 1232
Refer to Figure.
Reference dimensions at location 1321. If required use the data written as a note in TASK 72-41-34-200-000.
Table 13. Fits and Clearances (all dimensions are in inches) NEW PART
WORN PART
DIMENSIONS
DIMENSIONS
PART IDENT
Size
Clearance
Non-select
REJECT IF
MORE THAN
LOCATION 1321
Stage 4 VSV Lever ACTUATING MECHANISM HP COMPRESSOR VARIABLE VANES (72-41-34, 04-100)
Location In The Bush ACTUATING MECHANISM HP COMPRESSOR VARIABLE VANES (72-41-34, 04-560 And 04-460)
Stage 4 VSV Lever Pin Diameter
0.1960
0.1965
0.0004
Bush Bore
0.1969
0.0016
0.1976
Table 14. Fits and Clearances (all dimensions are in millimeters) NEW PART
WORN PART
DIMENSIONS
DIMENSIONS
PART IDENT
Size
Clearance
Non-select
REJECT IF
MORE THAN
LOCATION 1321
Stage 4 VSV Lever ACTUATING MECHANISM HP COMPRESSOR VARIABLE VANES (72-41-34, 04-100)
Location In The Bush ACTUATING MECHANISM HP COMPRESSOR VARIABLE VANES (72-41-34, 04-560 And 04-460)
Stage 4 VSV Lever Pin Diameter
4.978
4.990
0.01
Bush Bore
5.000
0.04
5.018
SUBTASK 72-41-30-220-087 Reference Fits and Clearances of the HP Compressor Front Cases and Vanes at Location 1321
Refer to Figure.
Reference dimensions location 1265. If required use the data written as a note in TASK 72-41-30-200-000 and TASK 72-41-31-200-000.
Table 15. Fits and Clearances (all dimensions in inches) NEW PART
WORN PART
DIMENSIONS
DIMENSIONS
PART IDENT
Size
Clearance
Non-select
REJECT IF
MORE THAN
LOCATION 1265
Stage 4 Inner Bush Pre SBE 70-0052: ENGINE-HP COMPRESSOR SPLIT CASES (72-41-31, 01-251, 01-252 And 01-253)
SBE 70-0052: ENGINE-HP COMPRESSOR SPLIT CASES (72-41-31, 01-251, 01-252, 01-253, 01-255, 01-256 And 01-257)
Location With The Sealing Washer ENGINE-HP COMPRESSOR FRONT CASES AND VANES (72-41-30, 01-200)
Stage 4 Inner Bush Flange Thickness
0.055
0.058
0.003
Sealing Washer Thickness
0.049
0.009
0.052
Table 16. Fits and Clearances (all dimensions in millimetres) NEW PART
WORN PART
DIMENSIONS
DIMENSIONS
PART IDENT
Size
Clearance
Non-select
REJECT IF
MORE THAN
LOCATION 1265
Stage 4 Inner Bush Pre SBE 70-0052: ENGINE-HP COMPRESSOR SPLIT CASES (72-41-31, 01-251, 01-252 And 01-253)
SBE 70-0052: ENGINE-HP COMPRESSOR SPLIT CASES (72-41-31, 01-251, 01-252, 01-253, 01-255, 01-256 And 01-257)
Location With The Sealing Washer ENGINE-HP COMPRESSOR FRONT CASES AND VANES (72-41-30, 01-200)
Stage 4 Inner Bush Flange Thickness
1.387
1.463
0.077
Sealing Washer Thickness
1.250
0.213
1.310
SUBTASK 72-41-30-220-142 Reference Fits and Clearances of the HP Compressor Front Cases and Vanes at Location 1265 (Pre SBE 70-0052 and SBE 70-0052)
Refer to Figure.
Reference dimensions at location 1258. If required use the data written as a note in TASK 72-41-33-200-000.
Table 17. Fits and Clearances (all dimensions are in inches) NEW PART
WORN PART
DIMENSIONS
DIMENSIONS
PART IDENT
Size
Clearance
Non-select
REJECT IF
MORE THAN
LOCATION 1258
Stage 3 Half Shroud ENGINE-HP COMPRESSOR VARIABLE VANE INNER SHROUDS (72-41-33, 02-200)
Location At The Grooved Headless Pin ENGINE-HP COMPRESSOR VARIABLE VANE INNER SHROUDS (72-41-33, 02-222)
Stage 3 Half Shroud Location Pin Hole Bore
0.1996
0.2007
0.0018
Grooved Headless Pin Diameter
0.1973
0.0034
0.1977
Table 18. Fits and Clearances (all dimensions are in millimeters) NEW PART
WORN PART
DIMENSIONS
DIMENSIONS
PART IDENT
Size
Clearance
Non-select
REJECT IF
MORE THAN
LOCATION 1258
Stage 3 Half Shroud ENGINE-HP COMPRESSOR VARIABLE VANE INNER SHROUDS (72-41-33, 02-200)
Location At The Grooved Headless Pin ENGINE-HP COMPRESSOR VARIABLE VANE INNER SHROUDS (72-41-33, 02-222)
Stage 3 Half Shroud Location Pin Hole Bore
5.070
5.100
0.046
Grooved Headless Pin Diameter
5.012
0.088
5.024
SUBTASK 72-41-30-220-441 Reference Fits and Clearances of the HP Compressor Front Cases and Vanes at Location 1258
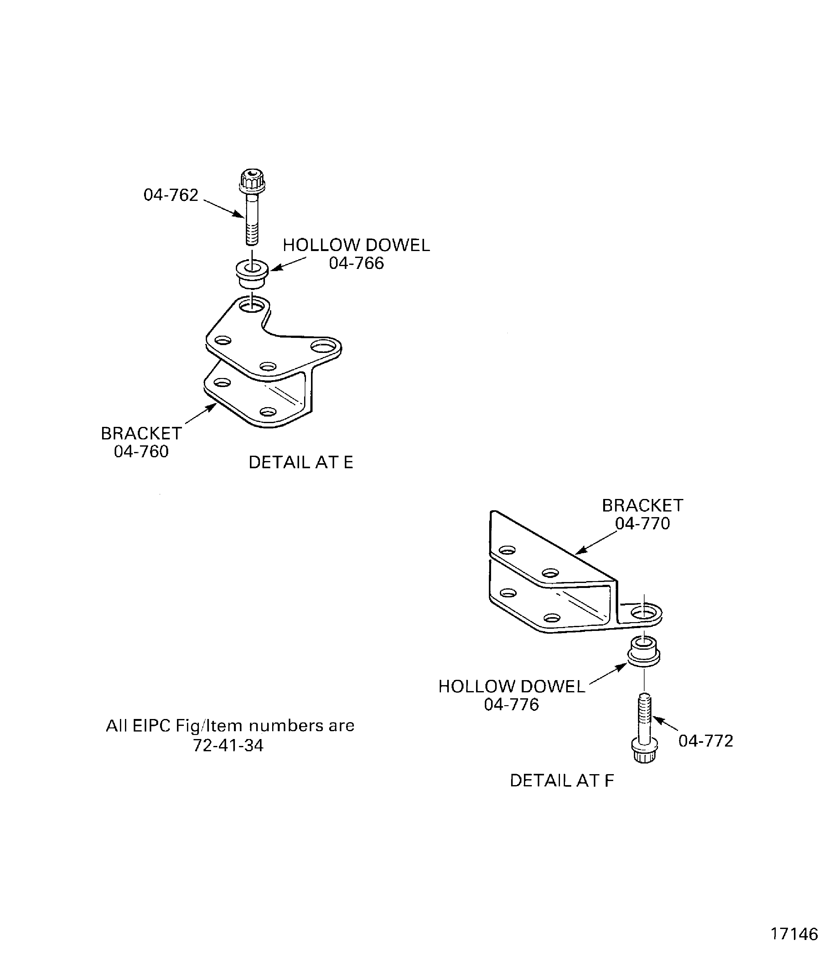
Install the four bolts ACTUATING MECHANISM HP COMPRESSOR VARIABLE VANES (72-41-34, 04-682) to attach the two stage 4 centralizing pads to the stage 4 upper actuating ring.
Install the two stage 4 centralizing pads ACTUATING MECHANISM HP COMPRESSOR VARIABLE VANES (72-41-34, 04-680) on to the stage 4 stator vane upper actuating ring ACTUATING MECHANISM HP COMPRESSOR VARIABLE VANES (72-41-34, 04-440).
Assemble the two stage 4 centralizing pads on to the stage 4 lower actuating ring ACTUATING MECHANISM HP COMPRESSOR VARIABLE VANES (72-41-34, 04-540).
Put the two brackets ACTUATING MECHANISM HP COMPRESSOR VARIABLE VANES (72-41-34, 04-760) in to position on the stage 4 upper actuating ring ACTUATING MECHANISM HP COMPRESSOR VARIABLE VANES (72-41-34, 04-440). Refer to the detail at E.
Install the four hollow dowels ACTUATING MECHANISM HP COMPRESSOR VARIABLE VANES (72-41-34, 04-766) and the four bolts ACTUATING MECHANISM HP COMPRESSOR VARIABLE VANES (72-41-34, 04-762) to attach the two brackets to the stage 4 upper actuating ring.
Put the bracket ACTUATING MECHANISM HP COMPRESSOR VARIABLE VANES (72-41-34, 04-770) in to position on the stage 4 lower actuating ring ACTUATING MECHANISM HP COMPRESSOR VARIABLE VANES (72-41-34, 04-540). Refer to the detail at F.
Install the two hollow dowels ACTUATING MECHANISM HP COMPRESSOR VARIABLE VANES (72-41-34, 04-776) and the two bolts ACTUATING MECHANISM HP COMPRESSOR VARIABLE VANES (72-41-34, 04-772) to attach the bracket to the stage 4 lower actuating ring.
Install the rigging pin brackets.
SUBTASK 72-41-30-440-078-A00 Assemble the Stage 4 Variable Stator Vane Actuating Rings (Pre SBE 72-0084)
SBE 72-0084: H.P. compressor variable stator vanes - Reduced number of rigging pin brackets
SBE 72-0385or SBE 72-0416: Introduction of revised actuating rings with increased dowel locations.
Install the four bolts ACTUATING MECHANISM HP COMPRESSOR VARIABLE VANES (72-41-34, 04-682) to attach the two stage 4 centralizing pads to the stage 4 upper actuating ring.
Install the two stage 4 centralizing pads ACTUATING MECHANISM HP COMPRESSOR VARIABLE VANES (72-41-34, 04-680) on to the stage 4 stator vane upper actuating ring ACTUATING MECHANISM HP COMPRESSOR VARIABLE VANES (72-41-34, 04-440).
Assemble the two stage 4 centralizing pads on to the stage 4 lower actuating ring ACTUATING MECHANISM HP COMPRESSOR VARIABLE VANES (72-41-34, 04-540).
Put the bracket ACTUATING MECHANISM HP COMPRESSOR VARIABLE VANES (72-41-34, 04-770) in to position on the stage 4 lower actuating ring ACTUATING MECHANISM HP COMPRESSOR VARIABLE VANES (72-41-34, 04-540). Refer to the detail at F.
Install the two hollow dowels ACTUATING MECHANISM HP COMPRESSOR VARIABLE VANES (72-41-34, 04-776) and the two bolts ACTUATING MECHANISM HP COMPRESSOR VARIABLE VANES (72-41-34, 04-772) to attach the bracket to the stage 4 lower actuating ring.
Install the rigging pin brackets.
SUBTASK 72-41-30-440-078-B00 Assemble the Stage 4 Variable Stator Vane Actuating Rings (Pre SBE 72-0385or SBE 72-0416, SBE 72-0385or SBE 72-0416 and SBE 72-0084)
Connect the IAE 1R18274 Air plug gage 1 off to the IAE 1R18280 Air gage unit 1 off. Connect an air supply to the air gage unit.
Install IAE 1R18275 Setting ring 1 off on to the air plug gage. Refer to Figure. The two air jets, on the air plug gage, must be approximately in the center of the setting ring bore.
Install IAE 1R18276 Setting ring 1 off on to the air plug gage. The two air jets, on the air plug gage, must be approximately in the center of the setting ring bore.
Set the tools to measure the bushes location bores.
SUBTASK 72-41-30-220-145 Measure the Stage 4 VSV Spindle Bushes Location Bores
Refer to Figure.
SBE 70-0052: Engine - Additional source for variable stator vane spindle bushings
Pre SBE 70-0052: From the values written down in Step use the correct size of bush.
Red segment - Fig/item 72-41-31,01-253.
Yellow segment - Fig/item 72-41-31,01-251.
Black segment - Fig/item 72-41-31,01-252.
SBE 70-0052: From the values written down in Step use the correct size of bush.
Red segment - Fig/item 72-41-31,01-253 or 72-41-31,01-255.
Yellow segment - Fig/item 72-41-31,01-251 or 72-41-31,01-257.
Black segment - Fig/item 72-41-31,01-252 or 72-41-31,01-256.
Use IAE 1R18262 Bushing assembly tool 1 off to install the bushes. Refer to detail A on Figure.
Install the stage 4 VSV inner bushes.
Pre SBE 70-0052: Select the correct size of bush. Refer to Step.
SBE 70-0052: Select the correct size of bush. Refer to Step.
Use IAE 1R18261 Bushing assembly tool 1 off to install the bushes. Refer to detail B on Figure.
Install the nylon washer B, spacer, handle and ring removed in Step.
Install the Stage 4 VSV outer bushes.
SUBTASK 72-41-30-440-123-001 Install the Stage 4 VSV Spindle Bushes using IAE 1R18262 and IAE 1R18261 Bush Assembly Tools (Pre SBE 70-0052 and SBE 70-0052)
SBE 70-0052: Engine - Additional source for variable stator vane spindle bushings
Pre SBE 70-0052: From the values written down in Step use the correct size of bush.
Red segment - Fig/item 72-41-31,01-253.
Yellow segment - Fig/item 72-41-31,01-251.
Black segment - Fig/item 72-41-31,01-252.
SBE 70-0052: From the values written down in Step use the correct size of bush.
Red segment - Fig/item 72-41-31,01-253 or 72-41-31,01-255.
Yellow segment - Fig/item 72-41-31,01-251 or 72-41-31,01-257.
Black segment - Fig/item 72-41-31,01-252 or 72-41-31,01-256.
Install the IAE 1R18581 1 off into the stage 4 VSV bush location at the No. 1 position. Make sure the pusher is correctly located on the HP compressor front case outer surface. Refer to detail A on Figure.
Install the IAE 1R18575 Bushing assembly tool 1 off, on the pusher.
Install the IAE 1R18573 Cylinder, hydraulic 1 off, on the pusher until the cylinder comes against the bush assembly tool.
Install the stage 4 VSV inner bushes.
Pre SBE 70-0052: Select the correct size of bush. Refer to Step.
SBE 70-0052: Select the correct size of bush. Refer to Step.
Put the bush of the correct dimension on the IAE 1R18578 Pusher installation tool 1 off. Refer to detail B on Figure.
Install the IAE 1R18575 Bushing assembly tool on the pusher.
Install the IAE 1R18573 Cylinder, hydraulic on the pusher until the cylinder comes against the bush assembly tool.
Install the stage 4 VSV outer bushes.
SUBTASK 72-41-30-440-123-002 Install the Stage 4 VSV Spindle Bushes using IAE 1R18581, IAE 1R18575, IAE 1R18573 and IAE 1R18578 Bush Assembly Tools, 72-41-30-990-040-001and (Pre SBE 70-0052 and SBE 70-0052)
Pre SBE 72-0402: It is not necessary to lubricate the stage 4 locations with CoMat 10-108 HIGH PERFORMANCE PENETRATING LUBRICANT WITH TEFLON (R) during this SUBTASK.
SBE 72-0402: Lubricate the stage 4 locations during these assembly operations with CoMat 10-108 HIGH PERFORMANCE PENETRATING LUBRICANT WITH TEFLON (R) as specified in TASK 72-41-30-440-011-A00, SUBTASK 72-41-30-440-208.
Install the 50 sealing washers ENGINE-HP COMPRESSOR FRONT CASES AND VANES (72-41-30, 01-200) on to the stage 4 VSV inner bushes. Make sure the sealing washers are correctly located around the inner bushes.
Install IAE 1R18494 Seal fitting tool 1 off on to the spindle of one of the stage 4 stator vanes to be installed.
Install the 50 sealing rings ENGINE-HP COMPRESSOR VARIABLE VANES (72-41-32, 03-495) on to the 50 stage 4 stator vanes ENGINE-HP COMPRESSOR VARIABLE VANES (72-41-32, 03-500). Refer to Figure.
Refer to SPM TASK 70-09-01-400-501.
Temporary mark vane sequence number on each vane before it is installed.
NOTE
Do not vibropeen.
Install the stage 4 stator vanes in the upper and lower half HP compressor front case.
Put two spacers ACTUATING MECHANISM HP COMPRESSOR VARIABLE VANES (72-41-34, 04-060) on to the spindle of each stage 4 stator vane.
The eight actuating levers ACTUATING MECHANISM HP COMPRESSOR VARIABLE VANES (72-41-34, 04-120) go at the positions 1, 2, 24, 25, 26, 27, 49 and 50.
The 42 actuating levers ACTUATING MECHANISM HP COMPRESSOR VARIABLE VANES (72-41-34, 04-100) go at the positions 3 to 23 and 28 to 48.
NOTE
The stage 4 actuating levers must be parallel with the casing center line when you torque the nuts. This is the null position.
Install the 50 stage 4 actuating levers on to the spindles of the stage 4 stator vanes.
Measure and write a record of the end float Dimension A Figure Measure between the actuating lever and the two installed spacers.
NOTE
Temporarily mark the actuating levers with their position numbers. These must be the same as the numbers on the stage 4 stator vanes.
Measure and write down the stage 4 stator vane end float.
SUBTASK 72-41-30-440-079 Install the Stage 4 Variable Stator Vanes (VSV) in the HP Compressor Front Case (Pre SBE 72-0402 and SBE 72-0402)
Pre SBE 72-0402 : It is not necessary to lubricate the stage 4 locations with CoMat 10-108 HIGH PERFORMANCE PENETRATING LUBRICANT WITH TEFLON (R) during this SUBTASK.
SBE 72-0402 : Lubricate the stage 4 locations during these assembly operations with CoMat 10-108 HIGH PERFORMANCE PENETRATING LUBRICANT WITH TEFLON (R) as specified in TASK 72-41-30-440-011-A00, SUBTASK 72-41-30-440-208.
Put the stage 4 upper actuating ring ACTUATING MECHANISM HP COMPRESSOR VARIABLE VANES (72-41-34, 04-440) in to position on the upper half HP compressor front case. Install three of IAE 1R18423 Rigging pin 6 off or IAE 1R18894 Rigging pin 6 off to attach the stage 4 upper actuating ring to the upper half HP compressor front case.
Install two spacers ACTUATING MECHANISM HP COMPRESSOR VARIABLE VANES (72-41-34, 04-060) thru ACTUATING MECHANISM HP COMPRESSOR VARIABLE VANES (72-41-34, 04-078) on to the spindle of each stage 4 stator vane at the positions 3 to 23. The thickness of the spacers that are to be installed is equal to:
Install the 21 stage 4 actuating levers ACTUATING MECHANISM HP COMPRESSOR VARIABLE VANES (72-41-34, 04-100) in to the locations in the stage 4 stator vane upper actuating ring. Engage the stage 4 actuating levers on the stage 4 stator vane spindles.
Install the 21 nuts ACTUATING MECHANISM HP COMPRESSOR VARIABLE VANES (72-41-34, 04-103) to attach the stage 4 actuating levers to the stage 4 stator vanes at positions 3 to 23.
Pre SBE 72-0385 or SBE 72-0416: Install the stage 4 upper actuating ring and the stage 4 actuating levers on to the upper half HP compressor front case.
SBE 72-0385 or SBE 72-0416: Install the stage 4 upper actuating ring and the stage 4 actuating levers on to the upper half HP compressor front case.
NOTE
Set the stage 4 upper actuating ring adjacent to the stage 4 stator vane at positions 3 to 23.Install the stage 4 lower actuating ring ACTUATING MECHANISM HP COMPRESSOR VARIABLE VANES (72-41-34, 04-540) and the stage 4 actuating levers, at the position 28 to 48 as given in Step to Step.
Install the stage 4 lower actuating ring assembly and the stage 4 actuating levers on to the lower half HP compressor front case.
SUBTASK 72-41-30-440-080 Install the Stage 4 Variable Stator Vane Actuating Rings (Pre SBE 72-0402, SBE 72-0402, Pre SBE 72-0385or SBE 72-0416 and SBE 72-0385or SBE 72-0416)
Refer to Figure.
SBE 72-0402: HP compressor variable vanes - inlet guide vane and stages 3 to 6 with optimised build and setting instructions.
SBE 72-0422: HP compressor variable inner shrouds - Introduction of revised one piece bushes
Pre SBE 72-0402 : It is not necessary to lubricate the stage 4 locations with CoMat 10-108 HIGH PERFORMANCE PENETRATING LUBRICANT WITH TEFLON (R) during this SUBTASK.
SBE 72-0402 : Lubricate the stage 4 locations during these assembly operations with CoMat 10-108 HIGH PERFORMANCE PENETRATING LUBRICANT WITH TEFLON (R) as specified in TASK 72-41-30-440-011-A00, SUBTASK 72-41-30-440-208.
Pre SBE 72-0422: Apply a thin layer of CoMat 04-007 SILICONE GREASE to the outer surfaces of the 50 half bushes ENGINE-HP COMPRESSOR VARIABLE VANE INNER SHROUDS (72-41-33, 03-190).
SBE 72-0422: Apply a thin layer of CoMat 04-007 SILICONE GREASE to the outer surfaces of the 25 bushes ENGINE-HP COMPRESSOR VARIABLE VANE INNER SHROUDS (72-41-33, 03-190).
Pre SBE 72-0422: Install the 50 half bushes in to one half of the stage 4 half shroud ENGINE-HP COMPRESSOR VARIABLE VANE INNER SHROUDS (72-41-33, 03-200).
SBE 72-0422: Install the 25 bushes onto the stage 4 stator vanes.
NOTE
Make sure the three locating pins are correctly engaged in the stage 4 half shroud.Pre SBE 72-0422: Install the stage 4 half shroud, the half bushes and the stage 4 half seal ring ENGINE-HP COMPRESSOR VARIABLE VANE INNER SHROUDS (72-41-33, 03-150) on to the stage 4 stator vanes at the inner pivot point.
NOTE
Make sure the three locating pins are correctly engaged in the stage 4 half shroud.SBE 72-0422: Install the stage 4 half shroud and the stage 4 half shroud with integral seal ENGINE-HP COMPRESSOR VARIABLE VANE INNER SHROUDS (72-41-33, 03-200) on to the stage 4 stator vanes and bushes at the inner pivot point.
Pre SBE 72-0422: Install the 12 bolts ENGINE-HP COMPRESSOR VARIABLE VANE INNER SHROUDS (72-41-33, 03-138), the 24 dee-headed washers ENGINE-HP COMPRESSOR VARIABLE VANE INNER SHROUDS (72-41-33, 03-134) and the 12 nuts ENGINE-HP COMPRESSOR VARIABLE VANE INNER SHROUDS (72-41-33, 03-130). These attach the stage 4 half shroud, the half bushes and the stage 4 half seal ring to the stage 4 stator vanes.
SBE 72-0422: Install the 12 bolts ENGINE-HP COMPRESSOR VARIABLE VANE INNER SHROUDS (72-41-33, 03-138), the 24 dee-headed washers ENGINE-HP COMPRESSOR VARIABLE VANE INNER SHROUDS (72-41-33, 03-134) and the 12 nuts ENGINE-HP COMPRESSOR VARIABLE VANE INNER SHROUDS (72-41-33, 03-130). These attach the stage 4 half shroud, the bushes and the stage 4 half shroud with integral seal to the stage 4 stator vanes.
Install the stage 4 half shrouds and half ring seal in to the upper half HP compressor front case.
SUBTASK 72-41-30-440-081 Install the Stage 4 Variable Stator Vane Half Shroud,and72-41-30-990-040-002 (Pre SBE 72-0402, SBE 72-0402, Pre SBE 72-0422 and SBE 72-0422)
Figure: Pre SBE 72-0027: View through the HP compressor front case
Sheet 1

Figure: SBE 72-0027: View through the HP compressor front case
Sheet 2

Figure: Locations for the fits and clearances
Sheet 1

Figure: Locations for the fits and clearances
Sheet 2

Figure: Install the stage 4 actuating ring centralizing pads and rigging pin brackets
Sheet 1

Figure: Install the stage 4 actuating ring centralizing pads and rigging pin brackets
Sheet 2

Figure: Install the stage 4 actuating ring centralizing pads and rigging pin brackets
Sheet 3

Figure: Details of the air gage unit
Sheet 1

Figure: Details of the air gage unit
Sheet 2

Figure: Details of the air plug gage and setting ring
Details of the air plug gage and setting ring

Figure: Install the stage 4 VSV spindle bushes
Sheet 1

Figure: Install the stage 4 stator vane spindle bushes
Sheet 2

Figure: Install the seals on the stator vane spindles
Install the seals on the stator vane spindles

Figure: Locations for the stage 4 variable stator vanes
Locations for the stage 4 variable stator vanes

Figure: Install the stage 4 variable stator vanes
Install the stage 4 variable stator vanes

Figure: Install the stage 4 variable stator vanes
Install the stage 4 variable stator vanes

Figure: Measure the stage 4 variable stator vane end float
Measure the stage 4 variable stator vane end float

