Export Control
EAR Export Classification: Not subject to the EAR per 15 C.F.R. Chapter 1, Part 734.3(b)(3), except for the following Service Bulletins which are currently published as EAR Export Classification 9E991: SBE70-0992, SBE72-0483, SBE72-0580, SBE72-0588, SBE72-0640, SBE73-0209, SBE80-0024 and SBE80-0025.Copyright
© IAE International Aero Engines AG (2001, 2014 - 2021) The information contained in this document is the property of © IAE International Aero Engines AG and may not be copied or used for any purpose other than that for which it is supplied without the express written authority of © IAE International Aero Engines AG. (This does not preclude use by engine and aircraft operators for normal instructional, maintenance or overhaul purposes.).Applicability
V2500-A1
Common Information
TASK 72-00-32-020-005-A00 LPC/Intermediate Case Module - Remove The Case Brackets And Bifurcation Panel, Removal-005
General
Refer to the TASKs which follow for the other related procedures.
TASK 72-00-32-020-001-A00 (REMOVAL-001, CONFIG-001) Remove the hydraulic tubes, the thermal anti-ice (TAI) duct, the pneumatic starter duct and the EEC cooling ducts from the LP compressor/intermediate case module
TASK 72-00-32-020-002-A00 (REMOVAL-002, CONFIG-001) Remove the LP compressor/intermediate case electrical harnesses
TASK 72-00-32-020-003-A00 (REMOVAL-003, CONFIG-001) Remove the LP compressor/intermediate case tubes and the electrical harness raceways
TASK 72-00-32-020-004 (REMOVAL-004) Remove the LP compressor/intermediate case components
Fig/item numbers in parentheses in the procedure agree with those used in the IPC. Only the primary Fig/item numbers are used. For the service bulletin alpha variants refer to the IPC.
For all the parts identified in a different Chapter/Section/Subject, the applicable Chapter/Section/Subject comes before the Fig/item number.
Apply the approved penetrating oil before the removal of threaded parts and parts with an interference fit. Let the parts soak before removal. For the approved oils and procedures, refer to the SPM TASK 70-64-00-640-501.
The number for each radial location must be identified in a clockwise direction. These start at the engine top position when you look from the rear of the engine, unless stated differently in the procedure.
Refer to Figure for details of the module flanges given in this procedure.
NOTE
Preliminary Requirements
Pre-Conditions
NONESupport Equipment
| Name | Manufacturer | Part Number / Identification | Quantity | Remark |
|---|---|---|---|---|
| ACR Torq-Set bit 212-10-ACR | LOCAL | Torq Set | ||
| ACR Torq-Set bit 212-1/4-ACR | LOCAL | Torq-Set |
Consumables, Materials and Expendables
NONESpares
NONESafety Requirements
NONEProcedure
Remove the two bolts which attach the bracket ICE AND RAIN PROTECTION-ANTI-ICE DUCTS (30-21-49, 01-200) to the raft.
Remove the two bolts which attach the raft to the bracket BRACKETS & RACEWAYS-HARNESS SUPPORT-FAN (71-51-50, 01-880).
Remove the brackets at A.
Remove the four screws and the four nuts which attach the two brackets at the holes 6, 8 and 19, 20 with the ACR Torq-Set bit 212-1/4-ACR 1 off.
Remove the brackets at B and F.
Remove the four screws and the four nuts which attach the two brackets at the holes 10, 11 and 13, 14 with the ACR Torq-Set bit 212-1/4-ACR 1 off.
Remove the brackets at C and D.
Remove the two screws and the two nuts which attach the bracket at the holes 22 and 23 with the ACR Torq-Set bit 212-1/4-ACR 1 off.
Remove the bracket at G.
Pre SBE 71-0070: Remove the two bolts which attach the bracket ELECT HARNESS-LIGHT DUTY-EEC/IGN SUPPLY HARNESS (71-51-42, 05-810) to the raft.
Remove the two bolts which attach the bracket POWER PLANT-ELECTRICAL HARNESS-EEC HARNESS-FAN (71-51-41, 05-940) to the raft.
Remove the two bolts which attach the raft to the bracket ELECT HARNESS-LIGHT DUTY-EEC/IGN SUPPLY HARNESS (71-51-42, 05-780).
Remove the brackets at E.
Remove the bracket AIR-STAGE 10 AIR SOLENOID VALVE (75-23-52, 01-500). Refer to SUBTASK 72-00-32-020-129, the detail on G.
Remove the two bolts and the two nuts which attach the raft AIR-STAGE 10 AIR SOLENOID VALVE (75-23-52, 01-600) at the holes 51 and 52 on the flange FA1.
Remove the brackets at I.
Remove the two bolts which attach the raft to the bracket ELECT HARNESS-LIGHT DUTY-GEN SERVICES HARNESS (71-51-43, 05-930).
Remove the brackets at L.
Remove the brackets at N.
Pre SBE 71-0110.
Refer to Figure.
Remove the brackets at N.
SBE 71-0110: Provide rerouted oil tubes for the ACOC and the oil tank assembly.
Refer to Figure.
Remove the two bolts which attach the raft to the attachment angle OIL-SCAVENGE OIL TUBES-ENGINE (79-22-49, 14-880).
Remove the brackets at O.
SUBTASK 72-00-32-020-127 Remove the Brackets at the Flange FA
Remove the three bolts, the three washers and the three nuts which attach the attachment angle and the bracket at the holes 43 to 45 on the flange FB.
SBE 75-0010: Remove the two bolts, the two washers and the two nuts that attach the attachment angle and the bracket at the holes 43 and 45 on the flange FB.
SBE 79-0020: Remove the two bolts, the two washers and the two nuts that attach the bonding lead, the attachment angle and the bracket at the holes 43 and 45 on the flange FB.
Remove the brackets at U.
SUBTASK 72-00-32-020-128 Remove the Brackets at the Flange FA1
Remove the four bolts which attach the two brackets POWER PLANT-RELAY BOX (71-51-49, 01-330) and POWER PLANT-RELAY BOX (71-51-49, 01-390) to the relay box mounting bracket.
Remove the two bolts and the two clipnuts which attach the relay box mounting bracket to the bracket POWER PLANT-RELAY BOX (71-51-49, 01-310).
Remove the three bolts and the three nuts which attach the bracket POWER PLANT-RELAY BOX (71-51-49, 01-380) (at the hole 19) and the relay box mounting bracket on the flange FB.
Temporarily install a bolt and a nut (removed in the previous step) to hold the bracket ENGINE FUEL AND CONTROL-FUEL SYSTEM AIR TUBES (73-22-49, 03-800) to the flange FB. Tighten the nut.
Remove the two bolts and the two nuts which attach the bracket POWER PLANT-RELAY BOX (71-51-49, 01-310) to the flange FA1.
Remove the brackets at F.
Remove the bolt and the nut which attaches the bracket ENGINE FUEL AND CONTROL-FUEL SYSTEM AIR TUBES (73-22-49, 03-470) and the solenoid mounting bracket AIR-HPC STAGE 7 SOLENOID VALVE (75-32-51, 01-160) to the flange FB at the hole 23. Remove the bracket.
Remove the two bolts and the two clipnuts which attach the solenoid mounting bracket AIR-HPC STAGE 7 SOLENOID VALVE (75-32-51, 01-160) to the solenoid angle bracket AIR-HPC STAGE 7 SOLENOID VALVE (75-32-51, 01-140).
Remove the three bolts and the three nuts which attach the bracket AIR-TURBINE COOLING CONTROLLED AIR TUBES (75-23-48, 01-470), the bracket OIL-AIR COOLED OIL COOLER MODULATING VALVE (79-21-51, 01-550) and the solenoid mounting bracket to the flange FB. Remove the three brackets.
Pre SBE 75-0047: Remove the two bolts and the two nuts which attach the two brackets AIR-HPC STAGE 7 SOLENOID VALVE (75-32-51, 01-150) to the solenoid mounting bracket AIR-HPC STAGE 7 SOLENOID VALVE (75-32-51, 01-160).
Remove the two bolts and the two nuts which attach the solenoid angle bracket AIR-HPC STAGE 7 SOLENOID VALVE (75-32-51, 01-140) at the holes 43 and 46 on the flange FA1.
Remove the bolt which attaches the bracket AIR-STAGE 10 AIR SOLENOID VALVE (75-23-52, 01-500) to the raft AIR-STAGE 10 AIR SOLENOID VALVE (75-23-52, 01-600).
Remove the three bolts and the three nuts which attach the bracket AIR-STAGE 10 AIR SOLENOID VALVE (75-23-52, 01-500) and the bracket OIL-AIR COOLED OIL COOLER MODULATING VALVE (79-21-51, 01-630) to the flange FB. Remove the two brackets.
Remove the two bolts and the two nuts which attach the bracket OIL-AIR COOLED OIL COOLER MODULATING VALVE (79-21-51, 01-710) at the holes 31 and 32.
Remove the brackets at G.
Remove the two bolts, the washer and the two nuts which attach the bracket and the bonding strap at the holes 41 and 42. Refer to the detail on G2.
SBE 79-0020: Remove the two bolts and the two nuts which attach the bracket at the holes 41 and 42. Refer to the detail on G2.
Remove the brackets at G1 and G2.
SUBTASK 72-00-32-020-129-A00 Remove the Brackets at the Flange FB (Pre SBE 70-0152 and Pre SBE 75-0047)
Remove the four bolts which attach the two brackets POWER PLANT-RELAY BOX (71-51-49, 01-330) and POWER PLANT-RELAY BOX (71-51-49, 01-390) to the relay box mounting bracket.
Remove the two bolts and the two clipnuts which attach the relay box mounting bracket to the bracket POWER PLANT-RELAY BOX (71-51-49, 01-310).
Remove the three bolts and the three nuts which attach the bracket POWER PLANT-RELAY BOX (71-51-49, 01-380) (at the hole 19) and the relay box mounting bracket on the flange FB.
Temporarily install a bolt and a nut (removed in the previous step) to hold the bracket ENGINE FUEL AND CONTROL-FUEL SYSTEM AIR TUBES (73-22-49, 03-800) to the flange FB. Tighten the nut.
Remove the two bolts and the two nuts which attach the bracket POWER PLANT-RELAY BOX (71-51-49, 01-310) to the flange FA1.
Remove the brackets at F.
Remove the bolt and the nut which attaches the bracket ENGINE FUEL AND CONTROL-FUEL SYSTEM AIR TUBES(73-22-49,03-470) and the solenoid mounting bracket V2500-A5-72-32-51-01A-941A-D (73-32-51, 01-160) to the flange FB at the hole 23. Remove the bracket.
Remove the two bolts and the two clipnuts which attach the solenoid mounting bracket AIR-HPC STAGE 7 SOLENOID VALVE (75-32-51, 01-160) to the solenoid angle bracket AIR-HPC STAGE 7 SOLENOID VALVE (75-32-51, 01-140).
Remove the three bolts and the three nuts which attach the bracket AIR-TURBINE COOLING CONTROLLED AIR TUBES (75-23-48, 01-470), the bracket OIL-AIR COOLED OIL COOLER MODULATING VALVE (79-21-51, 01-550) and the solenoid mounting bracket to the flange FB. Remove the three brackets.
Pre SBE 75-0047: Remove the two bolts and the two nuts which attach the two brackets AIR-HPC STAGE 7 SOLENOID VALVE (75-32-51, 01-150) to the solenoid mounting bracket AIR-HPC STAGE 7 SOLENOID VALVE (75-32-51, 01-160).
Remove the two bolts and the two nuts which attach the solenoid angle bracket AIR-HPC STAGE 7 SOLENOID VALVE (75-32-51, 01-140) at the holes 43 and 46 on the flange FA1.
Remove the bolt which attaches the bracket AIR-STAGE 10 AIR SOLENOID VALVE (75-23-52, 01-500) to the raft AIR-HPC STAGE 7 SOLENOID VALVE (75-32-51, 01-600).
Remove the three bolts and the three nuts which attach the bracket AIR-STAGE 10 AIR SOLENOID VALVE (75-23-52, 01-500) and the bracket OIL-AIR COOLED OIL COOLER MODULATING VALVE (79-21-51, 01-630) to the flange FB. Remove the brackets.
Remove the two bolts and the two nuts which attach the bracket OIL-AIR COOLED OIL COOLER MODULATING VALVE (79-21-51, 01-170) at the holes 31 and 32.
Remove the brackets at G.
Remove the two bolts, the washer and the two nuts which attach the bracket and the bonding strap at the holes 41 and 42. Refer to the detail on G2.
SBE 72-0020: Remove the two bolts and the two nuts which attach the bracket at the holes 41 and 42. Refer to the detail on G2.
Remove the brackets at G1 and G2.
SUBTASK 72-00-32-020-129-B00 Remove the Bracket at the Flange FB (Pre SBE 75-0047 and SBE 70-0152)
SBE 70-0152: Allow use of EEC bracket shims as required
Remove the two bolts and the two nuts which attach the bracket ENGINE FUEL AND CONTROL-FUEL SYSTEM AIR TUBES (73-22-49, 03-800) and the bracket POWER PLANT-ELECTRICAL HARNESS-EEC HARNESS-FAN (71-51-41, 05-820) at the holes 20 and 21. Remove the bracket POWER PLANT-ELECTRICAL HARNESS-EEC HARNESS-FAN (71-51-41, 05-820).
Remove the bolt and the nut which attaches the bracket ENGINE FUEL AND CONTROL-FUEL SYSTEM AIR TUBES (73-22-49, 03-800) to the flange FB (this bolt and nut was temporarily installed in Step or Step). Remove the bracket.
Remove the two bolts and the two nuts which attach the bracket OIL-SCAVENGE OIL TUBES-ENGINE (79-22-49, 10-070) at the holes 23 and 24.
Pre SBE 73-0140: Remove the three bolts and the three clipnuts which attach the bracket ENGINE FUEL AND CONTROL-FUEL SYSTEM AIR TUBES (73-22-49, 03-790) and ENGINE FUEL AND CONTROL-FUEL SYSTEM AIR TUBES (73-22-49, 03-800) to the bracket POWER PLANT-RELAY BOX (71-51-49, 01-370). Refer to Figure. the detail on F.
SBE 73-0140: Remove the two bolts, two washers and the two nuts which attach the bracket ENGINE FUEL AND CONTROL-FUEL SYSTEM AIR TUBES (73-22-49, 03-790) to the bracket POWER PLANT-RELAY BOX (71-51-49, 01-370). Refer to Figure. the detail on F.
Remove the two bolts, two washers and two nuts which attach the bracket ENGINE FUEL AND CONTROL-FUEL SYSTEM AIR TUBES (73-22-49, 03-800) to the bracket POWER PLANT-RELAY BOX (71-51-49, 01-370).
Remove the brackets at E.
SUBTASK 72-00-32-020-130 Remove the Brackets at the Flange FC (SBE 73-0140)
SBE 73-0140: Engine fuel and control - Fuel system air tubes - Introduction of revised EEC pipe-support bracket
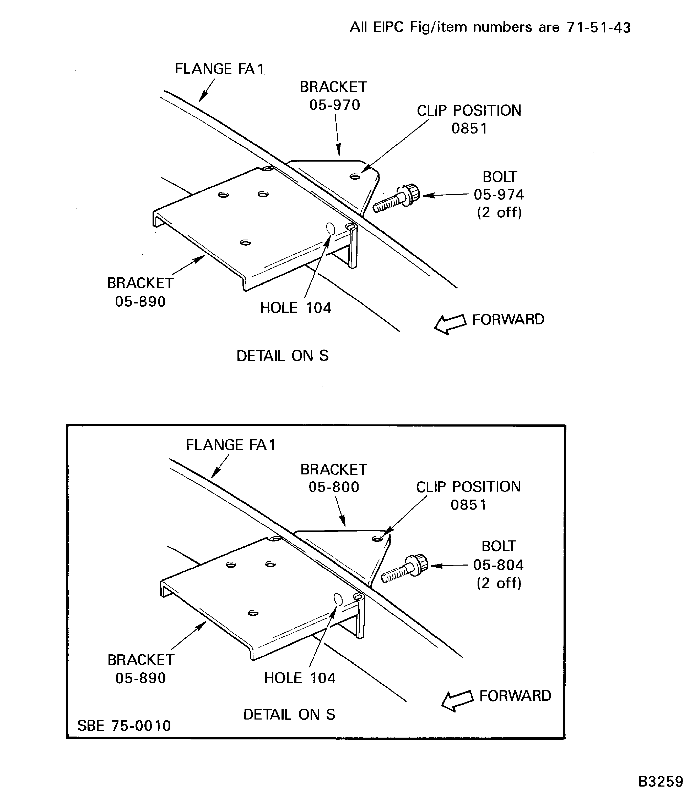
SUBTASK 72-00-32-020-141-A00 Remove the Bracket at K at the Flange FC (Pre SBE 75-0010)
SUBTASK 72-00-32-020-141-B00 Remove the Brackets at K at the Flange FC (SBE 75-0010)
SBE 75-0010: Dedicated alternator - Cooling air supply
SUBTASK 72-00-32-020-131-A00 Remove the Brackets at the Flange FD (Pre SBE 71-0119)
Remove the four bolts and the four nuts which attach the two brackets at the holes 23, 24 and 26, 27. Refer to Figure the detail on C.
Remove the brackets at C.
Remove the two bolts and the two nuts which attach the bracket at the holes 102 and 103. Refer to Figure the detail on D.
Remove the bracket at D.
Remove the two bolts and the two nuts which attach the bracket at the holes 30 and 31. Refer to Figure.t the detail on J.
Remove the bracket at J.
SUBTASK 72-00-32-020-131-B00 Remove the Brackets at the Flange FD (SBE 71-0119)
SBE 71-0119: Engine - Power Plant - Introduce revised EEC harness clipping to provide sufficient clearance between harness and flange FD in area adjacent to EEC
SUBTASK 72-00-32-020-142 Remove the Bracket at E at the Flange FD (SBE 71-0060)
SBE 71-0060: EEC harness support bracket at flange FD
SUBTASK 72-00-32-020-143 Remove the Brackets at F, G and H at the Flange FD (SBE 75-0010)
SBE 75-0010: Dedicated alternator - Cooling air supply
Pre SBE 79-0087 and SBE 79-0087: Remove the two bolts and the two nuts which attach the bracket at the holes 51 and 52. Refer to the detail on G.
Pre SBE 73-0040: Remove the two bolts and the two nuts which attach the bracket at the holes 67 and 68. Refer to the detail on K.
SBE 73-0040: Remove the two bolts, the four washers and the two nuts that attach the two brackets at the holes 67 and 68. Refer to the detail on K.
SBE 73-0040: Remove the two bolts, the two washers and the two nuts that attach the bracket at the holes 63 and 64. Refer to the detail on 1I.
Remove the brackets at G to K.
SUBTASK 72-00-32-020-132 Remove the Brackets at the Flange FE (Pre SBE 79-0087 and SBE 79-0087)
SBE 79-0087: Oil - Scavenge oil tubes - Re-route of No. 4 bearing scavenge tube
SUBTASK 72-00-32-020-144 Remove the Bracket at N at the Flange FE (SBE 75-0010)
SBE 75-0010: Dedicated alternator - Cooling air supply
Refer to Figure.
Pre SBE 72-0435: Remove two of the three bolts, washers and nuts which attach the open latch indicator to the No.6 strut fairing panel/panel support bracket (at the bottom position). Remove the open latch indicator and the two shims.
SBE 72-0435: There are only two bolts, washers and nuts which attach the open latch indicator to the No. 6 strut fairing panel/panel support bracket (at the bottom position).
SUBTASK 72-00-32-020-134 Remove the Open Latch Indicator (Pre SBE 72-0435 and SBE 72-0435)
Refer to Figure.
Pre SBE 79-0087: Remove the two bolts ENGINE-BIFURCATION PANEL AND SERVICES DISCONNECT (72-38-25, 01-310) and the two washers ENGINE-BIFURCATION PANEL AND SERVICES DISCONNECT (72-38-25, 01-312) which attach the bifurcation panel to the No. 6 strut fairing panel. Remove the bifurcation panel.
SBE 79-0087: Remove the two bolts ENGINE-BIFURCATION PANEL AND SERVICES DISCONNECT (72-38-25, 01-310) which attach the bifurcation panel and the bracket ENGINE-BIFURCATION PANEL AND SERVICES DISCONNECT (72-38-25, 01-270) to the No. 6 strut fairing panel. Remove the bifurcation panel.
SUBTASK 72-00-32-020-135 Remove the Bifurcation Panel (Pre SBE 79-0087 and SBE 79-0087)
SBE 79-0087: Oil - Scavenge oil tubes - Re-route of No. 4 bearing scavenge tube
Refer to Figure.
Remove the two screws and nuts which attach the air inlet fitting and the bracket to the module with the ACR Torq-Set bit 212-10-ACR1 off. Remove and discard the sealing ring.
Remove the lower air inlet fitting.
SUBTASK 72-00-32-020-137 Remove the Ignition Exciter Cooling Air Inlet Fittings
Remove the forward mount support. Refer to TASK 71-21-11-020-001 (REMOVAL).
SUBTASK 72-00-32-020-136 Remove the Forward Mount Support
Figure: The LP Compressor/Intermediate Case Module Flanges
The LP Compressor/Intermediate Case Module Flanges

Figure: Remove the Brackets at the Flange FA
Sheet 1

Figure: Remove the Brackets at the Flange FA
Sheet 2

Figure: Remove the Brackets at the Flange FA
Sheet 3

Figure: Pre SBE 71-0070: Remove the Brackets at the Flange FA
Sheet 4

Figure: SBE 71-0070: Remove the Brackets at the Flange FA
Sheet 5

Figure: Remove the Brackets at the Flange FA
Sheet 6

Figure: Remove the Brackets at the Flange FA
Sheet 7

Figure: Remove the Brackets at the Flange FA
Sheet 8

Figure: Remove the Brackets at the Flange FA Pre SBE 71-0110
Sheet 9

Figure: Remove the Brackets at the Flange FA SBE 71-0110
Sheet 10

Figure: Remove the Brackets at the Flange FA
Sheet 11

Figure: Remove the Brackets at the Flange FA
Sheet 12

Figure: Remove the Brackets at the Flange FA1
Sheet 1

Figure: Remove the Brackets at the Flange FA1
Sheet 2

Figure: Remove the Brackets at the Flange FA1
Sheet 3

Figure: Remove the Brackets at the Flange FA1
Sheet 4

Figure: Remove the Brackets at the Flange FA1
Sheet 5

Figure: Remove the Brackets at the Flange FA1
Sheet 6

Figure: Remove the Brackets at the Flange FA1
Sheet 7

Figure: Remove the Brackets at the Flange FA1
Sheet 8

Figure: Remove the Brackets at the Flange FA1
Sheet 9

Figure: Remove the Brackets at the Flange FA1
Sheet 10

Figure: Remove the Brackets at the Flange FA1
Sheet 11

Figure: Remove the Brackets at the Flange FA1
Sheet 12

Figure: Remove the Brackets at the Flange FA1
Sheet 13

Figure: Remove the Brackets at the Flange FA1
Sheet 14

Figure: Remove the Brackets at the Flange FB
Sheet 1

Figure: Remove the Brackets at the Flange FB
Sheet 2

Figure: Remove the Brackets at the Flange FB
Sheet 3

Figure: Remove the Brackets at the Flange FB
Sheet 4

Figure: Remove the Brackets at the Flange FB
Sheet 5

Figure: Pre SBE 75-0036 and Pre SBE 75-0047: Remove the Brackets at the Flange FB
Sheet 6

Figure: SBE 75-0036 and Pre SBE 75-0047: Remove the Brackets at the Flange FB
Sheet 7

Figure: SBE 75-0047: Remove the Brackets at the Flange FB
Sheet 8

Figure: Pre SBE 75-0003: Remove the Brackets at the Flange FB
Sheet 9

Figure: SBE 75-003: Remove the Brackets at the Flange FB
Sheet 10

Figure: Remove the Brackets at the Flange FB
Sheet 11

Figure: Remove the Brackets at the Flange FB
Sheet 12

Figure: Remove the Brackets at the Flange FB
Sheet 13

Figure: Remove the Brackets at the Flange FC
Sheet 1

Figure: Remove the Brackets at the Flange FC
Sheet 2

Figure: Remove the Brackets at the Flange FC
Sheet 3

Figure: Remove the Brackets at the Flange FC
Sheet 4

Figure: Remove the Brackets at the Flange FC
Sheet 5

Figure: Remove the Brackets at the Flange FD
Sheet 1

Figure: Remove the Brackets at the Flange FD
Sheet 2

Figure: Remove the Brackets at the Flange FD
Sheet 3

Figure: Remove the Brackets at the Flange FD
Sheet 4

Figure: Remove the Brackets at the Flange FD
Sheet 5

Figure: SBE 71-0060: Remove the Brackets at the Flange FD
SBE 71-0060: Remove the Brackets at the Flange FD

Figure: SBE 75-0010: Remove the Brackets at the Flange FD
Sheet 1

Figure: SBE 75-0010: Remove the Brackets at the Flange FD
Sheet 2

Figure: Remove the Brackets at the Flange FE
Sheet 1

Figure: Remove the Brackets at the Flange FE
Sheet 2

Figure: Remove the Brackets at the Flange FE
Sheet 3

Figure: Remove the Brackets at the Flange FE
Sheet 4

Figure: Remove the Brackets at the Flange FE
Sheet 5

Figure: Remove the Brackets at the Flange FE
Sheet 6

Figure: Pre SBE 73-0040: Remove the Brackets at the Flange FE
Sheet 7

Figure: SBE 73-0040: Remove the Brackets at the Flange FE
Sheet 8

Figure: SBE 75-0010: Remove the Brackets at the Flange FE
SBE 75-0010: Remove the Brackets at the Flange FE

Figure: Remove the Thrust Reverser Forward Hold Open Brackets
Remove the Thrust Reverser Forward Hold Open Brackets

Figure: Remove the Open Latch Indicator
Remove the Open Latch Indicator

Figure: Remove the Bifurcation Panel
Remove the Bifurcation Panel

Figure: Remove the Ignition Exciter Cooling Air Inlet Fittings
Remove the Ignition Exciter Cooling Air Inlet Fittings

