Export Control
EAR Export Classification: Not subject to the EAR per 15 C.F.R. Chapter 1, Part 734.3(b)(3), except for the following Service Bulletins which are currently published as EAR Export Classification 9E991: SBE70-0992, SBE72-0483, SBE72-0580, SBE72-0588, SBE72-0640, SBE73-0209, SBE80-0024 and SBE80-0025.Copyright
© IAE International Aero Engines AG (2001, 2014 - 2021) The information contained in this document is the property of © IAE International Aero Engines AG and may not be copied or used for any purpose other than that for which it is supplied without the express written authority of © IAE International Aero Engines AG. (This does not preclude use by engine and aircraft operators for normal instructional, maintenance or overhaul purposes.).Applicability
V2500-A5
Common Information
TASK 72-00-32-420-001-B00 LPC/Intermediate Case Module - Install The Case Brackets And The Bifurcation Panel, Installation-001
General
Refer to the TASKs which follow for the other related procedures.
TASK 72-00-32-420-002 (INSTALLATION-002) - Install the LP compressor/intermediate case components.
TASK 72-00-32-420-003-B00 (INSTALLATION-003, CONFIG-002) - Install the LP compressor/intermediate case tubes and the electrical harness raceways.
TASK 72-00-32-420-004-B00 (INSTALLATION-004, CONFIG-002) - Install the LP compressor/intermediate case electrical harnesses.
TASK 72-00-32-420-005-B00 (INSTALLATION-005, CONFIG-002) - Install the hydraulic tubes, the thermal anti-ice (TAI) duct, the pneumatic starter duct and the EEC cooling ducts to the LP compressor/intermediate case module.
Fig./item numbers in parentheses in the procedure agree with those used in the EIPC. Only the primary Fig./item numbers are used. For the Service Bulletin alpha variants refer to the EIPC.
For all parts identified in a different Chapter/Section/Subject, the applicable Chapter/Section/Subject comes before the Fig./item number.
Lubricate all threads and abutment faces of nuts and bolts with CoMat 10-077 APPROVED ENGINE OILS unless other lubricants are referred to in the procedure.
For the torque tightening procedures, refer to the SPM TASK 70-41-00-400-501 and SPM TASK 70-41-01-400-501.
After assembly apply CoMat 07-038 AIR DRYING ENAMEL to any damaged surface protection, joint flanges and attach parts. Use the correct color of the air drying enamel. Refer to the SPM TASK 70-38-21-380-501.
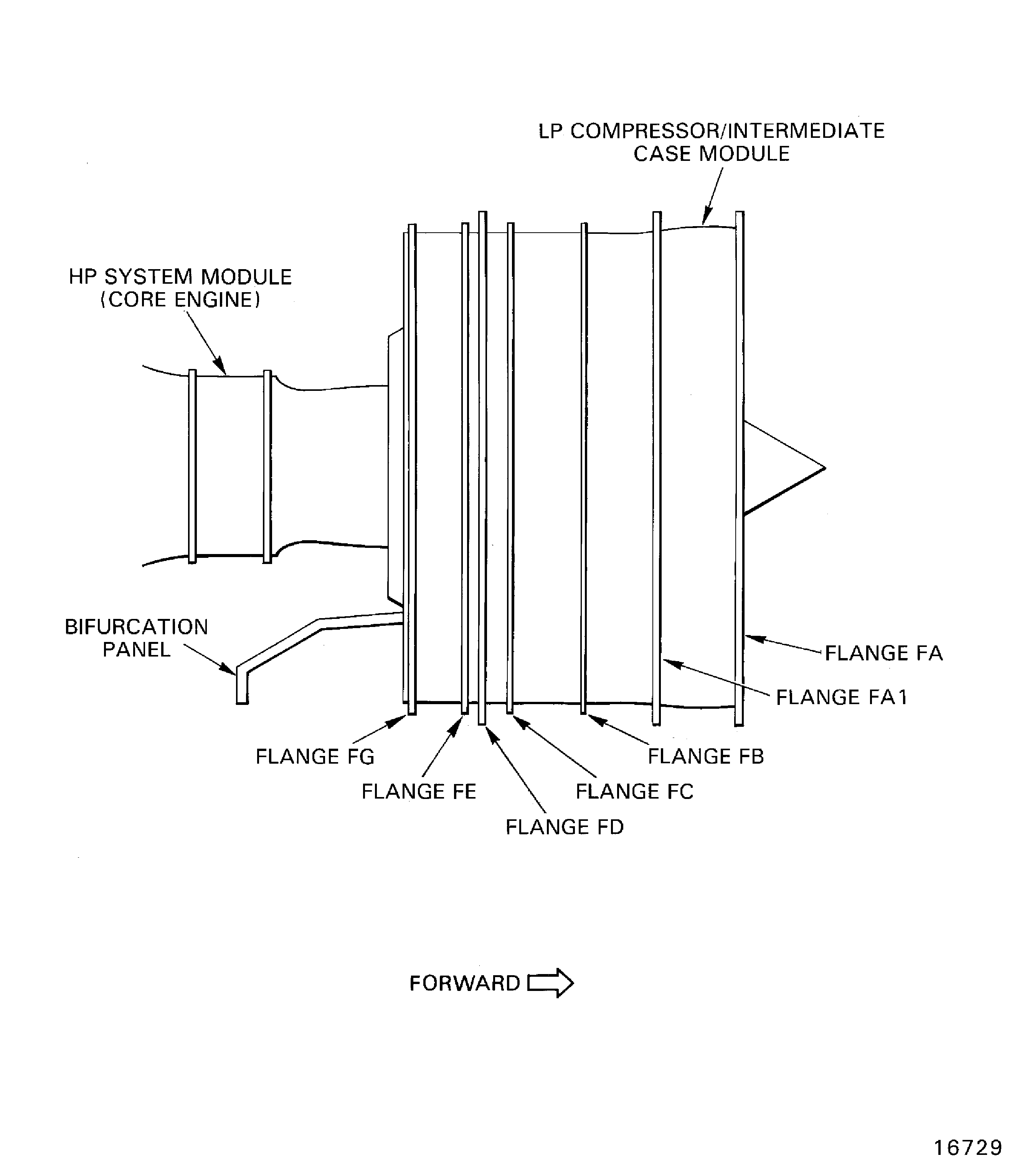
The number for each radial location must be identified in a clockwise direction. These start at the engine top position when you look from the rear of the engine, unless stated differently in the procedure.
Refer to Figure for details of the module flanges given in this procedure.
Refer to the applicable Figure for each raft or bracket clip position.
NOTE
Preliminary Requirements
Pre-Conditions
NONESupport Equipment
| Name | Manufacturer | Part Number / Identification | Quantity | Remark |
|---|---|---|---|---|
| ACR Torq-Set bit 212-10-ACR | LOCAL | Torq Set | ||
| ACR Torq-Set bit 212-1/4-ACR | LOCAL | Torq-Set |
Consumables, Materials and Expendables
| Name | Manufacturer | Part Number / Identification | Quantity | Remark |
|---|---|---|---|---|
| CoMat 01-002 SOLVENT, DELETED. | 0AM53 | CoMat 01-002 | ||
| CoMat 01-076 METHYL ETHYL KETONE | LOCAL | CoMat 01-076 | ||
| CoMat 07-038 AIR DRYING ENAMEL | K3504 | CoMat 07-038 | ||
| CoMat 07-066 THINNER | 0AM53 | CoMat 07-066 | ||
| CoMat 07-067 PRIMER CONVERTER | 0AM53 | CoMat 07-067 | ||
| CoMat 08-029 PRIMER BASE | 0AM53 | CoMat 08-029 | ||
| CoMat 10-077 APPROVED ENGINE OILS | LOCAL | CoMat 10-077 | ||
| CoMat 10-072 ANTISEIZE COMPOUND (MoDISULFIDE) | K6835 | CoMat 10-072 | ||
| CoMat 10-073 SYNTHETIC GREASE, MoDISULFIDE | 0AM53 | CoMat 10-073 |
Safety Requirements
NONEProcedure
Refer to Figure.
SUBTASK 72-00-32-220-081 Identify the LP Compressor/Intermediate Case Module
Install the forward mount support. Refer to TASK 71-21-11-420-001 (INSTALLATION).
SUBTASK 72-00-32-420-169 Install the Forward Mount Support
Refer to Figure.
Install a new Igntion Exciter Cooling Air Tubes And Hoses (75-27-49, 01-095) sealing ring 1 off on the air inlet fitting.
Install the air inlet fitting and the bracket Igntion Exciter Cooling Air Tubes And Hoses (75-27-49, 01-050) on the LP compressor/intermediate case with the two screws and the two nuts Igntion Exciter Cooling Air Tubes And Hoses (75-27-49, 01-115) and Igntion Exciter Cooling Air Tubes And Hoses (75-27-49, 01-110).
Hold the two screws with the ACR Torq-Set bit 212-10-ACR 1 off and torque the two nuts to 36 to 45 lbf.in. (4 to 5 Nm).
Install the top air inlet fitting Igntion Exciter Cooling Air Tubes And Hoses (75-27-49, 01-200).
Install a new Igntion Exciter Cooling Air Tubes And Hoses (75-27-49, 01-495) sealing ring 1 off on the air inlet fitting.
Install the air inlet fitting and the bracket Igntion Exciter Cooling Air Tubes And Hoses (75-27-49, 01-450) on the LP compressor/intermediate case with the two screws and the two nuts Igntion Exciter Cooling Air Tubes And Hoses (75-27-49, 01-515) and Igntion Exciter Cooling Air Tubes And Hoses (75-27-49, 01-510).
Hold the two screws with theACR Torq-Set bit 212-10-ACR and torque the two nuts to 36 to 45 lbf.in (4 to 5 Nm).
Install the lower air inlet fitting Igntion Exciter Cooling Air Tubes And Hoses (75-27-49, 01-600).
SUBTASK 72-00-32-420-170 Install the Ignition Exciter Cooling Air Inlet Fittings
Refer to Figure.

WARNING
WHEN YOU USE COMAT 01-002 INHIBITED AND STABILIZED TRICHLOROETHANE YOU MUST USE THE NECESSARY PROTECTIVE CLOTHING. DO NOT GET THE SOLVENT ON YOUR SKIN OR IN YOUR EYES. YOU MUST NOT SMOKE WHEN YOU USE THE SOLVENT AS THE VAPOR CHANGES AND BECOMES TOXIC.Clean the mating surfaces of the bifurcation panel Bifurcation Panel Assembly (72-38-25, 01-300) and the No. 6 strut fairing panel with a clean cloth made moist with CoMat 01-002 SOLVENT, DELETED..
Pre SBE 79-0088: Install the bifurcation panel to the No. 6 strut fairing panel with the two bolts and the two washers Bifurcation Panel Assembly (72-38-25, 01-310) and Bifurcation Panel Assembly (72-38-25, 01-312). Torque the bolts to 85 to 105 lbf.in (10 to 12 Nm).
SBE 79-0088: Install the bifurcation panel and the bracket V2500-A5-72-38-25-10A-941A-D (72-38-25, 10-270) to the No. 6 strut fairing panel with the two bolts Bifurcation Panel Assembly (72-38-25, 01-310). Torque the bolts to 85 to 105 lbf.in (10 to 12 Nm).
SUBTASK 72-00-32-420-171 Install the Bifurcation Panel (Pre SBE 79-0088 and SBE 79-0088)
SBE 79-0088: Oil - Scavenge oil tubes - Re-route of No. 4 bearing scavenge tube
Refer to Figure.
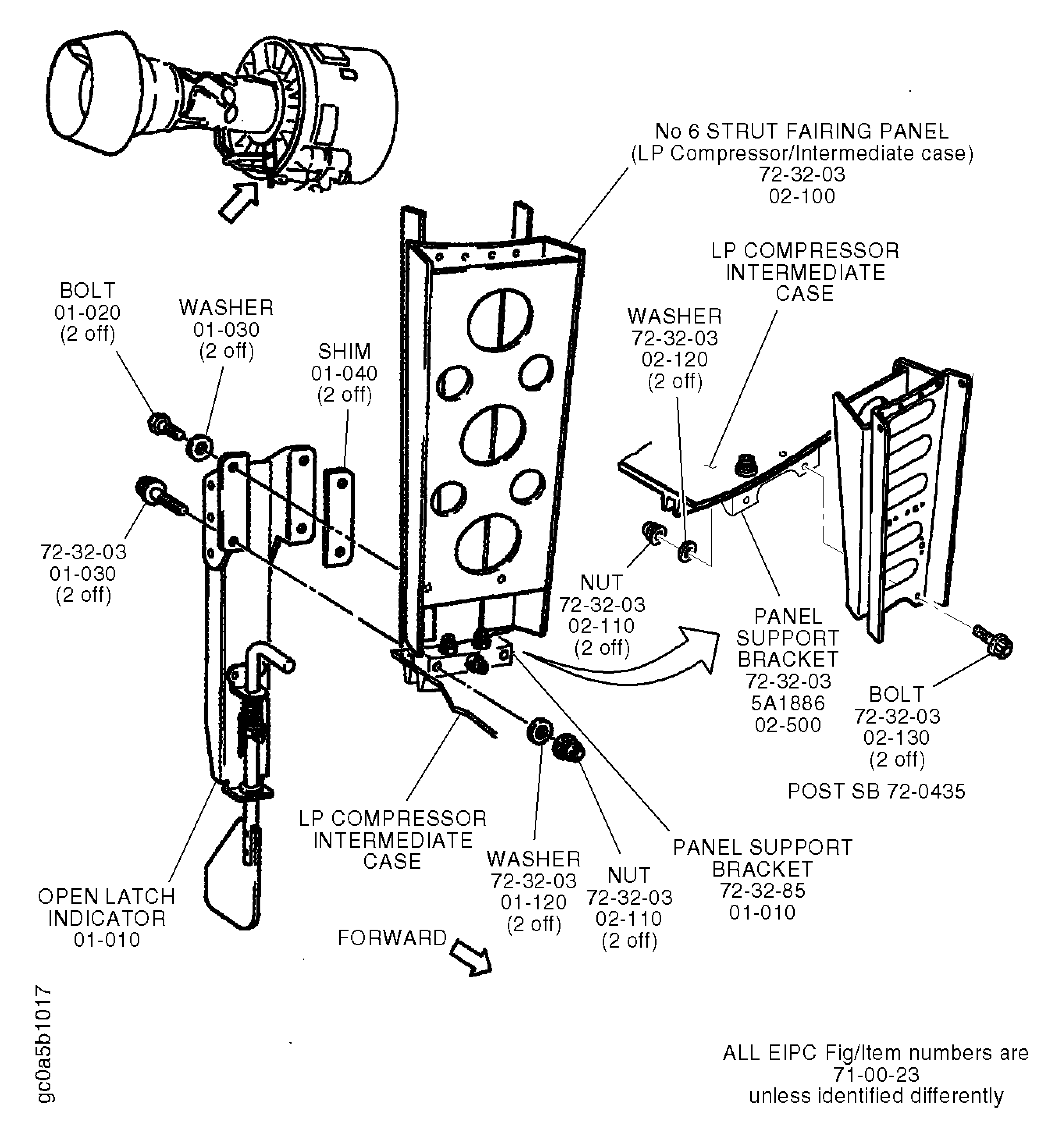
Pre SBE 72-0435: Remove the outer two of the three bolts, washers and nuts Fan Frame Assembly And Related Parts (72-32-03, 02-130), Fan Frame Assembly And Related Parts (72-32-03, 02-120) and Fan Frame Assembly And Related Parts (72-32-03, 02-110) which attach the No. 6 strut fairing panel Fan Frame Assembly And Related Parts (72-32-03, 02-100) to the panel support bracket on the LP compressor intermediate case. It is not necessary to remove the center bolt/washer/nut.
SBE 72-0435: There are only two bolts, washers and nuts Fan Frame Assembly And Related Parts (72-32-03, 02-130), Fan Frame Assembly And Related Parts (72-32-03, 02-120) and Fan Frame Assembly And Related Parts (72-32-03, 02-110) which attach the No. 6 strut fairing panel Fan Frame Assembly And Related Parts (72-32-03, 02-100) to the panel support bracket on the LP compressor/intermediate case.

WARNING
WHEN YOU USE COMAT 01-076 METHYL ETHYL KETONE YOU MUST MAKE SURE THERE IS SUFFICIENT VENTILATION. YOU MUST USE THE CORRECT PROTECTIVE CLOTHING. YOU MUST NOT SMOKE. DO NOT PUT THE SOLVENT NEAR A SOURCE OF HEAT.THE MATERIALS USED IN THE COMPOUND ARE FLAMMABLE AND TOXIC. DO NOT BREATHE THE VAPORS GIVEN OFF. YOU MUST PUT ON GLOVES WHEN YOU MIX AND USE THE COMPOUND.
CAUTION
YOU MUST USE CARE WHEN YOU USE COMAT 01-076 METHYL ETHYL KETONE AS IT CAN CAUSE DAMAGE TO THE SURFACE PROTECTION. REFER TO TASK 70-38-21-380-501 TO REPAIR THE SURFACE PROTECTION.Mix a sufficient quantity of CoMat 08-029 PRIMER BASE, CoMat 07-067 PRIMER CONVERTER and CoMat 07-066 THINNER in a ratio of one part each by volume of the primer base/curing solution and one tenth by volume of the thinner.
Clean the mating surfaces of the open latch indicator and the bolts/washers with CoMat 01-076 METHYL ETHYL KETONE. Use a clean cloth made moist with the solvent. Dry the mating surfaces with a clean dry cloth.
Apply a thin layer of the compound (mixed in step (1) to the surfaces of the four bolt head washer faces and the two washers FORWARD OPEN LATCH INDICATOR-THRUST REVERSER (71-00-23, 01-020), FORWARD OPEN LATCH INDICATOR-THRUST REVERSER (71-00-23, 01-030) and Fan Frame Assembly And Related Parts (72-32-03, 02-130).
Apply the dissimilar metal protection compound.
Attach the open latch indicator and the two shims FORWARD OPEN LATCH INDICATOR-THRUST REVERSER (71-00-23, 01-010) and FORWARD OPEN LATCH INDICATOR-THRUST REVERSER (71-00-23, 01-040) to the No.6 strut fairing panel Fan Frame Assembly And Related Parts (72-32-03, 02-100) with the two bolts and the two washers FORWARD OPEN LATCH INDICATOR-THRUST REVERSER (71-00-23, 01-020) and FORWARD OPEN LATCH INDICATOR-THRUST REVERSER (71-00-23, 01-030) (at the top position). Do this while the bolts and washers are wet with the compound.
Install the two bolts, the two washers and the two nuts Fan Frame Assembly And Related Parts (72-32-03, 02-130), Fan Frame Assembly And Related Parts (72-32-03, 02-120) and Fan Frame Assembly And Related Parts (72-32-03, 02-110) to attach the open latch indicator, the two shims and the No.6 strut fairing panel to the panel support bracket on the LP compressor intermediate case. Do this while the two bolts are wet with the compound.
Torque the two bolts FORWARD OPEN LATCH INDICATOR-THRUST REVERSER (71-00-23, 01-020) and the two nuts Fan Frame Assembly And Related Parts (72-32-03, 02-110) to 85 to 105 lbf.in (10 to 12 Nm).
Remove the unwanted compound from the adjacent surfaces with a clean cloth made moist with CoMat 01-076 METHYL ETHYL KETONE. Try to keep a small ring of the compound around the bolt head.
Install the open latch indicator.
SUBTASK 72-00-32-420-172 Install the Open Latch Indicator (Pre SBE 72-0435 and SBE 72-0435)
Bracket ELECTRICAL POWER-IDG CABLES (24-21-43, 01-950) and the front/rear surfaces of the flange FE (holes 16 and 17).
Bracket ELECTRICAL POWER-IDG CABLES (24-21-43, 01-952).
Bracket ELECTRICAL POWER-IDG CABLES (24-21-43, 01-930) and the rear surface of the flange FE (holes 23 and 24).
Bracket ELECTRICAL POWER-IDG CABLES (24-21-43, 01-920) and the rear surface of the flange FE (holes 29 and 30).
Bracket ELECTRICAL POWER-IDG CABLES (24-21-43, 01-910) and the rear surface of the flange FE (holes 32 and 33).
Bracket ELECTRICAL POWER-IDG CABLES (24-21-43, 01-900) and the rear surface of the flange FE (holes 34 and 35).

WARNING
WHEN YOU USE COMAT 01-002 INHIBITED AND STABILIZED TRICHLOROETHANE YOU MUST USE THE NECESSARY PROTECTIVE CLOTHING. DO NOT GET THE SOLVENT ON YOUR SKIN OR IN YOUR EYES. YOU MUST NOT SMOKE WHEN YOU USE THE SOLVENT AS THE VAPOR CHANGES AND BECOMES TOXIC.Clean the mating surfaces of the brackets and the flange FE with CoMat 01-002 SOLVENT, DELETED. as follows.
NOTE
Flange FE hole number taken from top dead center. The two large holes at 90 degrees, engine hoist bolt attach holes must not be counted when the brackets are installed.
Clean the brackets and the flange FE.
Bracket (GP1) General Services Harness (71-51-43, 05-980) and the front surface of the flange FA1 (holes 115 and 116). Refer to Figure the detail on T.
Bracket (GP2) General Services Harness (71-51-43, 05-960) and the front surface of the flange FA1 (holes 92 and 93). Refer to Figure the detail on R.
Bracket (GP3), the packing piece General Services Harness (71-51-43, 05-940) and General Services Harness (71-51-43, 05-943) and the rear surface of the flange FA (holes 46 and 47). Refer to Figure the detail on M.
Bracket (GP4), the packing piece General Services Harness (71-51-43, 05-920) and General Services Harness (71-51-43, 05-923) and the rear surface of the flange FA (holes 39 to 41). Refer to the detail on K.
Clean the mating surfaces of the brackets and the flange FA/FA1 with CoMat 01-002 SOLVENT, DELETED. as follows.
SUBTASK 72-00-32-160-053 Clean the 400VC to IDG Cable Support Brackets/Flange FE and the GP1 to GP4 Brackets/Flanges FA and FA1
Refer to TASK 71-00-02-400-001-B00, SUBTASK 71-00-02-420-022.
SUBTASK 72-00-32-420-174 Install the Brackets at the Flange FE (Pre SBE 79-0088 and SBE 79-0088)
SBE 79-0088: Oil - Scavenge oil tubes - Re-route of No.4 bearing scavenge tube
Bracket ELECTRICAL POWER-IDG CABLES (24-21-43, 01-950).
Bracket ELECTRICAL POWER-IDG CABLES (24-21-43, 01-952).
Bracket ELECTRICAL POWER-IDG CABLES (24-21-43, 01-940).
Bracket ELECTRICAL POWER-IDG CABLES (24-21-43, 01-930).
Bracket ELECTRICAL POWER-IDG CABLES (24-21-43, 01-920).
Bracket ELECTRICAL POWER-IDG CABLES (24-21-43, 01-910).
Bracket ELECTRICAL POWER-IDG CABLES (24-21-43, 01-900).
Measure the electrical resistance of the brackets (refer to Step to Step). Make sure the electrical resistance between the bracket and the flange FE is not more than 0.005 ohms. If the electrical resistance is more than 0.005 ohms, clean the area again as necessary, refer to Step.
SUBTASK 72-00-32-220-082 Measure the Electrical Resistance of the 400VC to IDG Cable Support Brackets/Flange FE
Install the two brackets EEC Fan Harness And Ignition Supply Harness (71-51-42, 05-690) and ENGINE FUEL AND CONTROL-FUEL SYSTEM AIR TUBES (73-22-49, 12-060) at the holes 16 and 17 with the two bolts and the two nuts EEC Fan Harness And Ignition Supply Harness (71-51-42, 05-694) and EEC Fan Harness And Ignition Supply Harness (71-51-42, 05-691). Torque the two nuts to 85 to 105 lbf.in (10 to 12 Nm).
Install the bracket at A.
Install the two brackets EEC Fan Harness (71-51-41, 05-990) at the holes 21, 22 and 24, 25 with the four bolts and the four nuts EEC Fan Harness (71-51-41, 05-994) and EEC Fan Harness (71-51-41, 05-991). Torque the four nuts to 85 to 105 lbf.in (10 to 12 Nm).
Install the brackets at B.
Install the bracket EEC Fan Harness (71-51-41, 05-750) at the holes 28 and 29 with the two bolts and the two nuts EEC Fan Harness (71-51-41, 05-754) and EEC Fan Harness (71-51-41, 05-751). Torque the two nuts to 85 to 105 lbf.in (10 to 12 Nm).
Install the bracket at C.
Install the bracket Control Fuel Tubes (73-11-49, 25-480) at the holes 55 and 56 with the two bolts and the two nuts Control Fuel Tubes (73-11-49, 25-482) and Control Fuel Tubes (73-11-49, 25-484). Torque the two nuts to 85 to 105 lbf.in (10 to 12 Nm).
Install the bracket at D.
Install the bracket Control Fuel Tubes (73-11-49, 25-490) at the holes 60 and 61 with the two bolts and the two nuts Control Fuel Tubes (73-11-49, 25-492) and Control Fuel Tubes (73-11-49, 25-494).
Install the bracket at E.
Install the angle Main Fuel Supply Fuel Tubes (73-11-47, 01-930) at the holes 88 and 89 with the two bolts and the two nuts Main Fuel Supply Fuel Tubes (73-11-47, 01-934) and Main Fuel Supply Fuel Tubes (73-11-47, 01-931). Torque the two nuts to 85 to 105 lbf.in (10 to 12 Nm).
Install the bracket at F.
Install the bracket Bearing Compartment Cooling And Sealing Air Tubes (75-22-49, 15-070) at the holes 92 and 93 with the two bolts and the two nuts Bearing Compartment Cooling And Sealing Air Tubes (75-22-49, 15-074) and Bearing Compartment Cooling And Sealing Air Tubes (75-22-49, 15-071). Torque the two nuts to 85 to 105 lbf.in (10 to 12 Nm).
Install the bracket at G.
Install the bracket Bearing Compartment Cooling And Sealing Air Tubes (75-22-49, 15-070) at the holes 98 and 99 with the two bolts and the two nuts Bearing Compartment Cooling And Sealing Air Tubes (75-22-49, 15-074) and Bearing Compartment Cooling And Sealing Air Tubes (75-22-49, 15-071). Toque the two nuts to 85 to 105 lbf.in (10 to 12 Nm).
Install the bracket at H.
Install the bracket EEC Fan Harness And Ignition Supply Harness (71-51-42, 05-840) at the holes 100 and 101 with the two bolts and the two nuts EEC Fan Harness And Ignition Supply Harness (71-51-42, 05-844) and EEC Fan Harness And Ignition Supply Harness (71-51-42, 05-841). Torque the two nuts to 85 to 105 lbf.in (10 to 12 Nm).
Install the bracket at I.
Install the bracket Bearing Compartment Cooling And Sealing Air Tubes (75-22-49, 15-080) at the holes 103 and 104 with the two bolts and the two nuts Bearing Compartment Cooling And Sealing Air Tubes (75-22-49, 15-084) and Bearing Compartment Cooling And Sealing Air Tubes (75-22-49, 15-081). Torque the two nuts to 85 to 105 lbf.in (10 to 12 Nm).
Install the bracket at J.
Install the bracket ENGINE FUEL AND CONTROL-FUEL SYSTEM AIR TUBES (73-22-49, 12-065) at the holes 3 and 4 with the two bolts and the two nuts ENGINE FUEL AND CONTROL-FUEL SYSTEM AIR TUBES (73-22-49, 12-069) and ENGINE FUEL AND CONTROL-FUEL SYSTEM AIR TUBES (73-22-49, 12-067). Torque the two nuts to 85 to 105 lbf.in (10 to 12 Nm).
Install the bracket at L.
SUBTASK 72-00-32-420-176-A00 Install the Brackets at the Flange FD (Pre SBE 71-0119)
Install the two brackets EEC Fan Harness And Ignition Supply Harness (71-51-42, 05-690) and ENGINE FUEL AND CONTROL-FUEL SYSTEM AIR TUBES (73-22-49, 12-060) at the holes 16 and 17 with the two bolts and the two nuts EEC Fan Harness And Ignition Supply Harness (71-51-42, 05-694) and EEC Fan Harness And Ignition Supply Harness (71-51-42, 05-691). Torque the two nuts to 85 to 105 lbf.in (10 to 12 Nm).
Install the bracket at A.
Install the bracket EEC Fan Harness (71-51-41, 05-990) at the holes 21 and 22 with the two bolts and the two nuts EEC Fan Harness (71-51-41, 05-994) and EEC Fan Harness (71-51-41, 05-991). Torque the two nuts to 85 to 105 lbf.in (10 to 12 Nm).
Install the bracket EEC Fan Harness (71-51-41, 05-995) at the holes 24, 25 with the two bolts and the two nuts EEC Fan Harness (71-51-41, 05-998) and EEC Fan Harness (71-51-41, 05-997). Torque the two nuts to 85 to 105 lbf.in (10 to 12 Nm).
Install the brackets at B.
Install the bracket Control Fuel Tubes (73-11-49, 25-480) at the holes 55 and 56 with the two bolts and the two nuts Control Fuel Tubes (73-11-49, 25-482) and Control Fuel Tubes (73-11-49, 25-484). Torque the two nuts to 85 to 105 lbf.in (10 to 12 Nm).
Install the bracket at D.
Install the bracket Control Fuel Tubes (73-11-49, 25-490) at the holes 60 and 61 with the two bolts and the two nuts Control Fuel Tubes (73-11-49, 25-492) and Control Fuel Tubes (73-11-49, 25-494).
Install the bracket at E.
Install the angle Main Fuel Supply Fuel Tubes (73-11-47, 01-930) at the holes 88 and 89 with the two bolts and the two nuts Main Fuel Supply Fuel Tubes (73-11-47, 01-934) and Main Fuel Supply Fuel Tubes (73-11-47, 01-931). Torque the two nuts to 85 to 105 lbf.in (10 to 12 Nm).
Install the bracket at F.
Install the bracket Bearing Compartment Cooling And Sealing Air Tubes (75-22-49, 15-070) at the holes 92 and 93 with the two bolts and the two nuts Bearing Compartment Cooling And Sealing Air Tubes (75-22-49, 15-074) and Bearing Compartment Cooling And Sealing Air Tubes (75-22-49, 15-071). Torque the two nuts to 85 to 105 lbf.in (10 to 12 Nm).
Install the bracket at G.
Install the bracket Bearing Compartment Cooling And Sealing Air Tubes (75-22-49, 15-070) at the holes 98 and 99 with the two bolts and the two nuts Bearing Compartment Cooling And Sealing Air Tubes (75-22-49, 15-074) and Bearing Compartment Cooling And Sealing Air Tubes (75-22-49, 15-071). Torque the two nuts to 85 to 105 lbf.in (10 to 12 Nm).
Install the bracket at H.
Install the bracket EEC Fan Harness And Ignition Supply Harness (71-51-42, 05-840) at the holes 100 and 101 with the two bolts and the two nuts EEC Fan Harness And Ignition Supply Harness (71-51-42, 05-844) and EEC Fan Harness And Ignition Supply Harness (71-51-42, 05-841). Torque the two nuts to 85 to 105 lbf.in (10 to 12 Nm).
Install the bracket at I.
Install the bracket Bearing Compartment Cooling And Sealing Air Tubes (75-22-49, 15-080) at the holes 103 and 104 with the two bolts and the two nuts Bearing Compartment Cooling And Sealing Air Tubes (75-22-49, 15-084) and Bearing Compartment Cooling And Sealing Air Tubes (75-22-49, 15-081). Torque the two nuts to 85 to 105 lbf.in (10 to 12 Nm).
Install the bracket at J.
Install the bracket EEC Fan Harness (71-51-41, 05-440) at the holes 27 and 28 with the two bolts and the two nuts EEC Fan Harness (71-51-41, 05-442) and EEC Fan Harness (71-51-41, 05-444). Torque the two nuts to 85 to 105 lbf.in (10 to 12 Nm).
Install the bracket at K.
Install the bracket ENGINE FUEL AND CONTROL-FUEL SYSTEM AIR TUBES (73-22-49, 12-065) at the holes 3 and 4 with the two bolts and the two nuts ENGINE FUEL AND CONTROL-FUEL SYSTEM AIR TUBES (73-22-49, 12-069) and ENGINE FUEL AND CONTROL-FUEL SYSTEM AIR TUBES (73-22-49, 12-067). Torque the two nuts to 85 to 105 lbf.in (10 to 12 Nm).
Install the bracket at L.
SUBTASK 72-00-32-420-176-B00 Install the Brackets at the Flange FD (SBE 71-0119)
SBE 71-0119: Engine - Power Plant - Introduce revised EEC harness clipping to provide sufficient clearance between harness and flange FD in area adjacent to EEC
Install the bracket EEC Fan Harness And Ignition Supply Harness (71-51-42, 05-970) at the holes 1 and 2 with the two bolts and the two nuts EEC Fan Harness And Ignition Supply Harness (71-51-42, 05-974) and EEC Fan Harness And Ignition Supply Harness (71-51-42, 05-971). Refer to the detail on A.
Install the brackets EEC Fan Harness And Ignition Supply Harness (71-51-42, 05-860) and EEC Fan Harness And Ignition Supply Harness (71-51-42, 05-960) at the holes 3 and 4 with the two bolts and the two nuts EEC Fan Harness And Ignition Supply Harness (71-51-42, 05-864) and EEC Fan Harness And Ignition Supply Harness (71-51-42, 05-861). Refer to the detail on B.
Install the bracket POWER PLANT-ELECTRICAL HARNESS-EEC HARNESS-FAN (71-51-41, 06-560) at the holes 5 and 6 with the two bolts and the two nuts POWER PLANT-ELECTRICAL HARNESS-EEC HARNESS-FAN (71-51-41, 06-567) and POWER PLANT-ELECTRICAL HARNESS-EEC HARNESS-FAN (71-51-41, 06-569). Refer to the detail on C.
Install the brackets at A to D.
Install the bracket Engine Scavenge Oil Tubes (79-22-49, 04-470) at the holes 25 and 26 with the two bolts and the two nuts Engine Scavenge Oil Tubes (79-22-49, 04-474) and Engine Scavenge Oil Tubes (79-22-49, 04-471). Refer to the detail on F.
Install the bracket Control Fuel Tubes (73-11-49, 23-070) at the holes 27 and 28 with the two bolts and the two nuts Control Fuel Tubes (73-11-49, 23-074) and Control Fuel Tubes (73-11-49, 23-071). Refer to the detail on G.
Install the bracket Control Fuel Tubes (73-11-49, 02-070) at the holes 31 and 32 with the two bolts and the two nuts. Refer to the detail on H.
Install the bracket Control Fuel Tubes (73-11-49, 02-080) at the holes 35 and 36 with the two bolts and the two nuts. Refer to the detail on I.
Install the brackets at F to I.
Install the bracket Control Fuel Tubes (73-11-49, 02-060) at the holes 37 and 38 with the two bolts and the two nuts Control Fuel Tubes (73-11-49, 02-064) and Control Fuel Tubes (73-11-49, 02-061). Refer to the detail on J.
Install the bracket EEC Fan Harness And Ignition Supply Harness (71-51-42, 05-830) at the holes 41 and 42 with the two bolts and the two nuts EEC Fan Harness And Ignition Supply Harness (71-51-42, 05-834) and EEC Fan Harness And Ignition Supply Harness (71-51-42, 05-831). Refer to the detail on L.
Install the brackets at J and L.
SUBTASK 72-00-32-420-177-A00 Install the Brackets at the Flange FC (Pre SBE 72-0160)
Install the bracket EEC Fan Harness And Ignition Supply Harness (71-51-42, 05-970) at the holes 1 and 2 with the two bolts and the two nuts EEC Fan Harness And Ignition Supply Harness (71-51-42, 05-974) and EEC Fan Harness And Ignition Supply Harness (71-51-42, 05-971). Refer to the detail on A.
Install the brackets EEC Fan Harness And Ignition Supply Harness (71-51-42, 05-860) and EEC Fan Harness And Ignition Supply Harness (71-51-42, 05-960) at the holes 3 and 4 with the two bolts and the two nuts EEC Fan Harness And Ignition Supply Harness (71-51-42, 05-864) and EEC Fan Harness And Ignition Supply Harness (71-51-42, 05-861). Refer to the detail on B.
Install the bracket POWER PLANT-ELECTRICAL HARNESS-EEC HARNESS-FAN (71-51-41, 06-560) at the holes 5 and 6 with the two bolts and the two nuts POWER PLANT-ELECTRICAL HARNESS-EEC HARNESS-FAN (71-51-41, 06-567) and POWER PLANT-ELECTRICAL HARNESS-EEC HARNESS-FAN (71-51-41, 06-569). Refer to the detail on C.
Install the brackets at A to D.
Install the bracket Engine Scavenge Oil Tubes (79-22-49, 04-470) at the holes 25 and 26 with the two bolts and the two nuts Engine Scavenge Oil Tubes (79-22-49, 04-474) and Engine Scavenge Oil Tubes (79-22-49, 04-471). Refer to the detail on F.
Install the bracket Control Fuel Tubes (73-11-49, 23-070) at the holes 27 and 28 with the two bolts and the two nuts Control Fuel Tubes (73-11-49, 23-074) and Control Fuel Tubes (73-11-49, 23-071). Refer to the detail on G.
Install the bracket Control Fuel Tubes (73-11-49, 02-070) at the holes 31 and 32 with the two bolts and the two nuts. Refer to the detail on H.
Install the bracket Control Fuel Tubes (73-11-49, 02-080) at the holes 35 and 36 with the two bolts and the two nuts. Refer to the detail on I.
Install the brackets at F to I.
Install the bracket Control Fuel Tubes (73-11-49, 02-060) at the holes 37 and 38 with the two bolts and the two nuts Control Fuel Tubes (73-11-49, 02-064) and Control Fuel Tubes (73-11-49, 02-061). Refer to the detail on J.
Install the brackets EEC Fan Harness And Ignition Supply Harness (71-51-42, 05-830) and Bearing Compartment Cooling And Sealing Air Tubes (75-22-49, 15-085) at the holes 50 and 51 with the two bolts and the two nuts EEC Fan Harness And Ignition Supply Harness (71-51-42, 05-834) and EEC Fan Harness And Ignition Supply Harness (71-51-42, 05-831). Refer to the detail on L.
Install the brackets at J and L.
SUBTASK 72-00-32-420-177-B00 Install the Brackets at the Flange FC (SBE 72-0160)
SBE 72-0160: Engine - LP Compressor - Provide a new fan case assembly that eliminates the provisions for a transition ring.
Attach the bracket Fuel System Air Tubes (73-22-49, 03-800) and the bracket Fuel System Air Tubes (73-22-49, 03-790) to the bracket Ignition Relay Box (71-51-49, 01-370) with the three bolts and the three clipnuts Fuel System Air Tubes (73-22-49, 03-805) and Fuel System Air Tubes (73-22-49, 03-808), at the detail on F. Torque the bolts to 85 to 105 lbf.in (10 to 12 Nm).
NOTE
The procedure for the bracket Fuel System Air Tubes (73-22-49, 03-800) at the flange FB is given in SUBTASK 72-00-32-420-179, the detail on F.Temporarily install the bracket assembly at the hole 18 on the flange FB with the bolt and the nut Ignition Relay Box (71-51-49, 01-403) and Ignition Relay Box (71-51-49, 01-404). Tighten the nut.
Install the bracket Fuel System Air Tubes (73-22-49, 03-800) and the bracket EEC Fan Harness (71-51-41, 05-820) at the hole 20 (on the flange FC) with the nut and the bolt Fuel System Air Tubes (73-22-49, 03-804) and Fuel System Air Tubes (73-22-49, 03-801). Refer to , the detail on E.
Attach the bracket EEC Fan Harness (71-51-41, 05-820) at the hole 21 with the bolt and the nut EEC Fan Harness (71-51-41, 05-824) and EEC Fan Harness (71-51-41, 05-821).
Install the bracket Engine Scavenge Oil Tubes (79-22-49, 10-070) at the holes 23 and 24 with two bolts and the two nuts Engine Scavenge Oil Tubes (79-22-49, 10-074) and Engine Scavenge Oil Tubes (79-22-49, 10-071).
Install the brackets at E.
SUBTASK 72-00-32-420-278-A00 Install the Brackets at E at the Flange FC (Pre SBE 73-0140)
Attach the bracket Fuel System Air Tubes (73-22-49, 03-800) to the bracket Ignition Relay Box (71-51-49, 01-370) with the two bolts Fuel System Air Tubes (73-22-49, 03-805), the two washers Fuel System Air Tubes (73-22-49, 03-806) and the two nuts Fuel System Air Tubes (73-22-49, 03-808), at the detail on F. Torque the bolts to 85 to 105 lbf.in (10 to 12 Nm).
Attach the bracket Fuel System Air Tubes (73-22-49, 03-790) to the bracket Fuel System Air Tubes (73-22-49, 01-370) with the two bolts Fuel System Air Tubes (73-22-49, 03-792), two washers Fuel System Air Tubes (73-22-49, 03-794) and the two nuts Fuel System Air Tubes (73-22-49, 03-796). Torque the bolts to 85 to 105 lbf.in (10 to 12 Nm).
NOTE
The procedure for the bracket Fuel System Air Tubes (73-22-49, 03-800) at the flange FB is given in SUBTASK 72-00-32-420-179, the detail on F.Temporarily install the bracket assembly at the hole 18 on the flange FB with the bolt and the nut Ignition Relay Box (71-51-49, 01-403) and Ignition Relay Box (71-51-49, 01-404). Tighten the nut.
Install the bracket Fuel System Air Tubes (73-22-49, 03-800) and the bracket EEC Fan Harness (71-51-41, 05-820) at the hole 20 (on the flange FC) with the nut and the bolt Fuel System Air Tubes (73-22-49, 03-804) and Fuel System Air Tubes (73-22-49, 03-801), at the detail on E.
Attach the bracket EEC Fan Harness (71-51-41, 05-820) at the hole 21 with the bolt and the nut EEC Fan Harness (71-51-41, 05-824) and EEC Fan Harness (71-51-41, 05-821).
Install the bracket Engine Scavenge Oil Tubes (79-22-49, 10-070) at the holes 23 and 24 with two bolts and the two nuts Engine Scavenge Oil Tubes (79-22-49, 10-074) and Engine Scavenge Oil Tubes (79-22-49, 10-071).
Install the brackets at E.
SUBTASK 72-00-32-420-278-B00 Install the Brackets at E at the Flange FC (SBE 73-0140)
SBE 73-0140: Engine fuel and control - Fuel system air tubes - Introduction of revised EEC pipe-support bracket
Refer to Figure.
Install the angle Main Fuel Supply Fuel Tubes (73-11-47, 01-920) and the bracket Main Fuel Supply Fuel Tubes (73-11-47, 01-940) at the holes 39 and 40 with the two bolts and the two nuts Main Fuel Supply Fuel Tubes (73-11-47, 01-924) and Main Fuel Supply Fuel Tubes (73-11-47, 01-921). Refer to the detail on K.
Install the mounting bracket Main Fuel Supply Fuel Tubes (73-11-47, 01-900) to the two angles with the five bolts and the five nuts Main Fuel Supply Fuel Tubes (73-11-47, 01-906) and Main Fuel Supply Fuel Tubes (73-11-47, 01-910).
NOTE
During the connection of the tube 110 to the LP fuel pump (TASK 72-00-60-420-002-B00 (INSTALLATION-003, CONFIG-002) it could be necessary to adjust the mounting bracket position on the slots.
Install the bracket at K.
SUBTASK 72-00-32-420-178 Install the Bracket at K at the Flange FC
Install the bracket VIBRATION TRANSDUCER JUNCTION BOX (77-32-43, 05-080) at the holes 1 and 2 with the two bolts and the two nuts VIBRATION TRANSDUCER JUNCTION BOX (77-32-43, 05-086) and VIBRATION TRANSDUCER JUNCTION BOX (77-32-43, 05-082). Torque the nuts to 85 to 105 lbf.in (10 to 12 Nm).
Install the brackets at A.
NOTE
The remaining bolt EEC Fan Harness And Ignition Supply Harness (71-51-42, 05-906) is installed during TASK 72-00-32-420-004-B00 (INSTALLATION-004, CONFIG-002). Refer to the clip position 0804.Attach the bracket Fan Harness Support Raceways (71-51-50, 01-890) to the raft EEC Fan Harness And Ignition Supply Harness (71-51-42, 05-900) with the bolt EEC Fan Harness And Ignition Supply Harness (71-51-42, 05-906). Torque the bolt to 36 to 45 lbf.in (4 to 5 Nm).
Install the raft at the holes 3 and 4 with the two bolts and the two nuts EEC Fan Harness And Ignition Supply Harness (71-51-42, 05-904) and EEC Fan Harness And Ignition Supply Harness (71-51-42, 05-901). Torque the nuts to 85 to 105 lbf.in (10 to 12 Nm).
NOTE
The procedure for the bracket Fan Harness Support Raceways (71-51-50, 01-890) at the flange FA1 is given in Step.Temporarily attach the bracket Fan Harness Support Raceways (71-51-50, 01-890) to the flange FA1 with the bolt and the nut Fan Harness Support Raceways (71-51-50, 01-894) and Fan Harness Support Raceways (71-51-50, 01-891). Tighten the nut.
Install the brackets at B.
Install the brackets EEC Fan Harness And Ignition Supply Harness (71-51-42, 05-940) and EEC Fan Harness And Ignition Supply Harness (71-51-42, 05-950) at the holes 7 and 8 with the two bolts and the two nuts. Torque the nuts to 85 to 105 lbf.in (10 to 12 Nm).
Install the brackets at C.
Install the EEC supportV2500-A5-73-22-34-01A-941A-D (73-22-34, 01-010) at the holes 7 to 10 and the bracket V2500-A5-73-22-34-01A-941A-DV2500-A5-73-22-34-01A-941A-D (73-22-34, 01-580) at the holes 8 and 9 on the flange FC with the four bolts and the four nuts V2500-A5-73-22-34-01A-941A-D (73-22-34, 01-240) and V2500-A5-73-22-34-01A-941A-D (73-22-34, 01-260). Tighten the nuts, but do not torque them at this time. Refer to the detail on D.
NOTE
The remaining bolt and nut V2500-A5-73-22-34-01A-941A-D (73-22-34, 01-240) and V2500-A5-73-22-34-01A-941A-D (73-22-34, 01-260) at the hole 9 is installed during the procedure for the terminal module V2500-A5-73-22-34-01A-941A-D (73-22-34, 01-560) given in TASK 72-00-32-420-004-B00 (INSTALLATION-004, CONFIG-002).Install the EEC support V2500-A5-73-22-34-01A-941A-D (73-22-34, 01-120) and the laminated shim at the holes 10 to 12 with the three bolts and the three nuts V2500-A5-73-22-34-01A-941A-D (73-22-34, 01-240) and V2500-A5-73-22-34-01A-941A-D (73-22-34, 01-260).

WARNING
WHEN YOU USE COMAT 01-002 INHIBITED AND STABILIZED TRICHLOROETHANE YOU MUST USE THE NECESSARY PROTECTIVE CLOTHING. DO NOT GET THE SOLVENT ON YOUR SKIN OR IN YOUR EYES. YOU MUST NOT SMOKE WHEN YOU USE THE SOLVENT AS THE VAPOR CHANGES AND BECOMES TOXIC.Clean the mating surfaces of the ground cable V2500-A5-73-22-34-01A-941A-D (73-22-34, 01-320) and the EEC support V2500-A5-73-22-34-01A-941A-D (73-22-34, 01-010) with CoMat 01-002 SOLVENT, DELETED.. Use a clean cloth made moist with the solvent to remove the grease, fingerprints and the unwanted material.
Install the EEC support V2500-A5-73-22-34-01A-941A-D (73-22-34, 01-060) and the two brackets V2500-A5-73-22-34-01A-941A-D (73-22-34, 01-500) and V2500-A5-73-22-34-01A-941A-D (73-22-34, 01-520) at the holes 15 to 19 on the flange FC with the five bolts and the five nuts V2500-A5-73-22-34-01A-941A-D (73-22-34, 01-240) and V2500-A5-73-22-34-01A-941A-D (73-22-34, 01-260). Tighten the nuts, but do not torque them at this time. Refer to the detail on E.
Install the laminated shim V2500-A5-73-22-34-01A-941A-D (73-22-34, 01-250) as given in Step.
Install the EEC support V2500-A5-73-22-34-01A-941A-D (73-22-34, 01-180), the brackets V2500-A5-73-22-34-01A-941A-D (73-22-34, 01-420) and V2500-A5-73-22-34-01A-941A-D (73-22-34, 01-440) and the laminated shim V2500-A5-73-22-34-01A-941A-D (73-22-34, 01-250) at the holes 13 to 16 with the four bolts and the four nuts V2500-A5-73-22-34-01A-941A-D (73-22-34, 01-240) and V2500-A5-73-22-34-01A-941A-D (73-22-34, 01-260).
Install the brackets at D and E.
Install the bracket Ignition Relay Box (71-51-49, 01-310) at the holes 35 and 38 on the flange FA1 with the two bolts and the two nuts Ignition Relay Box (71-51-49, 01-312) and Ignition Relay Box (71-51-49, 01-316). Torque the nuts to 85 to 105 lbf.in (10 to 12 Nm).
Attach the bracket Ignition Relay Box (71-51-49, 01-390) to the relay box mounting bracket Ignition Relay Box (71-51-49, 01-400) with the two bolts Ignition Relay Box (71-51-49, 01-394).
Attach the bracket Ignition Relay Box (71-51-49, 01-330) to the relay box mounting bracket with the two bolts Ignition Relay Box (71-51-49, 01-332).
Install the relay box mounting bracket Ignition Relay Box (71-51-49, 01-400) to the bracket Ignition Relay Box (71-51-49, 01-310) at the flange FA1, with the two bolts and the two clipnuts Ignition Relay Box (71-51-49, 01-404) and Ignition Relay Box (71-51-49, 01-410).

WARNING
WHEN YOU USE COMAT 01-002 INHIBITED AND STABILIZED TRICHLOROETHANE YOU MUST USE THE NECESSARY PROTECTIVE CLOTHING. DO NOT GET THE SOLVENT ON YOUR SKIN OR IN YOUR EYES. YOU MUST NOT SMOKE WHEN YOU USE THE SOLVENT AS THE VAPOR CHANGES AND BECOMES TOXIC.Clean the mating surfaces of the bracket Ignition Relay Box (71-51-49, 01-380) and the rear of the flange FB (at the holes 19 and 20) with CoMat 01-002 SOLVENT, DELETED.. Use a clean cloth made moist with the solvent to remove the grease, fingerprints and the unwanted material.
NOTE
The remaining installation procedure for the bracket Ignition Relay Box (71-51-49, 01-380) at the hole 20 is given in TASK 72-00-32-420-005-B00 (INSTALLATION-005, CONFIG-002), during the installation of the EEC inlet V2500-A5-75-28-49-02A-941A-D (75-28-49, 02-100).Attach the brackets Ignition Relay Box (71-51-49, 01-370) and Ignition Relay Box (71-51-49, 01-380) at the flange FB with the three bolts and the three nuts Ignition Relay Box (71-51-49, 01-403), Ignition Relay Box (71-51-49, 01-402), Ignition Relay Box (71-51-49, 01-413) and Ignition Relay Box (71-51-49, 01-414).
Torque the two bolts Ignition Relay Box (71-51-49, 01-404) and the three nuts Ignition Relay Box (71-51-49, 01-413) and Ignition Relay Box (71-51-49, 01-414) to 85 to 105 lbf.in (10 to 12 Nm).
Install the brackets at F.
Install the bracket Air Cooled Oil Cooler (ACOC) Modulating Valve (79-21-51, 01-710) at the holes 31 and 32 with the two bolts Air Cooled Oil Cooler (ACOC) Modulating Valve (79-21-51, 01-714) and the two nuts Air Cooled Oil Cooler (ACOC) Modulating Valve (79-21-51, 01-712).
Pre SBE 75-0081: Install the raft AIR-STAGE 10 AIR SOLENOID VALVE (75-23-52, 01-600), refer to Step, the detail on I.
SBE 75-0081: Install the raft AIR-HPC STAGE 10 SOLENOID VALVE (75-32-53, 01-600), refer to Step, the detail on I.
NOTE
The remaining bolt AIR-STAGE 10 AIR SOLENOID VALVE (75-23-52, 01-110) and washer AIR-STAGE 10 AIR SOLENOID VALVE (75-23-52, 01-113) which attaches the bracket AIR-STAGE 10 AIR SOLENOID VALVE (75-23-52, 01-500) to the raft AIR-STAGE 10 AIR SOLENOID VALVE (75-23-52, 01-600) is installed during TASK 72-00-32-420-002 (INSTALLATION-002).Pre SBE 75-0081: Attach the bracket AIR-STAGE 10 AIR SOLENOID VALVE (75-23-52, 01-500) to the raft AIR-STAGE 10 AIR SOLENOID VALVE (75-23-52, 01-600) with the bolt AIR-STAGE 10 AIR SOLENOID VALVE (75-23-52, 01-510).
NOTE
The remaining bolt AIR-HPC STAGE 10 SOLENOID VALVE (75-32-53, 01-402) and washer AIR-HPC STAGE 10 SOLENOID VALVE (75-32-53, 01-404) which attaches the bracket AIR-HPC STAGE 10 SOLENOID VALVE(75-32-53,01-500) to the raft AIR-HPC STAGE 10 SOLENOID VALVE (75-32-53, 01-600) is installed during TASK 72-00-32-420-002 (INSTALLATION-002).SBE 75-0081: Attach the bracket AIR-HPC STAGE 10 SOLENOID VALVE (75-32-53, 01-500) to the raft AIR-HPC STAGE 10 SOLENOID VALVE (75-32-53, 01-600) with the bolt AIR-HPC STAGE 10 SOLENOID VALVE (75-32-53, 01-510).
Pre SBE 75-0081: Attach the bracket AIR-STAGE 10 AIR SOLENOID VALVE (75-23-52, 01-500) and the bracket Air Cooled Oil Cooler (ACOC) Modulating Valve (79-21-51, 01-630) at the holes 27 and 28 with the two bolts Air Cooled Oil Cooler (ACOC) Modulating Valve (79-21-51, 01-634) and the two nuts Air Cooled Oil Cooler (ACOC) Modulating Valve (79-21-51, 01-632). Attach the bracket AIR-STAGE 10 AIR SOLENOID VALVE (75-23-52, 01-500) at the hole 29 with the bolt AIR-STAGE 10 AIR SOLENOID VALVE (75-23-52, 01-520) and the nut AIR-STAGE 10 AIR SOLENOID VALVE (75-23-52, 01-518).
SBE 75-0081: Attach the bracket AIR-HPC STAGE 10 SOLENOID VALVE (75-32-53, 01-500) and the bracket Air Cooled Oil Cooler (ACOC) Modulating Valve (79-21-51, 01-630) at the holes 27 and 28 with the two bolts Air Cooled Oil Cooler (ACOC) Modulating Valve (79-21-51, 01-634) and the two nuts Air Cooled Oil Cooler (ACOC) Modulating Valve (79-21-51, 01-632). Attach the bracket AIR-HPC STAGE 10 SOLENOID VALVE (75-32-53, 01-500) at the hole 29 with the bolt AIR-HPC STAGE 10 SOLENOID VALVE (75-32-53, 01-520) and the nut AIR-HPC STAGE 10 SOLENOID VALVE (75-32-53, 01-518).
Pre SBE 75-0081: Install the bracket AIR-TURBINE COOLING CONTROLLED AIR TUBES (75-23-48, 01-470) and the bracket Air Cooled Oil Cooler (ACOC) Modulating Valve (79-21-51, 01-550) at the holes 25 and 26 with the two bolts Air Cooled Oil Cooler (ACOC) Modulating Valve (79-21-51, 01-554) andV2500-A5-79-21-59-01A-941A-D (79-21-59, 01-552) and the two nuts AIR-TURBINE COOLING CONTROLLED AIR TUBES (75-23-48, 01-474) and AIR-TURBINE COOLING CONTROLLED AIR TUBES (75-23-48, 01-471).
SBE 75-0081: Install the bracket AIR-HP COMPRESSOR BLEED CONTROL TUBES (75-32-49, 03-470) and the bracket Air Cooled Oil Cooler (ACOC) Modulating Valve (79-21-51, 01-550) at the holes 25 and 26 with the two bolts Air Cooled Oil Cooler (ACOC) Modulating Valve (79-21-51, 01-554) and Air Cooled Oil Cooler (ACOC) Modulating Valve (79-21-51, 01-552) and the two nuts AIR-HP COMPRESSOR BLEED CONTROL TUBES (75-32-49, 03-472) and AIR-HP COMPRESSOR BLEED CONTROL TUBES (75-32-49, 03-474).
Install the solenoid angle bracket HPC Stage 7 Solenoid Valve (75-32-51, 01-140) at the holes 43 and 46 on the flange FA1 with the two bolts and the two nuts HPC Stage 7 Solenoid Valve (75-32-51, 01-142) and HPC Stage 7 Solenoid Valve (75-32-51, 01-143).
Attach the solenoid mounting bracket HPC Stage 7 Solenoid Valve (75-32-51, 01-160) to the solenoid angle bracket HPC Stage 7 Solenoid Valve (75-32-51, 01-140) with the two bolts and the two clipnuts HPC Stage 7 Solenoid Valve (75-32-51, 01-162) and HPC Stage 7 Solenoid Valve (75-32-51, 01-170).
Attach the solenoid mounting bracket HPC Stage 7 Solenoid Valve (75-32-51, 01-160) and the bracket Air Cooled Oil Cooler (ACOC) Modulating Valve (79-21-51, 01-550) at the hole 24 with the bolt and the nut HPC Stage 7 Solenoid Valve (75-32-51, 01-163) and HPC Stage 7 Solenoid Valve (75-32-51, 01-167).
NOTE
The remaining bolt, the washer and the nut which attach the bracket Fuel System Air Tubes (73-22-49, 03-470) and the EEC inlet V2500-A5-75-28-49-02A-941A-D (75-28-49, 02-100) at the hole 22 is installed during TASK 72-00-32-420-005-B00 (INSTALLATION-005, CONFIG-002).Attach the bracket Fuel System Air Tubes (73-22-49, 03-470) and the solenoid mounting bracket HPC Stage 7 Solenoid Valve (75-32-51, 01-160) at the hole 23 with the bolt and the nut HPC Stage 7 Solenoid Valve (75-32-51, 01-161) and HPC Stage 7 Solenoid Valve (75-32-51, 01-167).
Pre SBE 75-0047: Attach the two brackets HPC Stage 7 Solenoid Valve (75-32-51, 01-150) to the solenoid mounting bracket HPC Stage 7 Solenoid Valve (75-32-51, 01-160) with the two bolts and the two nuts HPC Stage 7 Solenoid Valve (75-32-51, 01-154) and HPC Stage 7 Solenoid Valve (75-32-51, 01-152). Torque the nuts to 36 to 45 lbf.in (4 to 5 Nm).
Torque the two bolts HPC Stage 7 Solenoid Valve (75-32-51, 01-162) and the nuts installed in Step to Step and Step to 85 to 105 lbf.in (10 to 12 Nm).
Install the brackets at G.

WARNING
WHEN YOU USE COMAT 01-002 INHIBITED AND STABILIZED TRICHLOROETHANE YOU MUST USE THE NECESSARY PROTECTIVE CLOTHING. DO NOT GET THE SOLVENT ON YOUR SKIN OR IN YOUR EYES. YOU MUST NOT SMOKE WHEN YOU USE THE SOLVENT AS THE VAPOR CHANGES AND BECOMES TOXIC.Clean the mating surfaces of the bonding strap and the washer Fuel Cooled Oil Cooler (FCOC) (79-21-43, 01-350) and Fuel Cooled Oil Cooler (FCOC) (79-21-43, 01-392) with CoMat 01-002 SOLVENT, DELETED.. Use a clean cloth made moist with the solvent to remove the grease, fingerprints and the unwanted material.
Clean the forward side of the flange FB at the hole 39 and 40 as given in Step.
Install the bracket and the bonding strap Fuel Cooled Oil Cooler (FCOC) (79-21-43, 01-380) and Fuel Cooled Oil Cooler (FCOC) (79-21-43, 01-350) at the holes 39 and 40 with the two bolts, the washer and the two nuts Fuel Cooled Oil Cooler (FCOC) (79-21-43, 01-390), Fuel Cooled Oil Cooler (FCOC) (79-21-43, 01-395), Fuel Cooled Oil Cooler (FCOC) (79-21-43, 01-385), Fuel Cooled Oil Cooler (FCOC) (79-21-43, 01-392) and Fuel Cooled Oil Cooler (FCOC) (79-21-43, 01-391). Refer to the detail on G1.
Install the bracket Fuel Cooled Oil Cooler (FCOC) (79-21-43, 01-300) at the holes 41 and 42 with the two bolts and the two nuts Fuel Cooled Oil Cooler (FCOC) (79-21-43, 01-315) and Fuel Cooled Oil Cooler (FCOC) (79-21-43, 01-310). Refer to the detail on G2.
Install the brackets at G1 and G2.
Install the bracket EEC Fan Harness And Ignition Supply Harness (71-51-42, 05-280) at the holes 46 and 47 with the two bolts and the two nuts EEC Fan Harness And Ignition Supply Harness (71-51-42, 05-284) and EEC Fan Harness And Ignition Supply Harness (71-51-42, 05-281). Refer to the detail on H.
Install the brackets EEC Fan Harness And Ignition Supply Harness (71-51-42, 05-080) and EEC Fan Harness And Ignition Supply Harness (71-51-42, 05-090) at the holes 48 and 49 with the two bolts and the two nuts EEC Fan Harness And Ignition Supply Harness (71-51-42, 05-084) and EEC Fan Harness And Ignition Supply Harness (71-51-42, 05-081). Refer to the detail on I.
Install the bracket VIBRATION TRANSDUCER JUNCTION BOX (77-32-43, 05-060) at the holes 50 and 51 with the two bolts and the two nuts VIBRATION TRANSDUCER JUNCTION BOX (77-32-43, 05-064) and VIBRATION TRANSDUCER JUNCTION BOX (77-32-43, 05-061). Refer to the detail on J.
Install the brackets at H, I and J.
SUBTASK 72-00-32-420-179-A00 Install the Brackets at the Flange FB (Pre SBE 70-0152, Pre SBE 72-0160, Pre SBE 75-0047, Pre SBE 75-0081 and SBE 75-0081)
SBE 75-0081: Deletion of the HPC stage 10 make-up air valve.
Install the bracket VIBRATION TRANSDUCER JUNCTION BOX (77-32-43, 05-080) at the holes 1 and 2 with the two bolts and the two nuts VIBRATION TRANSDUCER JUNCTION BOX (77-32-43, 05-086) and VIBRATION TRANSDUCER JUNCTION BOX (77-32-43, 05-082). Torque the nuts to 85 to 105 lbf.in (10 to 12 Nm).
Install the brackets at A.
NOTE
The remaining bolt EEC Fan Harness And Ignition Supply Harness (71-51-42, 05-906) is installed during TASK 72-00-32-420-004-B00 (INSTALLATION-004, CONFIG-002 Page-401). Refer to the clip position 0804.Attach the bracket Fan Harness Support Raceways (71-51-50, 01-890) to the raft EEC Fan Harness And Ignition Supply Harness (71-51-42, 05-900) with the bolt EEC Fan Harness And Ignition Supply Harness (71-51-42, 05-906). Torque the bolt to 36 to 45 lbf.in (4 to 5 Nm).
Install the raft at the holes 3 and 4 with the two bolts and the two nuts EEC Fan Harness And Ignition Supply Harness (71-51-42, 05-904) and EEC Fan Harness And Ignition Supply Harness (71-51-42, 05-901). Torque the nuts to 85 to 105 lbf.in (10 to 12 Nm).
NOTE
The procedure for the bracket Fan Harness Support Raceways (71-51-50, 01-890) at the flange FA1 is given in Step.Temporarily attach the bracket Fan Harness Support Raceways (71-51-50, 01-890) to the flange FA1 with the bolt and the nut Fan Harness Support Raceways (71-51-50, 01-894) and Fan Harness Support Raceways (71-51-50, 01-891). Tighten the nut.
Install the brackets at B.
Install the brackets EEC Fan Harness And Ignition Supply Harness (71-51-42, 05-940) and EEC Fan Harness And Ignition Supply Harness (71-51-42, 05-950) at the holes 7 and 8 with the two bolts and the two nuts. Torque the nuts to 85 to 105 lbf.in (10 to 12 Nm).
Install the brackets at C.
Install the EEC support V2500-A5-73-22-34-01A-941A-D (73-22-34, 01-010) at the holes 7 to 10 and the bracket V2500-A5-73-22-34-01A-941A-D (73-22-34, 01-580) at the holes 8 and 9 on the flange FC with the four bolts and the four nuts V2500-A5-73-22-34-01A-941A-D (73-22-34, 01-240) and V2500-A5-73-22-34-01A-941A-D (73-22-34, 01-260). Tighten the nuts, but do not torque them at this time. Refer to the detail on D.
NOTE
The remaining bolt and nut V2500-A5-73-22-34-01A-941A-D (73-22-34, 01-240) and V2500-A5-73-22-34-01A-941A-D (73-22-34, 01-260) at the hole 9 is installed during the procedure for the terminal module V2500-A5-73-22-34-01A-941A-D (73-22-34, 01-560) given in TASK 72-00-32-420-004-B00 (INSTALLATION-004, CONFIG-002).Install the EEC support V2500-A5-73-22-34-01A-941A-D (73-22-34, 01-120) and the laminated shim(s) at the holes 10 to 12 with the three bolts and the three nuts V2500-A5-73-22-34-01A-941A-D (73-22-34, 01-240) and V2500-A5-73-22-34-01A-941A-D (73-22-34, 01-260).

WARNING
WHEN YOU USE CoMat 01-002 SOLVENT, DELETED. YOU MUST USE THE NECESSARY PROTECTIVE CLOTHING. DO NOT GET THE SOLVENT ON YOUR SKIN OR IN YOUR EYES. YOU MUST NOT SMOKE WHEN YOU USE THE SOLVENT AS THE VAPOR CHANGES AND BECOMES TOXIC.Clean the mating surfaces of the ground cable V2500-A5-73-22-34-01A-941A-D (73-22-34, 01-320) and the EEC support V2500-A5-73-22-34-01A-941A-D (73-22-34, 01-010) with CoMat 01-002 SOLVENT, DELETED.. Use a clean cloth made moist with the solvent to remove the grease, fingerprints and the unwanted material.
Install the EEC support V2500-A5-73-22-34-01A-941A-D (73-22-34, 01-060) and the two brackets V2500-A5-73-22-34-01A-941A-D (73-22-34, 01-500) and V2500-A5-73-22-34-01A-941A-D (73-22-34, 01-520) at the holes 15 to 19 on the flange FC with the five bolts and the five nuts V2500-A5-73-22-34-01A-941A-D (73-22-34, 01-240) and V2500-A5-73-22-34-01A-941A-D (73-22-34, 01-260). Tighten the nuts, but do not torque them at this time. Refer to the detail on E.
Install one or more laminated shims V2500-A5-73-22-34-01A-941A-D (73-22-34, 01-250) as required as given in Step.
Install the EEC support V2500-A5-73-22-34-01A-941A-D (73-22-34, 01-180), the brackets V2500-A5-73-22-34-01A-941A-D (73-22-34, 01-420) and V2500-A5-73-22-34-01A-941A-D (73-22-34, 01-440) and the laminated shim(s) V2500-A5-73-22-34-01A-941A-D (73-22-34, 01-250) at the holes 13 to 16 with the four bolts and the four nuts V2500-A5-73-22-34-01A-941A-D (73-22-34, 01-240) and V2500-A5-73-22-34-01A-941A-D (73-22-34, 01-260).
Install the brackets at D and E.
Install the bracket Ignition Relay Box (71-51-49, 01-310) at the holes 35 and 38 on the flange FA1 with the two bolts and the two nuts Ignition Relay Box (71-51-49, 01-312) and Ignition Relay Box (71-51-49, 01-316). Torque the nuts to 85 to 105 lbf.in (10 to 12 Nm).
Attach the bracket Ignition Relay Box (71-51-49, 01-390) to the relay box mounting bracket Ignition Relay Box (71-51-49, 01-400) with the two bolts Ignition Relay Box (71-51-49, 01-394).
Attach the bracket Ignition Relay Box (71-51-49, 01-330) to the relay box mounting bracket with the two bolts Ignition Relay Box (71-51-49, 01-332).
Install the relay box mounting bracket Ignition Relay Box (71-51-49, 01-400) to the bracket Ignition Relay Box (71-51-49, 01-310) at the flange FA1, with the two bolts and the two clipnuts Ignition Relay Box (71-51-49, 01-404) and Ignition Relay Box (71-51-49, 01-410).

WARNING
WHEN YOU USE COMAT 01-002 INHIBITED AND STABILIZED TRICHLOROETHANE YOU MUST USE THE NECESSARY PROTECTIVE CLOTHING. DO NOT GET THE SOLVENT ON YOUR SKIN OR IN YOUR EYES. YOU MUST NOT SMOKE WHEN YOU USE THE SOLVENT AS THE VAPOR CHANGES AND BECOMES TOXIC.Clean the mating surfaces of the bracket Ignition Relay Box (71-51-49, 01-380) and the rear of the flange FB (at the holes 19 and 20) with CoMat 01-002 SOLVENT, DELETED.. Use a clean cloth made moist with the solvent to remove the grease, fingerprints and the unwanted material.
NOTE
The remaining installation procedure for the bracket Ignition Relay Box (71-51-49, 01-380) at the hole 20 is given in TASK 72-00-32-420-005-B00 (INSTALLATION-005, CONFIG-002), during the installation of the EEC inlet V2500-A5-75-28-49-02A-941A-D (75-28-49, 02-100).Attach the brackets Ignition Relay Box (71-51-49, 01-370) and Ignition Relay Box (71-51-49, 01-380) at the flange FB with the three bolts and the three nuts Ignition Relay Box (71-51-49, 01-403), Ignition Relay Box (71-51-49, 01-402), Ignition Relay Box (71-51-49, 01-413) and Ignition Relay Box (71-51-49, 01-414).
Torque the two bolts Ignition Relay Box (71-51-49, 01-404) and the three nuts Ignition Relay Box (71-51-49, 01-413) and Ignition Relay Box (71-51-49, 01-414) to 85 to 105 lbf.in (10 to 12 Nm).
Install the brackets at F.
Install the bracket Air Cooled Oil Cooler (ACOC) Modulating Valve (79-21-51, 01-710) at the holes 31 and 32 with the two bolts and the two nuts Air Cooled Oil Cooler (ACOC) Modulating Valve (79-21-51, 01-714) and Air Cooled Oil Cooler (ACOC) Modulating Valve (79-21-51, 01-712).
Pre SBE 75-0081: Install the raft AIR-STAGE 10 AIR SOLENOID VALVE (75-23-52, 01-600), refer to Step, at the detail on I.
SBE 75-0081: Install the raft AIR-HPC STAGE 10 SOLENOID VALVE (75-32-53, 01-600), refer to Step, at the detail on I.
NOTE
The remaining bolt and washer AIR-STAGE 10 AIR SOLENOID VALVE(75-23-52,01-110) and AIR-STAGE 10 AIR SOLENOID VALVE (75-23-52, 01-113) which attaches the bracket AIR-STAGE 10 AIR SOLENOID VALVE (75-23-52, 01-500) to the raft AIR-STAGE 10 AIR SOLENOID VALVE (75-23-52, 01-600) is installed during TASK 72-00-32-420-002 (INSTALLATION-002).Pre SBE 75-0081: Attach the bracket AIR-STAGE 10 AIR SOLENOID VALVE (75-23-52, 01-500) to the raft AIR-STAGE 10 AIR SOLENOID VALVE (75-23-52, 01-600) with the bolt AIR-STAGE 10 AIR SOLENOID VALVE (75-23-52, 01-510).
NOTE
The remaining bolt AIR-HPC STAGE 10 SOLENOID VALVE (75-32-53, 01-402) and washer AIR-HPC STAGE 10 SOLENOID VALVE (75-32-53, 01-404) which attaches the bracket AIR-HPC STAGE 10 SOLENOID VALVE (75-32-53, 01-500) to the raft AIR-HPC STAGE 10 SOLENOID VALVE (75-32-53, 01-600) is installed during TASK 72-00-32-420-002 (INSTALLATION-002).SBE 75-0081: Attach the bracket AIR-HPC STAGE 10 SOLENOID VALVE (75-32-53, 01-500) to the raft AIR-HPC STAGE 10 SOLENOID VALVE (75-32-53, 01-600) with the bolt AIR-HPC STAGE 10 SOLENOID VALVE (75-32-53, 01-510).
Pre SBE 75-0081: Attach the bracket AIR-STAGE 10 AIR SOLENOID VALVE (75-23-52, 01-500) and the bracket Air Cooled Oil Cooler (ACOC) Modulating Valve (79-21-51, 01-630) at the holes 27 and 28 with the two bolts and the two nuts Air Cooled Oil Cooler (ACOC) Modulating Valve (79-21-51, 01-634) and Air Cooled Oil Cooler (ACOC) Modulating Valve (79-21-51, 01-632). Attach the bracket AIR-STAGE 10 AIR SOLENOID VALVE (75-23-52, 01-500) at the hole 29 with the bolt and the nut AIR-STAGE 10 AIR SOLENOID VALVE (75-23-52, 01-520) and AIR-STAGE 10 AIR SOLENOID VALVE (75-23-52, 01-518).
SBE 75-0081: Attach the bracket AIR-HPC STAGE 10 SOLENOID VALVE (75-32-53, 01-500) and the bracket Air Cooled Oil Cooler (ACOC) Modulating Valve (79-21-51, 01-630) at the holes 27 and 28 with the two bolts Air Cooled Oil Cooler (ACOC) Modulating Valve (79-21-51, 01-634) and the two nuts Air Cooled Oil Cooler (ACOC) Modulating Valve (79-21-51, 01-632). Attach the bracket AIR-HPC STAGE 10 SOLENOID VALVE (75-32-53, 01-500) at the hole 29 with the bolt AIR-STAGE 10 AIR SOLENOID VALVE (75-23-52, 01-520) and the nut AIR-STAGE 10 AIR SOLENOID VALVE (75-23-52, 01-518).
Pre SBE 75-0081: Install the bracket AIR-TURBINE COOLING CONTROLLED AIR TUBES (75-23-48, 01-470) and the bracket Air Cooled Oil Cooler (ACOC) Modulating Valve (79-21-51, 01-550) at the holes 25 and 26 with the two bolts and the two nuts Air Cooled Oil Cooler (ACOC) Modulating Valve (79-21-51, 01-554) and Air Cooled Oil Cooler (ACOC) Modulating Valve (79-21-51, 01-552) and AIR-TURBINE COOLING CONTROLLED AIR TUBES (75-23-48, 01-474) and AIR-TURBINE COOLING CONTROLLED AIR TUBES (75-23-48, 01-471).
SBE 75-0081: Install the bracket HPC Bleed Control Air Tubes (75-32-49, 01-470) and the bracket Air Cooled Oil Cooler (ACOC) Modulating Valve (79-21-51, 01-550) at the holes 25 and 26 with the two bolts Air Cooled Oil Cooler (ACOC) Modulating Valve (79-21-51, 01-554) and Air Cooled Oil Cooler (ACOC) Modulating Valve (79-21-51, 01-552) and the two nuts V2500-A5-75-23-49-03A-941A-D (75-23-49, 03-472) and AIR-HP COMPRESSOR BLEED CONTROL TUBES (75-32-49, 03-474).
Install the solenoid angle bracket HPC Stage 7 Solenoid Valve (75-32-51, 01-140) at the holes 43 and 46 on the flange FA1 with the two bolts and the two nuts HPC Stage 7 Solenoid Valve (75-32-51, 01-142) and HPC Stage 7 Solenoid Valve (75-32-51, 01-143).
Attach the solenoid mounting bracket HPC Stage 7 Solenoid Valve (75-32-51, 01-160) to the solenoid angle bracket HPC Stage 7 Solenoid Valve (75-32-51, 01-140) with the two bolts and the two clipnuts HPC Stage 7 Solenoid Valve (75-32-51, 01-162) and HPC Stage 7 Solenoid Valve (75-32-51, 01-170).
Attach the solenoid mounting bracket HPC Stage 7 Solenoid Valve (75-32-51, 01-160) and the bracket Air Cooled Oil Cooler (ACOC) Modulating Valve (79-21-51, 01-550) at the hole 24 with the bolt and the nut HPC Stage 7 Solenoid Valve (75-32-51, 01-163) and HPC Stage 7 Solenoid Valve (75-32-51, 01-167).
NOTE
The remaining bolt, the washer and the nut which attach the bracket Fuel System Air Tubes(73-22-49,03-470) and the EEC inlet V2500-A5-75-28-49-02A-941A-D(75-28-49,02-100) at the hole 22 is installed during TASK 72-00-32-420-005-B00 (INSTALLATION-005, CONFIG-002).Attach the bracket Fuel System Air Tubes (73-22-49, 03-470) and the solenoid mounting bracket HPC Stage 7 Solenoid Valve (75-32-51, 01-160) at the hole 23 with the bolt and the nut HPC Stage 7 Solenoid Valve (75-32-51, 01-161) and HPC Stage 7 Solenoid Valve (75-32-51, 01-167).
Pre SBE 75-0047: Attach the two brackets HPC Stage 7 Solenoid Valve (75-32-51, 01-150) to the solenoid mounting bracket HPC Stage 7 Solenoid Valve (75-32-51, 01-160) with the two bolts and the two nuts HPC Stage 7 Solenoid Valve (75-32-51, 01-154) and HPC Stage 7 Solenoid Valve (75-32-51, 01-152). Torque the nuts to 36 to 45 lbf.in (4 to 5 Nm).
Torque the two bolts HPC Stage 7 Solenoid Valve (75-32-51, 01-162) and the nuts installed in Step to Step and Step to 85 to 105 lbf.in (10 to 12 Nm).
Install the brackets at G.

WARNING
WHEN YOU USE CoMat 01-002 SOLVENT, DELETED. YOU MUST USE THE NECESSARY PROTECTIVE CLOTHING. DO NOT GET THE SOLVENT ON YOUR SKIN OR IN YOUR EYES. YOU MUST NOT SMOKE WHEN YOU USE THE SOLVENT AS THE VAPOR CHANGES AND BECOMES TOXIC.Clean the mating surfaces of the bonding strap and the washer Fuel Cooled Oil Cooler (FCOC) (79-21-43, 01-350) and Fuel Cooled Oil Cooler (FCOC) (79-21-43, 01-392) with CoMat 01-002 SOLVENT, DELETED.. Use a clean cloth made moist with the solvent to remove the grease, fingerprints and the unwanted material.
Clean the forward side of the flange FB at the hole 39 and 40 as given in Step.
Install the bracket and the bonding strap Fuel Cooled Oil Cooler (FCOC) (79-21-43, 01-380) and Fuel Cooled Oil Cooler (FCOC) (79-21-43, 01-350) at the holes 39 and 40 with the two bolts, the washer and the two nuts Fuel Cooled Oil Cooler (FCOC) (79-21-43, 01-390), Fuel Cooled Oil Cooler (FCOC) (79-21-43, 01-395), Fuel Cooled Oil Cooler (FCOC) (79-21-43, 01-385), Fuel Cooled Oil Cooler (FCOC) (79-21-43, 01-392) and Fuel Cooled Oil Cooler (FCOC) (79-21-43, 01-391). Refer to the detail on G1.
Install the bracket Fuel Cooled Oil Cooler (FCOC) (79-21-43, 01-300) at the holes 41 and 42 with the two bolts and the two nuts Fuel Cooled Oil Cooler (FCOC) (79-21-43, 01-315) and Fuel Cooled Oil Cooler (FCOC) (79-21-43, 01-310). Refer to the detail on G2.
Install the brackets at G1 and G2.
Pre SBE 72-0160: Install the bracket EEC Fan Harness And Ignition Supply Harness (71-51-42, 05-280) at the holes 46 and 47 with the two bolts and the two nuts EEC Fan Harness And Ignition Supply Harness (71-51-42, 05-284) and EEC Fan Harness And Ignition Supply Harness (71-51-42, 05-281). Refer to the detail on H.
SBE 72-0160: Install the brackets EEC Fan Harness And Ignition Supply Harness (71-51-42, 05-280) and V2500-A5-71-22-42-15A-941A-D (71-22-42,15-090) at the holes 57 and 57 with the two bolts and the two nuts EEC Fan Harness And Ignition Supply Harness (71-51-42, 05-284) and EEC Fan Harness And Ignition Supply Harness (71-51-42, 05-281). Refer to the detail on H.
Install the brackets EEC Fan Harness And Ignition Supply Harness (71-51-42, 05-080) and EEC Fan Harness And Ignition Supply Harness (71-51-42, 05-090) at the holes 48 and 49 with the two bolts and the two nuts EEC Fan Harness And Ignition Supply Harness (71-51-42, 05-084) and EEC Fan Harness And Ignition Supply Harness (71-51-42, 05-081). Refer to the detail on I.
Install the bracket VIBRATION TRANSDUCER JUNCTION BOX (77-32-43, 05-060) at the holes 50 and 51 with the two bolts and the two nuts VIBRATION TRANSDUCER JUNCTION BOX (77-32-43, 05-064) and VIBRATION TRANSDUCER JUNCTION BOX (77-32-43, 05-061). Refer to the detail on J.
Install the brackets at H, I and J.
SUBTASK 72-00-32-420-179-B00 Install the Brackets at the Flange FB (SBE 70-0152, SBE 72-0160, Pre SBE 75-0047, Pre SBE 75-0081 and SBE 75-0081)
SBE 70-0152: Allow use of EEC bracket shims as required.
SBE 72-0160: Engine - LP Compressor - Provide a new fan case assembly that eliminates the provisions for a transition ring.
SBE 75-0081: Deletion of the HPC stage 10 make-up air valve.
Install the bracket Fan Harness Support Raceways (71-51-50, 01-960) and the packing piece Fan Harness Support Raceways (71-51-50, 01-958) at the holes 3 and 4 with the two bolts and the two nuts Fan Harness Support Raceways (71-51-50, 01-964) and Fan Harness Support Raceways (71-51-50, 01-961). Refer to the detail on A.
Lightly lubricate the holes 16 to 18 with CoMat 10-072 ANTISEIZE COMPOUND (MoDISULFIDE).
Lightly lubricate the bolt shanks Fan Harness Support Raceways (71-51-50, 01-944) and Fan Harness Support Raceways (71-51-50, 01-924) with CoMat 10-073 SYNTHETIC GREASE, MoDISULFIDE.
Install the two support brackets and the bracket Fan Harness Support Raceways (71-51-50, 01-990), Fan Harness Support Raceways (71-51-50, 01-980) and Fan Harness Support Raceways (71-51-50, 01-920) at the holes 16, 17 and 18 with the three bolts Fan Harness Support Raceways (71-51-50, 01-944) and Fan Harness Support Raceways (71-51-50, 01-924), the two washers Fan Harness Support Raceways (71-51-50, 01-945), the spacer Fan Harness Support Raceways (71-51-50, 01-922) and the three nuts Fan Harness Support Raceways (71-51-50, 01-921) and Fan Harness Support Raceways (71-51-50, 01-941).
Install the brackets at A and D.
Install the bracket EEC Fan Harness And Ignition Supply Harness (71-51-42, 05-620) at the holes 5 and 6 with the two bolts and the two nuts EEC Fan Harness And Ignition Supply Harness (71-51-42, 05-628) and EEC Fan Harness And Ignition Supply Harness (71-51-42, 05-624). Refer to the insert in Figure and detail on A1.
SBE 71-0165: Install the bracket at A1.
Attach the bracket EEC Fan Harness And Ignition Supply Harness (71-51-42, 05-890) to the raft EEC Fan Harness And Ignition Supply Harness (71-51-42, 05-910) with the two bolts EEC Fan Harness And Ignition Supply Harness (71-51-42, 05-914). Torque the bolts to 36 to 45 lbf.in (4 to 5 Nm).
Lightly lubricate the holes 11 to 14 with CoMat 10-072 ANTISEIZE COMPOUND (MoDISULFIDE).
Lightly lubricate the bolt shanks EEC Fan Harness And Ignition Supply Harness(71-51-42,05-754) and EEC Fan Harness And Ignition Supply Harness(71-51-42,05-774) with CoMat 10-073 SYNTHETIC GREASE, MoDISULFIDE.
Install the raft assembly and the three brackets EEC Fan Harness And Ignition Supply Harness (71-51-42, 05-750), EEC Fan Harness And Ignition Supply Harness (71-51-42, 05-760) and EEC Fan Harness And Ignition Supply Harness (71-51-42, 05-770) at the holes 12 to 14 with the four bolts, the two washers, the two spacers and the four nuts EEC Fan Harness And Ignition Supply Harness (71-51-42, 05-774), EEC Fan Harness And Ignition Supply Harness (71-51-42, 05-754),EEC Fan Harness And Ignition Supply Harness (71-51-42, 05-752), EEC Fan Harness And Ignition Supply Harness (71-51-42, 05-772), EEC Fan Harness And Ignition Supply Harness (71-51-42, 05-777), EEC Fan Harness And Ignition Supply Harness (71-51-42, 05-779), EEC Fan Harness And Ignition Supply Harness (71-51-42, 05-751), EEC Fan Harness And Ignition Supply Harness (71-51-42, 05-771) and EEC Fan Harness And Ignition Supply Harness (71-51-42, 05-776). Torque the nuts to 85 to 105 lbf.in (10 to 12 Nm).
Attach the raft assembly at the holes 5 and 6 on the flange FB with the two bolts, two washers and the two nuts EEC Fan Harness And Ignition Supply Harness (71-51-42, 05-915), EEC Fan Harness And Ignition Supply Harness (71-51-42, 05-912) and EEC Fan Harness And Ignition Supply Harness (71-51-42, 05-911). Torque the nuts to 85 to 105 lbf.in (10 to 12 Nm).
Install the brackets at B.
Install the two brackets EEC Fan Harness And Ignition Supply Harness (71-51-42, 05-920) and EEC Fan Harness And Ignition Supply Harness (71-51-42, 05-930) at the holes 19 and 20 with the two bolts and the two nuts EEC Fan Harness And Ignition Supply Harness (71-51-42, 05-934) and EEC Fan Harness And Ignition Supply Harness (71-51-42, 05-931).
Install the brackets at E.
Install the two brackets EEC Fan Harness (71-51-41, 05-920) and EEC Fan Harness And Ignition Supply Harness (71-51-42, 05-800) and the packing piece EEC Fan Harness And Ignition Supply Harness (71-51-42, 05-798) at the holes 22, 23 and 24. Attach with the bolt and nut EEC Fan Harness (71-51-41, 05-924) and EEC Fan Harness (71-51-41, 05-921) and the two bolts and nuts EEC Fan Harness And Ignition Supply Harness (71-51-42, 05-805) and EEC Fan Harness And Ignition Supply Harness (71-51-42, 05-801).
Attach the bracket EEC Fan Harness (71-51-41, 05-935) to the bracket EEC Fan Harness And Ignition Supply Harness (71-51-42, 05-800) with the two bolts EEC Fan Harness (71-51-41, 05-938).
Torque the three nuts to 85 to 105 lbf.in (10 to 12 Nm). Torque the two bolts EEC Fan Harness (71-51-41, 05-938) to 36 to 45 lbf.in (4 to 5 Nm).
Install the brackets at E1.
Install the bracket EEC Fan Harness (71-51-41, 05-920) at the holes 26 and 27 with the two bolts and the two nuts EEC Fan Harness (71-51-41, 05-924) and EEC Fan Harness (71-51-41, 05-921). Refer to the detail on F.
Install the two brackets EEC Fan Harness (71-51-41, 05-890) and EEC Fan Harness (71-51-41, 05-920) at the holes 29 and 30 with the two bolts and the two nuts EEC Fan Harness (71-51-41, 05-894) and EEC Fan Harness (71-51-41, 05-891). Refer to the detail on G.
Install the bracket EEC Fan Harness (71-51-41, 05-890) at the holes 32 and 33 with the two bolts and the two nuts EEC Fan Harness (71-51-41, 05-894) and EEC Fan Harness (71-51-41, 05-891). Refer to the detail on H.
Install the brackets at F, G and H.
Install the bracket EEC Fan Harness (71-51-41, 05-870) and the bracket EEC Fan Harness (71-51-41, 05-890) at the holes 55 to 57 with the three bolts and the three nuts EEC Fan Harness (71-51-41, 05-874), EEC Fan Harness (71-51-41, 05-871) and EEC Fan Harness (71-51-41, 05-894), EEC Fan Harness (71-51-41, 05-891). Refer to the detail on I.
Install the two brackets EEC Fan Harness (71-51-41, 05-760) and EEC Fan Harness (71-51-41, 05-910) at the holes 59 and 61 with the two bolts and the two nuts EEC Fan Harness (71-51-41, 05-914) and EEC Fan Harness (71-51-41, 05-911). Refer to the detail on J.
Install the brackets at I and J.
Install the two brackets EEC Fan Harness (71-51-41, 05-890) at the holes 67 and 68 with the two bolts and the two nuts EEC Fan Harness (71-51-41, 05-894) and EEC Fan Harness (71-51-41, 05-891). Refer to the detail on K.
Install the two brackets EEC Fan Harness (71-51-41, 05-880) and EEC Fan Harness (71-51-41, 05-890) at the holes 71 and 72 with the two bolts and the two nuts EEC Fan Harness (71-51-41, 05-884) and EEC Fan Harness (71-51-41, 05-881). Refer to the detail on L.
Install the brackets at K and L.
Install the two brackets EEC Fan Harness (71-51-41, 05-840) and EEC Fan Harness (71-51-41, 05-920) at the holes 74 to 76 with the three bolts and the three nuts EEC Fan Harness (71-51-41, 05-844), EEC Fan Harness (71-51-41, 05-841) and EEC Fan Harness (71-51-41, 05-924), EEC Fan Harness (71-51-41, 05-921). Refer to the detail on M.
Install the bracket EEC Fan Harness (71-51-41, 05-850) and the packing piece EEC Fan Harness (71-51-41, 05-855) at the holes 79 and 80 with the two bolts and the two nuts EEC Fan Harness (71-51-41, 05-854) and EEC Fan Harness (71-51-41, 05-851). Refer to the detail on N.
Install the brackets at M and N.
Install the bracket General Services Harness (71-51-43, 05-830) at the holes 83 and 84 with the two bolts and the two nuts General Services Harness (71-51-43, 05-834) and General Services Harness (71-51-43, 05-831). Refer to the detail on P.
Install the bracket General Services Harness (71-51-43, 05-970) and the packing piece General Services Harness (71-51-43, 05-968) at the holes 85 and 86, with the two bolts and the two nuts General Services Harness (71-51-43, 05-974) and General Services Harness (71-51-43, 05-971). Refer to the detail on Q.
Install the brackets at P and Q.
Install the two brackets and the bracket General Services Harness (71-51-43, 05-960) (GP2) and General Services Harness (71-51-43, 05-970) and the packing piece General Services Harness (71-51-43, 05-968) at the holes 92 and 93 with the two bolts and the two nuts General Services Harness (71-51-43, 05-964) and General Services Harness (71-51-43, 05-961). Refer to the detail on R.
Measure the electrical resistance between the bracket (GP2) and the flange FA1, it must not be more than 0.005 ohms. If the electrical resistance is more than 0.005 ohms, clean the area again as necessary, refer to Step.
Install the two brackets General Services Harness (71-51-43, 05-890) and General Services Harness (71-51-43, 05-800) and the packing piece General Services Harness (71-51-43, 05-798) at the holes 104 and 105 with the two bolts General Services Harness (71-51-43, 05-804). Refer to the detail on S.
Install the brackets at R and S.
Install the two brackets General Services Harness (71-51-43, 05-790) and General Services Harness (71-51-43, 05-980) (GP1) and the two packing pieces General Services Harness (71-51-43, 05-788) and General Services Harness (71-51-43, 05-798) at the holes 115 and 116 with the two bolts and the two nuts General Services Harness (71-51-43, 05-794) and General Services Harness (71-51-43, 05-791). Refer to the detail on T.
Measure the electrical resistance between the bracket (GP1) and the flange FA1, it must not be more than 0.005 ohms. If the electrical resistance is more than 0.005 ohms, clean the area again as necessary, refer to Step.
Install the brackets at T.
Attach the two attachment angles General Services Harness (71-51-43, 05-870) and General Services Harness (71-51-43, 05-880) to the raft General Services Harness (71-51-43, 05-990) with the four bolts General Services Harness (71-51-43, 05-994). Torque the bolts to 85 to 105 lbf.in (10 to 12 Nm).

WARNING
WHEN YOU USE CoMat 01-002 SOLVENT, DELETED. YOU MUST USE THE NECESSARY PROTECTIVE CLOTHING. DO NOT GET THE SOLVENT ON YOUR SKIN OR IN YOUR EYES. YOU MUST NOT SMOKE WHEN YOU USE THE SOLVENT AS THE VAPOR CHANGES AND BECOMES TOXIC.Clean the forward side of the flange FB at hole 43 and the mating surfaces of the bonding strap and the washer Fuel Cooled Oil Cooler (FCOC) (79-21-43, 01-250) and OIL-SCAVENGE OIL TUBES-ENGINE (79-22-49, 13-902) with CoMat 01-002 SOLVENT, DELETED.. Use a clean cloth made moist with the solvent to remove the grease, fingerprints and the unwanted material.
Install the raft assembly at the holes 117 and 119 with the two bolts, the two washers and the two nuts General Services Harness (71-51-43, 05-884), General Services Harness (71-51-43, 05-882) and General Services Harness (71-51-43, 05-881).
Install the raft assembly, the bracket OIL-SCAVENGE OIL TUBES-ENGINE (79-22-49, 13-900) and the bonding strap Fuel Cooled Oil Cooler (FCOC) (79-21-43, 01-250) at the holes 43 and 45 on the flange FB with the two bolts, two washers and nuts OIL-SCAVENGE OIL TUBES-ENGINE (79-22-49, 13-904), OIL-SCAVENGE OIL TUBES-ENGINE (79-22-49, 13-902) and OIL-SCAVENGE OIL TUBES-ENGINE (79-22-49, 13-901).
Install the brackets at U.
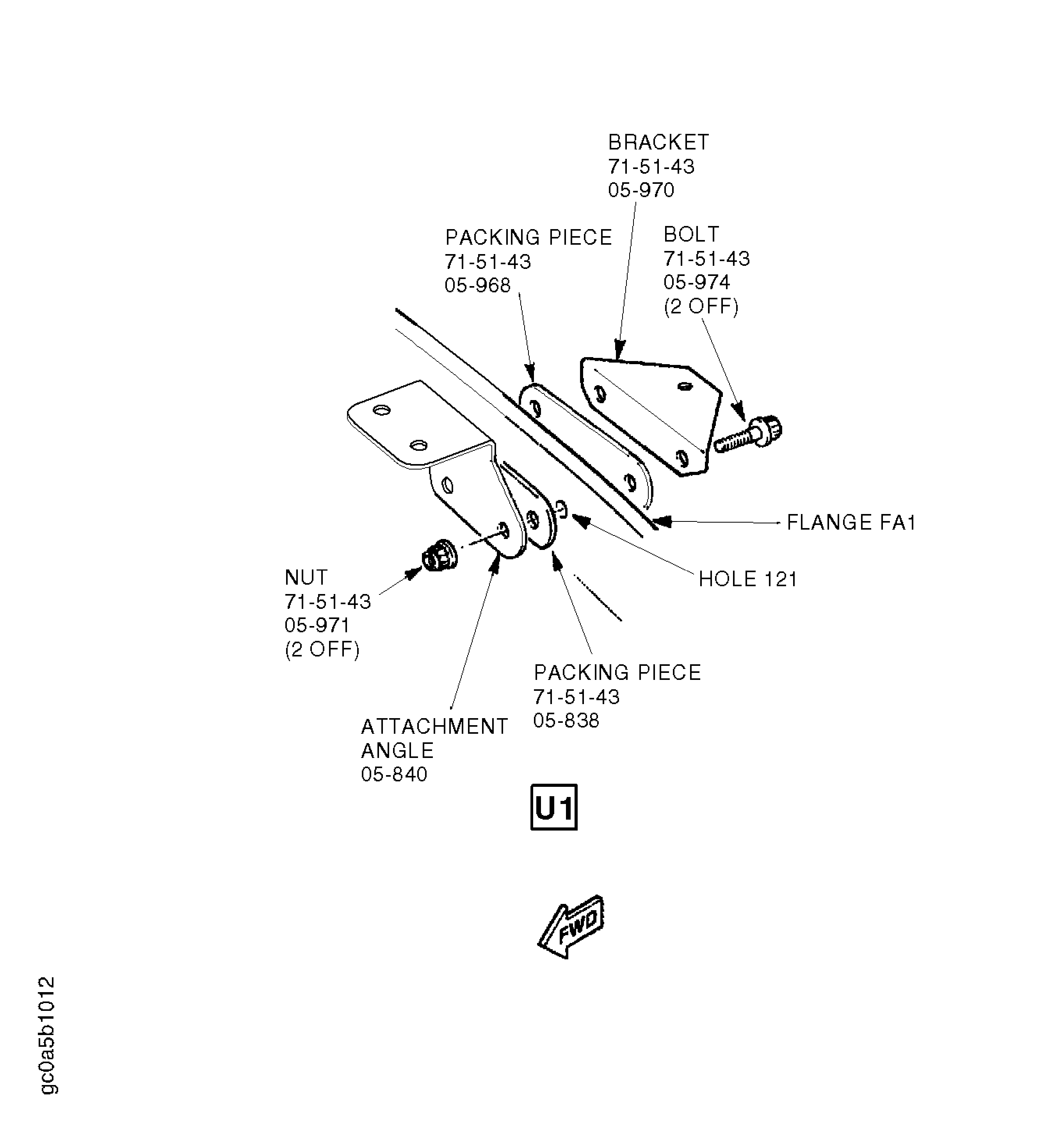
Install the attachment angle, the bracket General Services Harness (71-51-43, 05-840) and General Services Harness (71-51-43, 05-970) and the two packing pieces General Services Harness (71-51-43, 05-838) and General Services Harness (71-51-43, 05-968) at holes 121 and 122 with the two bolts and the two nuts General Services Harness (71-51-43, 05-974) and General Services Harness (71-51-43, 05-971).
Torque the nuts installed in Step to 85 to 105 lbf.in (10 to 12 Nm).
Install the bracket at U1.
Pre SBE 72-0160: Install the bracket General Services Harness (71-51-43, 05-970) at the holes 124 and 125 with the two bolts and the two nuts General Services Harness (71-51-43, 05-974) and General Services Harness (71-51-43, 05-971). Refer to the detail on V.
SBE 72-0160: Install the brackets General Services Harness (71-51-43, 05-970) and Bearing Compartment Cooling And Sealing Air Tubes (75-22-49, 16-070) at the holes 123, 124 and 125 with the two bolts and the two nuts General Services Harness (71-51-43, 05-998) and General Services Harness (71-51-43, 05-996) and the bolt and the nut Bearing Compartment Cooling And Sealing Air Tubes (75-22-49, 16-072) and Bearing Compartment Cooling And Sealing Air Tubes (75-22-49, 16-074). Refer to the detail on V.
Pre SBE 72-0160: Install the bracket General Services Harness (71-51-43, 05-985) at the holes 130 and 131 with the two bolts and the two nuts General Services Harness (71-51-43, 05-989) and General Services Harness (71-51-43, 05-987). Refer to the detail on X.
SBE 72-0160: Install the brackets General Services Harness (71-51-43, 05-985) and Bearing Compartment Cooling And Sealing Air Tubes (75-22-49, 15-095) at the holes 130 and 131 with the two bolts and the two nuts General Services Harness (71-51-43, 05-989) and General Services Harness (71-51-43, 05-987). Refer to the detail on X.
Install the bracket General Services Harness (71-51-43, 05-970), the bracket EEC Fan Harness And Ignition Supply Harness (71-51-42, 05-850) and the packing piece General Services Harness (71-51-43, 05-968) at the holes 135 to 137 with the three bolts and the three nuts General Services Harness (71-51-43, 05-974), General Services Harness (71-51-43, 05-971) and EEC Fan Harness And Ignition Supply Harness (71-51-42, 05-854), EEC Fan Harness And Ignition Supply Harness (71-51-42, 05-851). Refer to the detail on Y.
Install the bracket Fan Harness Support Raceways (71-51-50, 01-974) at the holes 141 and 142 with the two bolts and the two nuts Fan Harness Support Raceways (71-51-50, 01-978) and Fan Harness Support Raceways (71-51-50, 01-976). Refer to the detail on Z.
Install the brackets at V, X, Y and Z.
Install the bracket EEC Fan Harness And Ignition Supply Harness (71-51-42, 05-610) at the holes 143 and 144 with the two bolts and the two nuts EEC Fan Harness And Ignition Supply Harness (71-51-42, 05-638) and EEC Fan Harness And Ignition Supply Harness (71-51-42, 05-634). Refer to the insert in Figure and detail on Z1.
Attach the bracket EEC Fan Harness And Ignition Supply Harness (71-51-42, 05-610) to the flange FB with the two bolts and the two nuts EEC Fan Harness And Ignition Supply Harness (71-51-42, 05-616) and EEC Fan Harness And Ignition Supply Harness (71-51-42, 05-618). Refer to the insert in Figure and detail on Z1.
SBE 71-0165: Install the bracket at Z1.
SUBTASK 72-00-32-420-180 Install the Brackets at the Flange FA1 (SBE 71-0165, Pre SBE 72-0160 and SBE 72-0160)
SBE 71-0165: Introduction of a new EEC and Ignition Supply Harness (for controlled service use).
SBE 72-0160: Engine - LP Compressor - Provide a new fan case assembly that eliminates the provisions for a transition ring.
Lightly lubricate the bracket Anti-Ice Ducts (30-21-49, 01-200) bolt holes with CoMat 10-072 ANTISEIZE COMPOUND (MoDISULFIDE).
Lightly lubricate the bolt Anti-Ice Ducts (30-21-49, 01-205) shanks with CoMat 10-073 SYNTHETIC GREASE, MoDISULFIDE.
Attach the bracket Anti-Ice Ducts (30-21-49, 01-200) to the raft Fan Harness Support Raceways (71-51-50, 01-900) with the two bolts Anti-Ice Ducts (30-21-49, 01-205).
Attach the bracket Fan Harness Support Raceways (71-51-50, 01-880) to the raft with the two bolts Fan Harness Support Raceways (71-51-50, 01-904). Torque the bolts to 85 to 105 lbf.in (10 to 12 Nm).
NOTE
There are two type of nuts for Fan Harness Support Raceways (71-51-50, 01-881) and Fan Harness Support Raceways (71-51-50, 01-891) bihexagon and hexagon. The hexagon nut has a dry film lubricant, it is not necessary to lubricate their bolts.Install the raft assembly and the packing piece Fan Harness Support Raceways (71-51-50, 01-883) at the holes 3 and 4 with the two screws, the two washers and the two nuts Fan Harness Support Raceways (71-51-50, 01-884), Fan Harness Support Raceways (71-51-50, 01-882) and Fan Harness Support Raceways (71-51-50, 01-881).
Attach the raft assembly and the bracket Fan Harness Support Raceways (71-51-50, 01-890) at the holes 8 and 9 on the flange FA1 with the two bolts and the two nuts Fan Harness Support Raceways (71-51-50, 01-894) and Fan Harness Support Raceways (71-51-50, 01-891).
Install the brackets at A.
Install the two brackets Fuel System Air Tubes (73-22-49, 08-070) at the holes 6, 8 and 19, 20 with the four screws and the four nuts Fuel System Air Tubes (73-22-49, 08-074) and Fuel System Air Tubes (73-22-49, 08-071). Hold the four screws with the ACR Torq-Set bit 212-1/4-ACR 1 off and torque the four nuts to 85 to 105 lbf.in (10 to 12 Nm).
Install the brackets at B and F.
Install the two brackets Fuel System Air Tubes (73-22-49, 08-060) at the holes 10, 11 and 13, 14 with the four screws and the four nuts Fuel System Air Tubes (73-22-49, 08-064) and Fuel System Air Tubes (73-22-49, 08-061). Hold the four screws with the ACR Torq-Set bit 212-1/4-ACR 1 off and torque the four nuts to 85 to 105 lbf.in (10 to 12 Nm).
Install the brackets at C and D.
Install the bracket Fuel System Air Tubes (73-22-49, 08-030) at the holes 22 and 23 with the two screws and the two nuts Fuel System Air Tubes (73-22-49, 08-034) and Fuel System Air Tubes (73-22-49, 08-031). Hold the two screws with the ACR Torq-Set bit 212-1/4-ACR 1 off and torque the two nuts to 85 to 105 lbf.in (10 to 12 Nm).
Install the bracket at G.
NOTE
There are two type of nuts for General Services Harness (71-51-43, 05-821) and General Services Harness (71-51-43, 05-911) bihexagon and hexagon. The hexagon nut has a dry film lubricant, it is not necessary to lubricate their bolts.Install the bracket General Services Harness (71-51-43, 05-820) and the packing piece General Services Harness (71-51-43, 05-823) at the holes 30 and 31 with the two screws, the two washers and the two nuts General Services Harness (71-51-43, 05-824), General Services Harness (71-51-43, 05-822) and General Services Harness (71-51-43, 05-821). Refer to the detail on H.
Install the bracket General Services Harness (71-51-43, 05-900) and General Services Harness (71-51-43, 05-910) and the packing piece General Services Harness (71-51-43, 05-913) at the holes 36 and 37 with the two screws, the two washers and the two nuts General Services Harness (71-51-43, 05-914), General Services Harness (71-51-43, 05-912) and General Services Harness (71-51-43, 05-911). Refer to the detail on J.
Install the brackets at H and J.
Pre SBE 75-0081: Install the attachment angle and the packing piece AIR-STAGE 10 AIR SOLENOID VALVE (75-23-52, 01-650) and AIR-STAGE 10 AIR SOLENOID VALVE (75-23-52, 01-653) to the holes 33 and 34 with the two screws and the two nuts AIR-STAGE 10 AIR SOLENOID VALVE (75-23-52, 01-654) and AIR-STAGE 10 AIR SOLENOID VALVE (75-23-52, 01-651). Torque the nuts to 85 to 105 lbf.in (10 to 12 Nm). Refer to the detail on I.
SBE 75-0081: Install the attachment angle AIR-HPC STAGE 10 SOLENOID VALVE (75-32-53, 01-650) and the packing piece AIR-HPC STAGE 10 SOLENOID VALVE (75-32-53, 01-653) to the holes 33 and 34 with the two screws AIR-HPC STAGE 10 SOLENOID VALVE (75-32-53, 01-654) and the two nuts AIR-HPC STAGE 10 SOLENOID VALVE (75-32-53, 01-651). Torque the nuts to 85 to 105 lbf.in (10 to 12 Nm). Refer to the detail on I.
Pre SBE 75-0081: Attach the link bracket and the raft AIR-STAGE 10 AIR SOLENOID VALVE (75-23-52, 01-570) and AIR-STAGE 10 AIR SOLENOID VALVE (75-23-52, 01-600) to the attachment angle with the two bolts AIR-STAGE 10 AIR SOLENOID VALVE (75-23-52, 01-573) and AIR-STAGE 10 AIR SOLENOID VALVE (75-23-52, 01-574).
SBE 75-0081: Attach the link bracket AIR-HPC STAGE 10 SOLENOID VALVE (75-32-53, 01-570) and the raft AIR-HPC STAGE 10 SOLENOID VALVE (75-32-53, 01-600) to the attachment angle with the two bolts AIR-HPC STAGE 10 SOLENOID VALVE (75-32-53, 01-573) and AIR-HPC STAGE 10 SOLENOID VALVE (75-32-53, 01-574).
Pre SBE 75-0081: Attach the raft AIR-STAGE 10 AIR SOLENOID VALVE (75-23-52, 01-600) to the holes 51 and 52 on the flange FA1 with the two bolts and the two nuts AIR-STAGE 10 AIR SOLENOID VALVE (75-23-52, 01-612) and AIR-STAGE 10 AIR SOLENOID VALVE (75-23-52, 01-610).
SBE 75-0081: Attach the raft AIR-HPC STAGE 10 SOLENOID VALVE (75-32-53, 01-600) to the holes 51 and 52 on the flange FA1 with the two bolts AIR-HPC STAGE 10 SOLENOID VALVE (75-32-53, 01-612) and the two nuts AIR-HPC STAGE 10 SOLENOID VALVE (75-32-53, 01-610).
Pre SBE 75-0081: Install the bracket AIR-STAGE 10 AIR SOLENOID VALVE (75-23-52, 01-500). Refer to Step or 72-00-32-420-179-B00, at the detail on G.
SBE 75-0081: Install the bracket AIR-HPC STAGE 10 SOLENOID VALVE (75-32-53, 01-500). Refer to Step or 72-00-32-420-179-B00, at the detail on G.
Install the brackets at I.
NOTE
There are two type of nuts for General Services Harness (71-51-43, 05-921) and General Services Harness (71-51-43, 05-941) bihexagon and hexagon. The hexagon nut has a dry film lubricant, it is not necessary to lubricate their bolts.Install the bracket (GP4) General Services Harness (71-51-43, 05-920) and the packing piece General Services Harness (71-51-43, 05-923) at the holes 39 and 41 with the two screws, the two washers and the two nuts General Services Harness (71-51-43, 05-924), General Services Harness (71-51-43, 05-922) and General Services Harness (71-51-43, 05-921). Refer to the detail on K.
Install the bracket (GP3) General Services Harness (71-51-43, 05-940) and the packing piece General Services Harness (71-51-43, 05-943) at the holes 46 and 47 with the two screws, the two washers and the two nuts General Services Harness (71-51-43, 05-944), General Services Harness (71-51-43, 05-942) and General Services Harness (71-51-43, 05-941). Refer to the detail on M.
Measure the electrical resistance between the brackets (GP3 and GP4) and the flange FA, it must not be more than 0.005 ohms. If the electrical resistance is more than 0.005 ohms, clean the area again as necessary, refer to Step.
Install the brackets at K and M.
NOTE
There are two type of nuts for General Services Harness (71-51-43, 05-931) bihexagon and hexagon. The hexagon nut has a dry film lubricant, it is not necessary to lubricate their bolts.Install the bracket General Services Harness (71-51-43, 05-930) and the packing piece General Services Harness (71-51-43, 05-933) at the holes 43 and 44 with the two screws, the two washers and the two nuts General Services Harness (71-51-43, 05-934), General Services Harness (71-51-43, 05-932) and General Services Harness (71-51-43, 05-931).
Attach the raft General Services Harness (71-51-43, 05-950) to the bracket General Services Harness (71-51-43, 05-930) with the two bolts General Services Harness (71-51-43, 05-954). Torque the bolts to 36 to 45 lbf.in (4 to 5 Nm).
Install the raft, the bracket EEC Fan Harness (71-51-41, 05-890) and the packing piece General Services Harness (71-51-43, 05-948) at the holes 63 to 65 on the flange FA1 with the three bolts EEC Fan Harness (71-51-41, 05-894), EEC Fan Harness (71-51-41, 05-895) and General Services Harness (71-51-43, 05-955) and the two nuts EEC Fan Harness (71-51-41, 05-891) and nut General Services Harness (71-51-43, 05-952).
Install the brackets at L.
NOTE
There are two type of nuts for EEC Fan Harness (71-51-41, 05-731) bihexagon and hexagon. The hexagon nut has a dry film lubricant, it is not necessary to lubricate their bolts.Install the attachment angle EEC Fan Harness (71-51-41, 05-730) and the packing piece EEC Fan Harness (71-51-41, 05-733) at the holes 56 and 57 with the two screws, two washers and the two nuts EEC Fan Harness (71-51-41, 05-734), EEC Fan Harness(71-51-41, 05-732) and EEC Fan Harness (71-51-41, 05-731).
Install the attachment angle EEC Fan Harness (71-51-41, 05-720) and the packing piece EEC Fan Harness (71-51-41, 05-718) at the holes 88 and 90 on the flange FA1 with the two bolts and the two nuts EEC Fan Harness (71-51-41, 05-724) and V2500-A5-71-51-40-05A-941A-D (71-51-40, 05-721).
Attach the raft and bracket EEC Fan Harness (71-51-41, 05-710) and EEC Fan Harness (71-51-41, 05-720) to the two attachment angles with the two bolts EEC Fan Harness (71-51-41, 05-714) and the two bolts EEC Fan Harness (71-51-41, 05-715). Torque the bolts to 85 to 105 lbf.in (10 to 12 Nm).
Install the brackets at N.
NOTE
There are two type of nuts for OIL-SCAVENGE OIL TUBES-ENGINE (79-22-49, 14-901) and OIL-SCAVENGE OIL TUBES-ENGINE (79-22-49, 14-881) bihexagon and hexagon. The hexagon nut has a dry film lubricant, it is not necessary to lubricate their bolts.Install the attachment angle OIL-SCAVENGE OIL TUBES-ENGINE (79-22-49, 14-880) and the packing piece OIL-SCAVENGE OIL TUBES-ENGINE (79-22-49, 14-883) at the holes 60 and 61 with the two screws, the two washers and the two nuts OIL-SCAVENGE OIL TUBES-ENGINE (79-22-49, 14-884), OIL-SCAVENGE OIL TUBES-ENGINE (79-22-49, 14-882) and OIL-SCAVENGE OIL TUBES-ENGINE (79-22-49, 14-881). Torque the nuts to 85 to 105 lbf.in (10 to 12 Nm).
Attach the raft OIL-SCAVENGE OIL TUBES-ENGINE (79-22-49, 14-900) to the attachment angle with the two bolts OIL-SCAVENGE OIL TUBES-ENGINE (79-22-49, 14-904). Torque the bolts to 85 to 105 lbf.in (10 to 12 Nm).
Attach the raft and install the bracket General Services Harness (71-51-43, 05-970) and the two packing pieces OIL-SCAVENGE OIL TUBES-ENGINE (79-22-49, 14-898) and General Services Harness (71-51-43, 05-768) at the holes 97 to 99 on the flange FA1 with the two bolts and nuts General Services Harness (71-51-43, 05-774), General Services Harness (71-51-43, 05-771) and the bolt and nut OIL-SCAVENGE OIL TUBES-ENGINE (79-22-49, 14-903) and OIL-SCAVENGE OIL TUBES-ENGINE (79-22-49, 14-901). Torque the nut OIL-SCAVENGE OIL TUBES-ENGINE (79-22-49, 14-901) and the nuts General Services Harness (71-51-43, 05-971) to 85 to 105 lbf.in (10 to 12 Nm).
Install the brackets at O.
NOTE
There are two type of nuts for General Services Harness (71-51-43, 05-786 and General Services Harness 71-51-43, 05-861) bihexagon and hexagon. The hexagon nut has a dry film lubricant, it is not necessary to lubricate their bolts.Install the attachment angle General Services Harness (71-51-43, 05-780) and the packing piece General Services Harness (71-51-43, 05-782) at the holes 65 and 66 with the two screws, the two washers and the two nuts General Services Harness (71-51-43, 05-784), General Services Harness (71-51-43, 05-785) and General Services Harness (71-51-43, 05-786).
Install the attachment angle General Services Harness (71-51-43, 05-860) and the packing piece General Services Harness (71-51-43, 05-858) at the holes 109 and 110 on the flange FA1 with the two bolts and the two nuts General Services Harness (71-51-43, 05-864) and General Services Harness (71-51-43, 05-861).
Attach the raft General Services Harness (71-51-43, 05-866) to the two attachment angles with the four bolts General Services Harness (71-51-43, 05-868). Torque the bolts to 85 to 105 lbf.in (10 to 12 Nm).
Install the brackets at P.
SUBTASK 72-00-32-420-181 Install the Brackets at the Flange FA (Pre SBE 75-0081 and SBE 75-0081)
SBE 75-0081: Deletion of the HPC stage 10 make-up air valve.
Figure: Identify the LP Compressor/Intermediate Case Module
Identify the LP Compressor/Intermediate Case Module

Figure: The LP Compressor/Intermediate Case Module Flanges
The LP Compressor/Intermediate Case Module Flanges

Figure: Install the Ignition Exciter Cooling Air Inlet Fittings
Install the Ignition Exciter Cooling Air Inlet Fittings

Figure: Install the Bifurcation Panel
Install the Bifurcation Panel

Figure: Install the Open Latch Indicator
Install the Open Latch Indicator

Figure: Install the Brackets at the Flange FE
Sheet 1

Figure: Install the Brackets at the Flange FE
Sheet 2

Figure: Install the Brackets at the Flange FE
Sheet 3

Figure: Install the Brackets at the Flange FE
Sheet 4

Figure: Install the Brackets at the Flange FE
Sheet 5

Figure: Install the Brackets at the Flange FE
Sheet 6

Figure: Install the Brackets at the Flange FE
Install the Brackets at the Flange FE

Figure: Install the Brackets at the Flange FD
Sheet 1

Figure: Install the Brackets at the Flange FD
Sheet 2

Figure: Install the Brackets at the Flange FD
Sheet 3

Figure: Install the Brackets at the Flange FD
Sheet 4

Figure: Install the Brackets at the Flange FD
Sheet 5

Figure: Install the Brackets at the Flange FD
Sheet 6

Figure: Install the Brackets at the Flange FD
Sheet 7

Figure: Install the Brackets at the Flange FD
Sheet 8

Figure: Install the Brackets at the Flange FD
Sheet 9

Figure: Install the Brackets at the Flange FD
Sheet 10

Figure: Install the Brackets at the Flange FC
Sheet 1

Figure: Install the Brackets at the Flange FC
Sheet 2

Figure: Install the Brackets at the Flange FC
Sheet 3

Figure: Install the Brackets at the Flange FC
Sheet 4

Figure: Install the Brackets at the Flange FC
Sheet 5

Figure: Install the Brackets at the Flange FB
Sheet 1

Figure: Install the Brackets at the Flange FB
Sheet 2

Figure: Install the Brackets at the Flange FB
Sheet 3

Figure: Install the Brackets at the Flange FB
Sheet 4

Figure: Install the Brackets at the Flange FB
Sheet 5

Figure: Pre SBE 75-0036 and Pre SBE 75-0047: Install the Brackets at the Flange FB
Sheet 6

Figure: SBE 75-0036 and Pre SBE 75-0047: Install the Brackets at the Flange FB
Sheet 7

Figure: SBE 75-0047: Install the Brackets at the Flange FB
Sheet 8

Figure: Install the Brackets at the Flange FB
Sheet 9

Figure: Install the Brackets at the Flange FB
Sheet 10

Figure: Install the Brackets at the Flange FB
Sheet 11

Figure: Install the Brackets at the Flange FB
Sheet 12

Figure: Install the Brackets at the Flange FA1
Sheet 1

Figure: Install the Brackets at the Flange FA1
Sheet 2

Figure: Install the Brackets at the Flange FA1
Sheet 3

Figure: Install the Brackets at the Flange FA1
Sheet 4

Figure: Install the Brackets at the Flange FA1
Sheet 5

Figure: Install the Brackets at the Flange FA1
Sheet 6

Figure: Install the Brackets at the Flange FA1
Sheet 7

Figure: Install the Brackets at the Flange FA1
Sheet 8

Figure: Install the Brackets at the Flange FA1
Sheet 9

Figure: Install the Brackets at the Flange FA1
Sheet 10

Figure: Install the Brackets at the Flange FA1
Sheet 11

Figure: Install the Brackets at the Flange FA1
Sheet 12

Figure: SBE 71-0165: Install the Brackets at the Flange FA1
Sheet 13

Figure: SBE 71-0165: Install the Brackets at the Flange FA1
Sheet 14

Figure: Install the Bracket at the Flange FA1
Sheet 15

Figure: Install the Brackets at the Flange FA
Sheet 1

Figure: Install the Brackets at the Flange FA
Sheet 2

Figure: Install the Brackets at the Flange FA
Sheet 3

Figure: Install the Brackets at the Flange FA
Sheet 4

Figure: Install the Brackets at the Flange FA
Sheet 5

Figure: Install the Brackets at the Flange FA
Sheet 6

Figure: Install the Brackets at the Flange FA
Sheet 7

Figure: Install the Brackets at the Flange FA
Sheet 8

Figure: Install the Brackets at the Flange FA
Sheet 9

Figure: Install the Brackets at the Flange FA
Sheet 10

