Export Control
EAR Export Classification: Not subject to the EAR per 15 C.F.R. Chapter 1, Part 734.3(b)(3), except for the following Service Bulletins which are currently published as EAR Export Classification 9E991: SBE70-0992, SBE72-0483, SBE72-0580, SBE72-0588, SBE72-0640, SBE73-0209, SBE80-0024 and SBE80-0025.Copyright
© IAE International Aero Engines AG (2001, 2014 - 2021) The information contained in this document is the property of © IAE International Aero Engines AG and may not be copied or used for any purpose other than that for which it is supplied without the express written authority of © IAE International Aero Engines AG. (This does not preclude use by engine and aircraft operators for normal instructional, maintenance or overhaul purposes.).Applicability
V2500-A5
Common Information
TASK 72-00-32-420-003-B00 LPC/Intermediate Case Module - Install The Tubes And Electrical Harness Raceways, Installation-003
General
Refer to the TASKS which follow for the other related procedures.
Install the LP compressor/intermediate case brackets and the bifurcation panel by TASK 72-00-32-420-001.
Install the LP compressor/intermediate case components by TASK 72-00-32-420-002.
Install the LP compressor/intermediate case electrical harnesses by TASK 72-00-32-420-004.
Install the pneumatic starter duct, the thermal anti-ice (TAI) duct, the hydraulic tubes, and the EEC cooling ducts to the LP compressor/intermediate case module by TASK 72-00-32-420-005.
Fig/item numbers in parentheses in the procedure agree with those used in the IPC. Only the primary Fig/item numbers are used. For the service bulletin alpha variants refer to the IPC.
Lubricate all threads and abutment faces of nuts and bolts with CoMat 10-077 APPROVED ENGINE OILS unless other lubricants are referred to in the procedure.
Refer to TASK 72-00-32-420-001 for the position on a raft or bracket of a particular clip position.
Transportation covers/blanks must be removed immediately before the installation of the tubes to the components or the other tubes.
For lockwire data refer to SPM TASK 70-42-05-400-501.
For safety cable data and procedures refer to SPM TASK 70-42-08-400-501.
Safety the threaded fasteners in the ATA Chapter/Section/Subject 73-22-49 as applicable with CoMat 02-274 SAFETY CABLE KIT or CoMat 02-275 SAFETY CABLE KIT.
To identify, lubricate and install seal rings refer to SPM TASK 70-44-00-400-501.
For the torque tightening procedures, refer to SPM TASK 70-41-00-400-501 and the SPM TASK 70-41-01-400-501.
Special torque data and assembly tolerances are included in this procedure.
Special torque data is identified with the symbol * after the torque value.
After assembly apply CoMat 07-038 AIR DRYING ENAMEL to any damaged surface protection, joint flanges and attach parts. Use the correct color of the air drying enamel. Refer to SPM TASK 70-38-21-380-501.
The number for each radial location must be identified in a clockwise direction. These start at the engine top position when you look from the rear of the engine, unless stated differently in the procedure.
NOTE
Preliminary Requirements
Pre-Conditions
NONESupport Equipment
| Name | Manufacturer | Part Number / Identification | Quantity | Remark |
|---|---|---|---|---|
| IAE 1R18001 Wrench | 0AM53 | IAE 1R18001 | 1 | |
| IAE 1R18002 Wrench | 0AM53 | IAE 1R18002 | 1 | |
| IAE 1R18003 Wrench | 0AM53 | IAE 1R18003 | 1 |
Consumables, Materials and Expendables
| Name | Manufacturer | Part Number / Identification | Quantity | Remark |
|---|---|---|---|---|
| CoMat 01-002 SOLVENT, DELETED. | X111X | CoMat 01-002 | ||
| CoMat 02-099 LINT-FREE CLOTH | LOCAL | CoMat 02-099 | ||
| CoMat 02-126 LOCKWIRE | LOCAL | CoMat 02-126 | ||
| CoMat 02-274 SAFETY CABLE KIT | LOCAL | CoMat 02-274 | ||
| CoMat 02-275 SAFETY CABLE KIT | LOCAL | CoMat 02-275 | ||
| CoMat 04-019 Anti-sieze Thread Compound | IE539 | CoMat 04-019 | ||
| CoMat 05-016 GARNET PAPER, 80-GRIT | LOCAL | CoMat 05-016 | ||
| CoMat 05-017 GARNET PAPER, 60 GRIT | LOCAL | CoMat 05-017 | ||
| CoMat 07-038 AIR DRYING ENAMEL | k3504 | CoMat 07-038 | ||
| CoMat 08-013 COLD CURING SILICONE COMPOUND | X222X | CoMat 08-013 | ||
| CoMat 08-014 PRIMER, SILICONE ADHESIVE/SEALANT | LOCAL | CoMat 08-014 | ||
| CoMat 08-032 PRIMER | 71984 | CoMat 08-032 | ||
| CoMat 08-074 SEALANT, RTV SILICONE | 01139 | CoMat 08-074 | ||
| CoMat 10-038 PETROLEUM JELLY | LOCAL | CoMat 10-038 | ||
| CoMat 10-039 ENGINE OIL | LOCAL | CoMat 10-039 | ||
| CoMat 10-060 LIQUID PARAFFIN | LOCAL | CoMat 10-060 | ||
| CoMat 10-073 SYNTHETIC GREASE, MoDISULFIDE | LOCAL | CoMat 10-073 | ||
| CoMat 10-077 APPROVED ENGINE OILS | X333X | CoMat 10-077 |
Spares
Safety Requirements
NONEProcedure
Refer to Figure.
Install the raceway to the bracket EEC Fan Harness And Ignition Supply Harness (71-51-42, 05-090) at the flange FB with the bolt and the clipnut EEC Fan Harness And Ignition Supply Harness (71-51-42, 05-101 and 05-108).
SUBTASK 72-00-32-420-182 Install the EEC and Ignition Supply Harness Raceway (05-100)
Refer to Figure.
Install the raceway to the bracket VIBRATION TRANSDUCER JUNCTION BOX (77-32-43, 05-080) at the flange FB with the bolt and the nut VIBRATION TRANSDUCER JUNCTION BOX (77-32-43, 05-109 and 05-116).
SUBTASK 72-00-32-420-183 Install the Vibration Harness Raceway (05-100)
Refer to Figure.
Install the raceway to the bracket EEC Fan Harness And Ignition Supply Harness (71-51-42, 05-830) at the flange FC with the bolt and the nut EEC Fan Harness And Ignition Supply Harness (71-51-42, 05-309 and 05-316).
Install the raceway to the bracket EEC Fan Harness And Ignition Supply Harness (71-51-42, 05-280) at the flange FB with the bolt and the nut EEC Fan Harness And Ignition Supply Harness (71-51-42, 05-301 and 05-308).
SUBTASK 72-00-32-420-184 Install the Vibration Transducer Raceway (05-300)
Lubricate the threads on the union Main Fuel Supply Fuel Tubes (73-11-47, 01-106), the tube end of the union FUEL SYSTEM TUBES (RIGID)-POWER PLANT (73-11-47, 02-114) and the two nuts Main Fuel Supply Fuel Tubes (73-11-47, 01-110) and FUEL SYSTEM TUBES (RIGID)-POWER PLANT (73-11-47, 02-110) with CoMat 10-060 LIQUID PARAFFIN or CoMat 10-038 PETROLEUM JELLY.
Lubricate the threads on the hose 175 and the hose end of the union FUEL SYSTEM TUBES (RIGID)-POWER PLANT (73-11-47, 02-114) with CoMat 04-019 Anti-sieze Thread Compound liquid moly NV thread compound.
Attach the union FUEL SYSTEM TUBES (RIGID)-POWER PLANT (73-11-47, 02-114) to the mounting bracket Main Fuel Supply Fuel Tubes (73-11-47, 01-900) with the nut FUEL SYSTEM TUBES (RIGID)-POWER PLANT (73-11-47, 02-110) and washers FUEL SYSTEM TUBES (RIGID)-POWER PLANT (73-11-47, 02-112) and FUEL SYSTEM TUBES (RIGID)-POWER PLANT (73-11-47, 02-113). Torque the nut 240 lbf.in to 280 lbf.in (27 Nm to 32 Nm).
NOTE
When the tube 110 is connected to the LP fuel pump (TASK 72-00-60-420-002) it can be necessary to make an adjustment of the bracket position, or install a washer between the mounting bracket and the unions Main Fuel Supply Fuel Tubes (73-11-47, 01-106) and FUEL SYSTEM TUBES (RIGID)-POWER PLANT (73-11-47, 02-114). This is to reduce the possible clearance. Refer to Step for this procedure.NOTE
The washers FUEL SYSTEM TUBES (RIGID)-POWER PLANT (73-11-47, 02-112 and 02-113) are supplied in two different thicknesses and the two are alternative to each other. The washers are shown above the bracket, but can be installed one on each side of the bracket as necessary.Attach the union Main Fuel Supply Fuel Tubes (73-11-47, 01-106) to the mounting bracket Main Fuel Supply Fuel Tubes (73-11-47, 01-900) with the nut Main Fuel Supply Fuel Tubes (73-11-47, 01-110) and washer Main Fuel Supply Fuel Tubes (73-11-47, 01-108). Torque the nut to 960 lbf.in to 1120 lbf.in (108 Nm to 135 Nm).
NOTE
The washers Main Fuel Supply Fuel Tubes (73-11-47, 01-108) are shown above the bracket, but can be installed one on each side of the bracket as necessary.Connect the tube 110 to the union Main Fuel Supply Fuel Tubes (73-11-47, 01-106). Temporarily attach the tube 110 to the bracket Control Fuel Tubes (73-11-49, 02-070) at the clip position 0302 (at the flange FC). Install the bolt, the washer, the clipnut and the clip. Tighten the bolt.
Lubricate a new FUEL SYSTEM TUBES (RIGID)-POWER PLANT (73-11-47, 02-108) packing 1 off with CoMat 10-060 LIQUID PARAFFIN, or CoMat 10-038 PETROLEUM JELLY. Install the packing on the tube 174.
Install the tube 174 to the fuel diverter and return valve Fuel Diverter and Return Valve (73-13-42, 01-100) with the three bolts FUEL SYSTEM TUBES (RIGID)-POWER PLANT (73-11-47, 02-101). Connect the tube 174 to the union FUEL SYSTEM TUBES (RIGID)-POWER PLANT (73-11-47, 02-114). Torque the three bolts to 85 to 105 lbf.in (10 to 12 Nm).
Connect the hose 175 to the union FUEL SYSTEM TUBES (RIGID)-POWER PLANT (73-11-47, 02-114). Tighten the hose 175 connector nut but do not torque the nut at this time.
Connect the hose 176 to the union Main Fuel Supply Fuel Tubes (73-11-47, 01-106). Tighten the hose 176 connector nut but do not torque the nut at this time.
Attach the hoses 175 and 176 together with the clamp assembly FUEL SYSTEM TUBES (FLEXIBLE)-POWER PLANT (73-11-48, 01-045).
Keep the four bolts FUEL SYSTEM TUBES (FLEXIBLE)-POWER PLANT (73-11-48, 01-020), the four washers FUEL SYSTEM TUBES (FLEXIBLE)-POWER PLANT (73-11-48, 01-021), the gasket FUEL SYSTEM TUBES (FLEXIBLE)-POWER PLANT (73-11-48, 01-030), the four bolts FUEL SYSTEM TUBES (FLEXIBLE)-POWER PLANT (73-11-48, 01-050), the four washers FUEL SYSTEM TUBES (FLEXIBLE)-POWER PLANT (73-11-48, 01-051) and the gasket FUEL SYSTEM TUBES (FLEXIBLE)-POWER PLANT (73-11-48, 01-060) for the installation of the hoses on the pylon.
Examine and adjust the mounting bracket installation. Do this step after the tube 110 is connected to the LP fuel pump (TASK 72-00-60-420-002). The remaining procedure to torque and adjust the power plant fuel tubes and hoses is given in TASK 72-00-60-420-002.
SUBTASK 72-00-32-420-185 Install the Tubes 110 and 174, and the Hoses 175 and 176, the Power Plant Fuel Tubes and Hoses
Lubricate the new Control Fuel Tubes (73-11-49, 02-498) sealing ring 2 off with CoMat 10-060 LIQUID PARAFFIN or CoMat 10-038 PETROLEUM JELLY. Install the two sealing rings on the tube 172.
Lubricate a new Control Fuel Tubes (73-11-49, 02-516) sealing ring 1 off with CoMat 10-060 LIQUID PARAFFIN or CoMat 10-038 PETROLEUM JELLY. Install the sealing ring on the seal housing Control Fuel Tubes (73-11-49, 02-485).
Install the seal housing and the fire shield Control Fuel Tubes (73-11-49, 02-485 and 02-475) on the tube 172.
Install the tube 172 assembly to the fuel diverter and return valve Fuel Diverter and Return Valve (73-13-42, 01-100) with the two bolts Control Fuel Tubes (73-11-49, 02-514). Torque the two bolts to 85 to 105 lbf.in (10 to 12 Nm).
Install the restrictor Control Fuel Tubes (73-11-49, 02-090) and the restrictor retaining ring Control Fuel Tubes (73-11-49, 02-088) in the tube 117.
Lubricate a new73-11-49,02-108 sealing ring 1 off with CoMat 10-060 LIQUID PARAFFIN or CoMat 10-038 PETROLEUM JELLY. Install the sealing ring on the tube 117.
Install the tube 117 to the FCOC and connect the tube 172 to the tube 117. Install the three bolts Control Fuel Tubes (73-11-49, 02-106) which attach the tube 117 to FCOC.
Torque the tube 172 nut to 566 to 611 lbf.in (64 to 69 Nm) with the IAE 1R18003 Wrench 1 off.
Torque the three bolts Control Fuel Tubes (73-11-49, 02-106) to 85 to 105 lbf.in (10 to 12 Nm).
NOTE
Refer to TASK 72-00-60-420-002 to torque the clip positions 0302 and 0305 (during the tube 110 installation).Safety the tube 172 nut with CoMat 02-126 LOCKWIRE.
Install the Tubes 172 and 117, the Fuel System Tubes as follows:
SUBTASK 72-00-32-420-186-A00 Install the Tubes 172 and 117, the Fuel System Tubes. (Pre SBE 73-0078)
Lubricate the new Control Fuel Tubes (73-11-49, 02-498) sealing ring 2 off with CoMat 10-060 LIQUID PARAFFIN or CoMat 10-038 PETROLEUM JELLY. Install the two sealing rings on the tube 172.
Lubricate a new Control Fuel Tubes (73-11-49, 02-516) sealing ring 1 off with CoMat 10-060 LIQUID PARAFFIN or CoMat 10-038 PETROLEUM JELLY. Install the sealing ring on the seal housing Control Fuel Tubes (73-11-49, 02-485).
Install the seal housing and the fire shield Control Fuel Tubes (73-11-49, 02-485 and 02-475) on the tube 172.
Install the tube 172 assembly to the fuel diverter and return valve Fuel Diverter and Return Valve (73-13-42, 01-100) with the two bolts Control Fuel Tubes (73-11-49, 02-514). Torque the two bolts to 85 to 105 lbf.in (10 to 12 Nm).
Install the restrictor Control Fuel Tubes (73-11-49, 02-288) and the restrictor retaining ring Control Fuel Tubes (73-11-49, 02-290) in the tube Control Fuel Tubes (73-11-49, 02-300) .
Lubricate a new 73-11-49,02-308 sealing ring 1 off with CoMat 10-060 LIQUID PARAFFIN or CoMat 10-038 PETROLEUM JELLY. Install the sealing ring on the tube 117.
Install the three bolts Control Fuel Tubes (73-11-49, 02-305) and the three nuts Control Fuel Tubes (73-11-49, 02-306) which attach the tube Control Fuel Tubes (73-11-49, 02-300) to the tube 117.
Lubricate a new 73-11-49,02-314 sealing ring 1 off with CoMat 10-060 LIQUID PARAFFIN or CoMat 10-038 PETROLEUM JELLY. Install the sealing ring on the tube Control Fuel Tubes (73-11-49, 02-300).
Install the tube Control Fuel Tubes (73-11-49, 02-300) to the FCOC and connect the tube 172 to the tube 117. Install the three bolts Control Fuel Tubes (73-11-49, 02-316) which attach the tube Control Fuel Tubes (73-11-49, 02-300) to FCOC.
Torque the tube 172 nut to 566 to 611 lbf.in (64 to 69 Nm) with theIAE 1R18003 Wrench 1 off.
Torque the three bolts Control Fuel Tubes (73-11-49, 02-316) and the three bolts Control Fuel Tubes (73-11-49, 02-305) to 85 to 105 lbf.in (10 to 12 Nm).
NOTE
Refer to TASK 72-00-60-420-002 to torque the clip positions 0302 and 0305 (during the tube 110 installation).Safety the tube 172 nut with CoMat 02-126 LOCKWIRE.
Install the Tubes 172, 117 and Control Fuel Tubes (73-11-49, 02-300) the Fuel System Tubes as follows:
SUBTASK 72-00-32-420-186-B00 Install the Tubes 172, 117 and (02-300) the Fuel System Tubes (SBE 73-0078)
SBE 73-0078: New tubes with a repositioned restrictor orifice.
Lubricate a new OIL-PRESSURE OIL TUBES-ENGINE (79-21-49,03-098) sealing ring 1 off with CoMat 10-039 ENGINE OIL. Install the sealing ring on the tube 120.
Install the tube 120 to the FCOC with the three bolts OIL-PRESSURE OIL TUBES-ENGINE (79-21-49, 03-114). Torque the three bolts to 85 to 105 lbf.in (10 to 12 Nm).
Lubricate a new OIL-PRESSURE OIL TUBES-ENGINE (79-21-49,03-496) sealing ring 1 off with CoMat 10-039 ENGINE OIL. Install the sealing ring on the tube 114.
Install the tube 114 to the FCOC with the three bolts OIL-PRESSURE OIL TUBES-ENGINE (79-21-49, 03-506).
Torque the three bolts OIL-PRESSURE OIL TUBES-ENGINE (79-21-49, 03-506) to 85 to 105 lbf.in (10 to 12 Nm).
Attach the tube 115 to the tubes 120 and 117 at the clip positions 0319 and 0759 with the bolts, the washers, the nuts and the clips. Refer to Figure.
Connect the tube 115 to the tube 114. Torque the tube 115 nut to 159 to 177 lbf.in (18 to 20 Nm). Safety the tube nut with CoMat 02-126 LOCKWIRE.
Connect the tube 111 to the tube 113. Install the bolt, the washer, the clipnut and the clip at the clip position 0288 to attach the tube 111 to the flange FE bracket. Refer to Figure.
Install the tube 177 to the bifurcation panel with the two bolts and the two nuts Engine Pressure Oil Tubes (79-21-49, 04-514 and Engine Pressure Oil Tubes 04-510). Torque the two nuts to 85 to 105 lbf.in (10 to 12 Nm). Refer to Figure.
Connect the tube 113 to the tube 177. Torque the tube 113 nut to 398 to 434 lbf.in (45 to 49 Nm) with the IAE 1R18001 Wrench 1 off.
Torque the tube 111 nut to 283 to 310 lbf.in (32 to 35 Nm). Torque the tube 114 nut to 478 to 513 lbf.in (54 to 58 Nm) with the IAE 1R18002 Wrench 1 off. Safety the tube 113, 111 and 114 nuts with CoMat 02-126 LOCKWIRE.
NOTE
The nuts at the clip positions 0319 and 0759 are torque tightened during the procedure given in Step.Torque the bolts and the nut at the clip positions 0321, 0288, 1186, 1187 and 0304 to 36 to 45 lbf.in (4 to 5 Nm).
SUBTASK 72-00-32-420-187 Install the Tubes 120, 115, 114, 113, 111 and 177, the Pressure Oil Tubes
Refer to Figure
Lubricate a new ELECTRICAL POWER-IDG OIL COOLING TUBES (24-21-49,03-514) packing 1 off with CoMat 10-039 ENGINE OIL.
Lubricate a new IDG Cooling Oil Tubes (24-21-49,01-106) packing 1 off with CoMat 10-039 ENGINE OIL.
Lubricate the shanks of the six bolts IDG Cooling Oil Tubes (24-21-49, 01-102 and 03-510) with CoMat 10-073 SYNTHETIC GREASE, MoDISULFIDE.
Install the lubricated packing IDG Cooling Oil Tubes (24-21-49, 01-106) on the tube 98. Install the lubricated packing ELECTRICAL POWER-IDG OIL COOLING TUBES (24-21-49, 03-514) on the tube 99.
Install the tube 98 and the bracket IDG Cooling Oil Tubes (24-21-49, 01-070) to the IDG FCOC Electrical Power-Fuel Cooled IDG Oil Cooler (24-21-42, 01-100) with the three bolts IDG Cooling Oil Tubes (24-21-49, 01-102). Torque the bolts to 85 to 105 lbf.in (10 to 12 Nm).
Install the tube 99 and the bracket ELECTRICAL POWER-IDG OIL COOLING TUBES (24-21-49, 03-470) to the IDG FCOC with the three bolts ELECTRICAL POWER-IDG OIL COOLING TUBES (24-21-49, 03-510). Torque the bolts to 85 to 105 lbf.in (10 to 12 Nm).
Install the bolts, the washers, the clips and the clipnuts at the clip positions 0929 and 0930. Refer to Figure.
Install the bolt, the washer, the nut and the clip at the clip position 0289. Refer to Figure.
SUBTASK 72-00-32-420-188 Install the Tubes 96, 97, 98 and 99, the IDG Cooling Tubes
Refer to Figure.
Lubricate the new Control Fuel Tubes (73-11-49,03-508) sealing ring 2 off with CoMat 10-060 LIQUID PARAFFIN or CoMat 10-038 PETROLEUM JELLY. Install one of the sealing rings on the seal housing Control Fuel Tubes (73-11-49, 03-485). Install the other sealing ring on the tube 170.
Lubricate the new Control Fuel Tubes (73-11-49,03-498) sealing ring 2 off with CoMat 10-060 LIQUID PARAFFIN or CoMat 10-038 PETROLEUM JELLY. Install the sealing rings on the tube 170.
Install the seal housing Control Fuel Tubes (73-11-49, 03-485) on the tube 170.
Install the tube 170 assembly to the IDG FCOC Electrical Power-Fuel Cooled IDG Oil Cooler (24-21-42, 01-100) and the fuel diverter and return valve Fuel Diverter and Return Valve (73-13-42, 01-100).
Install the three bolts Control Fuel Tubes (73-11-49,03-506) which attach the bracket Control Fuel Tubes (73-11-49,03-470) and the tube 170 to the IDG FCOC.
Install the two bolts Control Fuel Tubes (73-11-49, 03-514) which attach the seal housing and the tube 170 to the fuel diverter and return valve.
Torque the three bolts Control Fuel Tubes (73-11-49,03-506) and the two bolts Control Fuel Tubes (73-11-49,03-514) to 85 to 105 lbf.in (10 to 12 Nm).
Install the bolt, the washer, the clipnut and the clip at the clip position 0755 to attach the tube 115 to the bracket Control Fuel Tubes (73-11-49, 03-470). Torque the nuts at the clip positions 0319, 0759 and the bolt at the clip position 0755 to 36 to 45 lbf.in (4 to 5 Nm).
Lubricate the new Control Fuel Tubes (73-11-49,03-098) sealing ring 2 off with CoMat to 10-060 liquid paraffin or CoMat 10-038 PETROLEUM JELLY. Install the sealing rings on the tube 171.
Lubricate a new Control Fuel Tubes (73-11-49, 03-116) sealing ring 1 off with CoMat 10-060 LIQUID PARAFFIN or CoMat 10-038 PETROLEUM JELLY. Install the sealing ring on the seal housing Control Fuel Tubes (73-11-49, 03-085).
Install the three bolts Control Fuel Tubes (73-11-49, 03-114) which attach the tube 171 assembly to the IDG FCOC. Torque the bolts to 85 to 105 lbf.in (10 to 12 Nm).
Torque the tube 171 nut to 566 to 611 lbf.in (64 to 69 Nm) with the IAE 1R18003 Wrench 1 off. Safety the tube nut with CoMat 02-126 LOCKWIRE.
SUBTASK 72-00-32-420-189 Install the Tubes 170 and 171, the Fuel System Tubes
Install the tube 244 to the fan exit pressure boss ENGINE-LP COMP/INTERMEDIATE CASE MODULE (72-32-00, 03-200). Hand tighten the tube nut. Refer to Figure.
Install the bolts, the washers, the clipnuts and the clips at the clip positions 1100, 1114 and 1115. Torque the bolts to 36 to 45 lbf.in (4 to 5 Nm). Refer to Figure.
Install the bolts, the washers, the clipnuts and the clips at the clip positions 1101 and 1102. Torque the bolts to 36 to 45 lbf.in (4 to 5 Nm). Refer to Figure.
Connect the tube 247 to the tube 246 and connect the tube 248 to the tube 247 and to the dedicated alternator stator Dedicated Alternator Stator (73-22-38, 01-100). Torque the tube 247 and the tube 248 tube nuts to 283 to 310 lbf.in (32 to 35 Nm). Refer to Figure.
Safety all tube nuts installed in this SUBTASK with CoMat 02-126 LOCKWIRE.
SUBTASK 72-00-32-420-190-A00 Install the Tubes 244, 245, 246, 247 and 248, the Cooling Air Tubes (Pre SBE 72-0160)
Install the tube 244 to the fan exit pressure boss ENGINE-LP COMP/INTERMEDIATE CASE MODULE (72-32-00, 03-200). Hand tighten the tube nut. Refer to Figure.
Install the bolts, the washers, the clipnuts and the clips at the clip positions 1114 and 1115. Torque the bolts to 36 to 45 lbf.in (4 to 5 Nm). Refer to Figure.
connect the tube 248 to the tube 247 and to the dedicated alternator stator Dedicated Alternator Stator (73-22-38, 01-100). Refer to Figure.
Safety all tube nuts installed in this SUBTASK with CoMat 02-126 LOCKWIRE.
SUBTASK 72-00-32-420-190-B00 Install the Tubes 244, 246, 247 and 248, the Cooling Air Tubes (SBE 72-0160)
SBE 72-0160: Engine - LP compressor - Provide a new fan case assembly that eliminates the provisions for a transition ring.
Connect the tube 202 to the low oil pressure switch LOW OIL PRESSURE SWITCH (79-34-15, 01-010).
Install the bolt, the spacer, the washer, the nut and the clip at the clip position 0914. Refer to Figure.
Torque the tube 201 nut (at the tube 113) to 159 to 177 lbf.in (18 to 20 Nm). Safety the tube 201 nut with CoMat 02-126 LOCKWIRE. Refer to Figure.
Connect the tube 203 to the oil pressure transmitter OIL-OIL PRESSURE TRANSMITTER (79-33-15, 01-010) and the tube 202. Refer to Figure.
SUBTASK 72-00-32-420-191 Install the Tubes 201, 202 and 203, the Pressure Oil Tubes
Connect the tube 206 to the low oil pressure switch LOW OIL PRESSURE SWITCH (79-34-15, 01-010).
Install the bolt, the washer, the clipnut and the clip at the clip position 0917. Refer to Figure.
Connect the tube 207 to the tube 206 and the oil pressure transmitter OIL-OIL PRESSURE TRANSMITTER (79-33-15, 01-010).
Connect the tubes 208 and 209 to the scavenge filter differential pressure switch OIL-SCAVENGE FILTER DIFFERENTIAL PRESSURE SWITCH (79-35-16, 01-010). Torque the tube nuts to 135 to 145 * lbf.in (15.26 to 16.39 Nm).
Refer to Figure.
Install the bolt, the washer, the nut and the clips at the clip position 0906. Install the bolt, the washer, the spacer and the clips at the clip position 0904. Torque the nut and the bolt at the clip positions 0906 and 0904 to 36 to 45 lbfin (4 to 5 Nm).
Refer to Figure.
SUBTASK 72-00-32-420-192 Install the Tubes 205, 206, 207, 208 and 209, the Scavenge Oil Tubes
Attach the raceway to the bracket Air Cooled Oil Cooler (ACOC) And Inlet Duct (79-21-42, 01-070) with the bolt and the clipnut at the clip position 0533. Refer to Figure.
NOTE
The installation procedure for the clip position 0246 is given in Step or 72-00-32-420-198-B00, during the installation of the tube 106.Attach the raceway to the bracket ENGINE FUEL AND CONTROL-FUEL SYSTEM TUBES-ENGINE (73-11-49, 07-070) with the bolt, the washer and the nut at the clip position 0255. Refer to Figure. Tighten the nut.

WARNING
WHEN YOU USE COMAT 01-002 INHIBITED AND STABILIZED TRICHLOROETHANE YOU MUST USE THE NECESSARY PROTECTIVE CLOTHING. DO NOT GET THE SOLVENT ON YOUR SKIN OR IN YOUR EYES. YOU MUST NOT SMOKE WHEN YOU USE THE SOLVENT AS THE VAPOR CHANGES AND BECOMES TOXIC.Remove the grease, the fingerprints and the unwanted material from the mating surfaces of the raceway lug and the bonding strap Fan Harness Support Raceways (71-51-50, 01-080) with CoMat 01-002 SOLVENT, DELETED.. Use a clean lint free cloth moistened with the solvent.
Clean the contact (washer) surfaces of the bolt, the nut and the washer Fan Harness Support Raceways (71-51-50, 01-087 , 01-085 and 01-088) as given in Step.
SUBTASK 72-00-32-420-193 Install the Electrical Harness Raceway (01-100)
Install the tube 127 to the bifurcation panel with the two bolts and the two nuts Engine Scavenge Oil Tubes (79-22-49, 04-106 and 04-102). Torque the nuts to 85 to 105 lbf.in (10 to 12 Nm).
Temporarily attach the tube 127 to the bracket Control Fuel Tubes (73-11-49, 22-470) at the clip position 0560, Figure.
Install the tube 124 to the bifurcation panel with the two bolts and the two nuts OIL-SCAVENGE OIL TUBES-ENGINE (79-22-49, 02-106 and 02-102). Torque the nuts to 85 to 105 lbf.in (10 to 12 Nm).
SUBTASK 72-00-32-420-194 Install the Tubes 127 and 124, the Scavenge Oil Tubes
Install the tube 168 to the bifurcation panel with the two bolts and the two nuts HPC Bleed Control Air Tubes (75-32-49, 01-506 and 01-502). Torque the nuts to 85 to 105 lbf.in (10 to 12 Nm). Refer to Figure.
Connect the tube 167 to the tube 168. Temporarily attach the tube 167 to the bracket Control Fuel Tubes (73-11-49, 22-470) at the clip position 0560.
Attach the tube 236 to the tube 124 at the clip position 1079 with the bolt, the washer, the spacer and the nut. Refer to Figure.
NOTE
The installation procedure for the two bolts and the two nuts which attach the tube 153 to the bifurcation panel and the tube 236 to the tube 153 is given in TASK 72-00-32-420-004.Connect the tube 236 to the tube 153. Temporarily attach the tube 153 to the bifurcation panel with the two bolts and the two nuts PNEUMATIC-TUBES-HP BLEED CONTROL AIR (36-11-47, 01-506 and 01-502).
Install the tube 138 to the bifurcation panel with the two bolts and the two nuts Fuel System Air Tubes (73-22-49, 06-106 and 06-102). Torque the nuts to 85 to 105 lbf.in (10 to 12 Nm). Refer to Figure.
Install the tube 157 to the bifurcation panel with the two bolts and the two nuts Fuel System Air Tubes (73-22-49, 02-506 and 02-502). Torque the nuts to 85 to 105 lbf.in (10 to 12 Nm).
Install the tube 243 to the bifurcation panel with the two bolts and the two nuts Fuel System Air Tubes (73-22-49, 10-106 and 10-102). Torque the two nuts to 85 to 105 lbf.in (10 to 12 Nm).
Install the bolt, the washer, the two spacers, the nut and the clips at the clip position 0566. Refer to Figure.
Install the bolt, the washer, the spacer, the nut and the clips at the clip position 0569. Refer to Figure.
Install the bolt, the washers, the nut and the clips at the clip position 1080. Refer to Figure.
Install the tube 162 to the bifurcation panel with the two bolts and the two nuts AIR-TURBINE COOLING CONTROLLED AIR TUBES (75-23-48, 02-514 and 02-510). Torque the nuts to 85 to 105 lbf.in (10 to 12 Nm). Temporarily attach the tube 162 to the tube 127 at the clip position 0564.
SUBTASK 72-00-32-420-195 Install the Bifurcation Panel Tubes
Install the tube 95 to the bifurcation panel with the two bolts and the two nuts Control Fuel Tubes (73-11-49, 08-114 and 08-110). Torque the nuts to 85 to 105 lbf.in (10 to 12 Nm).
Lubricate a new ENGINE FUEL AND CONTROL-FUEL SYSTEM TUBES-ENGINE (73-11-49,07-508) packing 1 off with CoMat 10-060 LIQUID PARAFFIN or CoMat 10-038 PETROLEUM JELLY.
Lubricate a new ENGINE FUEL AND CONTROL-FUEL SYSTEM TUBES-ENGINE (73-11-49,07-108) packing 1 off with CoMat 10-060 LIQUID PARAFFIN or CoMat 10-038 PETROLEUM JELLY.
Install the packing ENGINE FUEL AND CONTROL-FUEL SYSTEM TUBES-ENGINE (73-11-49, 07-508) on the tube 94.
Install the packing ENGINE FUEL AND CONTROL-FUEL SYSTEM TUBES-ENGINE (73-11-49, 07-108) on the tube 109.
Install the fuel flow transmitter and the bracket ENGINE FUEL AND CONTROL-FUEL SYSTEM TUBES-ENGINE (73-11-49, 07-470) to the tube 94 with the three bolts ENGINE FUEL AND CONTROL-FUEL SYSTEM TUBES-ENGINE (73-11-49, 07-506).
NOTE
The fuel flow transmitter bonding lead is installed during the installation of the EEC fan case harness at clip position 1141.Refer to TASK 72-00-32-420-004-B00 (INSTALLATION-004, CONFIG-002) for the procedure to install the fuel flow transmitter bonding lead.
Attach the tube 96 and 97 clips to the bracket ENGINE FUEL AND CONTROL-FUEL SYSTEM TUBES-ENGINE (73-11-49, 07-470) at the clip position 0965 with the bolt, the washer and the nut, Figure.
Install the tube 109 and the bracket ENGINE FUEL AND CONTROL-FUEL SYSTEM TUBES-ENGINE (73-11-49, 07-070) to the fuel flow transmitter with the three bolts ENGINE FUEL AND CONTROL-FUEL SYSTEM TUBES-ENGINE (73-11-49, 07-106).
Torque the six bolts ENGINE FUEL AND CONTROL-FUEL SYSTEM TUBES-ENGINE (73-11-49, 07-506 and 07-106) to 85 to 105 lbf.in (10 to 12 Nm).
Install the tube 109 and the fuel flow transmitter ENGINE FUEL AND CONTROL-FUEL FLOWMETER (73-31-17, 01-100).
Torque the tube 95 nut to 398 to 434 lbf.in (45 to 49 Nm) with the IAE 1R18001 Wrench 1 off. Safety the tube nut with CoMat 02-126 LOCKWIRE.
SUBTASK 72-00-32-420-196 Install the Tubes 95, 94, 109 and the Fuel Flow Transmitter to the Fuel System
Safety the tube 204 nut (at the tube 127) with CoMat 02-126 LOCKWIRE.
SUBTASK 72-00-32-420-197-A00 Install the Tube 204, the Scavenge Oil Tube (Pre SBE 79-0047)
Install the bolts, the washers, the spacers, the nuts and the clips at clip positions 1397 and 1398. Refer to Figure.
Safety the tube 204 nut (at the tube 127) with CoMat 02-126 LOCKWIRE.
SUBTASK 72-00-32-420-197-B00 Install the Tube 204, the Scavenge Oil Tube (SBE 79-0047)
SBE 79-0047: Provides new tubes that are an improved fit to ease installation.
Install the tube 106 to the bifurcation panel with the two bolts and the two nuts Control Fuel Tubes (73-11-49, 20-106 and 20-102). Torque the nuts to 85 to 105 lbf.in (10 to 12 Nm).
Install the tube 93 to the bifurcation panel with the two bolts and the two nuts Control Fuel Tubes (73-11-49, 10-514 and 10-510). Torque the nuts to 85 to 105 lbf.in (10 to 12 Nm).
Connect the tube 192 to the tube 106. Torque the tube 192 nut to 159 to 177 lbf.in (18 to 20 Nm). Safety the tube nut with CoMat 02-126 LOCKWIRE.
SUBTASK 72-00-32-420-198-A00 Install the Tubes 192, 93 and 106 to the Fuel System (Pre SBE 79-0047)
Install the tube 106 to the bifurcation panel with the two bolts and the two nuts Control Fuel Tubes (73-11-49, 20-106 and 20-102). Torque the nuts to 85 to 105 lbf.in (10 to 12 Nm).
Install the tube 93 to the bifurcation panel with the two bolts and the two nuts Control Fuel Tubes (73-11-49, 10-514 and 10-501). Torque the nuts to 85 to 105 lbf.in (10 to 12 Nm).
Connect the tube 192 to the tube 106. Torque the tube 192 nut to 159 to 177 lbf.in (18 to 20 Nm). Safety the tube nut with CoMat 02-126 LOCKWIRE.
SUBTASK 72-00-32-420-198-B00 Install the Tubes 192,93 and 106 to the Fuel System (SBE 79-0047)
SBE 79-0047: Provides new tubes that are an improved fit to ease installation.
Refer to Figure, Figure and Figure. Install the tube 143 to the bifurcation panel with the two bolts and the two nuts AIR-BEARING COMPARTMENT COOLING & SEALING TUBES (75-22-49, 06-106 and 06-102). Torque the nuts to 85 to 105 lbf.in (10 to 12 Nm).
Install the tube 161 to the bifurcation panel with the two bolts and the two nuts HPC Bleed Control Air Tubes (75-32-49, 10-514 and 10-510). Torque the nuts to 85 to 105 lbf.in (10 to 12 Nm).
Install the tube 156 to the bifurcation panel with the two bolts and the two nuts AIR-HP COMPRESSOR BLEED CONTROL TUBES (75-32-49, 12-114 and 12-110). Torque the nuts to 85 to 105 lbf.in (10 to 12 Nm).
Install the bolt, the washer, the spacer, the nut and the clips at the clip position 0573. Refer to Figure.
Install the bolts, the washers, the nuts and the clips at the clip positions 0570 and 1037. Refer to Figure.
Install the tube 166 to the bifurcation panel with the two bolts and the two nuts AIR-HP COMPRESSOR BLEED CONTROL TUBES (75-32-49, 04-514 and 04-510). Torque the nuts to 85 to 105 lbf.in (10 to 12 Nm).
Install the tube 145 to the bifurcation panel with the two bolts and the two nuts AIR-HP COMPRESSOR BLEED CONTROL TUBES (75-32-49, 08-514 and 08-510). Torque the nuts to 85 to 105 lbf.in (10 to 12 Nm).
Safety the tube 32, 63, 48, 64 and 65 nuts with CoMat 02-126 LOCKWIRE.
SUBTASK 72-00-32-420-199 Install the Bifurcation Panel Tubes
Install the bolt, the washer, the nut and the clip at the clip position 0563. Refer to Figure.
Torque the tube 167 nut to 283 to 310 lbf.in (32 to 35 Nm). Safety the tube nut with CoMat 02-126 LOCKWIRE.
Install the bolt, the washer, the nut and clips at the clip position 0562. Refer to Figure.
Torque the tube 194 nut to 204 to 221 lbf.in (23 to 25 Nm). Safety the tube nut with CoMat 02-126 LOCKWIRE.
Install the bolt, the washers, the nut and the clips at the clip position 0560. Refer to Figure.
Torque the tube 138 nut to 159 to 177 lbf.in (18 to 20 Nm). Safety the tube nut with CoMat 02-126 LOCKWIRE.
SUBTASK 72-00-32-420-200 Install the Tubes 137 and 194, the Bottom Right Side Tubes
Connect the tube 145 to the tube 144. Temporarily attach the tube 144 clip at the clip position 0586. Refer to Figure.
Connect the tube 157 to the tube 158. Install the bolt, the washer, the spacer, the clipnut and the clips at the clip position 0588. Refer to Figure.
Connect the tube 166 to the tube 165. Temporarily attach the tube 165 clip at the clip position 0586. Refer to Figure.
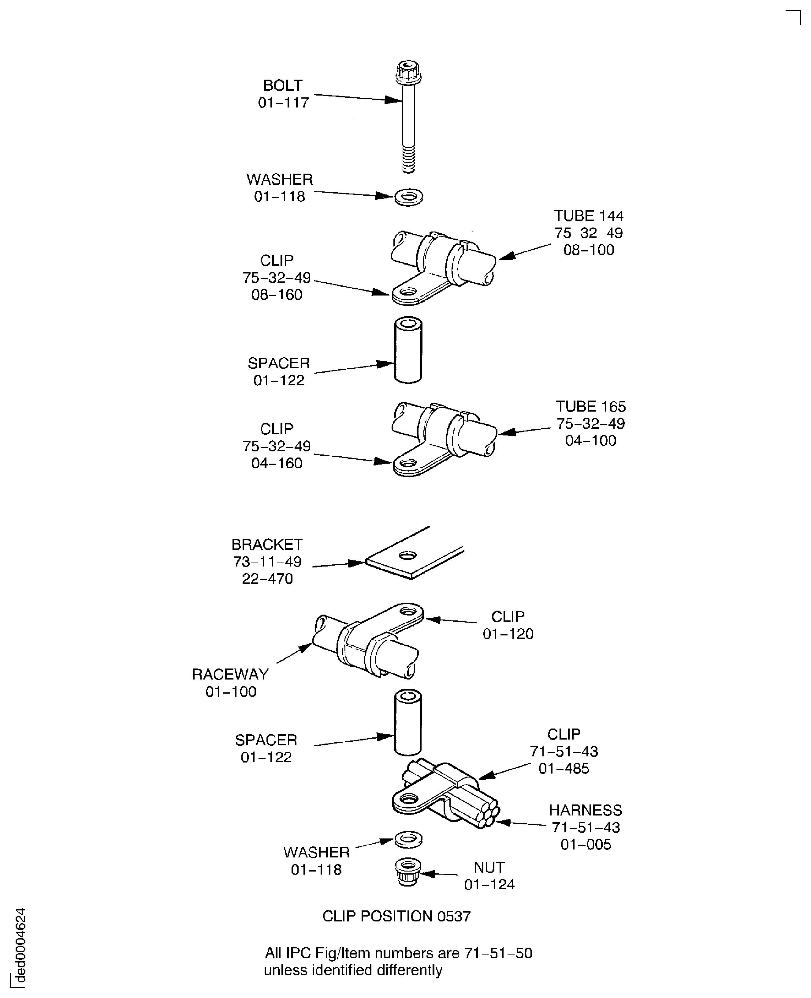
Install the bolt, the washers,the spacer, the nut and the clips at the clip position 0537.
Refer to Figure.
Connect the tube 242 to the tube 243. Install the bolts, the washers, the spacers and the clips at the clip positions 0586, 0584 and 0582. Refer to Figure.
Install the bolt, the washer, the spacer, the clipnut and the clips at the clip position 0587.
Refer to Figure.
Connect the tube 161 to the tube 160. Refer to Figure.
Install the bolt, the washer, the spacer, the clipnut and the clip at the clip position 0589. Refer to Figure.
Connect the tube 155 to the tube 156. Refer to Figure.
Pre SBE 75-0081: Connect the tube 162 to the tube 163. Refer to Figure. Temporarily attach the tube 163 at the clip position 0585.
Install the bolts, the washers and the clips at the clip positions 0585, 0583 and 0581. Refer to Figure.
Torque the tube 145, 157, 166, 242, 161, 155, 152, 192 and 162 nuts to 159 to 177 lbf.in (18 to 20 Nm). Safety the tube nuts with CoMat 02-126 LOCKWIRE.
SUBTASK 72-00-32-420-201 Install the Right Side Tubes (Pre SBE 75-0081 and SBE 75-0081)
SBE 75-0081: Air - Deletion of the HPC stage 10 make-up air valve
Connect the hose 220 to the tube 142. Torque the hose nut to 135 to 145 * lbf.in (15.26 to 16.39 Nm). Temporarily attach the tube 142 to the flange FA bracket with the clip, the two washers and the nut at the clip position 0793. Refer to TASK 72-00-32-420-005 for the configuration of this clip position.
Install the tube 135 to the bracket Fuel System Air Tubes (73-22-49, 03-800) with the locknut Fuel System Air Tubes (73-22-49, 07-110). Connect the tube 135 to the tube 137.
Install the tube 159 to the bracket Fuel System Air Tubes (73-22-49, 03-800) with the locknut Fuel System Air Tubes (73-22-49, 03-510). Connect the tube 158 to the tube 159.
Install the bolts, the washers, the nut, the clipnut and the clips at the clip positions 1027 and 1028. Refer to Figure.
Torque the locknut Fuel System Air Tubes (73-22-49, 07-110) to 38 to 42 * lbf.in (4.3 to 4.7 Nm).
Torque the locknut Fuel System Air Tubes (73-22-49, 03-510) to 58 to 62 * lbf.in (6.5 to 7.0 Nm).
Safety the hose 220, tube 135, 158 nuts and the locknuts Fuel System Air Tubes (73-22-49, 07-110 and 03-510) with CoMat 02-126 LOCKWIRE.
SUBTASK 72-00-32-420-203 Install the Hose 220 and the Tubes 142, 135 and 159, the Fuel System Air Tubes
Lubricate a new Engine Scavenge Oil Tubes (79-22-49, 10-096) sealing ring 1 off with CoMat 10-039 ENGINE OIL. Install the sealing ring on the tube 169.
Remove the three bolts LP Compressor (LPC) - Intermediate Structure Module (72-32-00, 01-130) from the LP compressor/intermediate case module.
Install the tube 169 to the module and the hot vent tube INTERMEDIATE STRUCTURE OIL & AIR TRANSFER TUBES (72-32-96, 01-100) with the three bolts LP Compressor (LPC) - Intermediate Structure Module (72-32-00, 01-130).
Install the bolt, the washer, the clipnut and the clip at the clip position 1016. Refer to Figure.
Torque the three bolts LP Compressor (LPC) - Intermediate Structure Module (72-32-00, 01-130) to 85 to 105 lbf.in (10 to 12 Nm).
Torque the tube 125 nut to 566 to 611 lbf.in (64 to 69 Nm) with the IAE 1R18003 Wrench 1 off. Safety the tube nut with CoMat 02-126 LOCKWIRE.
SUBTASK 72-00-32-420-204 Install the Tubes 169 and 125, the Scavenge Oil Tubes
Connect the tube 164 to the tube 165 and the HPC stage 10 solenoid valve (81.9 degrees) AIR-HPC STAGE 10 SOLENOID VALVE (75-32-53, 01-400).
Pre SBE 75-0081: Connect the tube 163 to the tube 195. Connect the tube 195 to the stage 10 air solenoid valve AIR-STAGE 10 AIR SOLENOID VALVE (75-23-52, 01-100).
Pre SBE 75-0081: Install the bolts, the washers, the nuts, the clipnuts and the clips at the clip positions 1024, 1030, 1029 and 0590. Refer to Figure and Figure.
SBE 75-0081: Install the bolts, the washers, the nuts, the clipnuts and the clips at the clip positions 1403, 1030, 1029 and 0590. Refer to Figure and Figure.
Connect the tube 144 to the tube 196. Connect the tube 196 to the HPC stage 7 solenoid valve (108.8 degrees) HPC Stage 7 Solenoid Valve (75-32-51, 01-100).
Connect the tube 197 to the tube 160 and the HPC stage 7 solenoid valve (228 degrees) HPC Stage 7 Solenoid Valve (75-32-51, 01-100).
Install the bolt, the washer, the clipnut and the clips at the clip position 0599. Refer to Figure.
Connect the tube 154 to the tube 155 and the HPC stage 7 solenoid valve (51.9 degrees) HPC Stage 7 Solenoid Valve (75-32-51, 01-100).
Connect the tube 152 to the tube 151. Connect the tube 151 to the HPC stage 7 and 10 air solenoid valve STAGE 10 AIR SOLENOID VALVE (36-11-57, 01-100).
Install the bolt, the washer, the nut and the clips at the clip position 0591. Refer to Figure.
Connect the tube 241 to the tube 242, attach the tube 242 to the bracket Fuel System Air Tubes (73-22-49, 03-800) with the locknut ENGINE FUEL AND CONTROL-FUEL SYSTEM AIR TUBES (73-22-49, 11-110).
Torque the locknut ENGINE FUEL AND CONTROL-FUEL SYSTEM AIR TUBES (73-22-49, 11-110) to 38 to 42 * lbf.in (4.3 to 4.7 Nm).
Pre SBE 75-0081: Torque the tube 164, 163, 195, 144, 196, 197, 154, 152 and 241 nuts to 159 to 177 lbf.in (18 to 20 Nm). Safety the tube nuts and the locknut with CoMat 02-126 LOCKWIRE.
SBE 75-0081: Torque the tube 164, 195, 144, 196, 197, 154, 152 and 241 nuts to 159 to 177 lbf.in (18 to 20 Nm). Safety the tube nuts and the locknut with CoMat 02-126 LOCKWIRE.
Torque the tube 151 nut to 204 to 221 lbf.in (23 to 25 Nm). Safety the tube nut with CoMat 02-126 LOCKWIRE.
Pre SBE 75-0081: Torque the nuts at the clip positions 1024, 0590, 0594 and 1051 and the bolts at the clip positions 1026, 1029, 1030 and 0599 to 36 to 45 lbf.in (4 to 5 Nm).
SBE 75-0081: Torque the nuts at the clip positions 1403, 0590, 0594 and 1051 and the bolts at the clip positions 1026, 1029, 1030 and 0599 to 36 to 45 lbf.in (4 to 5 Nm).
SUBTASK 72-00-32-420-205 Install the Right Side Tubes (Pre SBE 75-0081 and SBE 75-0081)
SBE 75-0081: Air - Deletion of the HPC stage 10 make-up air valve
NOTE
It could be necessary to make an adjustment to the position of the tube 188 at the clip positions 1036 and 0578.Connect the tube 189 to the ACOC air modulating valve Air Cooled Oil Cooler (ACOC) Modulating Valve (79-21-51, 01-100) and the tube 188.
Install the bolt, the washer, the clips and the clipnut at the clip position 0579. Refer to Figure.
Safety the tube nuts with CoMat 02-126 LOCKWIRE.
SUBTASK 72-00-32-420-206 Install the Tubes 189 and 190, the Fuel System Tubes
Connect the tube 149 to the tube 167 and the HPC stage 7 solenoid valve (51.9 degrees) HPC Stage 7 Solenoid Valve (75-32-51, 01-100).
Install the bolt, the washer, the clips and the nut at the clip position 0580. Refer to Figure.
Safety the tube nuts with CoMat 02-126 LOCKWIRE.
SUBTASK 72-00-32-420-207 Install the Tube 149, the HP Compressor Bleed Air Tube
Refer to Figure.
Connect the tube 150 to the tube 149 and the stage 10 air solenoid valve AIR-STAGE 10 AIR SOLENOID VALVE(75-23-52, 01-100). Torque the tube 150 nuts to 204 to 221 lbf.in (23 to 25 Nm).
Safety the tube nuts with CoMat 02-126 LOCKWIRE.
SUBTASK 72-00-32-420-208 Install the Tube 150 to the Turbine Cooling Controlled Air Tube System (Pre SBE 75-0081)
Connect the tube 147 to the HPC stage 10 solenoid valve (81.9 degrees) AIR-HPC STAGE 10 SOLENOID VALVE (75-32-53, 01-400) and the tube 149.
Connect the tube 148 to the HPC stage 7 and 10 air solenoid valve STAGE 10 AIR SOLENOID VALVE (36-11-57, 01-100) and the tube 149.
Install the bolt, the washer, the nut and the clip at the clip position 1025. Refer to Figure.
Connect the tube 198 to the HPC stage 7 solenoid valve (108.8 degrees) HPC Stage 7 Solenoid Valve (75-32-51, 01-100) and the tube 149.
Connect the tube 146 to the HPC stage 7 solenoid valve (228 degrees) HPC Stage 7 Solenoid Valve (75-32-51, 01-100) and the tube 149.
Torque the tubes 146 to 148 and 198 nuts to 204 to 221 lbf.in (23 to 25 Nm). Safety the tube nuts with CoMat 02-126 LOCKWIRE.
SUBTASK 72-00-32-420-209 Install the Tubes 198 and 146 to 148, the HP Compressor (HPC) Bleed Air Tubes
Lubricate a new OIL-PRESSURE OIL TUBES-ENGINE (79-21-49, 02-096) sealing ring 1 off with CoMat 10-039 ENGINE OIL. Install the sealing ring on the tube 119.
Lubricate a new OIL-PRESSURE OIL TUBES-ENGINE (79-21-49, 01-498) sealing ring 1 off with CoMat 10-039 ENGINE OIL. Install the sealing ring on the tube 122.
Install the tube 119 to the ACOC Air Cooled Oil Cooler (ACOC) And Inlet Duct (79-21-42, 01-100) with the three bolts OIL-PRESSURE OIL TUBES-ENGINE (79-21-49, 02-106).
Install the tube 122 to the ACOC with the three bolts OIL-PRESSURE OIL TUBES-ENGINE (79-21-49, 01-514).
Torque the six bolts OIL-PRESSURE OIL TUBES-ENGINE (79-21-49, 02-106 and 79-21-49, 01-514) to 85 to 105 lbf.in (10 to 12 Nm).
SUBTASK 72-00-32-420-210 Install the Tubes 119 and 122, the Pressure Oil Tubes
Safety the tube nut with CoMat 02-126 LOCKWIRE.
Install the bolts, the washers, the nuts and the clips at the clip positions 0555, 0557, 0558 and 1035. Refer to Figure.
Connect the tube 193 to the No.4 bearing oil pressure transducer OIL-NO.4 BEARING PRESSURE TRANSDUCER (79-33-16, 01-100) and the tube 126.
Torque the tube 127 nut to 566 to 611 lbf.in (64 to 69 Nm) with the IAE 1R18003 Wrench 1 off.
Safety the tube nuts with CoMat 02-126 LOCKWIRE.
SUBTASK 72-00-32-420-211 Install the Tubes 128, 126 and 193, the Scavenge Oil Tubes
Remove the top two bolts of the three bolts Fuel System Air Tubes (73-22-49, 03-805) which attach the bracket Fuel System Air Tubes (73-22-49, 03-800) to the bracket Ignition Relay Box (71-51-49, 01-370).
Attach the bracket Fuel System Air Tubes (73-22-49, 03-790) to the bracket Fuel System Air Tubes (73-22-49, 03-800) with the two bolts Fuel System Air Tubes (73-22-49, 03-805). Torque the two bolts to 85 to 105 lbf.in (10 to 12 Nm).
Attach the tube 239 to the flange brackets at the clip positions 1059, 1068, 1073 and 1074 with the bolts, the washers, the nuts and the clipnut. Refer to Figure.
Attach the tube 239 to the bracket Fuel System Air Tubes (73-22-49, 03-790) with the locknut ENGINE FUEL AND CONTROL-FUEL SYSTEM AIR TUBES (73-22-49, 12-110).
Torque the tube 239 nut to 159 to 177 lbf.in (18 to 20 Nm). Safety the tube nut with CoMat 02-126 LOCKWIRE.
Torque the locknut ENGINE FUEL AND CONTROL-FUEL SYSTEM AIR TUBES (73-22-49,12-110) to 38 to 42 * lbf.in (4.3 to 4.7 Nm). Safety the locknut to the bracket Fuel System Air Tubes (73-22-49, 03-790) with CoMat 02-126 LOCKWIRE.
SUBTASK 72-00-32-420-212-A00 Install the Tube 239, the Fuel System Air Tube (Pre SBE 73-0140)
Attach the tube 239 to the flange brackets at the clip positions 1059, 1068, 1073 and 1074 with the bolts, the washers, the nuts and the clipnut. Refer to Figure.
NOTE
Refer to TASK 72-00-32-420-001-B00, SUBTASK 72-00-32-420-278-B00 for the installation of bracket Fuel System Air Tubes (73-22-49, 03-790).Attach the tube 239 to the bracket Fuel System Air Tubes (73-22-49, 03-790) with the locknut ENGINE FUEL AND CONTROL-FUEL SYSTEM AIR TUBES (73-22-49, 12-110).
Torque the tube 239 nut to 159 to 177 lbf.in (18 to 20 Nm). Safety the tube nut with CoMat 02-126 LOCKWIRE.
Torque the locknut ENGINE FUEL AND CONTROL-FUEL SYSTEM AIR TUBES (73-22-49, 12-110) to 38 to 42 * lbfin (4.3 to 4.7 Nm). Safety the locknut to the bracket Fuel System Air Tubes (73-22-49, 03-790) with CoMat 02-126 LOCKWIRE.
SUBTASK 72-00-32-420-212-B00 Install the Tube 239, the Fuel System Air Tube (SBE 73-0140)
SBE 73-0140: Engine fuel and control - Fuel system air tubes - Introduction of revised EEC pipe-support bracket.
Refer to Figure.
Refer to the SPM TASK 70-11-26-300-503 for the procedure to locally swab clean.
Hand clean the specified surfaces with CoMat 05-016 GARNET PAPER, 80-GRIT or CoMat 05-017 GARNET PAPER, 60 GRIT.
Locally swab clean the areas again, refer to the SPM TASK 70-11-26-300-503.
NOTE
Make sure that there are no remaining cleaners in clearances between the bifurcation panel and the fuel tube connectors. The surfaces to be filled must be dry and free from grease, oil and dust.Use dry compressed air or CoMat 02-099 LINT-FREE CLOTH , dry the cleaned areas.
For CoMat 08-014 PRIMER, SILICONE ADHESIVE/SEALANT air dry for 30 minutes.
For CoMat 08-032 PRIMER air dry for 60 to 90 minutes.
Dry the primer:
Use a spatula to apply the CoMat 08-013 COLD CURING SILICONE COMPOUND compound or CoMat 08-074 SEALANT, RTV SILICONE.
Apply the sealant:
NOTE
The surface of the compound can be touched after 12 hours.
Do not apply a load during this time.
For CoMat 08-013 COLD CURING SILICONE COMPOUND cold cure at 68 deg F (20 deg C) for 48 hours.
NOTE
The surface of the sealant can be touched after 1 or 2 hours.
Do not apply a load during this time.
For CoMat 08-074 SEALANT, RTV SILICONE cure at 77 deg F (35 deg C) for 24 hours.
Cure the sealant:
SUBTASK 72-00-40-420-290 Seal the Tube Connections at the Bifurcation Panel (SBE 72-0193)
SBE 72-0193: Core to fancase interface sealing of the bifurcation panel.
Figure: Install the EEC and Ignition Supply Harness Raceway
Install the EEC and Ignition Supply Harness Raceway

Figure: Install the Vibration Harness Raceway
Install the Vibration Harness Raceway

Figure: Install the Vibration Transducer Raceway
Install the Vibration Transducer Raceway

Figure: Install the Tubes 174 and 110, the Power Plant Fuel Tubes
Install the Tubes 174 and 110, the Power Plant Fuel Tubes

Figure: Install the Tubes 174 and 110, the Power Plant Fuel Tubes
Install the Tubes 174 and 110, the Power Plant Fuel Tubes

Figure: Install the Tubes 174 and 110, the Power Plant Fuel Tubes
Install the Tubes 174 and 110, the Power Plant Fuel Tubes

Figure: Install the Tubes 174 and 110, the Power Plant Fuel Tubes
Install the Tubes 174 and 110, the Power Plant Fuel Tubes

Figure: Install the Tubes 110, 117 and 172
Install the Tubes 110, 117 and 172

Figure: Install the Tubes 110, 117 and 172
Sheet 2

Figure: Install the Tubes 110, 117 and 172, the Fuel System Tubes
Sheet 3

Figure: Install the Tubes 114, 115, 111, 113, 177 and 120, the Pressure Oil Tubes
Sheet 1

Figure: Install the Tubes 114, 115, 111, 113, 177 and 120, the Pressure Oil Tubes
Sheet 2

Figure: Install the Tubes 114, 115, 111, 113, 177 and 120, the Pressure Oil Tubes
Sheet 3

Figure: Install the Tubes 114, 115, 111, 113, 177 and 120, the Pressure Oil Tubes
Sheet 4

Figure: Install the Tubes 114, 115, 111, 113, 177 and 120, the Pressure Oil Tubes
Sheet 5

Figure: Install the Tubes 96 to 98, the IDG Cooling Tubes
Sheet 1

Figure: Install the Tubes 96 to 98, the IDG Cooling Tubes
Sheet 2

Figure: Install the Tubes 170 and 171, the Fuel System Tubes
Install the Tubes 170 and 171, the Fuel System Tubes

Figure: Pre SBE 72-0160: Install the Dedicated Alternator Cooling Air Tubes
Sheet 1

Figure: SBE 72-0160: Install the Dedicated Alternator Cooling Air Tubes
Sheet 2

Figure: SBE 72-0160: Install the Dedicated Alternator Cooling Air Tubes
Sheet 3

Figure: SBE 72-0160: Install the Dedicated Alternator Cooling Air Tubes
Sheet 4

Figure: Install the Dedicated Alternator Cooling Air Tubes
Sheet 5

Figure: Pre SBE 72-0160; SBE 72-0160: Install the Dedicated Alternator Cooling Air Tubes
Sheet 6

Figure: Install the Pressure/Scavenge Oil Tubes to the Left Side of the LP Compressor/Intermediate Case
Sheet 1

Figure: Install the Pressure/Scavenge Oil Tubes to the Left Side of the LP Compressor/Intermediate Case
Sheet 2

Figure: Install the Pressure/Scavenge Oil Tubes to the Left Side of the LP Compressor/Intermediate Case
Sheet 3

Figure: Install the Pressure/Scavenge Oil Tubes to the Left Side of the LP Compressor/Intermediate Case
Sheet 4

Figure: Install the Pressure/Scavenge Oil Tubes to the Left Side of the LP Compressor/Intermediate Case
Sheet 5

Figure: Install the Pressure/Scavenge Oil Tubes to the Left Side of the LP Compressor/Intermediate Case
Sheet 6

Figure: Install the Pressure/Scavenge Oil Tubes to the Left Side of the LP Compressor/Intermediate Case
Sheet 7

Figure: Install the Electrical Harness Raceway
Sheet 1

Figure: Install the Electrical Harness Raceway
Sheet 2

Figure: Install the Tubes and the Fuel Flow Transmitter to the Bottom of the LP Compressor/Intermediate Case
Sheet 1

Figure: Install the Tubes and the Fuel Flow Transmitter to the Bottom of the LP Compressor/Intermediate Case
Sheet 2

Figure: Install the Tubes at the Bifurcation Panel
Sheet 1

Figure: Pre SBE 75-0081: Install the Tubes at the Bifurcation Panel
Sheet 2

Figure: SBE 75-0081: Install the Tubes at the Bifurcation Panel
Sheet 3

Figure: Pre SBE 75-0081: Install the Tubes at the Bifurcation Panel
Sheet 4

Figure: SBE 75-0081: Install the Tubes at the Bifurcation Panel
Sheet 5

Figure: Pre SBE 75-0081: Install the Tubes at the Bifurcation Panel
Sheet 6

Figure: SBE 75-0081: Install the Tubes at the Bifurcation Panel
Sheet 7

Figure: Pre SBE 75-0081: Install the Tubes at the Bifurcation Panel
Sheet 8

Figure: SBE 75-0081: Install the Tubes at the Bifurcation Panel
Sheet 9

Figure: Install the Tubes at the Bifurcation Panel
Sheet 10

Figure: Install the Tubes at the Bifurcation Panel
Sheet 11

Figure: Pre SBE 75-0081: Install the Tubes at the Bifurcation Panel
Sheet 12

Figure: SBE 75-0081: Install the Tubes at the Bifurcation Panel
Sheet 13

Figure: Install the Tubes at the Bifurcation Panel
Sheet 14

Figure: Pre SBE 75-0081: Install the Tubes at the Bifurcation Panel
Sheet 15

Figure: SBE 75-0081: Install the Tubes at the Bifurcation Panel
Sheet 16

Figure: Install the Tubes at the Bifurcation Panel
Sheet 17

Figure: Pre SBE 75-0081: Install the Tubes at the Bifurcation Panel
Sheet 18

Figure: Pre SBE 75-0081: Install the Tubes at the Bifurcation Panel
Sheet 19

Figure: Install the LP Compressor/Intermediate Case Bottom Right Side Tubes
Sheet 1

Figure: Pre SBE 75-0081: Install the LP Compressor/Intermediate Case Bottom Right Side Tubes
Sheet 2

Figure: SBE 75-0081: Install the LP Compressor/Intermediate Case Bottom Right Side Tubes
Sheet 3

Figure: Install the LP Compressor/Intermediate Case Bottom Right Side Tubes
Sheet 4

Figure: Install the LP Compressor/Intermediate Case Bottom Right Side Tubes
Sheet 5

Figure: Install the LP Compressor/Intermediate Case Bottom Right Side Tubes
Sheet 6

Figure: Pre SBE 75-0081: Install the LP Compressor/Intermediate Case Right Rear Side Tubes
Sheet 1

Figure: SBE 75-0081: Install the LP Compressor/Intermediate Case Right Rear Side Tubes
Sheet 2

Figure: Pre SBE 75-0081: Install the LP Compressor/Intermediate Case Right Rear Side Tubes
Sheet 3

Figure: SBE 75-0081: Install the LP Compressor/Intermediate Case Right Rear Side Tubes
Sheet 4

Figure: Pre SBE 75-0081: Install the LP Compressor/Intermediate Case Right Rear Side Tubes
Sheet 5

Figure: SBE 75-0081: Install the LP Compressor/Intermediate Case Right Rear Side Tubes
Sheet 6

Figure: Install the LP Compressor/Intermediate Case Right Rear Side Tubes
Sheet 7

Figure: Install LP Compressor/Intermediate Case Right Rear Side Tubes
Sheet 8

Figure: Install the Tubes 159, 135 and 142, the Fuel System Air Tubes and the Hose 220
Sheet 1

Figure: Install the Tubes 159, 135 and 142, the Fuel System Air Tubes and the Hose 220
Sheet 2

Figure: Install the Tubes 159, 135 and 142, the Fuel System Air Tubes and the Hose 220
Sheet 3

Figure: Install the Tubes 159, 135 and 142, the Fuel System Air Tubes and the Hose 220
Sheet 4

Figure: Install the Tubes 125 and 169, the Scavenge Oil Tubes
Sheet 1

Figure: Install the Tubes 125 and 169, the Scavenge Oil Tubes
Sheet 2

Figure: Install the Tubes 119 and 122, the Pressure Oil Tubes
Sheet 1

Figure: Install the Tubes 119 and 122, the Pressure Oil Tubes
Sheet 2

Figure: Pre SBE 75-0081: Install the LP Compressor/Intermediate Case Right Side Tubes
Sheet 1

Figure: SBE 75-0081:Install the LP Compressor/Intermediate Case Right Side Tubes
Sheet 2

Figure: Install the LP Compressor/Intermediate Case Right Side Tubes
Sheet 3

Figure: Pre SBE 75-0081: Install the LP Compressor/Intermediate Case Right Side Tubes
Sheet 4

Figure: SBE 75-0081: Install the LP Compressor/Intermediate Case Right Side Tubes
Sheet 5

Figure: Install the LP Compressor/Intermediate Case Right Side Tubes
Sheet 6

Figure: Pre SBE 75-0081: Install the LP Compressor/Intermediate Case Right Side Tubes
Sheet 7

Figure: SBE 75-0081: Install the LP Compressor/Intermediate Case Right Side Tubes
Sheet 8

Figure: Pre SBE 75-0081: Install the LP Compressor/Intermediate Case Right Side Tubes
Sheet 9

Figure: SBE 75-0081: Install the LP Compressor/Intermediate Case Right Side Tubes
Sheet 10

Figure: Pre SBE 75-0081: Install the LP Compressor/Intermediate Case Right Side Tubes
Sheet 11

Figure: SBE 75-0081: Install the LP Compressor/Intermediate Case Right Side Tubes
Sheet 12

Figure: Install the LP Compressor/Intermediate Case Right Side Tubes
Sheet 13

Figure: Install the LP Compressor/Intermediate Case Right Side Tubes
Sheet 14

Figure: Pre SBE 73-0140: Install the Tube 239, the Fuel System Air Tube
Sheet 1

Figure: SBE 73-0140: Install the Tube 239, the Fuel System Air Tube
SBE 73-0140: Install the Tube 239, the Fuel System Air Tube

Figure: Install the Tube 239, the Fuel System Air Tube
Sheet 3

Figure: Seal the Tube Connections at the Bifurcation Panel.
Seal the Tube Connections at the Bifurcation Panel.

