Export Control
EAR Export Classification: Not subject to the EAR per 15 C.F.R. Chapter 1, Part 734.3(b)(3), except for the following Service Bulletins which are currently published as EAR Export Classification 9E991: SBE70-0992, SBE72-0483, SBE72-0580, SBE72-0588, SBE72-0640, SBE73-0209, SBE80-0024 and SBE80-0025.Copyright
© IAE International Aero Engines AG (2001, 2014 - 2021) The information contained in this document is the property of © IAE International Aero Engines AG and may not be copied or used for any purpose other than that for which it is supplied without the express written authority of © IAE International Aero Engines AG. (This does not preclude use by engine and aircraft operators for normal instructional, maintenance or overhaul purposes.).Applicability
V2500-A1
Common Information
TASK 72-00-50-420-005-A00 LPT Module - Install The LPT Module Components, External Harnesses, And Tubes, Installation-007
General
For lockwire data and procedures refer to the SPM TASK 70-42-05-400-501.
Transportation covers/blanks must be removed immediately before the installation of components and tubes.
Fig./item numbers in parentheses in the procedure agree with those used in the IPC. Only the primary Fig./item numbers are used. For the Service Bulletin alpha variants refer to the IPC.
For all parts identified in a different Chapter/Section/Subject, the applicable Chapter/Section/Subject comes before the Fig./item number.
For standard torque data and procedures refer to the SPM TASK 70-41-01-400-501 and SPM TASK 70-41-02-400-501.
Special torque data is identified with the symbol * after the torque value.
Special assembly tolerances are included in this procedure.
Lubricate all threads and abutment faces of nuts and bolts with CoMat 10-129 ANTI-SEIZE PASTE A anti-seize paste, pure Ni-special, unless other lubricants are referred to in the procedure.
To identify, lubricate and install seal rings refer to the SPM TASK 70-44-01-400-501.
After assembly apply CoMat 07-038 AIR DRYING ENAMEL air drying enamel to any damaged surface protection, joint flanges and attach parts. Use the correct color of air drying enamel. Refer to the SPM TASK 70-38-21-380-501.
The number for each radial location must be identified in a clockwise direction. These start at the engine top position when you look from the rear of the engine, unless stated differently in the procedure.
Refer to the V2500 Illustrated Tool and Equipment Manual (ITEM), Pub.ref.ITE-V2500-1IA, for the illustrations of the special tools given in this procedure.
Do not remove the special plastic caps from the electrical connectors until immediately before they are installed. This will give protection from unwanted fluids and materials.
NOTE
Preliminary Requirements
Pre-Conditions
NONESupport Equipment
| Name | Manufacturer | Part Number / Identification | Quantity | Remark |
|---|---|---|---|---|
| IAE 1M14115 Checking go gage | 0AM53 | IAE 1M14115 | 1 | |
| IAE 1M14116 Checking no-go gage | 0AM53 | IAE 1M14116 | 1 | |
| IAE 1M14117 Checking go/no-go gage | 0AM53 | IAE 1M14117 | 1 | |
| IAE 1M14118 Checking go/no-go gage | 0AM53 | IAE 1M14118 | 1 | |
| IAE 1M14121 Checking go/no-go gage | 0AM53 | IAE 1M14121 | 1 | |
| IAE 1M14122 Checking go/no-go gage | 0AM53 | IAE 1M14122 | 1 | |
| IAE 1M14137 Checking go/no-go gage | 0AM53 | IAE 1M14137 | 1 | |
| IAE 1M14138 Checking go/no-go gage | 0AM53 | IAE 1M14138 | 1 | |
| IAE 1N20015 Aft engine mount sling | 0AM53 | IAE 1N20015 |
Consumables, Materials and Expendables
| Name | Manufacturer | Part Number / Identification | Quantity | Remark |
|---|---|---|---|---|
| CoMat 02-119 LOCKWIRE | LOCAL | CoMat 02-119 | ||
| CoMat 02-126 LOCKWIRE | K6835 | CoMat 02-126 | ||
| CoMat 02-128 LOCKWIRE | LOCAL | CoMat 02-128 | ||
| CoMat 02-141 LOCKWIRE | LOCAL | CoMat 02-141 | ||
| CoMat 10-078 ANTISEIZE COMPOUND | LOCAL | CoMat 10-078 | ||
| CoMat 10-129A ANTI-SEIZE PASTE | 71984 | CoMat 10-129A | ||
| CoMat 02-148 ADHESIVE TAPE (ELECTRICAL) | LOCAL | CoMat 02-148 | ||
| CoMat 10-129 ANTI-SEIZE PASTE | 34568 | CoMat 10-129 | ||
| CoMat 07-038 AIR DRYING ENAMEL | 00BB6 | CoMat 07-038 |
Spares
NONESafety Requirements
WARNING
Procedure

WARNING
BE CAREFUL WHEN YOU INSTALL THE AFT MOUNT BECAUSE IT WEIGHS 29 KG (64 LBS).Attach IAE 1N20015 Aft engine mount sling 1 off to a hoist in position over the aft engine mount.
Apply CoMat 10-078 ANTISEIZE COMPOUND to the outside surface of the three outer pins POWER PLANT-AFT MOUNT (71-22-11, 01-070).
Install the three outer pins POWER PLANT-AFT MOUNT (71-22-11, 01-070) through the LP turbine case flange and in to the aft mount, at the three locations A.
Apply CoMat 10-078 ANTISEIZE COMPOUND to the outside surface of the three inner pins POWER PLANT-AFT MOUNT (71-22-11, 01-080).
Install the three inner pins POWER PLANT-AFT MOUNT (71-22-11, 01-080) in to the outer pins.
Install the six retainers POWER PLANT-AFT MOUNT (71-22-11, 01-060) in to the slots of the outer pin and inner pin.
Install the 12 bolts POWER PLANT-AFT MOUNT (71-22-11, 01-050), the 12 washers POWER PLANT-AFT MOUNT (71-22-11, 01-040), the 12 washers POWER PLANT-AFT MOUNT (71-22-11, 01-030) and the six nuts POWER PLANT-AFT MOUNT (71-22-11, 01-020).
SUBTASK 72-00-50-420-108 Install the Aft Mount
Refer to Figure.
Install the two piston rings ENGINE INDICATING-EGT THERMOCOUPLE (77-21-15, 01-140) in to the grooves one of the four EGT probes ENGINE INDICATING-EGT THERMOCOUPLE (77-21-15, 01-100). Make sure that the spaces in each piston ring are 180 degrees apart.
Install the two bolts ENGINE INDICATING-EGT THERMOCOUPLE (77-21-15, 01-120) in to the turbine exhaust case through the EGT probe.

CAUTION
YOU MUST MAKE SURE THAT THE EGT THERMOCOUPLE BOLTS ARE CORRECTLY SAFETIED. INCORRECT SAFETYING OF THE BOLTS CAN RESULT IN LOOSE BOLTS AND SUBSEQUENT LOSS OF EGT INDICATION.
CAUTION
MAKE SURE THE SAFETY WIRE DOES NOT TOUCH THE THERMOCOUPLE STUDS OR THE EGT HARNESS LEADS. THIS CAN CAUSE ERRATIC OR UNRELIABLE EGT INDICATION.Safety the bolts with CoMat 02-141 LOCKWIRE.
NOTE
You must not use the EGT thermocouple probe terminals to attach the lockwire. Refer to the view which shows the method which is not acceptable and must not be used.Make sure the lockwire correctly safeties the eight EGT thermocouple bolts ENGINE INDICATING-EGT THERMOCOUPLE (77-21-15, 01-120). Refer to view which shows the acceptable method to safety the bolts, Figure.
SUBTASK 72-00-50-420-109 Install the Exhaust Gas Thermocouple (EGT) Probes in to the Turbine Exhaust Case
Install the two clips AIR-HP ACTIVE CLEARANCE CONTROL MANIFOLD (75-24-48, 02-525), and the two bolts AIR-HP ACTIVE CLEARANCE CONTROL MANIFOLD (75-24-48, 02-515) that attach the lower TCM to the brackets ENGINE-ATTACH PARTS & FITTINGS-LP TURBINE MODULE (72-00-50, 01-450 and ENGINE-ATTACH PARTS & FITTINGS-LP TURBINE MODULE 01-470) on flange FN. Torque the bolts to 36 to 40 lbfin (4 to 5 Nm).
Install the lower turbine cooling manifold (TCM) AIR-HP ACTIVE CLEARANCE CONTROL MANIFOLD (75-24-48, 02-500).
Attach the left hand TCM to two of the brackets ENGINE-ATTACH PARTS & FITTINGS-LP TURBINE MODULE (72-00-50, 01-430) and the bracket ENGINE-ATTACH PARTS & FITTINGS-LP TURBINE MODULE (72-00-50, 01-470) on the flange FN, with three of the six bolts AIR-HP ACTIVE CLEARANCE CONTROL MANIFOLD (75-24-48, 02-315). Torque the bolts to, 36 to 45 lbfin (4.00 to 5.00 NM).
Attach the left hand TCM to three of the brackets HPC Module - Attaching Parts (72-40-00, 05-520) on the flange FM, with the other three bolts. Torque the bolts to, 36 to 45 lbfin (4.00 to 5.00 Nm).
Install the left hand turbine cooling manifold (TCM) AIR-HP ACTIVE CLEARANCE CONTROL MANIFOLD (75-24-48, 02-300).
Attach the right hand TCM to the other two brackets ENGINE-ATTACH PARTS & FITTINGS-LP TURBINE MODULE (72-00-50, 01-430) and the bracket ENGINE-ATTACH PARTS & FITTINGS-LP TURBINE MODULE (72-00-50, 01-450) on the flange FN, with three of the six bolts AIR-HP ACTIVE CLEARANCE CONTROL MANIFOLD (75-24-48, 02-115). Torque the bolts to, 36 to 45 lbfin (4.00 to 5.00 Nm).
Attach the right hand TCM to the other three brackets HPC Module - Attaching Parts (72-40-00, 05-520) on the flange FM, with the other three bolts. Torque the bolts to, 36 to 45 lbfin (4 to 5 Nm).
Install the right hand turbine cooling manifold (TCM) AIR-HP ACTIVE CLEARANCE CONTROL MANIFOLD (75-24-48, 02-100).
SUBTASK 72-00-50-420-110-A00 Install the HP Turbine Active Clearance Control Manifolds (Pre SBE 75-0013)
Attach the lower TCM to the engine with the eight bolts AIR-HP ACTIVE CLEARANCE CONTROL MANIFOLD (75-24-48, 02-120 and AIR-HP ACTIVE CLEARANCE CONTROL MANIFOLD 02-320). Make sure that the lower TCM engages in the active clearance control valve. Torque the bolts to 36 to 40 lbfin (4 to 5 Nm).
Install the two clips AIR-HP ACTIVE CLEARANCE CONTROL MANIFOLD (75-24-48, 02-525), and the two bolts AIR-HP ACTIVE CLEARANCE CONTROL MANIFOLD (75-24-48, 02-515) that attach the lower TCM to the brackets ENGINE-ATTACH PARTS & FITTINGS-LP TURBINE MODULE (72-00-50, 01-450 and ENGINE-ATTACH PARTS & FITTINGS-LP TURBINE MODULE 01-470) on flange FN. Torque the bolts to 36 to 40 lbfin (4 to 5 Nm).
Install the lower turbine cooling manifold (TCM) AIR-HP ACTIVE CLEARANCE CONTROL MANIFOLD (75-24-48, 02-500).
Attach the left hand TCM to two of the brackets ENGINE-ATTACH PARTS & FITTINGS-LP TURBINE MODULE (72-00-50, 01-430) and the bracket ENGINE-ATTACH PARTS & FITTINGS-LP TURBINE MODULE (72-00-50, 01-470) on the flange FN, with two of the four bolts AIR-HP ACTIVE CLEARANCE CONTROL MANIFOLD (75-24-48, 02-315). Torque the bolts to 36 to 45 lbfin (4.00 to 5.00 Nm).
Attach the left hand TCM to two of the brackets HPC Module - Attaching Parts (72-40-00, 05-520) on the flange FM, with the other two bolts. Torque the bolts to 36 to 45 lbfin (4.00 to 5.00 Nm).
Install the left hand turbine cooling manifold (TCM) AIR-HP ACTIVE CLEARANCE CONTROL MANIFOLD (75-24-48, 02-300).
Attach the right hand TCM to the other two brackets ENGINE-ATTACH PARTS & FITTINGS-LP TURBINE MODULE (72-00-50, 01-430) and the bracket ENGINE-ATTACH PARTS & FITTINGS-LP TURBINE MODULE (72-00-50, 01-450) on the flange FN, with two of the four bolts AIR-HP ACTIVE CLEARANCE CONTROL MANIFOLD (75-24-48, 02-115). Torque the bolts to 36 to 45 lbfin (4.00 to 5.00 Nm).
Attach the right hand TCM to the other two brackets HPC Module - Attaching Parts (72-40-00, 05-520) on the flange FM, with the other two bolts. Torque the bolts to 36 to 45 lbfin (4 to 5 Nm).
Install the right hand turbine cooling manifold (TCM) AIR-HP ACTIVE CLEARANCE CONTROL MANIFOLD (75-24-48, 02-100).
SUBTASK 72-00-50-420-110-B00 Install the HP Turbine Active Clearance Control Manifolds (SBE 75-0013)
SBE 75-0013: Air - Provide HPT ACC tubes with Improved maintainability features
Remove the upper ACC manifold AIR-LP ACTIVE CLEARANCE CONTROL MANIFOLD (75-24-49, 02-010) from the support fixture.
Install the two bolts AIR-LP ACTIVE CLEARANCE CONTROL MANIFOLD (75-24-49, 02-060) and the spacers (max. two) with a small diameter AIR-LP ACTIVE CLEARANCE CONTROL MANIFOLD (75-24-49, 02-070) to the clip nuts equally at each of the three positions.
Assemble the joints on the front flange at positions A, B and H.
Install two spacers AIR-LP ACTIVE CLEARANCE CONTROL MANIFOLD (75-24-49, 02-050) between the rear boss and the support assembly at each of the three positions.
Install a bolt AIR-LP ACTIVE CLEARANCE CONTROL MANIFOLD (75-24-49, 02-030) and a washer AIR-LP ACTIVE CLEARANCE CONTROL MANIFOLD (75-24-49, 02-040) with two more spacers, at each of the three positions through the flange in to the rear boss and the other spacers. Loosely tighten the three bolts.
Assemble the joints on the rear boss at the positions A, B and H.
Remove the lower ACC manifold AIR-LP ACTIVE CLEARANCE CONTROL MANIFOLD (75-24-49, 03-010) from the support fixture.
Install the two bolts AIR-LP ACTIVE CLEARANCE CONTROL MANIFOLD (75-24-49, 03-060) and the spacers (max. two) with a small diameter AIR-LP ACTIVE CLEARANCE CONTROL MANIFOLD (75-24-49, 03-070) to the clip nuts equally at each of the three positions.
Assemble the joints on the front flange at positions D, E and F.
Install two spacers AIR-LP ACTIVE CLEARANCE CONTROL MANIFOLD (75-24-49, 03-050) between the rear boss and the support assembly at each of the three positions.
Install a bolt AIR-LP ACTIVE CLEARANCE CONTROL MANIFOLD (75-24-49, 03-030) and a washer AIR-LP ACTIVE CLEARANCE CONTROL MANIFOLD (75-24-49, 03-040) with two more spacers, at each of the three positions, through the flange in to the rear boss and spacers. Loosely tighten the three bolts.
Assemble the joints on the rear boss at the positions D, E and F.
Install the two bolts AIR-LP ACTIVE CLEARANCE CONTROL MANIFOLD (75-24-49, 04-450) and the spacers (max. two) with a small diameter AIR-LP ACTIVE CLEARANCE CONTROL MANIFOLD (75-24-49, 04-460) to the anchor nuts equally.
Assemble the joint at the front flange.
Install two spacers AIR-LP ACTIVE CLEARANCE CONTROL MANIFOLD (75-24-49, 04-440) between the rear boss and the support assembly.
Install a bolt AIR-LP ACTIVE CLEARANCE CONTROL MANIFOLD (75-24-49, 04-420) and a washer AIR-LP ACTIVE CLEARANCE CONTROL MANIFOLD (75-24-49, 04-430) with two more spacers through the flange in to the rear boss and the other spacers. Loosely tighten the bolt.
Assemble the joint at the rear boss.
Move the support assembly at position C in to position.
Install the two bolts AIR-LP ACTIVE CLEARANCE CONTROL MANIFOLD (75-24-49, 04-050), the spacers (max. two) with a small diameter AIR-LP ACTIVE CLEARANCE CONTROL MANIFOLD (75-24-49, 04-060) to the anchor nuts equally.
Assemble the joint at the front flange.
Install two spacers AIR-LP ACTIVE CLEARANCE CONTROL MANIFOLD (75-24-49, 04-040) between the rear boss and the support assembly.
Install a bolt AIR-LP ACTIVE CLEARANCE CONTROL MANIFOLD (75-24-49, 04-020) and a washer AIR-LP ACTIVE CLEARANCE CONTROL MANIFOLD (75-24-49, 04-030) with two more spacers through the flange in to the rear boss and the other spacers. Loosely tighten the bolt.
Assemble the joint at the rear boss.
Move the support assembly at position G in to position.
NOTE
On engines that are Pre SBE 70-0030, use the support equipment that follows:On engines that are Post SBE 70-0030: Changed material on LP Turbine Cooling Air Duct, use the support equipment that follows:Start the examination at the upper and lower LP Turbine cooling air ducts at positions A and E. Continue at the support assemblies at positions B, D, F and H. Finally, examine at the support assemblies at positions C and G. Use the applicable support equipment.
NOTE
The axial and radial clearances, between the LP Turbine case and the LP Turbine cooling air ducts at tubes No.3 and 8, are in relation to the LP Turbine case and the LP Turbine cooling air ducts assembly configuration. The assembly configurations, the necessary clearances and the support equipments are shown in Figure and Figure.The adjustment is correct if:The go gage or the gage end of the checking gage, identified by the green area, can be put in between the LP Turbine case and the LP Turbine cooling air duct.The no gage or the gage end of the checking gage, identified by the red area, can not be put in between the LP Turbine case and the LP Turbine cooling air duct.Adjust the upper and lower LP Turbine cooling air ducts.
SUBTASK 72-00-50-420-111 Install the LP Turbine Active Clearance Control (ACC) Manifolds
Install the metal C seal AIR-TURBINE COOLING AIR TUBES (75-23-49, 01-095) 1 off, at the HP turbine case connection.
Install the metal C seal AIR-TURBINE COOLING AIR TUBES (75-23-49, 01-090) 1 off in the forward tube connector.
Install the bracket AIR-TURBINE COOLING AIR TUBES (75-23-49, 01-080) and the four bolts AIR-TURBINE COOLING AIR TUBES (75-23-49, 01-110) at the HP compressor case connector flange. Torque the bolts to, 180 to 220 lbfin (20 to 25 Nm).
Install the clip, bolt, two washers and nut at the clip position 5793 to attach the tube 5 to the bracket AIR-TURBINE COOLING CONTROLLED AIR TUBES (75-23-48, 04-147). Torque the bolt to 36 to 45 lbfin (4 to 5 Nm).
Install the clip, bolt, two washers and nut at the clip position 5793 to attach the tube 25 AIR-TURBINE COOLING CONTROLLED AIR TUBES (75-23-48, 04-100) to the bracket AIR-TURBINE COOLING CONTROLLED AIR TUBES (75-23-48, 04-147). Torque the bolt to 36 to 45 lbfin (4 to 5 Nm).
Install the four bolts AIR-TURBINE COOLING AIR TUBES (75-23-49, 01-120) at the HP turbine case connection flange. Torque the bolts to 180 lbfin. to 220 lbfin. (20 Nm to 25 Nm). Safety the bolts with CoMat 02-126 LOCKWIRE.
Put the clamp adjacent to the bracket ENGINE FUEL AND CONTROL-FUEL NOZZLE (73-13-41, 01-120).
Install the bolt AIR-TURBINE COOLING AIR TUBES (75-23-49, 01-135) and the clip nut AIR-TURBINE COOLING AIR TUBES (75-23-49, 01-130). Torque the bolt to, 36 to 45 lbfin (4 to 5 Nm).
Install the clamp AIR-TURBINE COOLING AIR TUBES (75-23-49, 01-140).
Put the clamp adjacent to the bracket HPC Module - Attaching Parts (72-40-00, 05-140).
Install the bolt AIR-TURBINE COOLING AIR TUBES (75-23-49, 01-150) and the clip nut AIR-TURBINE COOLING AIR TUBES (75-23-49, 01-145). Torque the bolt to, 36 to 45 lbfin (4 to 5 Nm).
Install the clamp AIR-TURBINE COOLING AIR TUBES (75-23-49, 01-155).
Install tube 5 AIR-TURBINE COOLING AIR TUBES (75-23-49, 01-100).
Install the metal C seal AIR-TURBINE COOLING AIR TUBES (75-23-49, 01-495) 1 off at the HP turbine case connection.
Install the metal C seal AIR-TURBINE COOLING AIR TUBES (75-23-49, 01-490) 1 off in the forward tube connection.
Install the four bolts AIR-TURBINE COOLING AIR TUBES (75-23-49, 01-510) at the HP compressor case connection flange. Torque the bolts to 180 to 220 lbfin (20 to 25 Nm).
Install the four bolts AIR-TURBINE COOLING AIR TUBES (75-23-49, 01-520) at the HP turbine case connector flange. Torque the bolts to 180 lbfin. to 220 lbfin. (20 Nm to 25 Nm). Safety the bolts with CoMat 02-126 LOCKWIRE.
Put the clamp adjacent to the bracket ENGINE FUEL AND CONTROL-FUEL NOZZLE (73-13-41, 01-180).
Install the bolt AIR-TURBINE COOLING AIR TUBES (75-23-49, 01-535) and the clip nut AIR-TURBINE COOLING AIR TUBES (75-23-49, 01-530). Torque the bolt to, 36 to 45 lbfin (4 to 5 Nm).
Install the clamp AIR-TURBINE COOLING AIR TUBES (75-23-49, 01-540).
Put the clamp adjacent to the bracket HPC Module - Attaching Parts (72-40-00, 05-520).
Install the bolt AIR-TURBINE COOLING AIR TUBES (75-23-49, 01-550) and the clip nut AIR-TURBINE COOLING AIR TUBES (75-23-49, 01-545). Torque the bolt to, 36 to 45 lbfin (4 to 5 Nm).
Install the clamp AIR-TURBINE COOLING AIR TUBES (75-23-49, 01-555).
Install tube 6 AIR-TURBINE COOLING AIR TUBES (75-23-49, 01-500).
Install the metal C seal AIR-TURBINE COOLING AIR TUBES (75-23-49, 02-495) 1 off at the HP turbine case connection.
Install the metal C seal AIR-TURBINE COOLING AIR TUBES (75-23-49, 02-490) 1 off in the forward tube connection.
Install the four bolts AIR-TURBINE COOLING AIR TUBES (75-23-49, 02-510) at the HP compressor case connection. Torque the bolts to, 180 to 220 lbfin (20 to 25 Nm).
Install the four bolts AIR-TURBINE COOLING AIR TUBES (75-23-49, 02-520) at the HP turbine case connection. Torque the bolts to 180 lbfin. to 220 lbfin. (20 Nm to 25 Nm). Safety the bolts with CoMat 02-126 LOCKWIRE.
Put the clamp adjacent to the bracket ENGINE FUEL AND CONTROL-FUEL NOZZLE (73-13-41, 01-400).
Install the bolt AIR-TURBINE COOLING AIR TUBES (75-23-49, 02-535) and the nut AIR-TURBINE COOLING AIR TUBES (75-23-49, 02-530). Torque the nut to, 36 to 45 lbfin (4 to 5 Nm).
Install the clamp AIR-TURBINE COOLING AIR TUBES (75-23-49, 02-540).
Put the clamp adjacent to the bracket HPC Module - Attaching Parts (72-40-00, 05-420).
Install the clamp AIR-TURBINE COOLING AIR TUBES (75-23-49, 02-555).
Install the bolt AIR-TURBINE COOLING AIR TUBES (75-23-49, 02-550) and the nut AIR-TURBINE COOLING AIR TUBES (75-23-49, 01-545). Torque the bolt to, 36 to 45 lbfin (4 to 5 Nm).
Install the clip, bolt, two washers and nut at the clip position 5792 to attach the tube 7 to the bracket AIR-TURBINE COOLING CONTROLLED AIR TUBES (75-23-48, 04-555). Torque the bolt to 36 to 45 lbfin (4 to 5 Nm).
Install the clip, bolt, two washers and nut at the clip position 5792 to attach the tube 26 AIR-TURBINE COOLING CONTROLLED AIR TUBES (75-23-48, 04-500) to the bracket AIR-TURBINE COOLING CONTROLLED AIR TUBES (75-23-48, 04-555). Torque the bolt to 36 to 45 lbfin (4 to 5 Nm).
Install tube 7 AIR-TURBINE COOLING AIR TUBES (75-23-49, 02-500).
Install the metal C seal AIR-TURBINE COOLING AIR TUBES (75-23-49, 02-095) 1 off, at the HP turbine case connection.
Install the metal C seal AIR-TURBINE COOLING AIR TUBES (75-23-49, 02-090) 1 off in the forward tube connection.
Install the four bolts AIR-TURBINE COOLING AIR TUBES (75-23-49, 02-110) at the HP compressor connector flange. Torque the bolts to 180 to 220 lbfin (20 to 25 Nm).
Install the bracket AIR-TURBINE COOLING AIR TUBES (75-23-49, 02-080) and the four bolts AIR-TURBINE COOLING AIR TUBES (75-23-49, 02-120) at the HP turbine case connector flange. Torque the bolts to 180 lbfin. to 220 lbfin. (20 Nm to 25 Nm). Safety the bolts with CoMat 02-126 LOCKWIRE.
Put the clamp adjacent to the bracket ENGINE FUEL AND CONTROL-FUEL NOZZLE (73-13-41, 01-340).
Install the bolt AIR-TURBINE COOLING AIR TUBES (75-23-49, 02-135) and the clip nut AIR-TURBINE COOLING AIR TUBES (75-23-49, 02-130). Torque the nut to, 36 to 45 lbfin (4 to 5 Nm).
Install the clamp AIR-TURBINE COOLING AIR TUBES (75-23-49, 02-140).
Put the clamp adjacent to the bracket HPC Module - Attaching Parts (72-40-00, 05-380).
Install the bolt AIR-TURBINE COOLING AIR TUBES (75-23-49, 02-150) and the clipnut AIR-TURBINE COOLING AIR TUBES (75-23-49, 02-145). Torque the bolt to, 36 to 45 lbfin (4 to 5 Nm).
Install the clamp AIR-TURBINE COOLING AIR TUBES (75-23-49, 02-155).
Install tube 8 AIR-TURBINE COOLING AIR TUBES (75-23-49, 02-100).
SUBTASK 72-00-50-420-112 Install the Tubes 5, 6, 7, 8, the Turbine Cooling Air Supply Tubes
Put the number 4 bearing air cooler in to position and install the bolts AIR-NO.4 BEARING COMPARTMENT AIR COOLER (75-22-41, 01-135 and AIR-NO.4 BEARING COMPARTMENT AIR COOLER 01-155) the spacers AIR-NO.4 BEARING COMPARTMENT AIR COOLER (75-22-41, 01-140 and AIR-NO.4 BEARING COMPARTMENT AIR COOLER 01-160) and the nuts AIR-NO.4 BEARING COMPARTMENT AIR COOLER (75-22-41, 01-130 and AIR-NO.4 BEARING COMPARTMENT AIR COOLER01-150) in to the forward brackets HPC Module - Attaching Parts (72-40-00, 05-300 and HPC Module - Attaching Parts 05-340) on diffuser case rear flange.
Install the bolt AIR-NO.4 BEARING COMPARTMENT AIR COOLER (75-22-41, 01-115), the spacer AIR-NO.4 BEARING COMPARTMENT AIR COOLER (75-22-41, 01-120) and the nut AIR-NO.4 BEARING COMPARTMENT AIR COOLER (75-22-41, 01-110) at the rear bracket ENGINE-ATTACH PARTS & FITTINGS-LP TURBINE MODULE (72-00-50, 01-330) on HP turbine rear flange.
Install the new AIR-BEARING COMPARTMENT COOLING & SEALING TUBES (75-22-49, 08-108) corrujoint washer 1 off, between the tube 12 and the number 4 bearing compartment air cooler.
Install the three bolts AIR-BEARING COMPARTMENT COOLING & SEALING TUBES (75-22-49, 08-106).
Do Step again to make sure that all of the bolts are at the necessary torque of, 85 to 105 lbfin (10 to 12 Nm).
If any of the bolts are not at the necessary torque, then do Step again until all the bolts are at the necessary torque when torqued in sequence.
Attach the tube 12 to the number 4 bearing compartment air cooler.
Install the new AIR-BEARING COMPARTMENT COOLING & SEALING TUBES (75-22-49, 10-116) corrujoint washer 1 off, between the tube 11 and the number 4 bearing compartment air cooler.
Install the three bolts AIR-BEARING COMPARTMENT COOLING & SEALING TUBES (75-22-49, 10-114), the washer AIR-BEARING COMPARTMENT COOLING & SEALING TUBES (75-22-49, 10-112) and the two brackets AIR-BEARING COMPARTMENT COOLING & SEALING TUBES (75-22-49, 10-060 and AIR-BEARING COMPARTMENT COOLING & SEALING TUBES 10-070).
Do Step again to make sure that all of the bolts are at the necessary torque of, 85 to 105 lbfin (10 to 12 Nm).
If any of the bolts are not at the necessary torque, then do Step again until all of the bolts are at the necessary torque when torqued in sequence.
Attach the tube 11 to the number 4 bearing compartment air cooler.
SUBTASK 72-00-50-420-113 Install the Number 4 Bearing Compartment Air Cooler
Put the piston rings ENGINE FUEL AND CONTROL-P4.9 SENSOR AND MANIFOLD (73-22-51, 01-330) in position on the pipe adapter. Make sure that the space in each piston ring are 180 degrees apart.
Install the two bolts ENGINE FUEL AND CONTROL-P4.9 SENSOR AND MANIFOLD (73-22-51, 01-320) and the bracket ENGINE FUEL AND CONTROL-P4.9 SENSOR AND MANIFOLD (73-22-51, 01-323). Torque the bolts to, 85 to 105 lbfin (10 to 12 Nm).
Safety the bolts with CoMat 02-126 LOCKWIRE.
Install the pipe adapter ENGINE FUEL AND CONTROL-P4.9 SENSOR AND MANIFOLD (73-22-51, 01-310).
Put the piston rings ENGINE FUEL AND CONTROL-P4.9 SENSOR AND MANIFOLD (73-22-51, 01-070) in position on the tube 70. Make sure that the space in each piston ring are 180 degrees apart.
Install the two bolts ENGINE FUEL AND CONTROL-P4.9 SENSOR AND MANIFOLD (73-22-51, 01-060) at the flange connection and torque to, 85 to 105 lbfin (10 to 12 Nm).
Safety the bolts and the pipe nut with CoMat 02-126 LOCKWIRE.
Install tube 70 RH pressure control manifold ENGINE FUEL AND CONTROL-P4.9 SENSOR AND MANIFOLD (73-22-51, 01-050).
Put the piston rings ENGINE FUEL AND CONTROL-P4.9 SENSOR AND MANIFOLD (73-22-51, 01-200) in to position on tube 81. Make sure that the space in each piston ring are 180 degrees apart.
Install the two bolts ENGINE FUEL AND CONTROL-P4.9 SENSOR AND MANIFOLD (73-22-51, 01-190) at the flange connection and torque to, 85 to 105 lbfin (10 to 12 Nm).
Safety the bolts and the tube nut with CoMat 02-126 LOCKWIRE.
Install the tube 81 LH pressure control manifold ENGINE FUEL AND CONTROL-P4.9 SENSOR AND MANIFOLD (73-22-51, 01-180).
Safety the tube nuts with CoMat 02-126 LOCKWIRE.
Install the tube 3, P4.9 ECC tube ENGINE FUEL AND CONTROL-FUEL SYSTEM AIR TUBES (73-22-49, 01-100).
SUBTASK 72-00-50-420-114-A00 Install the Tubes 70, 81 and 3, P4.9 Pressure Rake Tubes (Pre SBE 72-0053)
Put the piston rings ENGINE FUEL AND CONTROL-P4.9 SENSOR AND MANIFOLD (73-22-51, 01-330) in position on the pipe adapter. Make sure that the space in each piston ring are 180 degrees apart.
Install the two bolts ENGINE FUEL AND CONTROL-P4.9 SENSOR AND MANIFOLD (73-22-51, 01-320) and the bracket ENGINE FUEL AND CONTROL-P4.9 SENSOR AND MANIFOLD (73-22-51, 01-323). Torque the bolts to, 85 to 105 lbfin (10 to 12 Nm).
Safety the bolts with CoMat 02-126 LOCKWIRE.
Install the pipe adapter ENGINE FUEL AND CONTROL-P4.9 SENSOR AND MANIFOLD (73-22-51, 01-310).
Put the piston rings ENGINE FUEL AND CONTROL-P4.9 SENSOR AND MANIFOLD (73-22-51, 01-070) in position on the tube 70. Make sure that the space in each piston ring are 180 degrees apart.
Install the two bolts ENGINE FUEL AND CONTROL-P4.9 SENSOR AND MANIFOLD (73-22-51, 01-060) at the flange connection and torque to, 85 to 105 lbfin (10 to 12 Nm).
Safety the bolts and the pipe nut with CoMat 02-126 LOCKWIRE.
Install tube 70 RH pressure control manifold ENGINE FUEL AND CONTROL-P4.9 SENSOR AND MANIFOLD (73-22-51, 01-050).
Put the piston rings ENGINE FUEL AND CONTROL-P4.9 SENSOR AND MANIFOLD (73-22-51, 01-200) in to position on tube 81. Make sure that the space in each piston ring are 180 degrees apart.
Install the two bolts ENGINE FUEL AND CONTROL-P4.9 SENSOR AND MANIFOLD (73-22-51, 01-190) at the flange connection and torque to, 85 to 105 lbfin (10 to 12 Nm).
Safety the bolts and the tube nut with CoMat 02-126 LOCKWIRE.
Install the tube 81 LH pressure control manifold ENGINE FUEL AND CONTROL-P4.9 SENSOR AND MANIFOLD (73-22-51, 01-180).
Safety the tube nut with CoMat 02-126 LOCKWIRE.
Install the tube 3, P4.9 EEC tube ENGINE FUEL AND CONTROL-FUEL SYSTEM AIR TUBES (73-22-49, 01-100).
SUBTASK 72-00-50-420-114-B00 Install the Tubes 70, 81 and 3, P4.9 Pressure Rake Tubes (SBE 72-0053)
SBE 72-0053: Engine - General - Provide various replacement external tubes with relocated tube sleeves
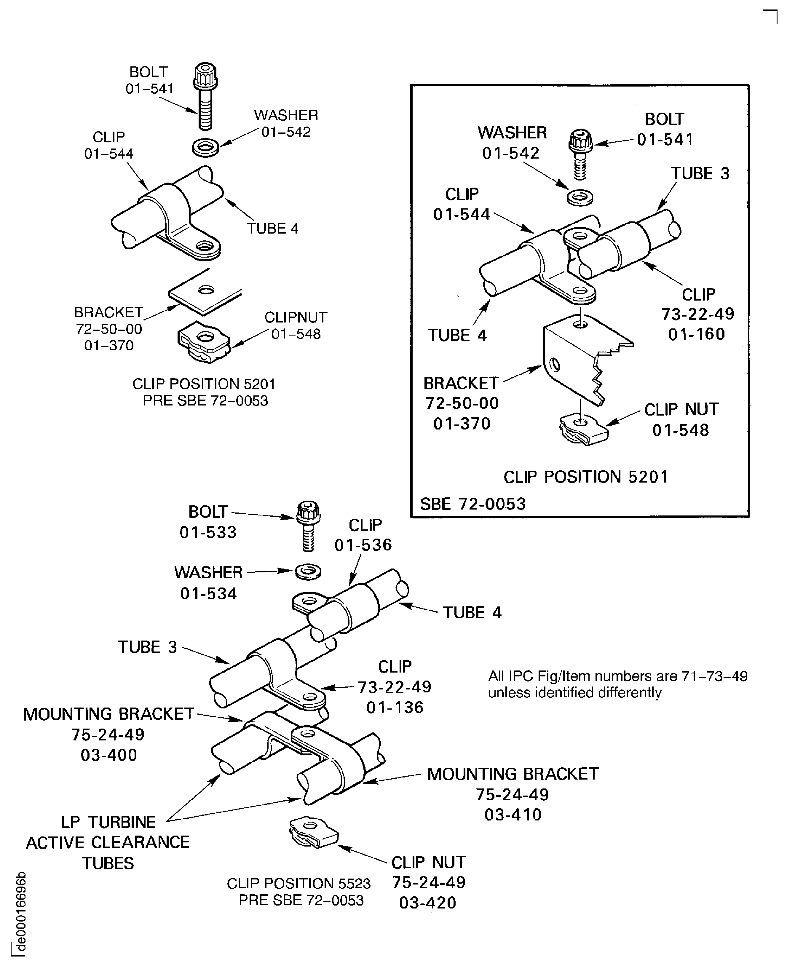
Put tube 4 "OIL,HYDRAULIC AND WATER DRAIN TUBES-ENGINE (71-73-49, 01-500) in position on the engine.
Torque the tube nuts to, 159 to 177 lbfin (18 to 20 Nm) and safety with CoMat 02-126 LOCKWIRE.
SUBTASK 72-00-50-420-115-A00 Install the Tube 4, Number 4 Bearing Oil Weep Tube (Pre SBE 72-0053 and Pre SBE 72-0063)
Put tube 4 "OIL,HYDRAULIC AND WATER DRAIN TUBES-ENGINE (71-73-49, 01-500) in position on the engine.
Torque the tube nuts to, 159 to 177 lbfin (18 to 20 Nm) and safety with CoMat 02-126 LOCKWIRE.
SUBTASK 72-00-50-420-115-B00 Install the Tube 4, Number 4 Bearing Oil Weep Tube (SBE 72-0053 and SBE 72-0063)
SBE 72-0053: Engine - General - Provide various replacement external tubes with relocated tube sleeves.
SBE 72-0063: Introduce new tube assemblies required for modified turbine exhaust case.
Attach the bracket OIL-SCAVENGE OIL TUBES-ENGINE (79-22-49, 01-070) to the LP turbine active clearance control with the two bolts OIL-SCAVENGE OIL TUBES-ENGINE (79-22-49, 01-074). Torque the bolts to, 36 to 45 lbfin (4.00 to 5.00 Nm).
Put the metallic oil seal OIL-SCAVENGE OIL TUBES-ENGINE (79-22-49, 01-116) in to the correct position.
SBE 79-0011 - Install the four bolts OIL-SCAVENGE OIL TUBES-ENGINE (79-22-49, 01-114) and the two threaded plates OIL-SCAVENGE OIL TUBES-ENGINE (79-22-49, 01-110).
Pre SBE 79-0011 - Install the four bolts OIL-SCAVENGE OIL TUBES-ENGINE (79-22-49, 01-114) and the four nuts OIL-SCAVENGE OIL TUBES-ENGINE (79-22-49, 01-110).
SBE 79-0011 - Safety the bolts with CoMat 02-119 LOCKWIRE.
Connect the tube 2 to the outer oil scavenge tube.
Torque the tube nut to, 398 to 434 lbfin (45 to 49 Nm) and safety with CoMat 02-126 LOCKWIRE.
Do a check on the clearance between the tube 2 and the flange FP bolt. Make sure that there is a minimum clearance of 0.050 in. (1.27 mm), refer to Figure.
SUBTASK 72-00-50-420-116 Install the tube 2, Number 5 Bearing Oil Scavenge Tube (SBE 79-0011)
SBE 79-0011: Revise no. 5 bearing oil scavenge tube assembly attaching parts
Attach the bracket OIL-PRESSURE OIL TUBES-ENGINE (79-21-49, 16-070) to the LP turbine active clearance control at the seven o'clock position, with the two bolts OIL-PRESSURE OIL TUBES-ENGINE (79-21-49, 16-072). Torque the bolts to, 36 to 45 lbfin (4 to 5 Nm).
Put the metallic oil seal OIL-PRESSURE OIL TUBES-ENGINE (79-21-49, 16-116) in the correct position.
Install the three bolts OIL-PRESSURE OIL TUBES-ENGINE (79-21-49, 16-114) and the three nuts OIL-PRESSURE OIL TUBES-ENGINE (79-21-49, 16-110).
Connect the tube 1 to the outer oil feed tube.
Torque the tube nut to, 230 to 248 lbfin (26 to 28 Nm) and safety with CoMat 02-126 LOCKWIRE.
SUBTASK 72-00-50-420-117-A00 Install the Tube 1, Number 5 Bearing Oil Feed Tube (Pre SBE 72-0053)
Attach the bracket OIL-PRESSURE OIL TUBES-ENGINE (79-21-49, 16-070) to the LP turbine active clearance control at the seven o'clock position, with the two bolts OIL-PRESSURE OIL TUBES-ENGINE (79-21-49, 16-072). Torque the bolts to, 36 to 45 lbfin (4 to 5 Nm).
Put the metallic oil seal OIL-PRESSURE OIL TUBES-ENGINE (79-21-49, 16-116) in the correct position.
Install the three bolts OIL-PRESSURE OIL TUBES-ENGINE (79-21-49, 16-114) and the three nuts OIL-PRESSURE OIL TUBES-ENGINE (79-21-49, 16-110).
Connect the tube 1 to the outer oil feed tube.
Torque the tube nut to, 230 to 248 lbfin (26 to 28 Nm) and safety with CoMat 02-126 LOCKWIRE.
SUBTASK 72-00-50-420-117-B00 Install the Tube 1, Number 5 Bearing Oil Feed Tube (SBE 72-0053)
SBE 72-0053: Engine - General - Provide various replacement external tubes with relocated tube sleeves
Because of the differences between the harness diameters, the specified clip could be too large or too small. You can use a clip from a range of six clips that have the same part numbers. If the harness diameter is between two of the clips in the range, use the larger clip. When you do this use CoMat 02-148 ADHESIVE TAPE (ELECTRICAL) to increase the harness diameter.
For the data on the electrical connectors refer to the SPM TASK 70-43-00-400-501 and SPM TASK 70-43-01-400-501.
SUBTASK 72-00-50-420-134 Electrical Harness Installation Procedure
Put the remaining part of the core EGT harness ELECTRICAL HARNESS-LIGHT DUTY-EGT HARNESS (71-52-45, 01-005) in position.
Pre SBE 71-0061 : Install the clip, the bolt, the washer and the nut at clip position 5735. Torque the nut to 36 to 45 lbfin (4 to 5 Nm).
SBE 71-0061 : Install the clip, the bolt, the washer, the spacer and the nut at clip position 5735. Torque the nuts to 36 to 45 lbfin (4 to 5 Nm).
Put the EGT harness/junction box ENGINE INDICATING-EGT HARNESS AND JUNCTION BOX (77-21-43, 01-010) in position on the engine. Make sure that the harness goes between the LP turbine case and the tubes 70 and 81, between the clip positions 6004/6003 and 6009/6010.
Attach the junction box to the bracket ATTACH PARTS & FITTINGS-LP TURBINE MINI MODULE (72-50-00, 01-640) with two of the bolts ENGINE INDICATING-EGT HARNESS AND JUNCTION BOX (77-21-43, 01-040) and two of the nuts ENGINE INDICATING-EGT HARNESS AND JUNCTION BOX (77-21-43, 01-020). Torque the nuts to, 85 to 105 lbfin (10 to 12 Nm).
Attach the eight alumel leads to the applicable alumel studs on the EGT probes. Use the eight alumel nuts (larger) ENGINE INDICATING-EGT HARNESS AND JUNCTION BOX (77-21-43, 01-240). Make sure that the lips on the alumel leads face outwards. Torque the nuts to 10 to 15 * lbfin (1.13 to 1.69 Nm).
Attach the eight chromel leads, to the applicable chromel studs on the EGT probes. Use the eight chromel nuts (smaller) ENGINE INDICATING-EGT HARNESS AND JUNCTION BOX (77-21-43, 01-255). Torque the nuts to 8 to 12 * lbfin (0.90 to 1.36 Nm).
NOTE
It is not necessary to lubricate the terminal threads or fasteners with engine oil.Connect the 16 harness leads to the applicable EGT probe terminals.

CAUTION
YOU MUST MAKE SURE THAT THE EGT THERMOCOUPLE BOLTS ARE CORRECTLY SAFETIED. INCORRECT SAFETYING OF THE BOLTS CAN RESULT IN LOOSE BOLTS AND SUBSEQUENT LOSS OF EGT INDICATION.Make sure the lockwire correctly safeties the eight EGT thermocouple bolts ENGINE INDICATING-EGT THERMOCOUPLE (77-21-15, 01-120). Refer to view which shows the acceptable method to safety the bolts, Figure.
Safety the bolts with wire ENGINE INDICATING-EGT THERMOCOUPLE (77-21-15, 01-200) - CoMat 02-141 LOCKWIRE as the inspection criteria requires it.
Examine the lockwire which safeties the EGT thermocouple bolts.
Pre SBE 77-0003 - Attach six brackets.
Install the brackets EXHAUST-COMMON NOZZLE EXHAUST COLLECTOR (78-11-11, 01-060) with the bolts ENGINE INDICATING-EGT HARNESS AND JUNCTION BOX (77-21-43, 01-195 to ENGINE INDICATING-EGT HARNESS AND JUNCTION BOX 01-220) and nuts ENGINE INDICATING-EGT HARNESS AND JUNCTION BOX (77-21-43, 01-195 to ENGINE INDICATING-EGT HARNESS AND JUNCTION BOX 01-220) to the LP turbine case rear flange, at the hole positions 16, 17, 19, 20, 21, 22, 28, 29, 31, 32, 33 and 34. The hole No. 1 is at TDC. Torque the nuts to, 100 to 140 lbfin (11 to 16 Nm).
SBE 77-0003 - Attach six brackets.
Install the brackets ENGINE INDICATING-EGT HARNESS AND JUNCTION BOX (77-21-43, 01-360) with the screws ENGINE INDICATING-EGT HARNESS AND JUNCTION BOX (77-21-43, 01-385) and the nuts ENGINE INDICATING-EGT HARNESS AND JUNCTION BOX (77-21-43, 01-390) to the LP turbine case rear flange, at the hole positions 17, 18, 22, 23, 26, 27, 35, 36, 40, 41, 44 and 45. The hole No.1 is at TDC. Torque the nuts to, 85 to 105 lbfin (10 to 12 Nm).
SBE 77-0001 - Attach six brackets.
Install the brackets ENGINE INDICATING-EGT HARNESS AND JUNCTION BOX (77-21-43, 01-360) with the screws ENGINE INDICATING-EGT HARNESS AND JUNCTION BOX (77-21-43, 01-385) and nuts ENGINE INDICATING-EGT HARNESS AND JUNCTION BOX (77-21-43, 01-390) to the LP turbine case rear flange, at the hole positions 17, 18, 22, 23, 26, 27, 35, 36, 40, 41, 44 and 45. The hole No.1 is at TDC. Torque the nuts to, 85 to 105 lbfin (10 to 12 Nm).
SBE 77-0005 - Add washers at clipping points.
Install the brackets ENGINE INDICATING-EGT HARNESS AND JUNCTION BOX (77-21-43, 01-420) with the screws ENGINE INDICATING-EGT HARNESS AND JUNCTION BOX (77-21-43, 01-385) and nuts ENGINE INDICATING-EGT HARNESS AND JUNCTION BOX (77-21-43, 01-390) to the LP turbine case rear flange, at the hole positions 17, 18, 44 and 45. Torque the nuts to 85 to 105 lbfin (10 to 12 Nm).
SBE 77-0007 - Permanently attach washers to bracket at clipping points.
Pre SBE 72-0014 : Install the clips, the bolts and the nuts at the clip positions 6017, 6018, 6020 and 6021. Torque the nuts to 36 to 45 lbfin (4 to 5 Nm). Refer to Figure.
SBE 72-0014 : Install the clips, the bolts and the nuts at the clip positions 6017, 6018 and 6019. Torque the nuts to 36 to 45 lbfin (4 to 5 Nm). Refer to Figure.
Use the other two nuts ENGINE INDICATING-EGT HARNESS AND JUNCTION BOX (77-21-43, 01-042 and ENGINE INDICATING-EGT HARNESS AND JUNCTION BOX 01-046) and the two bolts ENGINE INDICATING-EGT HARNESS AND JUNCTION BOX (77-21-43, 01-044 and ENGINE INDICATING-EGT HARNESS AND JUNCTION BOX01-048) to attach the earth points 5340 and 5705 to the junction box. Torque the nuts to 85 to 105 lbfin (10 to 12 Nm).
Attach the cover to the EGT harness junction box with the four screws. Torque the screws to 20 to 26 lbfin (2.26 to 2.94 Nm). Safety the screws with CoMat 02-126 LOCKWIRE.
Pre SBE 77-0009: Attach the core EGT harness to the EGT harness/junction box. Refer to Figure.
SUBTASK 72-00-50-420-118-A00 Install the Core Exhaust Gas Thermocouple (EGT) Harness, and the Exhaust Gas Thermocouple Harness/Junction Box (Pre SBE 72-0053, Pre SBE 72-0014, Pre SBE 77-0003, Pre SBE 77-0009, SBE 72-0014, SBE 77-0001, SBE 77-0003, SBE 77-0005, SBE 77-0007 and SBE 71-0061)
SBE 72-0014: LP turbine and exhaust gas temperature (EGT) indicating system - incorporate re-routed EGT harness assembly
SBE 77-0001: LP turbine and exhaust gas temperature (EGT) indicating system - replacement of turbine exhaust case and installation of a revised EGT bracket configuration
SBE 77-0003: LP turbine and exhaust gas temperature (EGT) indicating system - replacement of EGT loop clamp brackets
SBE 77-0005: LP turbine and exhaust gas temperature (EGT) indicating system - add washers at clipping points 6004 and 6009
SBE 77-0007: LP turbine and exhaust gas temperature (EGT) indicating system - provide permanetly attached washers to bracket at clipping points 6004 and 6009
SBE 71-0061: EGT harness - Introduction of improved clipping for clip positions 5734, 5735 and 5736
Put the remaining parts of the core EGT harness ELECTRICAL HARNESS-LIGHT DUTY-EGT HARNESS(71-52-45,01-005) in position.
Pre SBE 72-0063 : Install the clip, the bolt, the washer and the nut at the clip position 6054. Torque the bolt to, 36 to 40 lbfin (4 to 4.5 Nm).
SBE 72-0063 : Install the clip, the bolt, the washer, the spacer and the nut at the clip position 6054. Torque the bolt to, 36 to 40 lbfin (4 to 4.5 Nm), Figure.
Put the EGT harness/junction box ENGINE INDICATING-EGT HARNESS AND JUNCTION BOX (77-21-43, 01-010) in position on the engine. Make sure that the harness goes between the LP turbine case and the tubes 70 and 81, between the clip positions 6004/6003 and 6009/6010.
Attach the junction box to the bracket ATTACH PARTS & FITTINGS-LP TURBINE MINI MODULE (72-50-00, 01-640) with two of the bolts ENGINE INDICATING-EGT HARNESS AND JUNCTION BOX (77-21-43,01-040) and two of the nuts ENGINE INDICATING-EGT HARNESS AND JUNCTION BOX (77-21-43, 01-020). Torque the nuts to, 85 to 105 lbfin (10 to 12 Nm).
Attach the eight alumel leads to the applicable alumel studs on the EGT probes. Use the eight alumel nuts (larger) ENGINE INDICATING-EGT HARNESS AND JUNCTION BOX (77-21-43, 01-240). Make sure that the lips on the alumel leads face outwards. Torque the nuts to 10 to 15 * lbfin (1.13 to 1.69 Nm).
Attach the eight chromel leads, to the applicable chromel studs on the EGT probes. Use the eight chromel nuts (smaller) ENGINE INDICATING-EGT HARNESS AND JUNCTION BOX (77-21-43, 01-250). Torque the nuts to 8 to 12 * lbfin (0.90 to 1.36 Nm).
NOTE
It is not necessary to lubricate the terminal threads or fasteners with engine oil.Connect the 16 harness leads to the applicable EGT probe terminals.

CAUTION
YOU MUST MAKE SURE THAT THE EGT THERMOCOUPLE BOLTS ARE CORRECTLY SAFETIED. INCORRECT SAFETYING OF THE BOLTS CAN RESULT IN LOOSE BOLTS AND SUBSEQUENT LOSS OF EGT INDICATION.Make sure the lockwire correctly safeties the eight EGT thermocouple bolts ENGINE INDICATING-EGT THERMOCOUPLE (77-21-15, 01-120). Refer to view which shows the acceptable method, Figure.
Safety the bolts with wire ENGINE INDICATING-EGT THERMOCOUPLE (77-21-15, 01-200) - CoMat 02-141 LOCKWIRE as the inspection criteria requires it.
Examine the lockwire which safeties the EGT thermocouple bolts.
Pre SBE 77-0003 - Attach six brackets.
Install the brackets EXHAUST-COMMON NOZZLE EXHAUST COLLECTOR (78-11-11, 01-060) with the bolts ENGINE INDICATING-EGT HARNESS AND JUNCTION BOX (77-21-43, 01-195 to ENGINE INDICATING-EGT HARNESS AND JUNCTION BOX 01-220) and nuts ENGINE INDICATING-EGT HARNESS AND JUNCTION BOX (77-21-43, 01-195 to ENGINE INDICATING-EGT HARNESS AND JUNCTION BOX 01-220) to the LP turbine case rear flange, at the hole positions 16, 17, 19, 20, 21, 22, 28, 29, 31, 32, 33 and 34. The hole No.1 is at TDC. Torque the nuts to, 100 to 140 lbfin (11 to 16 Nm).
SBE 77-0003 - Attach six brackets.
Install the brackets ENGINE INDICATING-EGT HARNESS AND JUNCTION BOX (77-21-43,01-360) with the screws ENGINE INDICATING-EGT HARNESS AND JUNCTION BOX (77-21-43, 01-385) and the nuts ENGINE INDICATING-EGT HARNESS AND JUNCTION BOX (77-21-43, 01-390) to the LP turbine case rear flange, at the hole positions 17, 18, 22, 23, 26, 27, 35, 36, 40, 41, 44 and 45. The hole No.1 is at TDC. Torque the nuts to, 85 to 105 lbfin (10 to 12 Nm).
SBE 77-0001 - Attach six brackets.
Install the brackets ENGINE INDICATING-EGT HARNESS AND JUNCTION BOX (77-21-43, 01-360) with the screws ENGINE INDICATING-EGT HARNESS AND JUNCTION BOX (77-21-43, 01-385) and nuts ENGINE INDICATING-EGT HARNESS AND JUNCTION BOX (77-21-43, 01-390) to the LP turbine case rear flange, at the hole positions, 17, 18, 22, 23, 26, 27, 35, 36, 40, 41, 44 and 45. The hole No.1 is at TDC. Torque the nuts to, 85 to 105 lbfin (10 to 12 Nm).
SBE 77-0005 - Add washers at clipping points.
Install the brackets ENGINE INDICATING-EGT HARNESS AND JUNCTION BOX (77-21-43, 01-420) with the screws ENGINE INDICATING-EGT HARNESS AND JUNCTION BOX (77-21-43, 01-385) and nuts ENGINE INDICATING-EGT HARNESS AND JUNCTION BOX (77-21-43, 01-390) to the LP turbine case rear flange, at the hole positions 17, 18, 44 and 45. Torque the nuts to 85 to 105 lbfin (10 to 12 Nm).
SBE 77-0007 - Permanently attach washers to bracket at clipping points.
SBE 72-0014 : Install the clips, the bolts and the nuts at the clip positions 6017, 6018 and 6019. Torque the nuts to 36 to 45 lbfin (4 to 5 Nm). Refer to Figure.
Use the other two nuts ENGINE INDICATING-EGT HARNESS AND JUNCTION BOX (77-21-43, 01-042) and ENGINE INDICATING-EGT HARNESS AND JUNCTION BOX (77-21-43, 01-046) and the two bolts ENGINE INDICATING-EGT HARNESS AND JUNCTION BOX (77-21-43, 01-044) and ENGINE INDICATING-EGT HARNESS AND JUNCTION BOX (77-21-43, 01-048) to attach the earth points 5340 and 5705 to the junction box. Torque the nuts to 85 to 105 lbfin (10 to 12 Nm).
Attach the cover to the EGT harness junction box with the four screws. Torque the screws to 20 to 26 lbfin (2.26 to 2.94 Nm). Safety the screws with CoMat 02-126 LOCKWIRE.
Pre SBE 77-0009: Attach the core EGT harness to the EGT harness/junction box. Refer to Figure.
Use the other two nuts ENGINE INDICATING-EGT HARNESS AND JUNCTION BOX (77-21-43, 01-042 and ENGINE INDICATING-EGT HARNESS AND JUNCTION BOX 01-046) and the two bolts ENGINE INDICATING-EGT HARNESS AND JUNCTION BOX (77-21-43, 01-044 and ENGINE INDICATING-EGT HARNESS AND JUNCTION BOX 01-048) to attach the earth points 5340 and 5705 to the junction box. Torque the nuts to 85 to 105 lbfin (10 to 12 Nm).
Attach the cover to the EGT harness junction box with the four screws. Torque the screws to 20 to 26 lbfin (2.26 to 2.94 Nm). Safety the screws with CoMat 02-126 LOCKWIRE.

CAUTION
THE USE OF LUBRICATION IS NOT PERMITTED ON EITHER THE STUDS OR LOCK NUTS.
CAUTION
ONCE A NEW STYLE NUT IS INSTALLED ON TO THE MATING STUD YOU MUST NOT INSTALL AN OLD NUT ON THAT STUD.SBE 77-0009: Attach the core EGT harness to the EGT harness/junction box. Refer to Figure.
Do a continuity test and short circuit test, refer to the approved procedure in the Service Bulletin, SBE 77-0009.
Refer to TASK 71-00-00-700-052-A00 for the applicable EGT and junction box tests.
Testing and Fault Isolation checks.
SUBTASK 72-00-50-420-118-B00 Install the Core Exhaust Gas Thermocouple (EGT) Harness, and the Exhaust Gas Thermocouple Harness/Junction Box (SBE 72-0053, Pre SBE 72-0014, Pre SBE 77-0003, Pre SBE 77-0009, SBE 72-0014, SBE 77-0001, SBE 77-0003, SBE 77-0005, SBE 77-0007, SBE 77-0009 and SBE 72-0063)
SBE 72-0053: Engine - General - Provide various replacement external tubes with relocated tube sleeves
SBE 72-0014: LP turbine and exhaust gas temperature (EGT) indicating system - incorporate re-routed EGT harness assembly
SBE 77-0001: LP turbine and exhaust gas temperature (EGT) indicating system - replacement of turbine exhaust case and installation of a revised EGT bracket configuration
SBE 77-0003: LP turbine and exhaust gas temperature (EGT) indicating system - replacement of EGT loop clamp brackets
SBE 77-0005: LP turbine and exhaust gas temperature (EGT) indicating system - add washers at clipping points 6004 and 6009
SBE 77-0007: LP turbine and exhaust gas temperature (EGT) indicating system - provide permanetly attached washers to bracket at clipping points 6004 and 6009
SBE 77-0009: Provide new EGT harness junction box terminal nuts
SBE 72-0063: Introduce new tube assemblies required for modified turbine exhaust case.
Check the clearance at the four bracket postions, refer to view A and section B for brackets ENGINE INDICATING-EGT HARNESS AND JUNCTION BOX (77-21-43, 01-360).
Check the clearance at the four bracket postions, refer to view C and section D for brackets ENGINE INDICATING-EGT HARNESS AND JUNCTION BOX (77-21-43, 01-420).
SUBTASK 72-00-50-420-387 Check the Clearance between Flange FT and the Core EGT Harness Support Brackets
Install the bolts AIR-LP ACTIVE CLEARANCE CONTROL MANIFOLD (75-24-49, 01-030), the washers AIR-LP ACTIVE CLEARANCE CONTROL MANIFOLD (75-24-49, 01-050) and the spacer AIR-LP ACTIVE CLEARANCE CONTROL MANIFOLD (75-24-49, 01-070) that attach the T-piece angle bracket of the connector tube AIR-LP ACTIVE CLEARANCE CONTROL MANIFOLD (75-24-49, 01-010) to the support assembly.
Put the connector tube AIR-LP ACTIVE CLEARANCE CONTROL MANIFOLD (75-24-49, 01-010) in to position between the upper and lower LP Turbine cooling air ducts.
Pre SBE 75-0017: Attach the clamps AIR-LP ACTIVE CLEARANCE CONTROL MANIFOLD (75-24-49, 01-130) and AIR-LP ACTIVE CLEARANCE CONTROL MANIFOLD (75-24-49, 01-090), the two spacers AIR-LP ACTIVE CLEARANCE CONTROL MANIFOLD (75-24-49, 01-110) and AIR-LP ACTIVE CLEARANCE CONTROL MANIFOLD (75-24-49, 01-150) loosely with the four bolts AIR-LP ACTIVE CLEARANCE CONTROL MANIFOLD (75-24-49, 01-030) and the four washers AIR-LP ACTIVE CLEARANCE CONTROL MANIFOLD (75-24-49, 01-050) to the support assemblies.
SBE 75-0017: Attach the clamps AIR-LP ACTIVE CLEARANCE CONTROL MANIFOLD (75-24-49, 01-130) and AIR-LP ACTIVE CLEARANCE CONTROL MANIFOLD (75-24-49, 01-090) loosely with the four bolts AIR-LP ACTIVE CLEARANCE CONTROL MANIFOLD (75-24-49, 01-030) and the four washers AIR-LP ACTIVE CLEARANCE CONTROL MANIFOLD (75-24-49, 01-050) to the support assemblies.
Move the periseal connectors AIR-LP ACTIVE CLEARANCE CONTROL MANIFOLD (75-24-49, 01-730) and AIR-LP ACTIVE CLEARANCE CONTROL MANIFOLD (75-24-49, 01-630) from their retracted positions above the upper and lower LP Turbine cooling air ducts.
Make sure that each pin of retaining clamps AIR-LP ACTIVE CLEARANCE CONTROL MANIFOLD (75-24-49, 01-670) and AIR-LP ACTIVE CLEARANCE CONTROL MANIFOLD (75-24-49, 01-570) engages in the location holes in the connector tube AIR-LP ACTIVE CLEARANCE CONTROL MANIFOLD (75-24-49, 01-010).
SUBTASK 72-00-50-420-119 Install the Connector Tube on to the LP Turbine ACC (Pre SBE 75-0017 and SBE 75-0017)
SBE 75-0017: Deletion of spacer plates at the connector tube.
Examine the radial clearance with the IAE 1M14118 Checking go/no-go gage 1 off.
Examine and adjust the radial clearance, Dimension B.
Examine the axial clearance with the IAE 1M14117 Checking go/no-go gage 1 off.
Examine and adjust the axial clearance, Dimension A.
Torque the bolts AIR-LP ACTIVE CLEARANCE CONTROL MANIFOLD (75-24-49, 01-030) of the clamps AIR-LP ACTIVE CLEARANCE CONTROL MANIFOLD (75-24-49, 01-130) and AIR-LP ACTIVE CLEARANCE CONTROL MANIFOLD (75-24-49, 01-090) to between 27 and 30 lbfin (3.0 to 3.4 Nm).
Torque the bolts AIR-LP ACTIVE CLEARANCE CONTROL MANIFOLD (75-24-49, 01-030) on the T-piece angle bracket to between 27 and 30 lbfin (3.0 to 3.4 Nm).
Install the nuts and the bolts of the two retaining clamps AIR-LP ACTIVE CLEARANCE CONTROL MANIFOLD (75-24-49, 01-670) and AIR-LP ACTIVE CLEARANCE CONTROL MANIFOLD (75-24-49, 01-570).
Tighten the nuts of the retaining clamps AIR-LP ACTIVE CLEARANCE CONTROL MANIFOLD (75-24-49, 01-670) and AIR-LP ACTIVE CLEARANCE CONTROL MANIFOLD (75-24-49, 01-570) until the lugs of the clamps attach the opposite flange.
Safety the spring clips with CoMat 02-128 LOCKWIRE.
SUBTASK 72-00-50-420-407 Adjust the Connector Tube (Pre SBE 75-0051)
Examine the radial clearance with the IAE 1M14118 Checking go/no-go gage 1 off.
Examine and adjust the radial clearance, Dimension B.
Examine the axial clearance with the IAE 1M14117 Checking go/no-go gage 1 off.
Examine and adjust the axial clearance, Dimension A.
Torque the bolts AIR-LP ACTIVE CLEARANCE CONTROL MANIFOLD (75-24-49, 01-030) of the clamps AIR-LP ACTIVE CLEARANCE CONTROL MANIFOLD (75-24-49, 01-130) and AIR-LP ACTIVE CLEARANCE CONTROL MANIFOLD (75-24-49, 01-090) to between 27 and 30 lbfin (3.0 to 3.4 Nm).
Torque the bolts AIR-LP ACTIVE CLEARANCE CONTROL MANIFOLD (75-24-49, 01-030) on the T-piece angle bracket to between 27 and 30 lbfin (3.0 to 3.4 Nm).
Install the nuts and the bolts of the two retaining clamps AIR-LP ACTIVE CLEARANCE CONTROL MANIFOLD (75-24-49, 01-670) and AIR-LP ACTIVE CLEARANCE CONTROL MANIFOLD (75-24-49, 01-570).
Tighten the nuts of the retaining clamps AIR-LP ACTIVE CLEARANCE CONTROL MANIFOLD (75-24-49, 01-670) and AIR-LP ACTIVE CLEARANCE CONTROL MANIFOLD (75-24-49, 01-570) until the lugs of the clamps attach the opposite flange.
Move the periseal housing AIR-LP ACTIVE CLEARANCE CONTROL MANIFOLD (75-24-49, 01-540) from the retracted position on the ACC rear duct to the T-piece of the connector tube.
Install the two bolts AIR-LP ACTIVE CLEARANCE CONTROL MANIFOLD (75-24-49, 01-490) and the two periseal clamps AIR-LP ACTIVE CLEARANCE CONTROL MANIFOLD (75-24-49, 01-480) which safety the periseal housing at the T-piece of the connector tube.
SUBTASK 72-00-50-420-408 Adjust the Connector Tube (SBE 75-0051)
SBE 75-0051: LP Turbine ACC revised connector tube assembly with new periseal housing clamps
Put the core fire detector FIRE PROTECTION-CORE ZONE FIRE DETECTOR (26-12-17, 01-100) into position.
Pre SBE 75-0049 and Pre SBE 79-0087: Install the clip FIRE PROTECTION-CORE ZONE FIRE DETECTOR (26-12-17, 01-159), the washer FIRE PROTECTION-CORE ZONE FIRE DETECTOR (26-12-17, 01-161), the spacer FIRE PROTECTION-CORE ZONE FIRE DETECTOR (26-12-17, 01-157), the bolt FIRE PROTECTION-CORE ZONE FIRE DETECTOR (26-12-17, 01-156) and the nut FIRE PROTECTION-CORE ZONE FIRE DETECTOR (26-12-17, 01-163) at the clip position 5723.
SBE 75-0049 and Pre SBE 79-0087: Install the two clips FIRE PROTECTION-CORE ZONE FIRE DETECTOR (26-12-17, 01-159), the two spacers FIRE PROTECTION-CORE ZONE FIRE DETECTOR (26-12-17, 01-157), the bolt FIRE PROTECTION-CORE ZONE FIRE DETECTOR (26-12-17, 01-156) and the nut FIRE PROTECTION-CORE ZONE FIRE DETECTOR (26-12-17, 01-163) at the clip position 5723.
Install the clips FIRE PROTECTION-CORE ZONE FIRE DETECTOR (26-12-17, 01-149) and FIRE PROTECTION-CORE ZONE FIRE DETECTOR (26-12-17, 01-165), the washers FIRE PROTECTION-CORE ZONE FIRE DETECTOR (26-12-17, 01-151) and FIRE PROTECTION-CORE ZONE FIRE DETECTOR (26-12-17, 01-167), the bolts FIRE PROTECTION-CORE ZONE FIRE DETECTOR (26-12-17, 01-148) and FIRE PROTECTION-CORE ZONE FIRE DETECTOR (26-12-17, 01-164) and the nuts FIRE PROTECTION-CORE ZONE FIRE DETECTOR (26-12-17, 01-153) and FIRE PROTECTION-CORE ZONE FIRE DETECTOR (26-12-17, 01-169) at the clip positions 5500 and 5722.
Install the washers FIRE PROTECTION-CORE ZONE FIRE DETECTOR (26-12-17, 01-181) and FIRE PROTECTION-CORE ZONE FIRE DETECTOR (26-12-17, 01-173), the bolts FIRE PROTECTION-CORE ZONE FIRE DETECTOR (26-12-17, 01-180) and FIRE PROTECTION-CORE ZONE FIRE DETECTOR (26-12-17, 01-172) and the nuts FIRE PROTECTION-CORE ZONE FIRE DETECTOR (26-12-17, 01-183) and FIRE PROTECTION-CORE ZONE FIRE DETECTOR (26-12-17, 01-175) at the clip positions 5720 and 5721.
SUBTASK 72-00-50-420-120-A00 Install the Core Zone Fire Detector (Pre SBN 71-0145 and Pre SBE 79-0087)
Put the core fire detector FIRE PROTECTION-CORE ZONE FIRE DETECTOR (26-12-17, 01-100) in to position.
Pre SBE 75-0049 and Pre SBE 79-0087: Install the clip FIRE PROTECTION-CORE ZONE FIRE DETECTOR (26-12-17, 01-159), the washer FIRE PROTECTION-CORE ZONE FIRE DETECTOR (26-12-17, 01-161), the spacer FIRE PROTECTION-CORE ZONE FIRE DETECTOR (26-12-17, 01-157), the bolt FIRE PROTECTION-CORE ZONE FIRE DETECTOR (26-12-17, 01-156) and the nut FIRE PROTECTION-CORE ZONE FIRE DETECTOR (26-12-17, 01-163) at the clip position 5723.
SBE 75-0049 and Pre SBE 79-0087: Install the two clips FIRE PROTECTION-CORE ZONE FIRE DETECTOR (26-12-17, 01-159), the two spacers FIRE PROTECTION-CORE ZONE FIRE DETECTOR (26-12-17, 01-157), the bolt FIRE PROTECTION-CORE ZONE FIRE DETECTOR (26-12-17, 01-156) and the nut FIRE PROTECTION-CORE ZONE FIRE DETECTOR (26-12-17, 01-163) at the clip position 5723.
Install the clip FIRE PROTECTION-CORE ZONE FIRE DETECTOR (26-12-17, 01-149), the washer FIRE PROTECTION-CORE ZONE FIRE DETECTOR (26-12-17, 01-151), the bolt FIRE PROTECTION-CORE ZONE FIRE DETECTOR (26-12-17, 01-148) and the nut FIRE PROTECTION-CORE ZONE FIRE DETECTOR (26-12-17, 01-153) at the clip position 5500.
Install the nuts FIRE PROTECTION-CORE ZONE FIRE DETECTOR (26-12-17, 01-208) and FIRE PROTECTION-CORE ZONE FIRE DETECTOR (26-12-17, 01-220), the washers FIRE PROTECTION-CORE ZONE FIRE DETECTOR (26-12-17, 01-206) and FIRE PROTECTION-CORE ZONE FIRE DETECTOR (26-12-17, 01-218), the spacers FIRE PROTECTION-CORE ZONE FIRE DETECTOR (26-12-17, 01-200) and FIRE PROTECTION-CORE ZONE FIRE DETECTOR (26-12-17, 01-202), the bolts FIRE PROTECTION-CORE ZONE FIRE DETECTOR (26-12-17, 01-198) and FIRE PROTECTION-CORE ZONE FIRE DETECTOR (26-12-17, 01-216) and the bracket FIRE PROTECTION-CORE ZONE FIRE DETECTOR (26-12-17, 01-190) at clip positions 5928 and 5929.
SUBTASK 72-00-50-420-120-B00 Install the Core Zone Fire Detector (SBN 71-0145, Pre SBE 79-0087 and Pre SBN 71-0272)
SBN 71-0145: Nacelle - Power plant - Core fire detector - Rework
Put the core fire detector FIRE PROTECTION-CORE ZONE FIRE DETECTOR (26-12-17, 01-100) in position.
Install the clip FIRE PROTECTION-CORE ZONE FIRE DETECTOR (26-12-17, 01-233), the bolt FIRE PROTECTION-CORE ZONE FIRE DETECTOR (26-12-17, 01-230), the washer FIRE PROTECTION-CORE ZONE FIRE DETECTOR (26-12-17, 01-231) and the nut FIRE PROTECTION-CORE ZONE FIRE DETECTOR (26-12-17, 01-237) at the clip position 6115.
Install the clip FIRE PROTECTION-CORE ZONE FIRE DETECTOR (26-12-17, 01-149), the bolt FIRE PROTECTION-CORE ZONE FIRE DETECTOR (26-12-17, 01-148), the washer FIRE PROTECTION-CORE ZONE FIRE DETECTOR (26-12-17, 01-151) and the nut FIRE PROTECTION-CORE ZONE FIRE DETECTOR (26-12-17, 01-153) at the clip position 5500.
Install the bolts FIRE PROTECTION-CORE ZONE FIRE DETECTOR (26-12-17, 01-250), the washers FIRE PROTECTION-CORE ZONE FIRE DETECTOR (26-12-17, 01-251) and the nuts FIRE PROTECTION-CORE ZONE FIRE DETECTOR (26-12-17, 01-257) at the clip positions 6120 and 6126.
SUBTASK 72-00-50-420-120-C00 Install the Core Zone Fire Detector (SBE 79-0087 and SBN 71-0272)
SBE 79-0087: Oil - Scavenge oil tubes - Reroute of No.4 bearing scavenge tube.
SBN 71-0272: Nacelle - Engine Build Unit (EBU) - Replacement and rerouting of several EBU systems to accommodate the rerouting of the oil scavenge tubes.
A minimum clearance of 0.100 in. (2.54 mm) is necessary between the Exhaust Gas Thermocouple harness/Junction Box, and the tubes, in an area between clip points 5526 and 5547. Refer to Figure.
Measure the clearance between all the different harnesses and the engine parts:
SUBTASK 72-00-50-220-132 Measure the Harness Clearances and Examine the Harness Routing
Refer to Figure.
Make sure that all the applicable backshells and cable clamps are safetied with CoMat 02-126 LOCKWIRE. Refer to the SPM TASK 70-42-05-400-501.
SUBTASK 72-00-50-210-072 Visually Inspect the Electrical Backshells and Cable Clamps
Figure: Install the Aft Engine Mount
Sheet 1

Figure: Install the Aft Mount
Sheet 2

Figure: Install the Exhaust Gas Thermocouple Probes
Install the Exhaust Gas Thermocouple Probes

Figure: Install the HP Turbine Active Clearance Control Manifolds
Sheet 1

Figure: Pre SBE 75-0013: Install the HP Turbine Active Clearance Control Manifolds
Sheet 2

Figure: SBE 75-0013: Install the HP Turbine Active Clearance Control Manifolds
Sheet 3

Figure: Pre SBE 75-0013: Install the HP Turbine Active Clearance Control Manifolds
Sheet 4

Figure: SBE 75-0013: Install the HP Turbine Active Clearance Control Manifolds
Sheet 5

Figure: Remove the LP Turbine Active Clearance Control Manifold from the Support Fixture
Remove the LP Turbine Active Clearance Control Manifold from the Support Fixture

Figure: Install the LP Turbine Active Clearance Control Manifolds
Sheet 1

Figure: Install the LP Turbine Active Clearance Control Manifolds
Sheet 2

Figure: Install the LP Turbine Active Clearance Control Manifolds
Sheet 3

Figure: Install the LP Turbine Active Clearance Control Maifolds
Sheet 4

Figure: Install the LP Turbine Active Clearance Control Manifolds
Sheet 5

Figure: Install the LP Turbine Active Clearance Control Manifolds
Sheet 6

Figure: Install the Stage 2 Turbine Cooling Air Supply Tubes
Sheet 1

Figure: Install the Stage 2 Turbine Cooling Air Supply Tube No.5
Sheet 2

Figure: Install the Stage 2 Turbine Cooling Air Supply Tube No.5
Sheet 3

Figure: Install the Stage 2 Turbine Cooling Air Supply Tubes Nos.6 and 7
Sheet 4

Figure: Install the Stage 2 Turbine Cooling Air Supply Tubes Nos.6 and 7
Sheet 5

Figure: Install the Stage 2 Turbine Cooling Air Supply Tube No.8
Sheet 6

Figure: Install the Stage 2 Turbine Cooling Air Supply Tube No.8
Sheet 7

Figure: Install the Stage 2 Turbine Cooling Air Supply Tube No.8
Sheet 8

Figure: Install the Stage 2 Turbine Cooling Air Supply Tube No.8
Sheet 9

Figure: Install the No.4 Bearing Compartment Air Cooler
Sheet 1

Figure: Install the No.4 Bearing Compartment Air Cooler
Sheet 2

Figure: Install the No.4 Bearing Compartment Air Cooler
Sheet 3

Figure: Install the P4.9 Pressure Rake Tubes
Sheet 1

Figure: Install the P4.9 Pressure Rake Tubes
Sheet 2

Figure: Install the P4.9 Pressure Rake Tubes
Sheet 3

Figure: Install the No.5 Bearing Oil Weep Tube
Sheet 1

Figure: Install the No.5 Bearing Oil Weep Tube
Sheet 2

Figure: Install the No.5 Bearing Oil Weep Tube
Sheet 3

Figure: Install the No.5 Bearing Oil Scavenge Tube
Sheet 1

Figure: Install the No.5 Bearing Oil Scavenge Tube
Sheet 2

Figure: Install the No.5 Bearing Oil Feed Tube
Sheet 1

Figure: Install the No.5 Bearing Oil Feed Tube
Sheet 2

Figure: Install the No.5 Bearing Oil Feed Tube
Sheet 3

Figure: Install the EGT Harness/Junction Box and the Core EGT Harness
Sheet 1

Figure: Install the EGT Harness/Junction Box and the Core EGT Harness
Sheet 2

Figure: Install the EGT Harness/Junction Box and the Core EGT Harness
Sheet 3

Figure: Install the EGT Harness/Junction Box and the Core EGT Harness
Sheet 4

Figure: Install the EGT Harness/Junction Box and the Core EGT Harness
Sheet 5

Figure: Install the EGT Harness/Junction Box and the Core EGT Harness
Sheet 6

Figure: Install the EGT Harness/Junction Box and the Core EGT Harness
Sheet 7

Figure: Install the EGT Harness/Junction Box and the Core EGT Harness
Sheet 8

Figure: Install the EGT Harness/Junction Box and the Core EGT Harness
Sheet 9

Figure: Install the EGT Harness/Junction Box and the Core EGT Harness
Sheet 10

Figure: Install the EGT Harness/Junction Box and the Core EGT Harness
Sheet 11

Figure: Install the EGT Harness/Junction Box and the Core EGT Harness
Sheet 12

Figure: Pre SBE 77-0009 : Install the EGT Harness/Junction Box and the Core EGT Harness
Sheet 13

Figure: SBE 77-0009 : Install the EGT Harness/Junction Box and the Core EGT Harness
Sheet 14

Figure: Check the Clearance Between Flange FT and the Core EGT Harness Support Brackets
Sheet 1

Figure: Check the Clearance Between Flange FT and the Core EGT Harness Support Brackets
Sheet 2

Figure: Check the Clearance Between Flange FT and the Core EGT Harness Support Brackets
Sheet 3

Figure: Prepare the LP Turbine Active Clearance Control Connector Tube for Installation
Sheet 1

Figure: Pre SBE-75-0051: Install the LP Turbine Active Clearance Control Connector Tube
Sheet 2

Figure: Pre SBE-75-0051: Install the LP Turbine Active Clearance Control Connector Tube
Sheet 3

Figure: Install the LP Turbine Active Clearance Control Connector Tube
Sheet 1

Figure: Install the LP Turbine Active Clearance Control Connector Tube
Sheet 2

Figure: Pre SBE 75-0017 and SBE 75-0017: Install the LP Turbine Active Clearance Control Connector Tube
Sheet 3

Figure: Pre SBE 75-0017 and SBE 75-0017: Install the LP Turbine Active Clearance Control Connector Tube
Sheet 4

Figure: Pre SBN 71-0145 and Pre SBN 79-0087: Install the Core Zone Fire Detector
Sheet 1

Figure: SBN 71-0145, Pre SBE 79-0087 and Pre SBN 71-0272: Install the Core Zone Fire Detector
Sheet 2

Figure: Install the Core Zone Fire Detector
Sheet 3

Figure: Install the Core Zone Fire Detector
Sheet 4

Figure: Visually Inspect the Backshells and Cable Clamps
Visually Inspect the Backshells and Cable Clamps

Figure: Torque Sequence of the Support Assembly Bolts
Torque Sequence of the Support Assembly Bolts

